|
|
(21), (22) Заявка: 2008128972/02, 15.07.2008
(24) Дата начала отсчета срока действия патента:
15.07.2008
(46) Опубликовано: 27.10.2009
(56) Список документов, цитированных в отчете о поиске:
RU 2006135568 A, 09.10.2006. SU 388044 A, 09.10.1973. RU 2087553 C1, 20.08.1997. RU 2245376 C1, 27.01.2005. RU 2097436 C1, 27.11.1997.
Адрес для переписки:
410012, г.Саратов, Театральная пл., 1, Саратовский государственный аграрный университет имени Н.И. Вавилова, патентный отдел
|
(72) Автор(ы):
Хохлов Александр Владимирович (RU), Горшков Валерий Николаевич (RU), Терещенко Алексей Викторович (RU), Серебряков Алексей Юрьевич (RU)
(73) Патентообладатель(и):
Федеральное государственное образовательное учреждение высшего профессионального образования “Саратовский государственный аграрный университет имени Н.И. Вавилова” (RU)
|
(54) УСТРОЙСТВО ДЛЯ ТЕРМОФИКСАЦИИ ПОРШНЕВЫХ КОЛЕЦ В ПАКЕТЕ
(57) Реферат:
Изобретение относится к области термической обработки. Для получения поршневых колец с равномерным, повышенным и пониженным радиальным давлением в зоне замка устройство состоит из цилиндрической оправки 1 с неподвижным фланцем 2 и цилиндрическим стержнем 3 с резьбой для осуществления осевой стяжки пакета поршневых колец 5 гайкой 4 через подвижный фланец 6. Оправка состоит из цилиндрических частей, при этом одна часть оправки формирует половину кольца от спинки до 90° и 270° радиусом r1=d/2=( D+Sk /2sin /2)/ 2 – t, где d – диаметр цилиндрической части оправки, мм, D – номинальный диаметр поршневого кольца, мм, S – размер замка поршневых колец в свободном состоянии, мм, k – коэффициент усадки материала кольца, равный 1,15-1,25, – угол, определяющий зону замка S кольца, t – радиальная толщина поршневого кольца, мм, при этом другая цилиндрическая часть оправки состоит из двух формирующих частей, первая из которых формирует часть кольца от 90° до 140° и от 220° до 270°, центр радиуса которой расположен от центра номинального радиуса кольца в сторону замка на расстоянии =Rf, где R – номинальный радиус поршневого кольца, мм, f – коэффициент, равный для колец с пониженным давлением в зоне замка 0,026, для колец с равномерной эпюрой давления 0,036, для колец с повышенным давлением в зоне замка 0,046, а вторая часть оправки формирует часть кольца от 140° и 220° до замка, центр радиуса которой расположен от центра номинального радиуса кольца в сторону спинки на расстоянии 1=Rf1, где f1 – коэффициент, равный 0,03. 6 ил.
Изобретение относится к термической обработке, в частности к термофиксации поршневых и уплотнительных колец в пакете, и может быть использовано для получения различного распределения радиального давления при изготовлении разрезанных круглых поршневых и уплотнительных колец с параллельными торцовыми поверхностями.
Известно устройство для термофиксации поршневых колец в пакете, содержащее трубу соответствующего диаметра, на которую предварительно надевают кольца с разведением замков до определенной величины для получения упругости и требуемой формы в свободном состоянии (Энглиш К. Поршневые кольца. – М.: 1962, т.1, с.365) (аналог).
К недостаткам такого устройства для термофиксации следует отнести получение колец с большой овальностью и повышенным давлением в спинке и на концах кольца. В других зонах кольца возможны просветы в контрольном калибре. С помощью данного устройства невозможно получение поршневых колец с пониженным в зоне замка и равномерным радиальным давлением.
Наиболее близким по технической сущности к заявляемому объекту является устройство для термофиксации поршневых колец в пакете, содержащее цилиндрическую оправку, средство осевой стяжки набранного на оправку пакета поршневых колец, выполненное в виде двух фланцев, связанных посредством цилиндрического стержня с резьбой, и гайки. Оправка состоит из двух цилиндрических частей – первая цилиндрическая часть оправки формирует половину кольца от его спинки до 90° и 270°, вторая цилиндрическая часть оправки формирует половину кольца от 90° и 270° до замка, при этом центр радиуса второй цилиндрической части оправки расположен от центра номинального радиуса кольца в сторону замка на расстоянии =Rf, где R – номинальный радиус поршневого кольца, мм, f – коэффициент, равный для колец с пониженным давлением в зоне замка 0,015, для колец с равномерной эпюрой давления 0,02, для колец с повышенным давлением в зоне замка 0,025 (прототип – заявка 2006135568/02, публ. 27.01.2005.
Форма кольца в свободном состоянии получается при его термофиксации на предлагаемой оправке, причем для любой эпюры радиальных давлений приращения радиус-векторов формы по периметру кольца можно разделить на три участка: на первом участке от 0 (спинка кольца) до 90° и 270° наблюдается интенсивное увеличение радиус-векторов, на втором участке от 90° до 140° и от 220° до 270° наблюдается плавное увеличение радиус-векторов и на третьем участке от 140° и 220° до замка происходит уменьшение радиус-векторов. Поэтому для более точного формирования кольца с помощью оправки и обеспечения расчетных значений его формы в свободном состоянии требуется использовать не две, а три цилиндрические части оправки.
Технической задачей изобретения является осуществление возможности получать поршневые кольца при их термофиксации с различными распределениями радиального давления (равномерным, повышенным и пониженным давлением в зоне замка).
Задача достигается путем использования устройства для термофиксации поршневых колец в пакете, содержащего цилиндрическую оправку, средство осевой стяжки набранного на оправку пакета поршневых колец, выполненное в виде двух фланцев, связанных посредством цилиндрического стержня с резьбой, и гайки, где оправка состоит из двух цилиндрических частей, первая цилиндрическая часть оправки формирует половину кольца от спинки до 90° и 270° радиусом r1, равным r1=d/2=( D+Sk /2sin /2)/2 -t, где d – диаметр цилиндрической части оправки, мм, D – номинальный диаметр поршневого кольца, мм, S – размер замка поршневых колец в свободном состоянии, мм, k – коэффициент усадки материала кольца, равный 1,15-1,25, – угол, определяющий зону замка S кольца, t – радиальная толщина поршневого кольца, мм, отличающееся тем. что вторая цилиндрическая часть оправки состоит из двух дополнительных цилиндрических частей, из которых первая дополнительная цилиндрическая часть оправки формирует часть кольца от 90° до 140° и от 220° до 270°, а радиус цилиндрической части расположен от центра номинального радиуса кольца в сторону замка на расстоянии =Rf, где R – номинальный радиус поршневого кольца, мм, f – коэффициент, равный для колец с пониженным давлением в зоне замка 0,026, для колец с равномерной эпюрой давления 0,036, для колец с повышенным давлением в зоне замка 0,046, а вторая дополнительная цилиндрическая часть оправки формирует часть кольца от 140° и 210° до замка, а радиус цилиндрической части расположен от центра номинального радиуса кольца в сторону спинки на расстоянии 1=Rf1, где f1 – коэффициент, равный 0,03.
Оригинальность в выборе решения заключается в том, что, используют предлагаемые оправки с различной формой, состоящие из трех цилиндрических частей. Первая цилиндрическая часть оправки формирует половину кольца от его спинки до 90° и 270°. Вторая цилиндрическая часть оправки состоит из двух дополнительных цилиндрических частей, из которых первая дополнительная цилиндрическая часть оправки формирует часть кольца от 90° до 140° и от 220° до 270°, а радиус цилиндрической части расположен от центра номинального радиуса кольца в сторону замка на расстоянии =Rf, где R – номинальный радиус поршневого кольца, мм, f – коэффициент, равный для колец с пониженным давлением в зоне замка 0,026, для колец с равномерной эпюрой давления 0,36, для колец с повышенным давлением в зоне замка 0,046, а вторая дополнительная цилиндрическая часть оправки формирует часть кольца от 140° и 210° до замка, а радиус цилиндрической части оправки расположен от центра номинального радиуса кольца в сторону спинки на расстоянии 1=Rf1, где f1 – коэффициент, равный 0,03.
Тем самым при термофиксации поршневых колец на оправках с различной формой они будут иметь различные эпюры радиального давления.
Предложенное решение отличается от прототипа тем, что при термофиксации поршневых колец используется оправка, состоящая из трех цилиндрических частей, форма которой определяется тремя радиусами и соответствует форме поршневого кольца в свободном состоянии, причем эта форма может быть задана таким образом (путем изменения значения коэффициента f), что поршневые кольца могут иметь не только равномерную эпюру радиальных давлений, но и эпюру с повышенным или пониженным давлением в зоне замка.
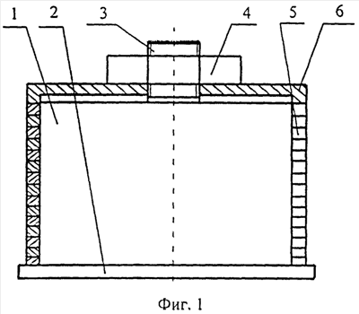
Предлагаемое устройство для термофиксации поршневых колец поясняется чертежами. На фиг.1 показано приспособление для термофиксации поршневых колец с набранными в пакет поршневыми кольцами – продольный разрез; на фиг.2 – разрез А-А фиг.1; на фиг.3 – расчетные эпюры радиальных давлений: 1 – равномерная эпюра, 2 – эпюра с повышенным давлением в зоне замка со степенью коррекции 1,6 (степень коррекции – отношение давления в зоне замка к среднему давлению), 3 – эпюра с пониженным давлением в зоне замка со степенью коррекции 0,6; на фиг.4 – расчетные приращения радиус-векторов формы в свободном состоянии уплотнительных колец номинальным диаметром 100 мм, соответствующие заданным эпюрам; на фиг.5 – действительные приращения радиус-векторов формы в свободном состоянии уплотнительных колец номинальным диаметром 100 мм; на фиг.6 – действительные эпюры радиальных давлений уплотнительных колец номинальным диаметром 100 мм.
Приспособление для термофиксации поршневых колец содержит цилиндрическую оправку 1 с неподвижным фланцем 2 и цилиндрическим стержнем 3, снабженным резьбой для осуществления осевой стяжки гайкой 4 пакета поршневых колец 5 через подвижный фланец 6 (фиг.1). Цилиндрическая оправка 1 состоит из трех цилиндрических частей. Первая цилиндрическая часть формирует половину кольца от его спинки (0°) до 90° и 270° радиусом r1 из центра O1 (фиг.2). Величина радиуса r1 рассчитывается по зависимости
r1=d/2=( D+Sk /2sin /2)/2 -t,
где d – диаметр цилиндрической части оправки, мм, D – номинальный диаметр поршневого кольца, мм, S – размер замка поршневых колец в свободном состоянии, мм, k – коэффициент усадки материала кольца, равный 1,15-1,25, – угол, определяющий зону замка S кольца, t – радиальная толщина поршневого кольца, мм.
Радиус первой цилиндрической части оправки из центра О определяется по следующим зависимостям:
AO1=r1·cos i=BO1·cos i, AB=BO1·sin i;
АО=AO1-r1-t+R=BO1·cos i-r1-t+R=r1·cos i-r1-t+R;
, или ;
.
Вторая цилиндрическая часть оправки состоит из двух дополнительных цилиндрических частей, из которых первая дополнительная цилиндрическая часть оправки формирует часть кольца от 90° до 140° и от 220° до 270°, при этом центр радиуса второй цилиндрической части оправки смещен от центра номинального радиуса кольца в сторону его замка на расстояние (фиг.2), равное
=R·f,
где f – коэффициент для колец с пониженным давлением в зоне замка, равен 0,026, для колец с равномерной эпюрой давления f=0,036, для колец с повышенным давлением в зоне замка f=0,046.
Форму оправки от 90° до 140° и от 270° до 220° из центра O2 определим по радиусу r2, равному
.
Форму оправки от 90° до 140° и от 270° до 220° из центра О рассчитаем по зависимостям (фиг.2):
DO2=r2·cos(180°- i); DO=DO2+ ; CD=r2·sin(180°- i);

.
Вторая дополнительная часть оправки формирует кольцо от 140° и от 220° до замка. Центр О3 смещен относительно центра О, соответствующего номинальному радиусу кольца, в сторону спинки на величину 1 (фиг.2):
1=0,03·R.
Форма оправки от 140° и от 220° до замка определяется по радиусам r3 и r’3, которые рассчитываются по аналогичным формулам.
Перед термофиксацией поршневые кольца 5 набирают на оправку 1 таким образом, чтобы замки 7 располагались симметрично оси оправки, проходящей через 0° и 180°. Сверху пакета устанавливают подвижный фланец 6 и гайкой 5 сжимают его в осевом направлении для предотвращения коробления по торцам колец. Набранный таким образом пакет колец подвергается термообработке, в результате чего кольца приобретают требуемую форму. Режим термообработки колец должен обеспечить снятие внутренних напряжений в материале и зафиксировать полученную форму колец в свободном состоянии на оправке. Он не относится к предмету данного изобретения и определяется физико-механическими свойствами и химическим составом материала, размерами колец и технологическим процессом их предшествующей механической обработки.
Таким образом, предлагаемое устройство для термофиксации поршневых колец в пакете содержит оправку, состоящую из трех цилиндрических частей, которая позволяет изготовить поршневые кольца с равномерной эпюрой давления, а также с повышенным и пониженным давлением в зоне замка.
В качестве примера рассмотрим расчет размеров оправки для термофиксации уплотнительных колец, применяемых в коробке перемены передач тракторов «Кировец». Исходными данными для расчета являются: номинальный диаметр 100 мм; высота кольца 3 мм; радиальная толщина 3 мм; момент инерции сечения кольца 6,75 мм3; модуль упругости материала колец 1500 МПа; эпюра радиальных давлений 99 КПа; характер эпюры радиального давления – равномерный (прямая 1, фиг.3), с повышенным давлением в зоне замка со степенью коррекции 1,6 (кривая 2, фиг.3), с пониженным давлением в зоне замка со степенью коррекции 0,6 (кривая 3, фиг.3). По выбранным исходным данным, решая уравнение кривого бруса, рассчитаем форму уплотнительных колец в свободном состоянии. Результаты расчета формы уплотнительных колец в свободном состоянии в виде приращений радиус-векторов R приведены соответственно кривыми 1, 2 и 3 на фиг.4.
Воспроизведение расчетной формы уплотнительных колец при их термофиксации осуществляется по форме оправки. Оправка состоит из трех цилиндрических частей: первая цилиндрическая часть формирует половину кольца от его спинки (0°) до 90° и 270°, а радиус цилиндрической части равен r1=d/2=( D+Sk /2sin /2)/2 -t, где d – диаметр цилиндрической части оправки, мм; D – номинальный диаметр поршневых колец (100 мм); S – размер замка поршневых колец в свободном состоянии (для колец с равномерной эпюрой S=16,355 мм); k – коэффициент усадки материала колец (k=1,15-1,25); – угол, определяющий зону замка S кольца ( =17°32′); t – радиальная толщина поршневых колец (t=3 мм). В нашем случае для воспроизведения расчетной формы уплотнительных колец с равномерной эпюрой давления радиус первой цилиндрической части оправки равен
r1=d/2=( D+Sk /2sin /2)/2 -t=(3,14·100+
+16,355-1,2·0,306/2 sin 17°32’/2)/2-3,14-3,0=50,135 мм.
Вторая цилиндрическая часть оправки состоит из двух дополнительных цилиндрических частей, из которых первая дополнительная цилиндрическая часть оправки формирует часть кольца от 90° до 140° и от 220° до 270°, а центр радиуса первой дополнительной цилиндрической части оправки смещен от центра номинального радиуса кольца в сторону его замка на расстоянии :
=R·f,
где f – коэффициент для колец с пониженным давлением в зоне замка, равен 0,026, для колец с равномерной эпюрой давления f=0,036, для колец с повышенным давлением в зоне замка f=0,046.
Величина и радиус первой дополнительной цилиндрической части оправки r2 для уплотнительных колец с пониженным давлением в зоне замка определяется по формулам
‘=Rf’=50·0,026=1,3 мм;

Для уплотнительных колец с равномерной эпюрой давления и r2 рассчитываются по формулам
“=Rf =50·0,036=1,8 мм;

Для уплотнительных колец с повышенным давлением в зоне замка и r2 определяются
“‘=Rf”‘=50·0,046=2,3 мм;

Вторая дополнительная часть оправки формирует кольцо от 140° и от 220° до замка. Центр О3 смещен относительно центра О в сторону спинки на величину 2, которая рассчитывается по формуле
1=0,03·R=0,03·50=1,5 мм.
По рассчитанным размерам были изготовлены три оправки, каждая из которых состоит из трех цилиндрических частей: первая цилиндрическая часть оправки имеет радиус цилиндра, равный 50,135 мм, и формирует половину кольца от его спинки до 90° и 270°, вторая цилиндрическая часть оправки имеет радиус цилиндра 50,251 мм – для колец с пониженным давлением в зоне замка; 50,133 мм – для колец с равномерным давлением; 49,954 мм – для колец с повышенным давлением в зоне замка и формирует часть кольца от 90° до 140° и от 220° до 270°, а третья цилиндрическая часть оправки имеет радиус цилиндра мм и формирует часть кольца от 140° и от 220° до замка.
На данных оправках была проведена термофиксация трех партий уплотнительных колец номинальным диаметром 100 мм с равномерным, повышенным и пониженным давлением в зоне замка. Результаты измерения формы колец приведены на фиг.5, из которой видно, что действительная форма колец соответствует расчетной, приведенной на фиг.4, а действительные эпюры радиальных давлений (фиг.6), рассчитанные по форме колец в свободном состоянии, близки к заданным, приведенным на фиг.3.
Таким образом, данное устройство позволяет при термофиксации получать поршневые и уплотнительные кольца с равномерным, пониженным и повышенным давлением в зоне замка.
К настоящему времени изготовленные партии уплотнительных колец проходят эксплуатационные испытания в коробках перемены передач тракторов «Кировец» при выполнении сельскохозяйственных работ в хозяйствах Саратовской области.
Технико-экономический эффект предлагаемого устройства заключается в том, что имеется возможность изготовить поршневые и уплотнительные кольца с требуемым радиальным давлением, что повысит их долговечность и надежность работы в узлах уплотнения по сравнению с существующими устройствами для термофиксации колец.
Формула изобретения
Устройство для термофиксации поршневых колец в пакете, содержащее цилиндрическую оправку, средство осевой стяжки набранного на оправку пакета поршневых колец, выполненное в виде двух фланцев, связанных посредством цилиндрического стержня с резьбой, и гайки, оправка состоит из цилиндрических частей, одна часть которой формирует половину кольца от спинки (0°) до 90 и 270° радиусом r1, равным r1=d/2=( D+Sk /2sin /2)/ 2 – t, где d – диаметр цилиндрической части которой, мм, D – номинальный диаметр поршневого кольца, мм, S – размер замка поршневых колец в свободном состоянии, мм, k – коэффициент усадки материала кольца, равный 1,15-1,25, – угол, определяющий зону замка S кольца, t – радиальная толщина поршневого кольца, мм, отличающееся тем, что другая часть цилиндрической оправки состоит из двух цилиндрических частей, из которых первая цилиндрическая часть оправки формирует часть кольца от 90 до 140° и от 220 до 270°, а центр радиуса цилиндрической части расположен от центра номинального радиуса кольца в сторону замка на расстоянии =Rf, где R – номинальный радиус поршневого кольца, мм, f – коэффициент, равный для колец с пониженным давлением в зоне замка – 0,026, для колец с равномерной эпюрой давления – 0,036, для колец с повышенным давлением в зоне замка – 0,046, а вторая цилиндрическая часть оправки формирует часть кольца от 140 и 220° до замка, а центр радиуса цилиндрической части расположен от центра номинального радиуса кольца в сторону спинки на расстоянии 1=Rf1, где f1 – коэффициент, равный 0,03.
РИСУНКИ
|
|