|
(21), (22) Заявка: 2008113236/03, 28.03.2008
(24) Дата начала отсчета срока действия патента:
28.03.2008
(46) Опубликовано: 27.10.2009
(15) Информация о коррекции:
Версия коррекции № ( )
(48) Коррекция опубликована:
20.03.2010 Бюл. № 8
(56) Список документов, цитированных в отчете о поиске:
ХИНТ И.А. УДА-технология: проблемы и перспективы. – Таллинн, 1981, с.4, 9. RU 2211205 С1, 27.03.2003. RU 2094108 С1, 27.10.1997. SU 1791146 А1, 30.01.1993. SU 1620309 А1, 15.01.1991. UA 26894 U, 10.10.2007. GB 2006737 А, 10.05.1979.
Адрес для переписки:
197136, Санкт-Петербург, а/я 55, пат.пов. Ю.В.Рыбакову
|
(72) Автор(ы):
Ольховский Эдуард Васильевич (RU)
(73) Патентообладатель(и):
ОБЩЕСТВО С ОГРАНИЧЕННОЙ ОТВЕТСТВЕННОСТЬЮ “МОНОЛИТ” (RU)
|
(54) МЕХАНОАКТИВАТОР ЦЕМЕНТА И СПОСОБ ИЗМЕЛЬЧЕНИЯ И МЕХАНИЧЕСКОЙ АКТИВАЦИИ ЦЕМЕНТА С ЕГО ИСПОЛЬЗОВАНИЕМ
(57) Реферат:
Изобретение относится к изготовлению цемента. Механоактиватор цемента включает корпус 1, станину 2, встречно вращающиеся с одинаковой скоростью диски 4, систему управления параметрами помола 7 и два электродвигателя 3. Диски полностью или частично покрыты диэлектрическим материалом или изготовлены из него и снабжены шайбами 6 для регулирования зазора между ними. Каждый из двигателей снабжен полым валом 5 для подачи цемента и воздуха в этот зазор. Диски выполнены с окружными канавками овальной или круглой формы, расположенными синхронно 8 напротив друг друга и расположенными асинхронно 9 со смещением относительно друг друга. Скорость вращения составляет 1500 об/мин при диаметре дисков 1200 мм. В качестве диэлектрического материала могут использовать стекло. Способ измельчения и механоактивации цемента включает обработку цемента в указанном механоактиваторе при скоростях вихревых потоков в нем 100000-3000000 об/мин. Обработку могут осуществлять с дополнительным введением нанокомпозитных добавок. Технический результат – обеспечение заданной тонины помола, достаточной монодисперсности, отсутствие агрегирования цемента, снижение расхода цемента, повышение надежности и долговечности механоактиватора. 2 н. и 4 з.п. ф-лы, 3 ил.
Решение относится к изготовлению цемента, а именно к увеличению прочности бетона при экономии цемента.
В России производится 45 миллионов тонн цемента в год, в мире – 1,9 миллиарда тонн в год, потребность с каждым годом растет. Одна только Ленстройдеталь готова закупить уже сегодня 18 ед. механоактиваторов. В С.-Петербурге и области около 1500 растворно-бетонных узлов. Потребность России в год – 30-40 тыс. ед. механоактиваторов.
В свое время выдающийся советский ученый И.А.Хинт отмечал:
«Мы вправе говорить о том, что разработан, в основном, четвертый компонент технологии – активация веществ при помощи больших механических энергий. Наряду с тремя существующими технологиями – изменением температуры и давления, диспергацией и катализом – эта технология становится не менее важной и эффективной».
Несколько лет назад большие механические энергии получили широкое применение на индустриальном уровне при производстве нового искусственного камня – лапрекса, тампонажного высококачественного цемента, которым укрепляются глубокие буровые скважины, а также при производстве карбонатных удобрений из отходов известняковых карьеров и кормовой муки.
Учитывая все это, мы сочли целесообразным назвать новый технологический комплекс УДА-технологией. У – универсальный, Д – дезинтегратор, А – активатор. Универсальность новой технологии бесспорна. Слово “дезинтегратор” мы считаем целесообразным сохранить в названии новой технологии, несмотря на то что конструкция выпускаемых в настоящее время СКТБ “Дезинтегратор” установок имеет лишь отдаленное сходство с изобретенным в 1859 г. инженером Карром дезинтегратором. Активация, как мы уже могли убедиться выше, является главным звеном в новой технологии.
Возникновение активации в веществе при дезинтегрировании зафиксировано не только у песков. Вот некоторые примеры:
– обработанную в УДА-установке фосфоритную муку растения усваивают значительно лучше, чем муку, измельченную до максимально возможной тонины в шаровой мельнице, и эффективность фосфоритной муки как удобрения возрастает на десятки процентов. Исследования методом меченых атомов показали, что усвоение фосфора растениями повысились в несколько раз;
– при помоле одного и того же клинкера в шаровой мельнице и в УДА-установке до одинаковой тонины в последнем случае получают более качественный портландцемент, прочность изделий из которого через 16 дней почти равна той, что лишь на 28 день достигается цементом, измельченным в шаровой мельнице. Конечная же прочность дезинтегрированных цементов в зависимости от состава клинкера до 40% выше;
– УДА-технология приготовления специальных тампонажных смесей для закрепления стенок глубоких буровых скважин при добыче нефти и газа позволяет повысить прочность цемента на растяжение до 5 раз по сравнению с ранее применяющимися смесями и уменьшить стоимость каждой скважины не менее чем на 100 тыс. рублей;
– активация в УДА-установке буровых растворов позволяет на 20-25% повысить скорость бурения, сократить содержание твердой фазы в них в 2,0-2,5 раза, уменьшить износ бура;
– УДА-технология производства силикальцита (который на Западе известен под названием “лапрекс”) позволяет изготовлять более качественный, чем до сих пор, индустриальный искусственный камень примерно в 2 раза дешевле, причем расход энергии снижается примерно на 50%. Стойкость силикальцита к различным корродирующим воздействиям в несколько раз выше, чем у полученного с помощью шаровой мельницы силикальцита;
– подготовка в УДА-установке стекольной смеси и шихты для производства огнеупоров дает возможность более чем на 20°С понизить температуру плавления или обжига, повысить скорость процесса в два раза и улучшить качество изделий;
– проведенные в Днепропетровском металлургическом институте опыты показали, что предварительная обработка железной руды в УДА-установке позволяет более чем на 100°С снизить температуру восстановления металла и снизить время процесса более чем на 20% по сравнению с рудой, измельченной до той же тонины в шаровой мельнице;
– обработка в УДА-установке вольфрамовых концентратов (шеелита, вольфрамита) позволяет на 10% увеличить степень извлечения металла и на 15-20% увеличить скорость последующей гидротермической обработки;
– обработка в УДА-установке медных и железорудных концентратов совместно с вяжущим (СаО) позволяет на 25-35% увеличить прочность окатышей;
– обработка в УДА-установке SiO2 в несколько раз увеличивает его адсорбционную способность, используемую для извлечения из сточных вод радиоактивного цезия;
– обработка в УДА-установке крахмалосодержащего сырья для спиртового производства на 20% увеличивает скорость сбраживания и повышает выход спирта;
– обработка в УДА-установке водонефтяных смесей позволяет на 5-7% повысить их калорийность, подготовка водотопливных эмульсий и суспензий в УДА-установке позволяет увеличить кпд двигателя, улучшить условия его работы и обеспечивает более полное сгорание топлива;
– активация в УДА-установке питательной среды для выращивания микроорганизмов на 15-25% повышает скорость их роста;
– УДА-технология производства карбонатных удобрений позволяет повысить урожайность растений на 3-5% за счет лучшей усвояемости удобрений, снизить себестоимость 1 т удобрений на 3 рубля, в том числе сэкономить до 10 кг топлива;
– УДА-технология активации воды увеличивает рост растений на 30-40%, животных в среднем на 20%, рыб на 45-100%, повышает стойкость растений к экстремальным условиям: низким температурам, недостатку влаги в среднем на 20%. При этом ежедневная добавка активированной в УДА-установке воды в количестве всего лишь 10 мл на 1 кг веса некоторых животных ведет к дополнительному привесу их на 20% при одинаковом с контролем рационе;
– УДА-технология переработки отходов резины, стеклопластиков, стекловолокна позволяет получить ценный порошковый продукт, используемый в качестве наполнителей для полимеров. При этом для двух последних видов отходов в мировой практике не существует промышленной технологии переработки;
– при приготовлении комбикорма в УДА-установке взамен молотковой дробилки КДМ-0,2 достигается улучшение качества продуктов, экономия энергии и снижение эксплуатационных расходов на десятки процентов;
– УДА-технология приготовления протеинового концентрата позволяет примерно до 2 раз увеличить выход клеточного сока.
Можно было бы привести еще много аналогичных примеров. Но и уже сказанное полностью опровергает все еще широко распространенное мнение о том, что с точки зрения технологии не важен агрегат или метод, с помощью которого достигнута требуемая тонина.
Но так как при измельчении в вибро- и шаровых мельницах говорят также о механической активации, то мы назвали достигаемый в дезинтеграторе эффект активацией большой механической энергией. Возникающие при дезинтегрировании вещества скорости удара по крайней мере на порядок больше, чем в вибро- и шаровых мельницах, а ускорение (при упругом ударе) достигает миллионов ускорений свободного падения (1).
Отмечалось, что в дезинтеграторе частицы вещества получали 6 быстро следующих друг за другом ударов, при максимальной скорости удара 250 м/с известково-песчаные смеси приобретают совершенно новые технологические свойства (2).
Была выдвинута рабочая гипотеза, связывающая основные принципы конструкции дезинтегратора с возникающей в веществе активацией, а именно, чем больше число ударов, получаемых частицами вещества, чем больше скорости ударов и чем меньше интервал между следующими друг за другом ударами, тем большая возникает активность (1).
Известно также много типов механоактиваторов цемента, большинство из них ударного типа.
Наиболее близким механоактиватором (УДА-устройством) относительно заявляемого является устройство, имеющее корпус, станину, электродвигатель и рабочий орган в виде роторов, обрабатывающих материал в интервалах скоростей удара до 450 м/с (1, с.9).
Это не позволяет достичь высоких показателей измельчения, а именно тонкости помола, высокой монодисперсности, а самое главное, снижения способности цемента агрегатироваться.
Задачей технического решения является обеспечение заданной тонины помола (диспергирования), достаточной монодисперсности и отсутствия агрегатирования цемента.
Задачей технического решения является разработка механоактиватора цемента высокой надежности и долговечности.
Известен способ смешения цемента с добавками и последующего их измельчения и механической активации в смесителе-активаторе при активном перемешивании в резко выраженных турбулентных (т.е. вихревых) потоках в зазорах между билами на дисках ротора (т.е. вращающихся дисках) и отбойниках на его корпусе (3).
Указанный способ по назначению и совокупности существенных признаков является наиболее близким к заявленному изобретению, и его целесообразно принять в качестве наиболее близкого аналога.
Для осуществления указанного технического решения предложено следующее.
Механоактиватор цемента, включающий корпус, станину, электродвигатель и вращающийся рабочий орган, характеризует тем, что указанный рабочий орган выполнен в виде встречно вращающихся с одинаковой скоростью дисков, полностью или частично покрытых диэлектрическим материалом или изготовленных из диэлектрического материала и снабженных шайбами для регулирования зазора между ними, дополнительно механоактиватор включает систему управления параметрами помола и дополнительный электродвигатель, причем каждый электродвигатель снабжен валом полым для подачи цемента и воздуха в указанный зазор.
Механоактиватор характеризуется тем, что диски выполнены с окружными канавками овальной или круглой формы, расположенными синхронно напротив друг друга и асинхронно со смещением относительно друг друга.
Механоактиватор характеризуется тем, что указанная скорость вращения составляет 1500 об/мин при диаметре указанных дисков 1200 мм.
Механоактиватор характеризуется тем, что в качестве диэлектрического материала используют стекло.
Способ измельчения и механической активации цемента включает обработку цемента в механоактиваторе при скоростях вихревых потоков в нем 100000-3000000 об/мин.
Способ характеризуется тем, что указанную обработку осуществляют с дополнительным введением нанокомпозитных добавок.
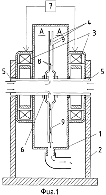
Предлагаемый механоактиватор иллюстрируется на чертежах. Фиг.1 – общая схема механоактиватора, фиг.2, 3 – фрагменты механоактиватора, на которых показаны вихревые потоки.
В заявляемом механоактиваторе и по заявленному способу измельчение происходит в быстрых вихревых потоках скоростью до 3000000 об/мин за счет ударного воздействия при столкновении сошедших с орбит частиц, за счет разрыва частиц под действием центробежных сил, за счет перенасыщения частиц электростатическим электричеством и за счет местного импульсного нагрева до 1200 градусов Цельсия, обусловленного соприкасанием быстрых вихревых потоков. Практически все частицы насыщены электростатическим электричеством и это не позволяет им агрегатироваться, что очень важно для соблюдения в дальнейшем равномерной гидратации связующего.
Заявляемый механоактиватор цемента состоит из корпуса 1, станины 2, электродвигателей 3, активирующих дисков 4, полых валов электродвигателей 5, шайб регулирования зазора между дисками 6, системы управления параметрами помола 7. Активирующие диски 4 могут иметь синхронные (расположенные напротив друг друга) окружные канавки овальной или круглой формы 8 и асинхронные (расположенные со смещением относительно друг друга) окружные канавки 9 овальной или круглой формы.
Диски 4 при диаметре 1200 мм могут иметь скорость вращения 1500 об/мин, что обеспечивает высокую надежность и срок службы не менее двух лет.
Механоактиватор цемента работает следующим образом. Через полый вал 5 электродвигателей 3 подается цемент и воздух, которые затем под действием центробежных сил попадают в пространство между вращающимися дисками 4, с целью увеличения действия электростатического электричества диски 4 полностью или частично покрываются диэлектриком, например стеклом, текстолитом, керамикой, базальтом и т.п. или могут быть изготовлены из диэлектрического материала (фиг.1).
Фиг.2, 3. В пространстве между активирующими дисками 4, вращающимися встречно с помощью воздуха создаются пограничный слой 10, образующийся при вращении дисков и предохраняющий диски от абразивного износа, и встречно вращающиеся вихревые потоки 11, в которых вращаются захваченные ими частицы цемента. Так как скорость вихревого потока может достигать 2000000 об/мин и более, захваченные частицы цемента срываются с орбиты и, попадая во встречно вращающийся вихревой поток, натыкаются на другие частицы и взрываются. Вихревые потоки 11 образуются при вращении дисков 4, при этом образуются встречные потоки за счет вращения дисков 4 в противоположные стороны. Разлетающиеся осколки также инициируют дробление в других вихревых потоках, и процесс при движении вихревых потоков 11 радиально многократно повторяется. Измельчение цемента происходит также под действием центробежных сил и при растрескивании его под действием местного импульсного нагрева в результате соприкасания встречно вращающихся вихревых потоков 11. Мгновенный нагрев может иметь импульсную температуру до 1200 градусов Цельсия, что вызывает растрескивание частиц цемента.
Высокая скорость вращения вихревых потоков в области диэлектриков вызывает перенасыщение частиц цемента электростатическим электричеством, в результате чего происходит их взрыв и измельчение. Насыщенные электростатическим электричеством частицы цемента отталкиваются друг от друга, в результате чего активированный цемент не агрегатируется до момента истечения электростатики.
На практике это 5 и более минут, что вполне достаточно для замешивания бетона и равномерной гидратации связующего, то есть цемента. Процессом измельчения можно управлять с помощью системы управления параметрами помола 7. Окружная скорость встречно вращающихся дисков 4 должна быть одинаковой. Это условие для безызносной эксплуатации дисков выполняется электронной системой управления 7, которая управляет оборотами бесколлекторных импульсных электродвигателей 3. Кроме того, при уменьшении скорости вращения дисков 4, помол загрубляется, при увеличении скорости вращения дисков 4 помол утончается. Помол можно также регулировать при одинаковой скорости дисков 4 путем уменьшения зазора между дисками 4 с помощью регулировочных шайб 6 (помол утончается). Управление помолом производится также с помощью синхронных окружных канавок 8 или асинхронных окружных канавок 9, где в результате увеличения расстояния между дисками резко возрастает диаметр вихревых потоков 11, что приводит к срыву с орбит захваченных частиц цемента и инициируется их измельчение ударным способом и за счет центробежных сил.
Обработку цемента осуществляют в вихревых потоках скоростью 100000-3000000 об/мин, в частности 2000000 об/мин.
Был получен следующий результат – увеличение прочности бетона в 1,7 раза при экономии цемента 15-20%. На сегодняшний день научных подходов к расчету параметров нет, поэтому оптимизация параметров механоактиватора была достигнута практическим путем – методом итераций.
Заявляемый способ позволяет пропорционировать по объему нанокомпозитные добавки, например фуллереноподобные (нанотрубки, астралены), наноинициирующие добавки (например, побочные продукты производства фуллеренов), при этом также их активируя. На сегодняшний день это главное препятствие их эффективного применения.
Заявляемый механоактиватор цемента без дополнительных трудностей встраивается в бетонный или растворный узел в системе подачи цемента.
Механоактиватор цемента позволяет:
– достигать экономии цемента 15-25%,
– достигать увеличения прочности бетона в 1,5-2,5 раза,
– достигать уменьшения времени первичной кристаллизации бетона до 4-6 часов, то есть в 4-6 раз,
– достигать монодисперсности фракции 0,5-10 мкм 45-50%,
– использовать механоактиватор в других отраслях техники.
Представляется возможность эффективно применять нанокомпозитные добавки, пропорционально смешивая их и активируя.
Источники информации
1. И.Хинт. «УДА-технология: проблемы и перспективы». Таллинн, 1981, с.4.
2. Хинт И.А. «Основы производства силикальцитных изделий». Л.: Госстрой, 1962, с.10.
3. RU 2211205 С1, 27.08.2003, 5 с.
Формула изобретения
1. Механоактиватор цемента, включающий корпус, станину, электродвигатель и вращающийся рабочий орган, отличающийся тем, что указанный рабочий орган выполнен в виде встречно вращающихся с одинаковой скоростью дисков, полностью или частично покрытых диэлектрическим материалом или изготовленных из диэлектрического материала и снабженных шайбами для регулирования зазора между ними, и дополнительно механоактиватор включает систему управления параметрами помола и дополнительный электродвигатель, причем каждый электродвигатель снабжен валом полым для подачи цемента и воздуха в указанный зазор.
2. Механоактиватор по п.1, отличающийся тем, что диски выполнены с окружными канавками овальной или круглой формы, расположенными синхронно напротив друг друга и асинхронно со смещением относительно друг друга.
3. Механоактиватор по п.1, отличающийся тем, что указанная скорость вращения составляет 1500 об/мин при диаметре указанных дисков 1200 мм.
4. Механоактиватор по п.1, отличающийся тем, что в качестве диэлектрического материала используют стекло.
5. Способ измельчения и механоактивации цемента, включающий обработку цемента в механоактиваторе по одному из пп.1-4 при скоростях вихревых потоков в нем 100000-3000000 об/мин.
6. Способ по п.5, отличающийся тем, что указанную обработку осуществляют с дополнительным введением нанокомпозитных добавок.
РИСУНКИ
TZ4A – Поправки к описаниям изобретений
Часть описания, где обнаружена ошибка: Страница 8, строки 50,51
Напечатано: – достигать монодисперности фракции 0,5-10 мкм 45-50%. Представляется возможность эффективно …
Следует читать: – достигать монодисперности фракции 0,5-10 мкм 45-50%, – использовать механоактиватор в других отраслях техники. Представляется возможность эффективно …
Номер и год публикации бюллетеня: 30-2009
Извещение опубликовано: 27.01.2010 БИ: 03/2010
TH4A – Переиздание описания изобретения к патенту Российской Федерации
Причина переиздания: Коррекция в тексте описания изобретения
Извещение опубликовано: 20.03.2010 БИ: 08/2010
|