|
|
(21), (22) Заявка: 2006133282/14, 15.02.2005
(24) Дата начала отсчета срока действия патента:
15.02.2005
(30) Конвенционный приоритет:
16.02.2004 IT RM2004A000082
(43) Дата публикации заявки: 27.03.2008
(46) Опубликовано: 27.10.2009
(56) Список документов, цитированных в отчете о поиске:
US 2003/0083694 A1, 01.05.2003. RU 2202979 С1, 27.01.2006. RU 2202979 С2, 27.04.2003. SU 1128937 A1, 15.12.1984. SU 1128937 A1, 15.12.1984. US 6540769 В1, 01.04.2003. WO 02/067795 A, 06.09.2002. АНКИН Л.Н. и др. Травматология. – М.: “МЕДпресс-информ”, 2005, с.76-91.
(85) Дата перевода заявки PCT на национальную фазу:
18.09.2006
(86) Заявка PCT:
IT 2005/000076 20050215
(87) Публикация PCT:
WO 2005/077289 20050825
Адрес для переписки:
103735, Москва, ул. Ильинка, 5/2, ООО “Союзпатент”, пат.пов. Л.С.Кишкиной
|
(72) Автор(ы):
ЦЕЙТАНИ Якоб (IT)
(73) Патентообладатель(и):
СИК БРЕВЕТТИ С.Р.Л. (IT)
|
(54) ПРИСПОСОБЛЕНИЕ ДЛЯ УКРЕПЛЕНИЯ ГРУДИНЫ, ИСПОЛЬЗУЕМОЕ ПОСЛЕ СТЕРНОТОМИИ ИЛИ ПЕРЕЛОМА ГРУДИНЫ
(57) Реферат:
Группа изобретений относится к медицине. Приспособление содержит, по меньшей мере, одну продолговатую деталь (1; 10), пригодную к использованию ее в качестве модуля укрепляющей группы деталей (1; 10), и которая предназначается для размещения ее на поверхностной части переднего продольного бокового края грудины и снабжается первой и второй соединительными частями (6; 7). Первая соединительная часть (6) продолговатой детали (1; 10) выполнена с возможностью подсоединения ее ко второй соединительной части (7) предыдущей продолговатой детали укрепляющей группы таких деталей в направлении продольного бокового края грудины. Вторая соединительная часть (7) продолговатой детали выполнена с возможностью подсоединения ее к первой соединительной части (6) последующей продолговатой детали группы таких деталей в направлении того же продольного бокового края грудины. Продолговатая деталь (1; 10) дополнительно имеет выступающую часть (4), предназначенную для размещения ее внутри межреберного пространства, примыкающего к продольному боковому краю грудины. Способ укрепления грудины после стернотомии или перелома грудины, предусматривает следующие стадии: накладывают укрепляющую группу, состоящую из множества продолговатых деталей (1; 10), при этом каждую деталь (1; 10) размещают на поверхностной части переднего продольного бокового края грудины и снабжают первой и второй соединительными частями (6; 7). Первую соединительную часть (6) продолговатой детали (1; 10) подсоединяют ко второй соединительной части (7) предыдущей продолговатой детали укрепляющей группы таких деталей в направлении продольного бокового края грудины. Вторую соединительную часть (7) продолговатой детали подсоединяют к первой соединительной части (6) последующей продолговатой детали группы таких деталей в направлении того же продольного бокового края грудины. Продолговатая деталь (1; 10) дополнительно имеет выступающую часть (4), размещаемую внутри межреберного пространства, примыкающего к продольному боковому краю грудины. Изобретения обеспечивают смыкание грудины и укрепление половинок грудины в поперечном направлении, а также обеих – передней и задней – частей грудины. 2 н. и 12 з.п. ф-лы, 11 ил.
Область техники, к которой относится изобретение
Настоящее изобретение относится к приспособлению для укрепления грудины, используемому после стернотомии или перелома грудины.
Предпосылки к созданию изобретения
Срединная стернотомия является очень распространенной операцией в области хирургии сердца. Грудина пациента или ее часть распиливается пилой или другими режущими инструментами. Когда грудина разрезана на две части, грудинные половины растягиваются в стороны друг от друга для того, чтобы обнажить структуру средостения. В результате этого в области грудной клетки образуется большое отверстие, которое обеспечивает оптимальный хирургический доступ к сердцу и магистральным сосудам, и такое разрезание грудины хорошо переносится пациентом.
После окончания операции две половины грудины воссоединяются. Как правило, для закрытия грудины используется несколько средств, например, волокна Мерсилин (Merselene), стальная проволока, металлические и гибкие бандажи, нитиноловые (nitinol) зажимы и т.д., обеспечивающих стабильность грудины и выздоровление пациента. Наиболее распространенным в настоящее время способом, применяемым для закрытия грудины после операции, является обматывание вокруг грудины стальной проволоки, пропускаемой сквозь межреберные промежутки.
Однако, как срединная стернотомия, так и применяемые в настоящее время способы связаны с определенными сложностями. Осложнения, связанные с операционной раной грудины, проявляющиеся обычно вследствие подвижности грудины, могут выражаться в виде, начиная от длительных болей в области грудной клетки, причиняющих неудобство и вызывающих связанные с этим нарушения дыхательной функции, и вплоть до расхождения краев операционной раны, что может привести к занесению инфекции и возникновению медиастинита.
В патенте США 4583541 уже предусматривается создание грудинного стабилизирующего устройства, удерживающего разделенную грудину в сомкнутом состоянии. Такое стабилизирующее устройство состоит, по существу, из одной-единственной детали, представляющей собой полоску лейкопластыря, предназначенную для наложения ее в продольном направлении в центральном положении на переднюю поверхность разделенной грудины пациента. В такой полоске лейкопластыря предусматривается наличие множества парных сквозных отверстий. От задней поверхности грудины сквозь соответствующие отверстия, выполняемые в грудине концентрично сквозным отверстиям, имеющимся в указанной детали, представляющей собой полоску лейкопластыря, протягивается множество проволок, концы которых соединяются между собой или же скручиваются вместе друг с другом внутри центральной канавки. Вышеуказанный патент предназначается для преодоления соответствующих проблем, которые возникают в связи с различными осложнениями после проведения операций серединной стернотомии. К таким проблемам следует отнести разрыв проволок, выступание проволок сквозь кожу, например из-за худобы пациента, расхождение половинок грудины, вялое заживление грудины, различные инфекции и, так называемые, «свободные» или же нестабильные половины грудины.
В отличие от вышеуказанного патента, задачей которого является защита грудинного стабилизирующего устройства, которое, как оказалось, обладает весьма ограниченными функциональными возможностями, что обусловлено необходимостью совмещения отверстий, образуемых в грудине, с отверстиями, имеющимися в указанной детали, представляющей собой полоску лейкопластыря, настоящее изобретение направлено на создание соответствующего приспособления, предназначенного для частичного или же полного укрепления одной или обеих половинок грудины, учитывая при этом тот факт, что операции стернотомии чаще всего проводятся над пациентами пожилого возраста, чья костная система с течением временем все в большей и большей степени теряет свою прочность.
Следовательно, задача настоящего изобретения заключается в изготовлении приспособления, предназначенного для использования его в целях смыкания грудины и обеспечивающего при его применении укрепление половинок грудины в поперечном направлении, а также обеих – передней и задней – частей грудины.
Другая задача настоящего изобретения заключается в осуществлении смыкания грудины аналогичным способом, как и при смыкании ее, осуществляемом с помощью применяемого с этой целью соответствующего проволочного бандажа, с устранением при этом какой-либо опасности трения проволоки о грудину, которое может приводить к последующим ее повреждениям и возникающим в результате этого частичным или же полным разрывам проволоки и ее ослаблению.
Еще одной задачей настоящего изобретения является возможность осуществления смыкания частей грудины, поврежденных в связи с частичными или же полными переломами грудины, возникшими вследствие проведения основной операции.
Еще одна задача настоящего изобретения заключается в обеспечении возможности для половинок грудины оставаться в сомкнутом своем состоянии во время проведения операции дегисценции грудины при отсутствии при этом необходимости в разделении какого-либо слипания, образовавшегося в процессе проведения операции, при разделении которого возникает серьезная опасность повреждения сердца, а также различных обходных шунтов и соответствующих протоков.
Еще одна задача настоящего изобретения заключается в укреплении грудин, которые могут быть снова сомкнуты традиционными методами, применение которых обычно сопряжено с риском возникновения последующих осложнений, связанных с процессами старения или же дегенерации, к примеру, таких как процессы остеопороза, а также осложнений, возможных у пациентов, страдающих диабетом, дыхательной недостаточностью или ожирением, или же у пациентов, уже подвергавшихся парасрединным стернотомиям.
Раскрытие изобретения
Следовательно, настоящим изобретением предусматривается создание приспособления, предназначенного для использования его с целью укрепления грудины после стернотомии или перелома грудины, характеризующегося тем, что данное приспособление содержит, по меньшей мере, одну продолговатую модульную деталь, которая предназначается для размещения ее на поверхностной части переднего края грудины и снабжается первой и второй соединительными частями, причем первая часть продолговатой модульной детали выполнена с возможностью подсоединения ее ко второй соединительной части предыдущей продолговатой модульной детали, а вторая часть продолговатой модульной детали выполнена с возможностью подсоединения ее к первой соединительной части последующей продолговатой модульной детали; при этом у каждой продолговатой модульной детали дополнительно имеется выступающая часть, предназначенная для размещения ее внутри межреберного пространства, примыкающего к боковому краю грудины.
Соединительные части (продолговатой детали пригодны к использованию их для образования призматической муфты вместе с соответствующими соединительными частями соответственно – предыдущей и последующей – продолговатых деталей группы таких деталей.
При этом продолговатая деталь изготавливается из биологически совместимого, профилированного и соответствующим образом изогнутого листового материала.
Первая соединительная часть представляет собой охватываемое плечо, выполненное с возможностью вставлять его со скольжением внутрь соответствующей второй соединительной части предыдущей продолговатой детали.
Кроме этого охватываемое плечо имеет прямоугольный профиль в поперечном своем сечении.
Вторая соединительная часть представляет собой охватывающее плечо, выполненное с возможностью вставлять его со скольжением внутрь соответствующей первой соединительной части последующей продолговатой детали, причем охватывающее плечо имеет форму швеллерного профиля в поперечном сечении.
Выступающая часть, предназначенная для введения ее в межреберное пространство, представляет собой соответствующую часть корпуса продолговатой детали находящейся между соединительными частями и расположенной под прямыми углами к ним, причем часть корпуса имеет U-образную форму с параллельными свободными гранями, изогнутыми в ортогональном направлении наружу с возможностью охватывать собой соответствующее фиксирующее устройство, удерживающее продолговатую деталь на грудине.
При этом фиксирующее устройство выполняется из нержавеющей стальной проволоки.
Свободные грани U-образной выступающей части отходят от выступающей части в виде ножек, которые могут быть вставлены в межреберное пространство грудной клетки пациента, размещаясь при этом в поперечном направлении относительно грудины, и изогнуты во взаимно противоположных направлениях, оставаясь при этом с внутренней стороны грудной клетки.
Кроме того приспособление дополнительно содержит разделительную планку, снабженную некоторым множеством прорезей, предназначенных для пропускания сквозь них и удерживания там ножек, прежде чем эти ножки будут изогнуты относительно соответствующей части корпуса во взаимно противоположных направлениях, при этом в планке с одной ее стороны предусматривается также наличие соответствующих направляющих выемок, предназначенных для размещения в них фиксирующего устройства.
Также предложен способ укрепления грудины после стернотомии или перелома грудины, предусматривающий следующие стадии:
накладывают укрепляющую группу, состоящую из множества продолговатых деталей, при этом каждую деталь размещают на поверхностной части переднего продольного бокового края грудины и снабжают первой и второй соединительными частями, причем первую соединительную часть продолговатой детали подсоединяют ко второй соединительной части предыдущей продолговатой детали, укрепляющей группы таких деталей в направлении продольного бокового края грудины, а вторую соединительную часть продолговатой детали подсоединяют к первой соединительной части последующей продолговатой детали группы таких деталей в направлении того же продольного бокового края грудины, при этом продолговатая деталь дополнительно имеет выступающую часть, размещаемую внутри межреберного пространства, примыкающего к продольному боковому краю грудины.
Краткое описание рисунков
Далее настоящее изобретение описано на примере двух предпочтительных вариантов осуществления настоящего изобретения со ссылками на прилагаемые чертежи, на которых:
На фиг.1 показан вид сверху пластинчатой заготовки, которой придается форма для получения первого варианта исполнения приспособления для укрепления грудины в соответствии с настоящим изобретением.
На фиг.2 показано перспективное изображение приспособления для укрепления грудины, выполненного в виде продолговатой детали, полученной из пластинчатой заготовки, представленной на фиг.1.
На фиг.3 показано перспективное изображение приспособления для укрепления грудины, состоящего из трех продолговатых деталей, каждая из которых соответствует детали, показанной на фиг.2, и которые последовательно сцеплены между собой.
На фиг.4 показан вид сверху пластинчатой заготовки, которой придается форма для получения второго варианта исполнения приспособления для укрепления грудины в соответствии с настоящим изобретением.
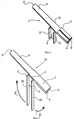
На фиг.5 показано перспективное изображение приспособления для укрепления грудины, выполненного в виде продолговатой детали, полученной из пластинчатой заготовки, представленной на фиг.4.
На фиг.6 показана вертикальная боковая проекция приспособления для укрепления грудины, представленного на фиг.5 и повернутого в плоскости рисунка на 90 градусов.
На фиг.7 показан вид сверху в горизонтальной проекции приспособления для укрепления грудины, представленного на фиг.6.
На фиг.8 показан боковой вид сверху приспособления для укрепления грудины, представленного на фиг.6.
На фиг.9 показан вид сверху фиксирующей планки, выполненной в соответствии с настоящим изобретением.
На фиг.10 показало перспективное изображение приспособления для укрепления грудины, состоящего из трех продолговатых деталей, каждая из которых соответствует детали, представленной на фиг.5, и которые последовательно сцеплены между, а также дополнительно оснащены фиксирующей планкой (показана частично), соответствующей планке, показанной на фиг.9.
На фиг.11 показано схематическое перспективное изображение приспособлений для укрепления грудины, выполненных в соответствии с настоящим изобретением и размещенных по обе стороны от грудины.
Описание предпочтительных вариантов осуществления настоящего изобретения
Как показано на прилагаемых рисунках, первый вариант исполнения приспособления согласно настоящему изобретению представлен в виде сверху на фиг.1 в наполовину законченном своем состоянии, то есть в виде перфорированной пластинчатой заготовки (которая лежит полностью в плоскости данного рисунка). Приспособление для укрепления грудины может быть изготовлено из листа биологически совместимого материала, например из листа нержавеющей стали, которому придается соответствующая форма в виде продолговатой модульной детали посредством перфорирования или какого-нибудь другого способа резки, к примеру такого, как электроискровая обработка или же лазерная резка и т.д. Механические и технологические характеристики материала при этом подбираются таким образом, чтобы обеспечить соответствующие прочностные эксплуатационные характеристики, а также пригодность приспособления к пользованию им и его функциональность. Совершенно очевидно, что предложенное приспособление для укрепления грудины может быть получено как в результате механической обработки, так и в результате его отливки, либо оно может быть выполнено из соответствующих неметаллических материалов и с применением других способов обработки.
Продолговатая модульная деталь 1 выполнена таким образом, что небольшой участок 4 ее корпуса имеет форму косынки, находящейся в промежуточном положении относительно продолговатой модульной детали 1. Указанный участок 4 корпуса соприкасается с центральным участком 5 продолговатой модульной детали 1, а между ними предусматривается наличие соответствующей линии сгиба l4. Грани 2, 3 образуют боковые стороны участка 4 корпуса, окаймляющие собой участок 4 корпуса вдоль соответствующих линий сгиба l2, l3, но отделенные от центрального участка 5.
У модульной детали 1 имеются соединительные части 6, 7, образованные в виде плеч, одно из которых вытянуто в одном направлении, а другое вытянуто в противоположном направлении относительно центрального ее участка 5. Плечо 6, имеющее прямоугольный контур в поперечном своем сечении, слегка сужается по направлению к свободному его концу 8. Плечо 7 удлинено в поперечном направлении посредством выполнения соответствующих ребер 9, 9, которые могут иметь двойной загиб, для чего предусматривается наличие спаренных параллельных линий сгиба 2l9, 2l10.
На фиг.1 представлена перфорированная пластинчатая заготовка уже в собранном виде, готовая к использованию ее в соответствии с перспективным изображением, показанным на фиг.2. На этой фигуре участок 4 корпуса представлен в виде прямоугольника, отогнутого в ортогональном направлении вниз таким образом, что он как будто бы проходит сквозь плоскость рисунка, а боковые параллельные грани 2 и 3 участка 4 корпуса при этом отогнуты, по существу, под прямым углом в наружном направлении, образуя U-образную форму в поперечном сечении, приспособленную для удерживания соответствующих фиксирующих устройств (описание которых приводится здесь ниже).
Ребра 9, 9 имеют двойной изгиб, образуя при этом поперечное сечение в виде так называемого полого швеллерного профиля. При этом ребра 9, 9 отогнуты кверху (как это показано на фиг.2 и 3) или же книзу (как это показано здесь далее на фиг.5, 6, 7, 8, 10 и 11) относительно плоскости рисунка, а затем согнуты еще раз по парным параллельным линиям сгиба 2l9, 2l10 таким образом, чтобы располагаться при этом параллельно указанной плоскости. Совершенно очевидно, что выбор направления для загибания ребер 9, 9 – кверху или книзу, при котором образуется соответствующее поперечное сечении, в первом случае осуществляется, исходя из обеспечения более удобного пользования предложенным приспособлением при установке его по месту, а во втором случае – с целью получения более чистой обработанной передней поверхности того же приспособления при установке его по месту, а также и по другим понятным причинам.
На фиг.3 представлено предлагаемое приспособление, предназначенное для укрепления грудины, которое выполнено в виде соответствующего узла, состоящего из трех продолговатых модульных деталей, изготовленных в соответствии с первым вариантом осуществления настоящего изобретения, и показанного на стадии его сборки. Таким образом, данный узел устанавливается, как это показано на схематическом перспективном изображении, представленном на фиг.11. Продолговатые модульные детали обозначены, в целом, позицией 1 с дополнительным индексом, дифференцирующим их в пределах соответствующего множества этих деталей, а именно, l1, l2, ,ln, причем в общем наибольшее значение индекса n составляет, как правило, 4.
Как показано на фиг.3, продолговатые модульные детали l1, l2, l3 последовательно соединяются между собой при помощи призматических муфт скольжения, при этом охватываемое плечо 6 модульной детали l1 вставляется в охватывающее плечо 7 последующей модульной детали l2, а охватываемое плечо 6 детали l2 вставляется в охватывающее плечо следующей модульной детали l3. Продолговатые модульные детали l1 и l2 взаимно проникают одна внутрь другой на полную глубину, причем своим концом охватывающий участок одной такой детали впритык соединяется с выступающей гранью 2 другой такой детали. Деталь l3 показана в таком своем положении, в котором она находится на некотором расстоянии от других таких же деталей.
Размеры участка 4 корпуса выбираются таким образом, чтобы данный корпус можно было этим участком вставить в межреберное пространство практически любому пациенту. С другой стороны, продольные размеры плеч 6, 7, а также количество их взаимно скользящих друг относительно друга муфт определяются таким образом, чтобы при этом обеспечивалась возможность для размещения одной продолговатой детали и следующей за ней такой же детали на соответствующем расстоянии друг от друга, благодаря чему можно будет подгонять такие детали под любую ширину ребра пациента. Иными словами, модульная деталь может быть установлена перед следующей за ней такой же деталью на таком расстоянии, которое необходимо будет выдержать для установки соответствующего участка корпуса в межреберном пространстве пациента без потери при этом взаимного контакта между ними.
На фиг.4 показан второй вариант исполнения модульного приспособления в соответствии с настоящим изобретением, обозначенного, в целом, позицией 10 и представленного в виде сверху, аналогичном соответствующему виду, изображенному на фиг.1.
Для большей ясности, при описании второго варианта осуществления настоящего изобретения аналогичные номера позиций и символы используются для обозначения таких частей, которые идентичны или же аналогичны соответствующим частям предлагаемого приспособления, выполненного в соответствии с первым вариантом осуществления настоящего изобретения. При этом отличительным признаком второго варианта по сравнению с первым вариантом осуществления настоящего изобретения является то, что грани 2, 3, выступающие относительно участка 4 корпуса, образуют собой своеобразные ножки 20, 30.
На фиг.4 перфорированная пластинчатая заготовка показана уже в собранном виде, готовая к практическому использованию ее, как это показано на перспективном изображении, которое представлено на фиг.5. При этом на данном рисунке соответствующий участок 4 корпуса изображен в виде прямоугольника, отогнутого в ортогональном направлении вниз таким образом, чтобы он как будто бы проходит сквозь плоскость рисунка, а его боковые ножки 20 и 30 отогнуты при этом, по существу, под углом в 90 градусов в наружном направлении. Как и в первом варианте осуществления настоящего изобретения, ребра 9, 9 также изогнуты таким образом, что образуется швеллерное поперечное сечение. Противоположно направленные стрелки F показывают, что боковые ножки 20, 30 изгибаются в противоположных направлениях таким образом, чтобы обеспечить их плотное примыкание со стороны внутренней поверхности грудной клетки к соответствующим ребрам, благодаря чему обеспечивается соответствующая их фиксация. Следовательно, материал, из которого изготавливается предлагаемое приспособление, предназначенное для укрепления грудины, должен обладать достаточной податливостью с тем, чтобы обеспечивалась возможность сгибания данного приспособления также и при помощи только одних рук.
На фиг.6-8 показан второй вариант осуществления настоящего изобретения, изображенный в трех разных видах, представленных в ортогональной проекции. При этом следует понимать, что фиг.7 является изображением вида сверху также и для первого варианта осуществления настоящего изобретения. Во избежание повтора подробное описание фиг.6-8 здесь не приводится. На фиг.9 показан вид сверху фиксирующей планки 12, нашедшей свое применение во втором варианте осуществления настоящего изобретения. На фиксирующей планке 12 предусматривается наличие соответствующих прорезей 13, размеры которых позволяют ножкам 20 и 30 пройти сквозь эти прорези. С одной стороны фиксирующей планки 12 выполнены также соответствующие направляющие выемки 14 для проволоки.
В процессе их установки соответствующее множество продолговатых модульных деталей 101, 102, 10n соединяется в единое целое путем введения охватываемого плеча 6 очередной модульной детали внутрь охватывающего плеча 7 последующей модульной детали, как было уже указано здесь ранее при рассмотрении первого варианта осуществления настоящего изобретения. После того, как будет набрано необходимое количество продолговатых укрепляющих деталей, может быть начата установка их всех вместе в грудной клетке в таком состоянии, в котором охватываемые плечи одних не очень плотно входят в охватывающие плечи других в расчете на возможные различия в размерах межреберных промежутков. На фиг.10 показано, как вставляются ножки 20, 30 в соответствующие прорези фиксирующей планки 12 в направлении, указанном стрелками G-G, с обеспечением при этом более надежной внутренней фиксации перед тем, как те же самые ножки будут повернуты в направлении, указанном стрелками F-F.
Как показано на фиг.11, два ряда продолговатых укрепляющих деталей устанавливаются со стороны передней части грудной клетки на передние крайние участки грудины, подвергшейся стернотомии или же частичному перелому. Фиг.11 в данном случае рассматривается применительно ко второму варианту осуществления настоящего изобретения, но он может рассматриваться также и применительно к первому варианту осуществления настоящего изобретения. При наличии ножек 20, 30 сразу же после того, как они будут вставлены в соответствующие прорези, их изгибают в противоположных направлениях, указанных стрелками F, фиксируя тем самым укрепляющие детали во внутренней части грудной клетки. Ножки 20, 30 могут быть изогнуты после установки на свое место фиксирующей планки 12, в результате чего обеспечивается наилучшее распределение напряжений, возникающих при этом в грудной клетке. И, наконец, эти два ряда укрепляющих приспособлений фиксируются с помощью проволоки 15, пропускаемой между гранями 2 и 3 каждого участка 4 корпуса. Несмотря на то, что это не показано на прилагаемых рисунках, тем не менее, следует здесь отметить, что участок 4 корпуса может быть также изогнут соответствующим образом с тем, чтобы образовалась соответствующая центральная направляющая поверхность для проволоки 14, которая уже ограничена боковыми гранями 2, 3, изогнутыми в наружном направлении.
Таким образом, приспособление, предназначенное для укрепления грудины, может быть установлено непосредственно только лишь в том месте, где это действительно необходимо. Укрепляющее приспособление обматывается обвязывающей проволокой, но это не повлечет за собой опасности расхождения грудины в результате ослабления проволоки или же возникновения каких-либо других осложнений, например истирания проволок, расположенных в грудине, в процессе осуществления грудной клеткой нормальных дыхательных движений.
При применении данного приспособления, предназначенного для укрепления грудины и выполненного согласно настоящему изобретению, закрытие грудины может быть осуществлено с использованием не только традиционных проволок, но также и с помощью лент и бандажей, пропускаемых между гранями 2 и 3 участка 4 корпуса.
Может предусматриваться использование продолговатых деталей в требуемом количестве с образованием из них одной общей укрепляющей группы. Несмотря на то, что продолговатые детали, показанные на фиг.11, располагаются как с одной, так и с другой стороны грудины с целью полного ее укрепления, может также применяться и несколько меньшее количество таких деталей для полного или же частичного укрепления лишь какой-либо одной части половинки грудины, либо обеих ее половинок.
От таких приспособлений, предназначенных для укрепления грудины, можно отказаться только в тех случаях, когда грудина находится в настолько хорошем состоянии, что полностью отпадает всякая необходимость в применении таких приспособлений.
Специалистам в данной области техники должно быть вполне понятно, что рассмотренное в приведенном здесь выше описании предложенное приспособление допускает различные изменения и дополнения. Несмотря на то, что в рассмотренных и проиллюстрированных здесь вариантах осуществления настоящего изобретения соединительные части образуют собой призматические муфты, могут быть предложены также и другие виды соединения – либо подвижного, либо регулируемого – между очередной продолговатой деталью и следующей за ней продолговатой деталью. Например, может быть предложено соединение, обеспечиваемое при помощи, по меньшей мере, двух штифтов, выступающих из одной продолговатой детали в переднем направлении и вставляемых в соответствующие отверстия последующей такой детали. Также могут использоваться детали различных других форм. Например, некоторая часть корпуса может располагаться не под углом по отношению к остальной части продолговатой детали, а быть несколько выгнутой в соответствии с боковой формой грудины. При этом подразумевается, что все изменения, вносимые в данное приспособление, не должны выходить за пределы объема настоящего изобретения, определенного прилагаемой формулой изобретения.
Формула изобретения
1. Приспособление, предназначенное для укрепления грудины после стернотомии или перелома грудины, отличающееся тем, что оно содержит, по меньшей мере, одну продолговатую деталь (1; 10), пригодную к использованию ее в качестве модуля укрепляющей группы деталей (1; 10), и которая предназначается для размещения ее на поверхностной части переднего продольного бокового края грудины и снабжается первой и второй соединительными частями (6; 7), причем первая соединительная часть (6) продолговатой детали (1; 10) выполнена с возможностью подсоединения ее ко второй соединительной части (7) предыдущей продолговатой детали укрепляющей группы таких деталей в направлении продольного бокового края грудины, а вторая соединительная часть (7) продолговатой детали выполнена с возможностью подсоединения ее к первой соединительной части (6) последующей продолговатой детали группы таких деталей в направлении того же продольного бокового края грудины, при этом продолговатая деталь (1; 10) дополнительно имеет выступающую часть (4), предназначенную для размещения ее внутри межреберного пространства, примыкающего к продольному боковому краю грудины.
2. Приспособление по п.1, отличающееся тем, что соединительные части (6, 7) продолговатой детали (1; 10) пригодны к использованию их для образования призматической муфты вместе с соответствующими соединительными частями соответственно – предыдущей и последующей – продолговатых деталей группы таких деталей.
3. Приспособление по п.1, отличающееся тем, что продолговатая деталь (1; 10) изготавливается из биологически совместимого, профилированного и соответствующим образом изогнутого листового материала.
4. Приспособление по п.1, отличающееся тем, что первая соединительная часть представляет собой охватываемое плечо (6), выполненное с возможностью вставлять его со скольжением внутрь соответствующей второй соединительной части (7) предыдущей продолговатой детали.
5. Приспособление по п.4, отличающееся тем, что охватываемое плечо (6) имеет прямоугольный профиль в поперечном своем сечении.
6. Приспособление по п.1, отличающееся тем, что вторая соединительная часть представляет собой охватывающее плечо (7), выполненное с возможностью вставлять его со скольжением внутрь соответствующей первой соединительной части (6) последующей продолговатой детали.
7. Приспособление по п.6, отличающееся тем, что охватывающее плечо (7) имеет форму швеллерного профиля в поперечном сечении.
8. Приспособление по п.1, отличающееся тем, что выступающая часть, предназначенная для введения ее в межреберное пространство, представляет собой соответствующую часть (4) корпуса продолговатой детали (1; 10), находящейся между соединительными частями (6, 7) и расположенной под прямыми углами к ним.
9. Приспособление по п.8, отличающееся тем, что часть (4) корпуса имеет U-образную форму с параллельными свободными гранями (2, 3), изогнутыми в ортогональном направлении наружу с возможностью охватывать собой соответствующее фиксирующее устройство (15), удерживающее продолговатую деталь на грудине.
10. Приспособление по п.9, отличающееся тем, что фиксирующее устройство выполняется из нержавеющей стальной проволоки (15).
11. Приспособление по п.9, отличающееся тем, что свободные грани (2, 3) U-образной выступающей части (4) отходят от выступающей части (4) в виде ножек (20, 30), которые могут быть вставлены в межреберное пространство грудной клетки пациента, размещаясь при этом в поперечном направлении относительно грудины, и изогнуты во взаимно противоположных направлениях, оставаясь при этом с внутренней стороны грудной клетки.
12. Приспособление по п.11, отличающееся тем, что оно дополнительно содержит разделительную планку (12), снабженную некоторым множеством прорезей (13), предназначенных для пропускания сквозь них и удерживания там ножек (20, 30), прежде чем эти ножки (20, 30) будут изогнуты относительно соответствующей части (4) корпуса во взаимно противоположных направлениях.
13. Приспособление по п.12, отличающееся тем, что в планке (12) с одной ее стороны предусматривается также наличие соответствующих направляющих выемок (14), предназначенных для размещения в них фиксирующего устройства (15).
14. Способ укрепления грудины после стернотомии или перелома грудины, отличающийся тем, что предусматривают следующие стадии: накладывают укрепляющую группу, состоящую из множества продолговатых деталей (1; 10), при этом каждую деталь (1; 10) размещают на поверхностной части переднего продольного бокового края грудины и снабжают первой и второй соединительными частями (6; 7), причем первую соединительную часть (6) продолговатой детали (1; 10) подсоединяют ко второй соединительной части (7) предыдущей продолговатой детали укрепляющей группы таких деталей в направлении продольного бокового края грудины, а вторую соединительную часть (7) продолговатой детали подсоединяют к первой соединительной части (6) последующей продолговатой детали группы таких деталей в направлении того же продольного бокового края грудины, при этом продолговатая деталь (1; 10) дополнительно имеет выступающую часть (4), размещаемую внутри межреберного пространства, примыкающего к продольному боковому краю грудины.
РИСУНКИ
|
|