|
|
(21), (22) Заявка: 2008106298/13, 18.02.2008
(24) Дата начала отсчета срока действия патента:
18.02.2008
(46) Опубликовано: 27.10.2009
(56) Список документов, цитированных в отчете о поиске:
RU 48817 U1, 10.11.2005. RU 2286664 C1, 10.11.2006. СЫСУЕВ В.А., САВИНЫХ П.А., АЛЕШКИН А.В, ЗАБОЛОТСКИХ И.Ю. Экспериментально-теоретические исследования внесения консерванта в плющеное зерно при разработке ресурсосберегающих технологий заготовки кормов. Энергообеспечение и энергосбережение в сельском хозяйстве/. Труды 5-й международной научно-технической конференции ГНУ ВИЭСХ. – М., 2006, ч.3, с.81-87.
Адрес для переписки:
610007, г.Киров, ул. Ленина, 166а, Государственное учреждение Зональный Научно-исследовательский институт сельского хозяйства Северо-Востока им. Н.В. Рудницкого
|
(72) Автор(ы):
Савиных Петр Алексеевич (RU), Алешкин Алексей Владимирович (RU), Казаков Владимир Аркадьевич (RU)
(73) Патентообладатель(и):
Государственное учреждение Зональный научно-исследовательский институт сельского хозяйства Северо-Востока им. Н.В. Рудницкого (RU)
|
(54) СПОСОБ ПОДГОТОВКИ ВЛАЖНОГО ЗЕРНОВОГО МАТЕРИАЛА К СКАРМЛИВАНИЮ И УСТРОЙСТВО ДЛЯ ЕГО ОСУЩЕСТВЛЕНИЯ
(57) Реферат:
Изобретение относится к сельскохозяйственному производству и может быть использовано при производстве концентрированных кормов для животноводства. Способ включает двухступенчатое плющение и консервирование влажного зернового материала. Процесс плющения и процесс консервирования влажного зернового материала протекают одновременно в межвальцовом зазоре первой ступени плющения. Устройство для осуществления способа представляет собой вальцовый станок, включающий привод и кинематически связанные с ним верхний основной, верхний боковой и нижний вальцы, питательный бункер с регулировочной заслонкой, установленный над верхним основным вальцом и снабженный криволинейной направляющей пластиной, очищающие ножи, смонтированные под вальцами, питающий валец, установленный в питательном бункере, направляющую пластину, смонтированную за очищающим ножом верхнего основного вальца, форсунки для подачи раствора консерванта. Форсунки для подачи раствора консерванта смонтированы в защитных кожухах над верхним основным вальцом и верхним боковым вальцом для подачи консерванта на их вращающиеся рабочие поверхности и образования равномерной по ширине вальцов пленки раствора консерванта. Использование изобретения позволит повысить качество зернового материала, используемого для кормления животных. 2 н.п. ф-лы, 2 ил.
Изобретение относится к сельскохозяйственному производству и может быть использовано при производстве концентрированных кормов для животноводства.
Известен способ консервирования влажного зернового материала в камерном смесителе [1], который заключается в следующем. Влажный зерновой материал загрузочным шнеком подается в камеру смешивания с установленным в ней дисковым устройством распрыскивания консерванта и устройством для разреживания зерна, смешивается с консервантом и выгрузным шнеком выводится наружу. Недостатком способа является сложность устройства для консервирования влажного зернового материала, а также недостаточно высокая равномерность внесения консерванта.
Известен способ двухступенчатого плющения и консервирования влажного зернового материала [2], включающий плющение влажного зерна вальцами, внесение консерванта через форсунку, смонтированную за нижним очищающим ножом, в смесительной камере, образованной направляющей пластиной и нижним очищающим ножом. Способ применен в устройстве для двухступенчатого плющения и консервирования зерна – вальцовом станке [4]. Сущность способа заключается в следующем. Зерновой материал, например, влажный, подается на первую ступень плющения и на вторую ступень плющения. После второй ступени плющеное зерно попадает в смесительную камеру, в которой плющеные зерна при падении контактируют (смешиваются) с каплями раствора консерванта, вылетевшими из форсунки, и выводятся наружу как конечный продукт – плющеное консервированное зерно. Рассматриваемый способ плющения и внесения консерванта в плющеное зерно по технологической и технической сущности является наиболее близким к предлагаемому изобретению и принимаются за прототип. Недостатками способа является следующее: процент консерванта, попавшего на частицы зерна, составляет от общего количества 81 83%, что определяет неравномерность его внесения; большая неравномерность распределения консерванта по зерну вследствие неравномерности факела консерванта, создаваемого форсункой, по ширине; применение данного способа обеспечивает одностороннюю обработку частиц плющеного зернового материала консервантом, что снижает качество готового продукта.
Известен вальцовый станок Murska 700 S2 для плющения и консервирования зернового материала, состоящий из рамы, питательного бункера с вращающимся встряхивателем, устройством улавливания магнитных примесей и регулировочной заслонкой, двух рифленых вальцов с очищающими ножами, вращающихся во встречных направлениях и образующих зону плющения и регулируемый зазор между ними, шнек и элеватор для выгрузки готового продукта. В шнеке выгрузки готового продукта установлена форсунка для введения консерванта в плющеное зерно [3]. Недостатком данного вальцового станка является то, что форсунка, установленная в шнеке вывода готового продукта, подвержена забиванию пылевидными частицами, витающими в камере смешивания, что приводит к срыву факела распыляемого консерванта, а также то, что консервант попадает на толстый слой зернового материала, поэтому для качественного перемешивания зерна и консерванта требуется установка дополнительного устройства.
Известен вальцовый станок, включающий привод и кинематически связанные с ним вальцы, выполненные с возможностью смещения относительно друг друга в вертикальном и горизонтальном направлениях и установленные с регулируемыми зазорами, питательный бункер с выгрузным окном, регулировочной заслонкой и питающим вальцом с канавками, очищающие ножи, смонтированные под вальцами, за очищающим ножом верхнего основного вальца смонтирована направляющая пластина с форсунками. Привод вальцов осуществляется от электродвигателя [4]. Рассматриваемый вальцовый станок по своей технической сущности является наиболее близким к предлагаемому и поэтому принимается за прототип. Недостатком вальцового станка можно считать то, что примененное в нем устройство для внесения консерванта обеспечивает одностороннюю обработку частиц плющеного зернового материала консервантом, снижающую качество готового продукта, а также то, что консервантом обрабатывается поверхность плющеных зерен, что увеличивает время ферментативных процессов, протекающих в консервированном зерновом материале.
Задачей изобретения является: получение более качественного концентрированного корма для животных – плющеного консервированного зерна за счет конструктивного исполнения вальцового станка (плющилки зерна), обеспечивающего одновременное протекание процесса плющения и процесса консервирования зернового материала, что приводит к повышению равномерности внесения и распределения консерванта, обеспечивающих длительную сохранность влажного плющеного зерна, и снижению времени ферментативных процессов, протекающих в плющеном консервированном зерне.
Поставленная задача решается за счет предложенного способа подготовки влажного зернового материала к скармливанию и устройства для его осуществления – вальцового станка (плющилки зерна).
Способ подготовки влажного зернового материала к скармливанию включает двухступенчатое плющение и консервирование влажного зернового материала, при этом процесс плющения и процесс консервирования влажного зернового материала протекают одновременно в межвальцовом зазоре первой ступени плющения.
Устройством для осуществления вышеуказанного способа являются вальцовый станок (плющилка зерна) для подготовки влажного зернового материала к скармливанию.
Вальцовый станок для подготовки влажного зернового материала к скармливанию, включающий привод и кинематически связанные с ним верхний основной, верхний боковой и нижний вальцы, питательный бункер с регулировочной заслонкой, установленный над верхним основным вальцом и снабженный криволинейной направляющей пластиной, очищающие ножи, смонтированные под вальцами, питающий валец, установленный в питательном бункере, направляющая пластина, смонтированная за очищающим ножом верхнего основного вальца, форсунки для подачи раствора консерванта, отличающийся тем, что форсунки для подачи раствора консерванта смонтированы в защитных кожухах над верхним основным вальцом и верхним боковым вальцом для подачи консерванта на их вращающиеся рабочие поверхности и образования равномерной по ширине вальцов пленки раствора консерванта.
Предложенный способ и устройство для его осуществления – вальцовый станок – решают поставленные перед ним задачи: получение более качественного концентрированного корма для животных – плющеного консервированного зерна – за счет конструктивного исполнения плющилки зерна, обеспечивающей одновременное протекание процесса плющения и процесса консервирования зернового материала, что приводит к повышению равномерности внесения и распределения консерванта, обеспечивающих длительную сохранность влажного плющеного зерна, и снижению времени ферментативных процессов, протекающих в плющеном консервированном зерне.
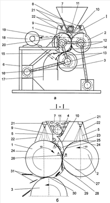
На чертежах приведена конструктивно-технологическая схема разработанного вальцового станка (вид а) и способа подготовки влажного зернового материала к скармливанию, включающего двухступенчатое плющение и консервирование влажного зернового материала в межвальцовом зазоре первой ступени плющения (вид б).
Способ подготовки влажного зернового материала к скармливанию включает в себя плющение первой ступени зернового материала верхним основным 1 и верхним боковым 2 вальцами, плющение второй ступени верхним основным 1 и нижним 3 вальцами, а обработка зернового материала 4 раствором консерванта 5 производится в межвальцовом зазоре 26 при плющении первой ступени верхним основным 1 и верхним боковым 2 вальцами.
Вальцовый станок для подготовки влажного зернового материала к скармливанию состоит из рамы 6, питательного бункера 7 с регулировочной заслонкой 8 и загрузочным окном 9, криволинейной направляющей пластины 10, питающего вальца 11, верхнего основного 1, верхнего бокового 2 и нижнего 3 вальцов. Верхний основной валец 1 установлен на неподвижных опорах, верхний боковой 2 и нижний 3 вальцы установлены на регулировочных механизмах положения вальцов 12 и 13. Очищающие ножи 14, 15, 16 установлены у верхнего основного 1, верхнего бокового 2 и нижнего 3 вальцов. За очищающим ножом 15 установлена направляющая пластина 17. Привод верхнего основного 1, верхнего бокового 2 и нижнего 3 вальцов осуществляется от электродвигателя 18 через цепную передачу 19, питающего вальца 11 – через цепную передачу 20 от верхнего основного вальца 1. Форсунки 21 для подачи раствора консерванта смонтированы в защитных кожухах 22 над верхним основным вальцом 1 и верхним боковым вальцом 2.
Способ подготовки влажного зернового материала к скармливанию и устройство для его осуществления включают в себя следующее.
Подлежащий измельчению зерновой материал, например влажный, поступает в питательный бункер 7 вальцового станка, откуда питающим вальцом 11 через загрузочное окно 9 при помощи направляющей пластины 10 однослойно подается в зону плющения 23. На циллиндрические вращающиеся поверхности 24 вращающихся верхнего основного 1 и верхнего бокового 2 вальцов плющилки зерна через форсунки 21, смонтированные в защитных кожухах 22 над вышеуказанными вальцами, подается раствор консерванта 5 в количестве, соответствующем норме внесения консерванта в плющеное зерно, и образует на них равномерную по ширине пленку раствора консерванта 25. Каждая из частиц (зерен) подлежащего измельчению зернового материала 4, поступившего однослойно в зону плющения 23, контактирует с рабочей поверхностью 24 верхнего основного вальца 1 и пленкой консерванта 25 (пятно контакта А), а затем с рабочей поверхностью 24 верхнего бокового вальца 2 и пленкой консерванта 25 (пятно контакта В). Далее со скоростью, равной окружной скорости верхнего основного 1 и верхнего бокового 2 вальцов, частицы подлежащего измельчению зернового материала 4 (или зерновой материал) направляются в межвальцовый зазор 26 между верхним основным 1 и верхним боковым 2 вальцами. Попадая в межвальцовый зазор 26, зерновой материал подвергается предварительному измельчению – плющению верхним основным 1 и верхним боковым 2 вальцами, при этом площади пятен контактов А и В увеличиваются, в конечном итоге пятна контакта занимают всю площадь поверхностей вальцов в межвальцовом зазоре 26. Находящаяся на вальцах пленка раствора консерванта 25 смачивает боковые поверхности зерен 27 измельчаемого зернового материала (пятна контакта А и В), часть консерванта вдавливается вальцами внутрь зерен 27 через поры и трещины, образующиеся на оболочках зерен в процессе плющения, а оставшийся на поверхности зерен консервант выдавливается рабочими поверхностями 24 верхнего основного 1 и верхнего бокового 2 вальцов за пределы контактируемых поверхностей и обволакивает (смачивает) торцевые поверхности зерен 27 измельчаемого зернового материала. Таким образом, из межвальцового зазора первой ступени плющения выходит предварительно измельченный зерновой материал 28, поверхности (оболочки) каждого из зерен которого обработаны раствором консерванта, – решена задача по равномерности внесения и распределения консерванта. Зерна предварительно измельченного зернового материала 28 ведут себя как упругое тело – частично восстанавливают свой объем при сокращении наружной поверхности (оболочки), при этом консервант, находящийся на поверхности зерен, будет частично втягиваться внутрь зерен, т.е. происходит объемное насыщение зерна 28 раствором консерванта, что приводит, по сравнению с поверхностной обработкой, к повышению скорости (или сокращению времени) протекания ферментативных процессов во влажном зерне после обработки его консервантом. Затем предварительно измельченный обработанный консервантом зерновой материал 29 вращением нижнего вальца 3 подается в межвальцовый зазор 30, образованный рабочими поверхностями верхнего основного 1 и нижнего 3 вальцов, для окончательного измельчения (плющения) и, после его прохождения, выводится за пределы вальцового станка и забирается на хранение как готовый продукт – плющеное консервированное зерно 31.
Использование предлагаемого способа и вальцового станка для его осуществления, по сравнению с прототипами, позволяет получать более качественный концентрированный корм для животных – плющеное консервированное зерно – за счет конструктивного исполнения плющилки зерна, обеспечивающей одновременное протекание процесса плющения и процесса консервирования зернового материала, что приводит к повышению равномерности внесения и распределения консерванта, обеспечивающих длительную сохранность влажного плющеного зерна, и снижению времени ферментативных процессов, протекающих в плющеном консервированном зерне
Источники информации
1. Консервирование влажного зерна / Н.Киров, О.Божинова, Л.Недялков: Пер. с болг. Е.С.Сигаева; Под ред. и с предисл. В.И.Анискина. – М.: Колос, 1982. – С.98-99.
3. Руководство по эксплуатации: Aimo Kortteen Konepaya Oy. PL 161 (Pohjolantie 2), FIN-84101 YLIVIESKA, 04.08.2003.
4. Патент на полезную модель 48817, МПК 7 В02С 4/00. Вальцовый станок /В.А.Сысуев, П.А.Савиных и др. Бюл. 31. – 2005. – 6 с.
Формула изобретения
1. Способ подготовки влажного зернового материала к скармливанию, включающий двухступенчатое плющение и консервирование влажного зернового материала, отличающийся тем, что процесс плющения и процесс консервирования влажного зернового материала протекают одновременно в межвальцовом зазоре первой ступени плющения.
2. Вальцовый станок для подготовки влажного зернового материала к скармливанию по п.1, включающий привод и кинематически связанные с ним верхний основной, верхний боковой и нижний вальцы, питательный бункер с регулировочной заслонкой, установленный над верхним основным вальцом и снабженный криволинейной направляющей пластиной, очищающие ножи, смонтированные под вальцами, питающий валец, установленный в питательном бункере, направляющая пластина, смонтированная за очищающим ножом верхнего основного вальца, форсунки для подачи раствора консерванта, отличающийся тем, что форсунки для подачи раствора консерванта смонтированы в защитных кожухах над верхним основным вальцом и верхним боковым вальцом для подачи консерванта на их вращающиеся рабочие поверхности и образования равномерной по ширине вальцов пленки раствора консерванта.
РИСУНКИ
|
|