|
|
(21), (22) Заявка: 2006120471/09, 10.11.2004
(24) Дата начала отсчета срока действия патента:
10.11.2004
(30) Конвенционный приоритет:
11.11.2003 US 60/519,195
(43) Дата публикации заявки: 27.12.2007
(46) Опубликовано: 20.10.2009
(56) Список документов, цитированных в отчете о поиске:
US 6415034 B1, 02.07.2002.. RU 2109408 С1, 20.04.1998. US 6357292 B1, 19.03.2002. US 6480610 B1, 12.11.2002. US 4695823, 22.08.1987.
(85) Дата перевода заявки PCT на национальную фазу:
13.06.2006
(86) Заявка PCT:
US 2004/037409 20041110
(87) Публикация PCT:
WO 2005/048572 20050526
Адрес для переписки:
129090, Москва, ул. Б.Спасская, 25, стр.3, ООО “Юридическая фирма Городисский и Партнеры”, пат.пов. Ю.Д.Кузнецову, рег. 595
|
(72) Автор(ы):
МАСУДА Масахиса (US), КУМЕ Ясухиро (JP)
(73) Патентообладатель(и):
МАТЕК, ИНК. (US)
|
(54) УСТРОЙСТВО ДВУХСТОРОННЕЙ СВЯЗИ, СОДЕРЖАЩЕЕ ОДИН ТРАНСДЮСЕР
(57) Реферат:
Изобретение относится к устройству двусторонней связи, которое использует колебания мембраны барабанной перепонки, вызванные голосом пользователя. Достигаемый технический результат – осуществление эхоподавления при двусторонней связи при использовании одного трансдюсера как для приема, так и для передачи голоса. Устройство двусторонней связи содержит аналоговый сигнальный процессор, содержащий трансдюсер, предназначенный для приема сигнала приема и вывода сигнала передачи, цифровой сигнальный процессор для измерения рабочих характеристик аналогового сигнального процессора и использования измеренных рабочих характеристик для отфильтровывания эхо-сигнала приема из сигнала передачи, при этом цифровой сигнальный процессор содержит вычислитель коэффициента фильтра, который формирует коэффициенты фильтра, моделирующие измеренные рабочие характеристики аналогового сигнального процессора. 6 н. и 37 з.п. ф-лы, 10 ил.
ОБЛАСТЬ ТЕХНИКИ
Настоящее изобретение относится к устройству двусторонней связи, которое использует колебания мембраны барабанной перепонки, вызванные голосом пользователя, а более точно, к устройству двусторонней связи, которое использует один трансдюсер (преобразователь) как для приема, так и для передачи голоса. Устройство связи также служит в качестве высокоуровневого эхоподавителя (EC) и в качестве высокоуровневого управляемого голосом обменника (VOX).
ПРЕДШЕСТВУЮЩИЙ УРОВЕНЬ ТЕХНИКИ
Широко известное устройство, используемое для двусторонней голосовой связи, включает в себя микрофон и наушник. Микрофон и наушник объединены в виде гарнитуры, обеспечивающей работу «со свободными руками» для пользователя. Одна из проблем с этими гарнитурами состоит в том, что микрофон также улавливает акустический шум окружающей среды вокруг пользователя.
В качестве альтернативы, голос пользователя улавливается не у рта, а через костную звукопроводимость в ушном канале пользователя. Это обеспечивает работу «со свободным ртом» для пользователя, то есть пользователь может сохранять свободной внешнюю область у рта. Голосовые сигналы, принятые благодаря костной звукопроводимости, до некоторой степени гасят внешние шумы, однако, качество звука голосовых сигналов, детектированных посредством костной звукопроводимости, обычно имеет плохое качество звука.
Были предложены несколько гарнитур, которые используют два трансдюсера. Первый трансдюсер используется в качестве микрофона, а второй трансдюсер используется в качестве наушника. Два трансдюсера вставлены в правое и левое уши пользователя. Микрофонный трансдюсер детектирует голос пользователя посредством колебаний от мембраны в барабанных перепонках пользователя. В этой системе двух трансдюсеров шумы окружающей среды вокруг пользователя естественным образом ослабляются, и только микрофон обеспечивает лучшее качество звука.
Также было предложено использование гарнитур с одним трансдюсером. Идея состоит в том, чтобы использовать один элемент трансдюсера как для передачи, так и для приема голоса. В этом способе необходима только одна ушная вставка. Так как другое ухо пользователя не требует наушника, пользователь также может слышать звуки и голоса вокруг.
Для этих устройств является важным иметь функцию эхоподавления (EC). Эхоподавление предотвращает сигналы приема от наложения на голосовые сигналы передачи. В некоторых случаях гарнитура также включает в себя управляемый голосом обменник (VOX). VOX осуществляет переключение между режимами передачи и приема голоса согласно присутствию или отсутствию сигналов передачи и/или приема.
В публикации 2001-60895 заявки на выдачу патента Японии раскрыта схема приема и передачи, которая использует полностью аналоговые схемы, оснащенные эхоподавлением и управляемым голосом обменником. Мостовая схема объединяет усилитель и компаратор с одним встроенным трансдюсером.
Однако дорого и трудно достичь надежного и достаточного качества функционирования EC и VOX с этими типами аналоговых схем. Вследствие этих трудностей вышеупомянутые схемы приема и передачи с одним трансдюсером до сих пор не вошли в практическое употребление.
При проектировании схемы EC необходимо моделировать реальные характеристики полного сопротивления трансдюсера, т.е. должны быть смоделированы характеристики трансдюсера, который вставляется во внешний ушной канал конкретного пользователя, чтобы сбалансировать схему EC с реальным трансдюсером. Однако полное сопротивление трудно модулировать из-за индуктивных свойств трансдюсера. Более того, реальное полное сопротивление трансдюсера изменяется со временем, а также изменяется согласно отдельному пользователю и согласно окружающей среде.
Обычная схема аналогового моделирования состоит из конденсаторов (С) и резисторов (R). Аналоговая схема может быть приближенно сбалансирована на одной определенной частоте посредством подстройки двух переменных элементов. Невозможно достичь баланса по всему частотному диапазону. Теоретически, можно и возможно достичь баланса по всему частотному диапазону, если в схему аналогового моделирования включен индуктивный элемент. Однако использование индуктивного элемента является громоздким и дорогостоящим. Также очень трудно настроить индуктивный элемент, чтобы согласовать с изменяющимися характеристиками трансдюсера. Это делает использование индуктивных схем для гарнитурных применений непрактичным.
В случае полудуплексной двусторонней связи, VOX имеет важное значение. VOX отслеживает прием и передачу голосовых сигналов, к тому же должен определять за менее чем несколько миллисекунд, следует ли выбрать режим передачи или режим приема.
Во время речевого общения, принятые и переданные голосовые сигналы непрерывно изменяются по амплитуде, а иногда также периодически отключаются. Поэтому, необходимо непрерывно накапливать и обрабатывать голосовую информацию вплоть до момента времени, когда делается определение, следует ли переключиться в режим приема или режим передачи. Последовательность операций определения является сложной, особенно при использовании аналоговой схемы.
СУЩНОСТЬ ИЗОБРЕТЕНИЯ
Варианты осуществления настоящего изобретения касаются устранения указанных недостатков известных устройств.
Для решения поставленной задачи, согласно изобретению, предложено устройство двусторонней связи, которое обладает улучшенным качеством функционирования EC и/или VOX. В одном из вариантов осуществления устройство двусторонней связи содержит один элемент трансдюсера, устройство микропроцессора (MPU), цифровую схему, такую как цифровой сигнальный процессор (DSP), комбинированную с аналоговой схемой.
Согласно другому варианту осуществления предложено небольшое экономичное устройство двусторонней связи, содержащее один трансдюсер. Устройство ясно передает голос пользователя без передачи внешних шумов окружающей среды непосредственно вокруг пользователя. Пользователь может слышать голоса и звуки вокруг него в дополнение к голосу другой стороны, поддерживаемой на связи устройством связи.
Даже когда сигналы приема и сигналы передачи накладываются в трансдюсере, изобретение обеспечивает функцию превосходного эхоподавления, по существу, предотвращая сигнал приема от просачивания в сигнал передачи (эхо) по всему голосовому частотному диапазону.
Более того, в случае полудуплексной связи, варианты осуществления изобретения обладают улучшенной работой VOX, которая естественно осуществляет переключение между режимами передачи и приема, не вызывая неестественных перерывов или отключения при речевом общении.
КРАТКОЕ ОПИСАНИЕ ЧЕРТЕЖЕЙ
Варианты осуществления изобретения будут более легко поняты из нижеследующего описания вариантов воплощения со ссылками на сопровождающие чертежи, на которых:
Фиг.1 изображает структурную схему полнодуплексного устройства двусторонней связи, согласно изобретению;
Фиг.2 – структурную схему полнодуплексного устройства двусторонней связи согласно другому варианту осуществления изобретения;
Фиг.3 – структурную схему полудуплексного устройства двусторонней связи, согласно еще одному варианту осуществления изобретения;
Фиг.4 – структурную схему полудуплексного устройства двусторонней связи, согласно еще одному варианту осуществления изобретения;
Фиг.5 – структурную схему полудуплексного устройства двусторонней связи, согласно другому варианту осуществления изобретения;
Фиг.6 – структурную схему полудуплексного устройства двусторонней связи, согласно еще одному варианту осуществления изобретения;
Фиг.7 – структурную схему полудуплексного устройства двусторонней связи, согласно еще одному варианту осуществления изобретения;
Фиг.8 – структурную схему полудуплексного устройства двусторонней связи, согласно еще одному варианту осуществления изобретения;
Фиг.9(а) – диаграмму кривых переходного процесса коэффициента передачи для аттенюатора в VOX полудуплексного устройства двусторонней связи, согласно изобретению;
Фиг.9(b) – таблицу реальных результатов испытаний чувствительности с использованием кривых переходных процессов коэффициентов передачи, согласно изобретению;
Фиг.10А-10С – общий вид ушной вставки, которая может быть использована с любым из описанных устройств двусторонней связи, ее размещение в ухе пользователя и продольный разрез, согласно изобретению.
ОПРЕДЕЛЕНИЯ
MPU – устройство микропроцессора
EC – эхоподавитель
VOX – управляемый голосом обменник
AGC – автоматический регулятор усиления
L – пьезоэлектрический трансдюсер
R1, R2, R3, R4 – резисторы (также указывающие значение сопротивления)
R – переменный резистор со средним выводом «t»
C1, C2 – конденсаторы (также указывающие значение емкости)
AMP1, AMP2, AMP3 – усилители
D/A1, DA2, D/A3 -цифроаналоговый (D/A) преобразователь
A/D1,A/D2 – аналого-цифровой (A/D) преобразователь
BUF1, BUF2 – буферы
ADD – сумматор
FIL, FIL1, FIL2 – фильтры
k – вычислитель
k1 – вычислитель
k2 – вычислитель – вычислители для параметров k, k1, k2 фильтра
SW1-SW5, SW – переключатель
ATT1, ATT2 – аттенюаторы
ATT3, ATT4 – аналоговые аттенюаторы
LPF1, FPF2 – фильтры нижних частот
Rx – клемма приема (также, сигнал приема)
Tx – клемма передачи (также, сигнал передачи)
ПОДРОБНОЕ ОПИСАНИЕ ПРЕДПОЧТИТЕЛЬНЫХ ВАРИАНТОВ ВЫПОЛНЕНИЯ ИЗОБРЕТЕНИЯ
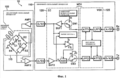
На фиг.1 представлена структурная схема полнодуплексного устройства 10 двусторонней связи согласно одному из вариантов осуществления изобретения. Устройство 10 содержит аналоговый сигнальный процессор (ASP) 105 с пьезоэлектрическим трансдюсером (или катушкой L) и цифровой сигнальный процессор (DSP) 110. DSP 110 содержит первый цифроаналоговый (D/A) преобразователь D/A1, первый аналого-цифровой (A/D) преобразователь A/D1, второй A/D-преобразователь A/D2, MPU и второй D/A-преобразователь D/A2. MPU может быть воплощен одним DSP и/или CPU или множеством DSP и CPU.
Для удобства во всем описании аналого-цифровые преобразователи в различных вариантах осуществления указаны просто как преобразователь A/D1, преобразователь A/D2, и т. д., где номер, сопровождающий «A/D» показывает различие между преобразователями, используемыми в одном и том же варианте осуществления. Подобным образом, цифроаналоговые преобразователи в различных вариантах осуществления указываются ссылкой как преобразователь D/A1, преобразователь D/A2, и т.д. С использованием этой нотации, видны как тип преобразователя, так и отдельный преобразователь.
Возвращаясь к фиг.1, пьезоэлектрический трансдюсер (L) в ASP 105 вставлен во внешний ушной канал пользователя и преобразует напряжение, соответствующее сигналу Rx приема, в колебания (звуковые волны). Трансдюсер L также преобразует колебания (звуковые волны), принятые из внешнего ушного канала, в электродвижущую силу, соответствующую сигналу Tx передачи. Пьезоэлектрический трансдюсер L электрически эквивалентен индуктивному элементу, поэтому в описании указан как катушка L.
Стрелка от катушки L к внешнему ушному каналу показывает колебания (звуковые волны), соответствующие напряжению, приложенному к катушке L. Другая стрелка в обратном направлении представляет колебания воздуха в мембране барабанной перепонки, вызванные голосом пользователя, которые порождают электродвижущую силу в катушке L.
На клемме приема сигнал Rx приема последовательно обрабатывается посредством преобразователя A/D1, VOX 125, эхо-контроллера (EC) 120 и преобразователя D/A1, а затем передается в ASP 105 в качестве ввода сигнала приема. Сигнал передачи, введенный из ASP 105, последовательно обрабатывается посредством преобразователя A/D2, EC 120, VOX 125 и преобразователя D/A2, а затем выводится в виде клеммы передачи как сигнал Tx передачи.
VOX 125 включает в себя первый и второй аттенюаторы ATT1 и ATT2, а также первый и второй фильтры LPF1 и LPF2 нижних частот и регулятор мощности. Регулятор мощности измеряет мощность сигнала Rx приема и сигнала Tx передачи, чтобы регулировать коэффициенты передачи первого и второго аттенюаторов ATT1 и ATT2. Это необходимо, чтобы разместить выходные сигналы первого и второго аттенюаторов ATT1 и ATT2 в определенном диапазоне значений. VOX 225, 325, 425, 525 и 625, проиллюстрированные на фиг.2, 3, 4, 5 и 6 соответственно, содержат такие же компоненты, как VOX 125, и соответственно, описание этих VOX повторяться не будет.
В альтернативных вариантах осуществления изобретения, VOX 125 может указываться как автоматический регулятор усиления (AGC).
Клеммы приема и передачи соединены друг с другом через пьезоэлектрический трансдюсер L. При нормальной работе порождается так называемый «эхо-сигнал», который содержит некоторые компоненты сигнала Rx приема, наложенного на исходный сигнал Tx передачи. Необходимо подавлять этот эхо-сигнал с использованием технологий эхоподавления. В этом варианте осуществления ASP 105 выполняет первую функцию контроля эхо-сигнала, тогда как эхо-контроллер 120 выполняет вторую функцию контроля эхо-сигнала.
ASP 105 оснащен мостовой схемой 115, которая включает в себя пьезоэлектрический трансдюсер L, резисторы R1, R2, R3 и R4 и конденсаторы C1 и C2. Первое плечо мостовой схемы 115 включает в себя пьезоэлектрический трансдюсер L. Второе и четвертое плечи, которые примыкают к первому плечу, включают в себя второй и четвертый резисторы R2 и R4. Узловая точка подключения между первым и вторыми плечами соединена с общим проводом.
Выходной сигнал преобразователя D/A1 передается в узловую точку подключения между вторым и третьим плечами мостовой схемы 115 в качестве сигнала приема, введенного через первый усилитель AMP1. Разность потенциалов между узловой точкой у первого и второго плеч и узловой точкой у третьего и четвертого плеч прикладывается ко второму усилителю AMP2. Выходной сигнал AMP2 передается в преобразователь A/D2 в качестве вывода сигнала передачи ASP 105.
Первое плечо мостовой схемы 115 содержит пьезоэлектрический трансдюсер L в параллель с последовательным соединением первого резистора R1 и первого конденсатора C1. Третье плечо мостовой схемы 115 расположено напротив первого плеча и включает в себя третий резистор R3 в параллель со вторым конденсатором C2.
Номиналы резисторов R1 и R3 являются переменными и могут регулироваться так, что и фаза и коэффициент передачи уравновешиваются для определенного значения L (то есть, значения L, когда трансдюсер вставлен во внешний ушной канал правого или левого уха пользователя), относительно по меньшей мере одиночной заданной частоты.
Наложение выхода сигнала приема предотвращается подключением дифференциальных входов усилителя AMP2 к противоположным узловым точкам мостовой схемы 115 (эхоподавления). Как результат, только электродвижущая сила на трансдюсере L появляется в качестве дифференциального входного сигнала. Например, 600 Гц может быть выбрано в качестве заданной частоты. С использованием мостовой схемы 115 просачивание сигнала приема (то есть, эхо-сигнала) не обязательно может быть предотвращено относительно всех других звуковых частот по обе стороны выбранной заданной частоты.
Эхо-контроллер
Когда EC 120 осуществляет нормальный режим работы, первый и первый переключатели SW1 и SW2 переключены в позицию «r» переключателя. Во время нормальной работы сигнал приема выводится из EC 120 через первый буфер BUF1, тогда как сигнал передачи выводится из преобразователя A/D2 через второй буфер BUF2. Предусмотрен фильтр FIL для моделирования характеристик передачи из преобразователя D/A1 в буфер BUF2 через ASP 105.
Ввод сигнала приема одновременно передается в преобразователь D/A1 и обрабатывается фильтром FIL. Результирующий выходной сигнал фильтра FIL вычитается из ввода сигнала приема сумматором ADD, а результирующий выходной сигнал передается в VOX 125 в качестве сигнала передачи, выведенного из BUF2 в EC 120.
EC 120 может выполнять моделирование ASP 105 по всему звуковому частотному диапазону. Таким образом, часть ввода сигнала передачи, которая обусловлена просачиванием сигнала приема (эхо-сигнала), равна выходному сигналу фильтра FIL. Это значит, что выходной сигнал из сумматора ADD не содержит в себе никаких компонентов сигнала приема, обеспечивая улучшенное эхоподавление.
В EC 120 параметр k для фильтра FIL автоматически задается предварительно установленной программой (не показана). Максимальное значение k равно количеству отводов фильтра, например, 256. Параметр k также немедленно задается, как только пьезоэлектрический трансдюсер L вставляется в объект, т.е. внешний ушной канал. В качестве альтернативы, параметр k задается периодически, когда трансдюсер L вставлен во внешний ушной канал. В еще одном варианте осуществления, параметр k задается каждый раз, когда формируется сигнал приема и/или сигнал передачи.
Электрические характеристики трансдюсера L, когда рассматриваются с точки зрения устройства двусторонней связи, незначительно отличаются и изменяются в зависимости от структуры и окружающей среды конкретного внешнего ушного канала. Другими словами, электрические характеристики могут изменяться в зависимости от температуры и уровня влажности во внешнем ушном канале во время связи.
Во время операции измерения (испытания) EC 120, когда должны быть заданы параметры k фильтра FIL, переключатели SW1 и SW2 переключены на клемму «m», а генератор испытательных сигналов формирует испытательный сигнал. Испытательным сигналом является цифровой сигнал, который может представлять в каждом импульсе любой из следующих звуковых сигналов: реальный голос, производимый во время речевого общения, собственный голос, звуковой сигнал приема, музыкальный звуковой сигнал, диффузионный кодовый сигнал или тональный опорный сигнал.
Таким образом, взамен сигнала приема из VOX 125 в преобразователь D/A1 через буфер BUF1 передается испытательный сигнал, сформированный генератором испытательных сигналов. Результирующий выход преобразователя A/D2 и испытательный сигнал прикладываются, соответственно, через буферы BUF1 и BUF2 к вычислителю k. Вычислитель k затем формирует параметры k, используемые в фильтре FIL в соответствии с определенным способом вычисления.
Позиция «m» переключателя SW2 соединена с общим проводом, сигнал передачи, вводимый в VOX 125, также подается на общий провод. Поэтому, никакой выходной сигнал сумматора ADD во время вычисления параметров k не просачивается в качестве шумов в сигнал Tx передачи.
Если выбранным испытательным сигналом, выведенным из генератора испытательных сигналов, является импульс, определенная последовательность операций вычисления обрабатывает весь частотный диапазон одинаково, а вычисление является относительно простым. Однако, если требуются некоторые конкретные частотные характеристики, эхоподавление более высокого качества может быть достигнуто посредством использования другого испытательного сигнала, такого как реальный голосовой сигнал, и проведенной соответствующей последовательности операций вычисления параметра k.
При таких вычислениях необходимо выполнять сложные вычисления, такие как дискретные быстрые преобразования Фурье (FFT), за более короткое время, чем период, соответствующий таковому у максимальной частоты голоса. Изобретение полностью использует достижение технологии, из условия что большинство современных MPU могут выполнять вышеупомянутые вычисления. Потребляемая мощность MPU достаточно низка для того, чтобы полный вариант осуществления изобретения мог быть вмещен в корпус ушной вставки.
VOX 125 принимает на первом фильтре LPF1 нижних частот сигнал приема, который выводится из преобразователя A/D1, и принимает из LPF2 сигнал передачи, который выводится из EC 120. VOX 125 передает сигнал Rx приема в EC и передает сигнал Tx передачи в преобразователь D/A2 через первый и второй аттенюаторы ATT1 и ATT2 соответственно. VOX 125 измеряет мощность сигнала Rx приема и сигнала Tx передачи с использованием регулятора мощности. Регулятор мощности регулирует коэффициент передачи аттенюаторов ATT1 и ATT2 так, что мощность, выведенная из аттенюаторов ATT1 и ATT2, совпадает с определенными значениями мощности.
На Фиг.2 представлена структурная схема полнодуплексного устройства 20 двусторонней связи согласно еще одному варианту осуществления изобретения. В последующем обсуждении, будут описаны те части на фиг.2, которые отличаются от фиг.1. Другими словами, особое ударение будет сделано на ASP 205 и EC 220 (фиг.2), так как они отличаются от ASP 105 и EC 120 (фиг.1).
В ASP 205 выходной сигнал преобразователя D/A1 передается на один конец резистора R1 в качестве сигнала приема, введенного через усилитель AMP1. Один конец пьезоэлектрического трансдюсера L подключен к другому концу резистора R1, тогда как другой конец пьезоэлектрического трансдюсера L соединен с общим проводом.
Узловая точка соединения пьезоэлектрического трансдюсера L и резистора R1 подключена к концу положительного (+) дифференциального входа второго усилителя AMP2, тогда как выход третьего преобразователя D/A3 подключен через третий усилитель AMP3 и цепь нагрузки к концу отрицательного (-) входа усилителя AMP2. Выходной сигнал усилителя AMP2 передается в преобразователь A/D2 в качестве вывода сигнала передачи ASP 205.
Цепь нагрузки ASP 205 включает в себя последовательную цепь резисторов R2 и R3. Один конец резистора R2 подключен к выходу усилителя AMP3, один конец резистора R3 соединен с общим проводом, а узловая точка соединения резисторов R2 и R3 подключена к концу отрицательного (-) входа усилителя AMP2. Предпочтительно, значения сопротивления резисторов задаются так, что R2 равен R1, а R3 равен полному характеристическому сопротивлению пьезоэлектрического трансдюсера L. Например, R3 = 2 · f0 · L, где f0 = 600 Гц; L – индуктивность в Генри.
ЕС 220 включает в себя с первого по пятый переключатели SW1-SW5, все из переключателей подключены в позиции «r» при нормальной работе ЕС 220, например, когда схема используется для приема и передачи звуковых сигналов.
EC 220 дополнительно включает в себя первый и второй фильтры FIL1 и FIL2. EC 220 принимает сигнал приема, который является выходным сигналом из аттенюатора ATT1, в VOX 225. Сигнал приема последовательно буферизируется буфером BUF1 и передается в преобразователь D/A1. EC 220 также передает буферизированный сигнал приема в преобразователь D/A3 через второй фильтр FIL2 и в сумматор ADD через первый фильтр FIL1.
На втором буфере BUF2 EC 220 принимает сигнал передачи, который выводится из преобразователя A/D2. Выходной сигнал первого фильтра FIL1 вычитается из буферизированного сигнала передачи в сумматоре ADD, а разностный сигнал выводится из VOX 225 в качестве сигнала передачи, выводимого из EC 220.
Второй фильтр FIL2 настроен так, что характеристики передачи от узловой точки выхода буфера BUF1 через фильтр FIL2, преобразователь D/A3, усилитель AMP3, цепь нагрузки (резисторы R2 и R3), усилитель AMP2 (через конец отрицательного (-) входа) и преобразователь A/D2 до узловой точки выхода буфера BUF2 моделируют характеристики передачи от узловой точки выхода буфера BUF1 через преобразователь D/A1, усилитель AMP1, резистор R1, усилитель AMP2 (через один (+) из входов) и преобразователь A/D2 до узловой точки выхода буфера BUF2.
Первый фильтр FIL1 настроен таким образом, чтобы моделировать характеристики передачи от узловой точки выхода первого буфера BUF1 до второго буфера BUF2 посредством: (i) ASP 205 по двум трактам, один из которых начинается на преобразователе D/A1, тогда как другой тракт начинается на втором фильтре FIL2 и преобразователе D/A3; (ii) дифференциального усилителя AMP2, на котором два тракта соединяются; и (iii) преобразователя A/D2.
В случае операции измерения (испытания) EC 220, когда настраиваются параметры первого и второго фильтров, операция выполняется в три последовательных этапа, изображенных с помощью переключателей с SW1 по SW5, в виде первого, второго и третьего этапов m1, m2 и m3 соответственно. Во время этой операции, переключатели сначала переключаются на клемму m1, затем, на клемму m2 и, в завершение, на клемму m3.
Например, переключатель SW1 остается переключенным на одну и ту же клемму в течение первого, второго и третьего этапов. С другой стороны, переключатель SW4 начинает с клеммы m1 для первого этапа, переключается на клемму m2 для второго этапа и, в заключение, на клемму m3 для третьего этапа. В любом случае, во время операции измерения с помощью EC 220, испытательный сигнал из генератора испытательного сигнала подается в буфер BUF1 взамен сигнала приема из VOX 225. Эти этапы будут описаны ниже более подробно.
На первом этапе испытательный сигнал, выведенный из генератора испытательных сигналов, передается в ASP 205 через буфер BUF1 и преобразователь D/A1, посредством чего вход преобразователя D/A3 присоединяется к общему проводу через SW4 (вводится нулевое значение). Результирующий выходной сигнал буфера BUF2 сохраняется в качестве сигнала 1.
На втором этапе такой же испытательный сигнал передается в ASP 205 через сигнальный тракт, представленный буфером BUF1 и преобразователем D/A3, посредством чего вход преобразователя D/A1 присоединяется к общему проводу через SW3 (вводится нулевое значение), и результирующий сигнал буфера BUF2 сохраняется в качестве сигнала 2.
Сигнал 1, сигнал 2 и испытательный сигнал затем обрабатываются в определенной последовательности операций вычисления вычислителем k2. Эта операция настраивает параметры k2 второго фильтра FIL2.
На третьем этапе испытательный сигнал передается в ASP 205 через сигнальный тракт, представленный буфером BUF1 и преобразователем D/A1. Испытательный сигнал также передается в ASP 205 через сигнальный тракт, представленный буфером BUF1, фильтром FIL2 и преобразователем DA/3. Результирующий выходной сигнал буфера BUF2 и испытательный сигнал затем обрабатываются с помощью другой определенной последовательности операций вычисления вычислителем k1. Эта операция настраивает параметры k1 первого фильтра FIL1.
Второй фильтр FIL2, который настроен на первом и втором этапах, моделирует случай, когда входное напряжение усилителя AMP2 имеет большую амплитуду, тогда как первый фильтр FIL1, который настроен на третьем этапе, моделирует случай, когда входное напряжение усилителя AMP2 имеет малую амплитуду.
В этом варианте осуществления, так как EC 220 использует предварительно установленную программу для выполнения всех регулировок, требуемых для эхоподавления, ASP 205 нет необходимости содержать мостовую схему, и, таким образом, аппаратные средства могут быть сконструированы и изготовлены просто, без регулировки, а размер аппаратных средств может быть легко минимизирован, все это дает большие преимущества.
С использованием последовательностей операций, описанных выше, EC 220 может автоматически настраивать фильтры FIL1 и FIL2 непосредственно после того, как пьезоэлектрический трансдюсер вставляется во внешний ушной канал пользователя. EC 220 также может периодически настраивать фильтры FIL1 и FIL2, в то время, когда трансдюсер вставлен в ушной канал. В качестве альтернативы, фильтры FIL1 и FIL2 могут настраиваться каждый раз, когда появляется сигнал приема и/или сигнал передачи. Таким образом, изменения акустических характеристик, в том числе вызванных структурными различиями между внешними ушными каналами разных пользователей, отражаются при настройке фильтров FIL1 и FIL2.
На фиг.3 представлена структурная схема полудуплексного устройства 30 двусторонней связи согласно еще одному варианту осуществления изобретения. DSP 310 имеет другую структуру, нежели DSP 110 на фиг.1. MPU содержит только VOX 325, который используется для полудуплексной связи. Функция эхоподавления отсутствует. Однако ASP 305 эквивалентен ASP 105 на фиг.1.
В этом варианте осуществления ASP 305 выполняет функцию эхоподавления, а VOX 325 осуществляет переключение между режимами передачи и приема. Обычно невозможно достичь идентичных уровней эхоподавления, таких как производимые EC 120 на фиг.1 и EC 220 на фиг.2, и незначительная величина эхо-сигнала может оставаться. В этом варианте осуществления VOX 325 уменьшает коэффициент передачи аттенюаторов ATT2 или ATT1 во время приема или передачи. Таким образом, для практических целей эхо-сигнал может быть подавлен почти полностью.
Сокращенные операции MPU означают, что может быть использован менее сложный и менее дорогой вычислительный узел, обеспечивая более экономичное производство. В качестве альтернативы, когда используется эквивалентный MPU, избыточная производительность обработки может быть использована для улучшения качества функционирования VOX 325.
VOX 325 принимает и отслеживает сигналы приема с клеммы Rx приема через преобразователь A/D1 и принимает и отслеживает сигналы передачи через преобразователь A/D2. VOX 325 определяет присутствие сигнала приема и/или сигнала передачи и решает, следует ли переключить режим работы либо в режим приема (режим наушника), либо в режим передачи (режим микрофона). Затем с использованием определенной процедуры VOX 325 обрабатывает и передает сигнал приема в преобразователь D/A1 (в следующий каскад), наряду с обработкой и передачей сигнала передачи через преобразователь D/A2 на клемму Tx передачи.
Ниже представлены несколько примеров того, каким образом VOX 325 определяет, когда следует осуществлять переключение между режимом наушника и режимом микрофона. Каждый из примеров может быть реализован программой, установленной в цифровом сигнальном процессоре 310.
В первом примере отслеживается только сигнал приема. Режим работы переключается на режим приема, если сигнал приема присутствует, и на режим передачи при отсутствии детектированного сигнала приема.
Во втором примере отслеживается только сигнал передачи. Режим работы переключается в режим передачи, если присутствует сигнал передачи, и поддерживается в режиме приема при отсутствии сигнала передачи.
В еще одном примере отслеживаются оба сигнала, приема и передачи. Устройство переключается в режим приема, только когда присутствует сигнал приема, и переключается в режим передачи, когда присутствует сигнал передачи.
В качестве альтернативы, при наличии обоих сигналов приема и передачи или отсутствии обоих сигналов приема и сигнала передачи, режим работы устанавливается в тот или иной режим на основании статистических характеристик режимов работы, поясненных выше.
Более точно, VOX 325 включает в себя первый и второй фильтры LPF1 и LPF2 нижних частот, первый и второй аттенюаторы ATT1 и ATT2 и регулятор мощности. После того, как сигнал приема и сигнал передачи обрабатываются фильтрами LPF1 и LPF2 нижних частот, любой или оба из сигналов подаются в контроллер мощности. Сигналы из LPF1 и LPF2 подаются, соответственно, на аттенюаторы ATT1 и ATT2, а затем передаются в преобразователи D/A1 и D/A2.
Амплитудное значение(я) любого или обоих сигналов приема и передачи усредняется, например, усредняется по среднеквадратичному или по абсолютному значению в течение определенного временного периода T1 контроллером мощности. Усреднение используется для определения мощности каждого сигнала. Значения мощности затем сравниваются с определенным пороговым значением(ями) мощности. Присутствие или отсутствие сигнала приема и/или сигнала передачи определяется на основании сравнения, и соответственно выбирается следующий режим работы.
Если выбран режим приема, коэффициент передачи аттенюатора ATT1 смещает коэффициент передачи сигнала приема по направлению к 1, а коэффициент передачи аттенюатора ATT2 смещает коэффициент передачи сигнала передачи по направлению к 0. Если выбран режим передачи, коэффициент передачи аттенюатора ATT1 смещает коэффициент передачи сигнала приема по направлению к 0, а коэффициент передачи аттенюатора ATT2 смещает коэффициент передачи сигнала передачи по направлению к 1.
Может быть определен суммарный эффект большого количества решений, произведенных в течение временного периода T1. То есть, когда продолжается режим приема, коэффициент передачи сигнала приема продолжает расти согласно определенной кривой переходного процесса коэффициента передачи. Если принято решение переключиться в режим передачи, коэффициент передачи уменьшается в обратном направлении согласно определенной кривой переходного процесса коэффициента передачи.
Если следующий режим работы выбирается только на основании определения присутствия или отсутствия одного из сигнала(ов) приема и передачи и если определенный временной период Т1 короток, часто будут происходить излишние переключения при каждом мгновенном перерыве во время речевого общения. Наоборот, если интервал T1 слишком продолжителен, режим не переключается между передачей и приемом. Таким образом, окно разрешения (подходящий диапазон значений) для T1 может не быть найдено, даже когда определенные пороговые значения мощности настроены на столько точно, на сколько возможно.
Однако согласно этому варианту осуществления коэффициенты передачи аттенюаторов ATT1 и ATT2 изменяются незначительно при каждом естественном мгновенном перерыве. Таким образом, переключение действует фактически только после того, как одно и то же решение принято по некоторому количеству определений, имея результатом естественное и нормальное переключение.
В некоторых вариантах осуществления формой определенной кривой переходного процесса коэффициента передачи являются дискретные переходы, производимые в виде S-образной ступенчатой функции. Другими словами, изменение коэффициента передачи мало вблизи установившегося значения 0 или 1, в то время как оно велико в среднем диапазоне, придавая ступенчатой функции общую S-образную форму. Примеры кривых переходного процесса коэффициента передачи, которые демонстрируют этот тип S-образной формы, можно видеть в S1 и S2 на фиг.9(а).
На фиг.9 показаны результаты оценочных испытаний качества передаваемого голоса, когда различные виды кривых переходного процесса коэффициента передачи применяются для переключения сигналов передачи и приема при некотором естественном речевом общении. На Фиг.9(а) представлена диаграмма переходного процесса коэффициента передачи для аттенюатора в VOX полудуплексного устройства двусторонней связи согласно вариантам осуществления изобретения. На Фиг.9(b) показаны результаты оценки чувствительности по качеству передаваемого голоса с использованием кривых переходного процесса коэффициента передачи на фиг.9(а), где «А» служит признаком хорошего, «В» – сносного, а «С» – плохого.
Мощность голосового сигнала при естественном речевом общении (определенная как среднее значение квадратичных амплитуд) изменяется в качестве еще одного параметра при оценке. В этом примере определенный временной период T1 для получения среднего значения квадратичных амплитуд установлен в 10 миллисекунд, тогда как определенное пороговое значение мощности установлено в 15 dBm0, где единицы dBm0 показывают мощность в dBm (dB по отношению к одному милливатту), измеренную в точке нулевого уровня передачи.
Согласно оценке, когда используются кривые с L1 по L4 линейно-ступенчатого типа (фиг.9а), качество передаваемого голоса является плохим («С») независимо от размера D (дельты) ступени в от 40 dB до 4 dB. Только когда используются кривые S1 и S2 S-образной ступенчатой формы, возможность хорошего («А») или сносного («В») качества может обеспечиваться вблизи нормального уровня мощности голоса (15 dBm0). Однако, если используется кривая S2 S-образного ступенчатого типа, где переходный процесс от 0 до 1 превышает более чем 300 мс, может оставаться незначительный эхо-сигнал.
На фиг.4 представлена структурная схема полудуплексного устройства 40 двусторонней связи согласно еще одному варианту осуществления изобретения. В этом варианте EC 420 эквивалентен EC 120 на фиг.1. DSP 410 также включает в себя VOX 425, который является таким же, как VOX 325 на фиг.3. Таким образом, может быть получено полудуплексное устройство 40 двусторонней связи с более высоким качеством эхоподавления, чем устройство 30 на фиг.3.
В качестве возможных альтернативных вариантов осуществления, усилитель AMP2 из ASP 105, 305 и 405 на фиг.1, 3 и 4, соответственно, может быть сконфигурирован последовательным соединением дифференциального усилителя, имеющего коэффициент усиления около 1, усилителя, имеющего коэффициент усиления около 600, и фильтра нижних частот, имеющего коэффициент передачи по низкой частоте около 1.
На фиг.5 представлена структурная схема полудуплексного устройства 50 двусторонней связи согласно еще одному варианту осуществления изобретения. В этом варианте осуществления ASP 505 и DSP 510 эквивалентны ASP 205 и DSP 210, показанным в полнодуплексном устройстве 20 двусторонней связи на фиг.2. Таким образом, может быть получено полудуплексное устройство 50 двусторонней связи с еще более высоким качеством эхоподавления, чем устройство 40 на фиг.4.
На фиг.6 представлена структурная схема полудуплексного устройства 60 двусторонней связи согласно еще одному варианту осуществления изобретения. Этот вариант осуществления предусматривает ASP 605, который упрощен по сравнению с ASP 305 на фиг.3.
В этом варианте осуществления ASP 605 включает в себя переменный резистор R, имеющий средний вывод t. Положение среднего вывода t управляется цифровыми сигналами. Один конец пьезоэлектрического трансдюсера L соединен с общим проводом, тогда как другой конец подключен к среднему выводу t.
Один конец переменного резистора R принимает сигналы приема, а именно, выходной сигнал преобразователя D/A1 DSP 610 через первый усилитель AMP1. Другой конец переменного резистора R подключен к преобразователю A/D2 DSP 610 и выводит сигналы приема из ASP 605 через второй усилитель AMP2.
DSP 610 дополнительно включает в себя VOX 625, преобразователь A/D1 и преобразователь D/A2. Преобразователи A/D1 и D/A2 оба эквивалентны таковым, показанным на фиг.3, но регулятор мощности у VOX 625 дополнительно снабжен третьим выходом для управления положением среднего вывода t переменного резистора R.
DSP 610 предусматривает VOX 625, который подобен VOX 325 на фиг.3. Функция эхоподавления обеспечивается изменением положения среднего вывода t с использованием третьего выхода регулятора мощности. Положение среднего вывода t перемещается по направлению к узловой точке выхода первого усилителя AMP 1 в режиме приема и перемещается по направлению к узловой точке входа второго усилителя AMP2 в режиме передачи. Средний вывод t перемещается от одной узловой точки по направлению к другой узловой точке согласно определенной кривой переходного процесса положения вывода для переключения.
Если положение среднего вывода t изменяется из существующего положения в требуемое конечное положение (одного конца или другого конца переменного резистора R), для множественных выборов, сделанных в течение временного интервала, обеспечивается суммарный эффект, подобный случаю коэффициента передачи аттенюаторов ATT1 и ATT2, которые были описаны выше со ссылкой на фиг.3.
То есть, если решение переключаться в режим приема (или передачи) сохраняется, положение среднего вывода t продолжает перемещаться по направлению к одному концу (или другому концу) согласно определенной кривой переходного процесса положения вывода. Если решение изменяется на переключение в противоположный режим передачи (или приема), положение перемещается обратно по направлению к противоположному концу (или первому концу) согласно определенной кривой переходного процесса положения вывода.
Подобно кривым S1 и S2 переходного процесса на фиг.9а, определенные кривые переходного процесса положения вывода также могут быть S-образного ступенчатого типа. То есть, изменение положения вывода за единицу решения мало поблизости от установившегося значения 0 или 1, в то время как оно велико в среднем диапазоне. В качестве альтернативы, определенные кривые переходного процесса положения вывода могут включать в себя кривые линейно-ступенчатого типа, такие как кривые с L1 по L4 на фиг.9а.
При преобразовании кривых переходного процесса на фиг.9а в положение вывода для вывода t на фиг.6 коэффициенты передачи (0 dB, -20 dB, -40 dB, и т. д.) аттенюатора по вертикальной оси должны читаться как координаты положения вывода в соответствующих масштабах. Например, в качестве одного конца, центральной точки и другого конца переменного резистора R.
Во время выбора для того, чтобы переключаться между режимом приема/передачи, чтобы речевое общение происходило естественным образом, наиболее подходящая комбинация из числа кривых должна перениматься для положения вывода, для коэффициента передачи ATT1 и/или для коэффициента передачи ATT2.
На фиг.7 представлена структурная схема полудуплексного устройства 70 двусторонней связи согласно еще одному варианту осуществления изобретения. Этот вариант осуществления предусматривает более простые структуры для замещения как ASP 305, так и D3P 310 на фиг.3. В этом варианте ASP 705 включает в себя переменный резистор R, имеющий средний вывод t. Один конец пьезоэлектрического трансдюсера L соединен с общим проводом, а другой конец подключен к среднему выводу t. Один конец переменного резистора R подключен прямо к клемме Rx передачи через первый усилитель AMP1 и первый аналоговый аттенюатор ATT3. Другой конец переменного резистора R подключен прямо к клемме Tx передачи через второй усилитель AMP2 и второй аналоговый аттенюатор ATT4. Положение среднего вывода t переменного резистора и коэффициенты передачи первого и второго аналоговых аттенюаторов ATT3 и ATT4 могут управляться цифровыми сигналами.
DSP 710 включает в себя преобразователь A/D1 и MPU. MPU содержит VOX 725, который включает в себя фильтр LPF1 нижних частот и регулятор мощности. VOX 725 принимает и отслеживает сигналы приема с клеммы Rx приема через преобразователь A/D1 и фильтр LPF1 нижних частот. VOX 725 определяет присутствие или отсутствие сигнала приема и решает, следует ли переключаться в режим приема (режим телефона) или режим передачи (режим микрофона). VOX 725 затем согласованно управляет коэффициентами передачи первого и второго аналоговых аттенюаторов AT 3 и ATT4, а также положением среднего вывода t.
Регулятор мощности усредняет, например, усредняет по среднеквадратичному значению или усредняет по абсолютному значению, значения амплитуды сигнала приема в течение определенного временного периода (Т1), чтобы определить мощность сигнала. Значения мощности затем сравниваются с пороговым значением, чтобы определить присутствие или отсутствие сигнала приема. VOX выбирает следующий режим работы на основании сравнения.
Если выбран режим приема, коэффициенты передачи аттенюатора ATT3 и аттенюатора ATT4 каждый изменяются по направлению к 1 и по направлению к 0, в то время как положение среднего вывода t изменяется по направлению к одному из концов переменного резистора R. Если выбран режим передачи, вышеупомянутые коэффициенты передачи и положение изменяются противоположным образом.
Подобно устройству 60 на фиг.6, кривые переходных процессов коэффициентов передачи аналоговых аттенюаторов ATT3, ATT4 и положения среднего вывода t отбираются и устанавливаются для поддержания связи и переключения голосов естественным образом.
На фиг.8 представлена структурная схема полудуплексного устройства 80 двусторонней связи согласно еще одному варианту осуществления изобретения. Этот вариант осуществления предусматривает даже еще более простой ASP 805 для замещения ASP 705 на фиг.7.
В этом варианте осуществления переменный резистор R, который имеет средний вывод t на фиг.7, заменен переключателем SW. Операция, описанная ниже, предотвращает наложение голосовых сигналов или коммутационного шума переключателя SW при переключении режима с передачи на прием. Коэффициент передачи второго аналогового аттенюатора ATT4 сначала изменяется с 1 до 0 согласно определенной кривой переходного процесса. Переключатель SW затем переключается с передачи на прием. В заключение коэффициент передачи первого аналогового аттенюатора ATT3 изменяется с 0 до 1 согласно определенной кривой переходного процесса.
При каждом переключении режима с приема на передачу операции переключения, приведенные выше, выполняются в обратном порядке. Положение переключателя SW управляется цифровым сигналом с регулятора мощности в управляемом голосом обменнике цифрового сигнального процессора 810.
Вышеприведенные варианты осуществления изобретения решают проблемы, описанные ниже. Вообще говоря, голос, улавливаемый с барабанной перепонки, т.е. голос говорящего, который детектируется посредством колебаний мембраны барабанной перепонки говорящего при распространении в воздухе, претерпевает большее ослабление на более высоких частотах, чем голос, детектируемый у рта говорящего. Например, ослабление может быть таким высоким как 10 dB при 2000 Гц, тогда как практически нет ослабления на более низких частотах около 1000 Гц. Следовательно, голос, детектируемый на барабанной перепонке, может быть значительно худшего качества, т.е. взрывные звуки трудны для слуха.
В вариантах осуществления изобретения, описанных выше, эта проблема решена добавлением корректирующего фильтра в DSP. То есть, в тракте обработки для сигнала передачи VOX 125-625 (фиг.1-6) выходной сигнал второго фильтра LPF2 нижних частот передается через корректирующий фильтр на аттенюатор ATT2 и на регулятор мощности. Частотные характеристики коэффициента передачи корректирующего фильтра настраиваются для уравновешивания вышеупомянутой разности.
Дополнительные варианты осуществления изобретения решают эту проблему ослабления посредством полудуплексного устройства двусторонней связи, которое представляет незначительные модификации вариантов, показанных на фиг.7 и 8. В альтернативных вариантах осуществления добавлен корректирующий фильтр к DSP 710 и 810, наряду с дополнительными A/D-преобразователем и D/A-преобразователем. Другими словами, выходной сигнал аналогового аттенюатора на фиг.7 и 8 передается не прямо, а через преобразователь A/D2 (не показан), через корректирующий фильтр (не показан), через преобразователь D/A1 и, наконец, через клемму Tx передачи.
На фиг.10A-10C показан головной телефон 900, содержащий любой из вариантов осуществления устройства двусторонней связи, описанных выше. Головной телефон 900 содержит патрубок 906, который проникает и удобно умещается во внешнем ушном канале 908 уха 905 пользователя. Патрубок 906 включает в себя похожий на зонтик колпачок 910 из мягкого эластичного материала, который приспосабливается к форме внешнего слухового канала 908. Верхушка колпачка 910 имеет отверстие 912, которое предоставляет воздуху возможность проходить к трансдюсеру в аналоговом сигнальном процессоре 914 в пределах корпуса 902.
На фиг.10С показано поперечное сечение патрубкового головного телефона. Патрубок 906 обжимает удлинение 904 корпуса 902 головного телефона, которое вмещает трансдюсер и другие схемы 914 аналоговой сигнальной обработки. Цифровой сигнальный процессор 916 также заключен в корпус 902. Цифровой сигнальный процессор 916 подключен к аналоговому сигнальному процессору 914, а также подключен к проводам 918, которые доставляют сигналы приема и передачи.
Важно отметить, что головной телефон, показанный на фиг. 10A-10C, изображает только один пример из многих возможных конфигураций, в которые могут быть включены схемные конфигурации, описанные выше. Несмотря на то, что некоторые из этих конфигураций включают в себя единственный головной телефон, который вставляется во внешний ушной канал головы пользователя, также возможно реализовать схему двухпроводной связи в гарнитуре, которая включает в себя пару головных телефонов, которые удерживаются на голове пользователя бандажом.
Устройство двунаправленной связи согласно вариантам осуществления изобретения является миниатюрным и экономичным, а также предусматривает многочисленные полезные признаки. Голосовой сигнал может ясно передаваться и приниматься, даже в среде, которая очень шумна и/или при других неблагоприятных условиях, таких как сильный ветер или дождь. Так как это устройство использует только одно из ушей пользователя, у пользователя свободны руки, рот и другое ухо. Следовательно, даже когда человек использует это устройство, он может слышать и разговаривать с людьми, которые находятся поблизости, и может слышать звуковое сопровождение вокруг него или нее. Соответственно, устройство является наиболее подходящим для сложной и опасной работы, которая связана с эксплуатацией транспортного средства или механизма.
В свете вышеизложенных описаний предпочтительных вариантов осуществления этого изобретения специалисту в данной области техники будет очевидно, что могут быть созданы другие варианты осуществления, заключающие в себе вышеописанные концепции. Таким образом, варианты осуществления изобретения не ограничиваются вариантами осуществления, раскрытыми выше, а скорее должны ограничиваться только сущностью и объемом изобретения, которые определены в последующей формуле изобретения.
Формула изобретения
1. Устройство двусторонней связи, содержащее аналоговый сигнальный процессор, содержащий трансдюсер и предназначенный для приема сигнала приема и вывода сигнала передачи, цифровой сигнальный процессор (DSP), сконфигурированный для измерения рабочих характеристик аналогового сигнального процессора и использования измеренных рабочих характеристик для отфильтровывания эхо-сигнала приема из сигнала передачи, при этом цифровой сигнальный процессор содержит вычислитель коэффициентов фильтра, который формирует коэффициенты фильтра, моделирующие измеренные рабочие характеристики аналогового сигнального процессора.
2. Устройство по п.1, отличающееся тем, что цифровой сигнальный процессор содержит фильтр, использующий коэффициенты фильтра, сформированные вычислителем коэффициентов фильтра, к сигналу приема для формирования выходного сигнала и дополнительно содержит сумматор для наложения выходного сигнала фильтра на сигнал передачи.
3. Устройство по п.1, отличающееся тем, что цифровой сигнальный процессор дополнительно сконфигурирован для генерирования испытательного сигнала, передачи испытательного сигнала к аналоговому сигнальному процессору, приема ответа от аналогового сигнального процессора в ответ на испытательный сигнал и использования принятого ответа для измерения рабочих характеристик аналогового сигнального процессора.
4. Устройство по п.1, отличающееся тем, что цифровой сигнальный процессор конфигурирован для сравнения выходного сигнала, генерируемого аналоговым сигнальным процессором, с входным сигналом, поступающим в аналоговый сигнальный процессор, и измерения рабочих характеристик аналогового сигнального процессора в соответствии с результатами сравнения выходного сигнала с входным сигналом.
5. Устройство по п.1, отличающееся тем, что цифровой сигнальный процессор сконфигурирован для периодического измерения рабочих характеристик аналогового сигнального процессора при работе и использования периодически измеренных характеристик для непрерывного настраивания фильтрации эхо-сигнала приема из сигнала передачи.
6. Устройство по п.1, отличающееся тем, что цифровой сигнальный процессор содержит управляемый голосом контроллер (VOX), управляющий ослаблением сигнала приема и сигнала передачи согласно определенным значениям коэффициента передачи.
7. Устройство по п.6, отличающееся тем, что содержит первый аналого-цифровой преобразователь (A/D), преобразующий сигнал приема, принятый контроллером VOX, первый фильтр нижних частот, фильтрующий преобразованные A/D сигналы приема, первый аттенюатор, ослабляющий сигнал приема, регулятор мощности, управляющий ослаблением сигнала приема посредством аттенюатора согласно отфильтрованному преобразованному A/D сигналу приема.
8. Устройство по п.7, отличающееся тем, что содержит второй аттенюатор, ослабляющий сигнал передачи, выведенный из аналогового сигнального процессора, согласно регулятору мощности.
9. Устройство по п.8, отличающееся тем, что содержит фильтр нижних частот, принимающий сигнал передачи из аналогового сигнального процессора и передающий отфильтрованный сигнал передачи во второй аттенюатор, регулятор мощности, управляющий ослаблением отфильтрованного выходного сигнала передачи согласно уровню мощности отфильтрованного сигнала передачи или уровню мощности отфильтрованного сигнала приема.
10. Устройство по п.6, отличающееся тем, что цифровой сигнальный процессор дополнительно содержит эхоподавитель (ЕС), принимающий сигнал приема из VOX и выводящий сигнал передачи в VOX с эхоподавлением сигнала приема.
11. Устройство по п.10, отличающееся тем, что содержит первый аналого-цифровой преобразователь (A/D), подключенный между клеммой приема и VOX, первый цифроаналоговый преобразователь (D/A), подключенный между выходом ЕС сигнала приема и аналоговым сигнальным процессором, второй A/D-преобразователь, подключенный между выходом аналогового сигнального процессора сигнала приема и ЕС, второй D/A-преобразователь, подключенный между выходом VOX сигнала передачи и клеммой передачи.
12. Устройство по п.11, отличающееся тем, что эхоподавитель содержит первый буфер с выходом, подключенным ко входу первого D/A-преобразователя и входу первого компенсационного фильтра, второй буфер с входом, подключенным к выходу второго A/D-преобразователя, при этом компенсационный фильтр предназначен для моделирования характеристики передачи по сигнальному тракту, начинающемуся на входе первого D/A-преобразователя, проходящему через аналоговый сигнальный процессор, проходящему через второй A/D-преобразователь и заканчивающемуся на выходе второго буфера, сумматор, предназначенный для вычитания выходного сигнала компенсационного фильтра из выходного сигнала второго буфера.
13. Устройство по п.12, отличающееся тем, что содержит первый переключатель, конфигурированный для избирательной подачи входного сигнала первого буфера либо на управляемый голосом контроллер, либо на генератор испытательного сигнала, вычислитель параметра для приема выходных сигналов первого и второго буферов и конфигурированный для задания параметров компенсационного фильтра посредством обработки сигнала из второго буфера и испытательного сигнала из первого буфера, второй переключатель, конфигурированный для избирательной подачи выходного сигнала сумматора либо на управляемый голосом контроллер, либо на общий провод (заземление).
14. Устройство по п.6, отличающееся тем, что аналоговый сигнальный процессор содержит четырехплечую мостовую схему, содержащую первую узловую точку, связанную с выводом цифрового сигнального процессора сигнала приема, и содержащую вторую узловую точку для вывода сигнала передачи в цифровой сигнальный процессор.
15. Устройство по п.14, отличающееся тем, что аналоговый сигнальный процессор содержит первый усилитель, подключенный между первой узловой точкой и выводом ЕС сигнала приема, а второй дифференциальный усилитель подключен к первой и второй узловым точкам мостовой схемы и обеспечивает вывод сигнала передачи в ЕС.
16. Устройство по п.14, отличающееся тем, что мостовая схема содержит первое плечо, содержащее первый резистор, последовательно соединенный с первым конденсатором, и оба параллельно присоединенные к трансдюсеру, второе плечо, содержащее второй резистор, третье плечо, содержащее резистор, подключенный в параллель со вторым конденсатором, четвертое плечо, содержащее четвертый резистор.
17. Устройство по п.6, отличающееся тем, что аналоговый сигнальный процессор содержит переменный резистор, имеющий первый конец, присоединенный к выводу цифрового сигнального процессора сигнала приема, и второй конец, присоединенный к выводу цифрового сигнального процессора сигнала передачи, и средний вывод, присоединенный к VOX, причем средний вывод перемещается по направлению к первому концу или второму концу посредством VOX согласно выбранному режиму приема или выбранному режиму передачи.
18. Способ двусторонней связи в устройстве, содержащем аналоговый сигнальный процессор с трансдюсером, который конфигурирован для приема сигнала приема и вывода сигнала передачи и предназначен для вставки в ушной канал, и дополнительно содержащем цифровой сигнальный процессор, конфигурированный для измерения рабочих характеристик аналогового сигнального процессора и использования измеренных рабочих характеристик для фильтрации принятого сигнала эхо из сигнала передачи, заключающийся в том, что конфигурируют фильтр в цифровом сигнальном процессоре для моделирования сигнального тракта через аналоговый сигнальный процессор, вводят сигнал приема в фильтр и в аналоговый сигнальный процессор, и вычитают выходной сигнал фильтра, полученный в ответ на сигнал приема, из выходного сигнала аналогового сигнального процессора, полученный в ответ на сигнал приема, для существенного удаления эхо-компонента, присутствующего в выходном сигнале аналогового сигнального процессора.
19. Способ по п.18, отличающийся тем, что для конфигурирования фильтра в цифровом сигнальном процессоре для моделирования сигнального тракта через аналоговый сигнальный процессор осуществляют следующие шаги: генерируют испытательный сигнал, пропускают испытательный сигнал через сигнальный тракт, при этом трансдюсер размещен во внешнем ушном канале, настраивают параметры фильтра на основании характеристик пропущенного испытательного сигнала.
20. Способ по п.18, отличающийся тем, что для генерирования испытательного сигнала осуществляют следующие шаги: генерируют испытательный сигнал, выбранный из группы, состоящей из цифрового сигнала, который соответствует любому сигналу из группы, состоящей из импульса, реального голоса во время речевого общения, собственного голоса, звукового сигнала приема, музыкального звукового сигнала; диффузионного кодового сигнала и тонального опорного сигнала.
21. Способ по п.18, отличающийся тем, что переконфигурируют фильтр спустя определенное количество времени, чтобы скомпенсировать изменения акустических условий ушного канала.
22. Способ двусторонней связи в устройстве, содержащем аналоговый сигнальный процессор с трансдюсером, который конфигурирован для приема сигнала приема и вывода сигнала передачи и предназначен для вставки в ушной канал, и цифровой сигнальный процессор, конфигурированный для измерения рабочих характеристик аналогового сигнального процессора и использования измеренных рабочих характеристик для идентификации коэффициентов фильтра, используемых для фильтрации принятого сигнала эхо из переданного сигнала, заключающийся в том, что вводят электронный сигнал по первому и второму сигнальному тракту в аналоговый сигнальный процессор для генерирования назад информационных сигналов от аналогового сигнального процессора, используют информационные сигналы для идентификации рабочих характеристик первого и второго сигнальных трактов в аналоговом сигнальном процессоре, моделируют идентифицированные рабочие характеристики комбинированного первого и второго сигнального тракта через аналоговый сигнальный процессор с использованием первого фильтра, расположенного в цифровом сигнальном процессоре, моделируют идентифицированные рабочие характеристики первого сигнального тракта через аналоговый сигнальный процессор, используя второй фильтр, расположенный в цифровом сигнальном процессоре, вычитают выходной сигнал первого фильтра, полученный в ответ на сигнал приема, из выходного сигнала аналогового сигнального процессора, полученный в ответ на сигнал приема, для существенного удаления эхо-компонента, присутствующего в выходном сигнале аналогового сигнального процессора.
23. Способ по п.22, отличающийся тем, что помещают один трансдюсер во внешний ушной канал, генерируют испытательный сигнал, пропускают испытательный сигнал через первый и второй сигнальные тракты, настраивают параметры первого фильтра на основании характеристик пропущенного испытательного сигнала.
24. Способ по п.23, отличающийся тем, что пропускают испытательный сигнал через первый сигнальный тракт, в то время как второй сигнальный тракт соединен с общим проводом (заземлен), пропускают испытательный сигнал через второй сигнальный тракт, в то время как первый сигнальный тракт соединен с общим проводом (заземлен), настраивают параметры второго фильтра на основании характеристик пропущенного испытательного сигнала.
25. Способ по п.23, отличающийся тем, что генерируют испытательный сигнал, выбранный из группы, состоящей из цифрового сигнала, который соответствует одному сигналу из группы: импульсу, реальному голосу во время речевого общения, собственному голосу, звуковому сигналу приема или музыкальному звуковому сигналу; диффузионному кодовому сигналу и тональному опорному сигналу.
26. Способ по п.22, отличающийся тем, что реконфигурируют первый фильтр и второй фильтр спустя определенное количество времени для регулирования изменения акустических условий ушного канала.
27. Способ двусторонней связи в устройстве, заключающийся в том, что используют аналоговый сигнальный процессор с трансдюсером для приема сигнала приема и передачи сигнала передачи, используют цифровой сигнальный процессор для измерения рабочих характеристик аналогового сигнального процессора в ответ на принятый сигнал приема и используют измеренные рабочие характеристики для фильтрации принятого сигнала эхо из переданного сигнала, осуществляют мониторинг принятого сигнала или мониторинг переданного сигнала и избирательно осуществляют переключение между режимом приема и режимом передачи в ответ на проведенный мониторинг принятого сигнала или переданного сигнала.
28. Способ по п.27, отличающийся тем, что избирательно осуществляют переключение между режимом приема и режимом передачи, для чего осуществляют мониторинг указанного сигнала приема с входа устройства двусторонней связи, работают в режиме приема, если сигнал приема определен как имеющийся, и работают в режиме передачи, если сигнал приема определен как отсутствующий.
29. Способ по п.27, отличающийся тем, что избирательно осуществляют переключение между режимом приема и режимом передачи, для чего осуществляют мониторинг указанного сигнала передачи с выхода трансдюсера, работают в режиме передачи, если сигнал передачи определен как имеющийся, работают в режиме приема, если сигнал передачи определен как отсутствующий.
30. Способ по п.27, отличающийся тем, что избирательно осуществляют переключение между режимом приема и режимом передачи, для чего осуществляют мониторинг указанного сигнала приема со входа устройства двусторонней связи, осуществляют мониторинг указанного сигнала передачи с выхода трансдюсера, работают в режиме приема, если только сигнал приема определен как имеющийся, и работают в режиме передачи, если только сигнал передачи определен как имеющийся, и статистически выбирают либо режим приема, либо режим передачи, если оба сигнала приема и передачи определены как имеющиеся, или ни сигнал приема, ни сигнал передачи не определены как имеющиеся.
31. Способ по п.27, отличающийся тем, что избирательно осуществляют переключение между режимом приема и режимом передачи, для чего вычисляют среднее значение амплитуды за определенный период времени, по меньшей мере, по одному сигналу, выбранному из группы, состоящей из сигнала приема с входа двухполюсного устройства и сигнала передачи с выхода трансдюсера, определяют присутствие или отсутствие, по меньшей мере, одного сигнала посредством сравнения уровня мощности, вычисленного при среднем значении амплитуды, с определенным пороговым значением, осуществляют переключение с режима передачи на режим приема, для чего изменяют коэффициент передачи первого аттенюатора, связанного с сигналом приема, от нижнего предела до верхнего предела и изменяют коэффициент передачи второго аттенюатора, связанного с сигналом передачи, от верхнего предела до нижнего предела, осуществляют переключение с режима приема на режим передачи, для чего изменяют коэффициент передачи первого аттенюатора от верхнего предела до нижнего предела и изменяют коэффициент передачи второго аттенюатора от нижнего предела до верхнего предела.
32. Способ по п.31, отличающийся тем, что осуществляют переключение из режима передачи в режим приема, для чего постепенно увеличивают коэффициент передачи первого аттенюатора от нижнего предела по направлению к верхнему пределу согласно определенной кривой переходного процесса коэффициента передачи, при этом коэффициент передачи первого аттенюатора становится более близким к верхнему пределу за каждый определенный временной интервал, который определяет режим приема, постепенно уменьшают коэффициент передачи второго аттенюатора от верхнего предела по направлению к нижнему пределу согласно определенной кривой переходного процесса коэффициента передачи, при этом коэффициент передачи второго аттенюатора становится более близким к нижнему пределу за каждый определенный временной интервал, который определяет режим приема.
33. Способ по п.32, отличающийся тем, что осуществляют переключение из режима приема в режим передачи, для чего постепенно уменьшают коэффициент передачи первого аттенюатора от верхнего предела по направлению к нижнему пределу согласно определенной кривой переходного процесса коэффициента передачи, при этом коэффициент передачи первого аттенюатора становится более близким к нижнему пределу за каждый определенный временной интервал, который определяет режим передачи, постепенно увеличивают коэффициент передачи второго аттенюатора от нижнего предела по направлению к верхнему пределу согласно определенной кривой переходного процесса коэффициента передачи, при этом коэффициент передачи второго аттенюатора становится более близким к верхнему пределу за каждый определенный временной интервал, который определяет режим передачи.
34. Способ по п.33, отличающийся тем, что определенная кривая переходного процесса коэффициента передачи, по существу, имеет S-образное ступенчатое очертание, при этом изменение коэффициента передачи мало вблизи верхнего и нижнего предела и велико в среднем диапазоне между верхним и нижним пределами.
35. Способ по п.34, отличающийся тем, что верхним и нижним пределами являются 1 и 0 соответственно.
36. Устройство двусторонней связи, содержащее аналоговый сигнальный процессор, имеющий вход для приема электрических сигналов приема и выход для выдачи электрических сигналов передачи и содержащий пьезоэлектрический трансдюсер, подключенный между входом и выходом, и переменный резистор, подключенный между входом и выходом и имеющий средний вывод, причем пьезоэлектрический трансдюсер сконфигурирован для преобразования акустических колебаний в электрические сигналы передачи и преобразования электрических сигналов приема в акустические колебания, и цифровой сигнальный процессор, содержащий аналого-цифровой (A/D) преобразователь, подключенный к входной клемме, и управляемый голосом контроллер, подключенный между (A/D) преобразователем и средним выводом, при этом управляемый голосом контроллер предназначен для мониторинга сигнала приема через A/D-преобразователь, определения присутствия или отсутствия сигналов приема, чтобы определить следующий потенциально возможный режим работы либо в режиме приема, либо в режиме передачи, и управления положением среднего вывода согласно определенному потенциально возможному режиму работы.
37. Устройство по п.36, отличающееся тем, что входная клемма подключена к первому концу переменного резистора через первый усилитель и первый аналоговый аттенюатор, а второй конец переменного резистора подключен к клемме передачи через второй усилитель и второй аналоговый аттенюатор, при этом средний вывод и коэффициент передачи первого и второго аналоговых аттенюаторов управляются цифровыми сигналами из управляемого голосом контроллера.
38. Устройство по п.37, отличающееся тем, что управляемый голосом контроллер содержит первый фильтр нижних частот и регулятор мощности, сигнал приема подается в регулятор мощности после того, как обрабатывается первым фильтром нижних частот, регулятор мощности конфигурирован для усреднения амплитуды сигнала приема за определенное время, чтобы определять мощность сигнала приема, сравнивать мощность с определенным пороговым значением и определять присутствие или отсутствие сигналов приема, при этом, если выбранным режимом является режим приема, устройство конфигурируется так, что коэффициент передачи первого и второго аналоговых аттенюаторов изменяются по направлению к 1 и 0 соответственно, тогда как положение среднего вывода одновременно изменяется по направлению к первому концу переменного резистора, а если выбранным режимом является режим передачи, устройство конфигурируется так, что коэффициент передачи первого и второго аттенюаторов изменяются по направлению к 0 и 1 соответственно, тогда как положение среднего вывода одновременно изменяется по направлению ко второму концу переменного резистора.
39. Устройство по п.37, отличающееся тем, что коэффициент передачи первого и второго аттенюаторов определяется в соответствии с определенной кривой переходного процесса коэффициента передачи, при этом положение среднего вывода следует определенной кривой положения вывода, и при этом коэффициенты передачи и средний вывод смещаются с определенным шагом однократно за определенный временной период.
40. Устройство по п.39, отличающееся тем, что определенная кривая переходного процесса коэффициента передачи и определенная кривая переходного процесса положения вывода, по существу, имеют S-образные ступенчатые очертания с малыми изменениями коэффициента передачи за единицу и малыми изменениями положения вывода за единицу вблизи конечных точек, но большие изменения коэффициентов передачи за единицу и большие изменения положения вывода за единицу в среднем диапазоне.
41. Устройство по п.37, отличающееся тем, что дополнительно содержит корректирующий фильтр, подключенный между вторым фильтром нижних частот и вторым аналоговым аттенюатором и предназначенный для выравнивания разницы в частотных характеристиках между голосом пользователя, детектированным через колебания барабанной перепонки пользователя, и голосом пользователя, детектированным через рот пользователя.
42. Устройство по п.41, отличающееся тем, что дополнительно содержит второй A/D преобразователь, подключенный между вторым аналоговым аттенюатором и корректирующим фильтром, первый D/A-преобразователь, подключенный между корректирующим фильтром и клеммой передачи.
43. Устройство двусторонней связи, содержащее аналоговую схему, имеющую вход для приема электрического сигнала приема и выход для выдачи электрического сигнала выхода, и дополнительно содержащую пьезоэлектрический трансдюсер, подключенный между входом и выходом, при этом пьезоэлектрический трансдюсер сконфигурирован для генерирования сигнала передачи в ответ на детектирование акустических колебаний в ушном канале, вызванных звуковыми волнами и для передачи звуковых волн в ушной канал в ответ на принятый электрический сигнал приема, корпус, имеющий форму ушного канала и конфигурированный для размещения пьезоэлектрического трансдюсера и вставления в ушной канал, и эхоподавитель, подключенный к аналоговой схеме и конфигурированный для идентификации коэффициентов для фильтра в соответствии с результатами сравнения электрического сигнала приема, введенного в аналоговую схему, с электрическими сигналами передачи, выведенными из аналоговой схемы, при этом фильтр конфигурирован для моделирования переменных рабочих характеристик пьезоэлектрического трансдюсера, изменяющихся при вставлении в ушной канал.
РИСУНКИ
|
|