|
|
(21), (22) Заявка: 2008114106/12, 14.04.2008
(24) Дата начала отсчета срока действия патента:
14.04.2008
(43) Дата публикации заявки: 20.08.2008
(46) Опубликовано: 20.10.2009
(56) Список документов, цитированных в отчете о поиске:
RU 2251662 С2, 10.05.2005. RU 2263974 С2, 10.11.2005. RU 2283514 С2, 10.09.2006. RU 2244962 С2, 20.01.2005. US 5676550 A, 14.10.1997.
Адрес для переписки:
119296, Москва, Университетский пр-кт, 5, кв.441, А.Я. Гохштейну
|
(72) Автор(ы):
Гохштейн Александр Яковлевич (RU)
(73) Патентообладатель(и):
Гохштейн Александр Яковлевич (RU)
|
(54) МОДЕЛЬ ТВЕРДОГО ЯДРА ПЛАНЕТЫ С ЗАТОРМОЖЕННОЙ МАГНИТНОЙ ОСЬЮ И ИНДИКАТОР УГЛОВОГО ДРЕЙФА
(57) Реферат:
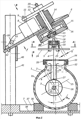
Изобретение относится к моделированию в области астрофизики и позволяет демонстрировать механизм дрейфа гармоник геомагнитного поля и исследовать связь дрейфа с процессами кристаллизации и плавления на поверхности твердого ядра планеты. Груз погружен в сосуд с жидкостью и подвешен на нити, верхний конец которой имеет возможность синхронного вращения с грузом. Консольная плита наклонена к горизонтальной плоскости. Двигатель установлен на консольной плите и соединен с ведомым валом, который проходит через отверстие консольной плиты. Снизу на ведомый вал одета скоба, концы которой скреплены с корпусом эксцентрика. В гнезде корпуса эксцентрика установлен кривошип, имеющий форму изогнутой оси. Верхний конец кривошипа направлен вдоль ведомого вала, а нижний конец направлен вертикально. На верхнем и нижнем концах кривошипа установлены подшипники. На нижний подшипник одета обойма с перекладиной, которая удерживает верхний конец нити с подвешенным на нити грузом. Индикатор углового дрейфа выполнен в виде стержня, нижний конец которого скреплен с грузом, а верхний конец находится над свободной поверхностью жидкости, груз имеет метку и подвешен на нити. Техническим результатом изобретения является повышение наглядности моделирования вращения твердого ядра вокруг оси, наклоненной к плоскости его орбитального движения внутри полости мантии. 2 н. и 15 з.п. ф-лы, 42 ил.
Текст описания приведен в факсимильном виде.                     
Формула изобретения
1. Модель твердого ядра планеты, содержащая груз, погруженный в сосуд с жидкостью и подвешенный на нити, верхний конец которой имеет возможность синхронного вращения с грузом, а также двигатель, отличающаяся тем, что она снабжена консольной плитой, наклоненной к горизонтальной плоскости, двигатель установлен на консольной плите и соединен с ведомым валом, который проходит через отверстие консольной плиты, снизу на ведомый вал одета скоба, концы которой скреплены с эксцентриком, в гнезде эксцентрика установлен кривошип, имеющий форму изогнутой оси, верхний конец кривошипа направлен вдоль ведомого вала, нижний конец направлен вертикально, на верхнем и нижнем концах кривошипа установлены подшипники, на нижний подшипник одета обойма с перекладиной, которая удерживает верхний конец нити с подвешенным на нити грузом.
2. Модель твердого ядра планеты по п.1, отличающаяся тем, что груз имеет форму тела вращения с возможностью поступательного движения по круговой орбите, расположенной в наклонной плоскости и имеющей радиус, моделирующий центробежный сдвиг ядра внутри вращающейся планеты при нелинейной зависимости силы тяготения ядра от сдвига.
3. Модель твердого ядра планеты по п.2, отличающаяся тем, что груз имеет возможность свободного вращения вокруг собственной вертикальной оси симметрии, моделирующей магнитную ось планеты, под влиянием вращения окружающей его жидкости, вызванного орбитальным движением груза.
4. Модель твердого ядра планеты по пп.2 и 3, отличающаяся тем, что груз имеет форму шара.
5. Модель твердого ядра планеты по п.1, отличающаяся тем, что груз снабжен дугой, под которой проходит нить, изогнутая в виде U-образной петли.
6. Модель твердого ядра планеты по п.1, отличающаяся тем, что груз снабжен винтом, с которым скреплена нить.
7. Модель твердого ядра планеты по п.1, отличающаяся тем, что крышка сосуда выполнена прозрачной и составлена из двух полуколец, причем на поверхность каждого полукольца нанесена шкала в форме дуги с радиальными штрихами.
8. Модель твердого ядра планеты по п.1, отличающаяся тем, что в качестве жидкости использован расплавленный металлический натрий.
9. Модель твердого ядра планеты по п.1, отличающаяся тем, что в качестве жидкости использован эвтектический сплав калия и натрия.
10. Модель твердого ядра планеты по п.1, отличающаяся тем, что в грузе размещен постоянный магнит.
11. Модель твердого ядра планеты по п.10, отличающаяся тем, что постоянный магнит выполнен в форме кругового цилиндра, намагниченного вдоль оси симметрии, которая ориентирована вертикально.
12. Модель твердого ядра планеты по п.1, отличающаяся тем, что консольная плита опирается на две горизонтальных планки, одна из которых расположена над консольной плитой, а вторая – под консольной плитой, причем каждая из горизонтальных планок закреплена на двух вертикальных стойках с возможностью регулировки высоты расположения планки.
13. Индикатор углового дрейфа, включающий метку на грузе, подвешенном на нити и погруженном в жидкость, отличающийся тем, что метка выполнена в виде стержня, нижний конец которого скреплен с грузом, а верхний конец находится над свободной поверхностью жидкости.
14. Индикатор по п.13, отличающийся тем, что верхняя часть стержня имеет горизонтальный участок.
15. Индикатор по п.13, отличающийся тем, что он включает два стержня, расположенных симметрично относительно нити, на которой подвешен груз.
16. Индикатор по п.15, отличающийся тем, что нижние части стержней ориентированы вертикально.
17. Индикатор по п.15, отличающийся тем, что нижние части стержней расположены наклонно к горизонту.
РИСУНКИ
|
|