|
|
(21), (22) Заявка: 2006132433/28, 08.09.2006
(24) Дата начала отсчета срока действия патента:
08.09.2006
(30) Конвенционный приоритет:
09.09.2005 JP 2005-261521
(43) Дата публикации заявки: 20.03.2008
(46) Опубликовано: 20.10.2009
(56) Список документов, цитированных в отчете о поиске:
ЕР 1429199, 16.06.2004. ЕР 1331524, 30.07.2003. JP 60131558, 13.07.1985. JP 11038711, 12.02.1999. ЕР 1315365, 28.05.2003. RU 2029329 C1, 20.02.1995.
Адрес для переписки:
129090, Москва, ул. Б.Спасская, 25, стр.3, ООО “Юридическая фирма Городисский и Партнеры”, пат.пов. Ю.Д.Кузнецову, рег. 595
|
(72) Автор(ы):
КИТОЗАКИ Юкихиро (JP)
(73) Патентообладатель(и):
КЭНОН КАБУСИКИ КАЙСЯ (JP)
|
(54) УСТРОЙСТВО ФОРМИРОВАНИЯ ИЗОБРАЖЕНИЯ
(57) Реферат:
Устройство формирования изображения содержит узел формирования изображения, включающий в себя несущий изображение элемент. Также содержит элемент промежуточного переноса, на который переносится изображение, сформированное на упомянутом несущем изображение элементе и который размещается в верхней части упомянутого узла формирования изображения. Устройство содержит корпус для удержания и вмещения упомянутого узла формирования изображения и упомянутого элемента промежуточного переноса. Упомянутый корпус является выдвигаемым из устройства формирования изображения вместе с упомянутым узлом формирования изображения и упомянутым элементом промежуточного переноса, поддерживаемым им; и поддерживающий элемент, прикрепленный к корпусу для удержания упомянутого элемента промежуточного переноса, при вращении относительно упомянутого корпуса. Кроме того, устройство содержит отверстие для установки и снятия упомянутого узла формирования изображения, посредством вращения упомянутого элемента промежуточного переноса удерживаемого указанным поддерживающим элементом после выдвижения корпуса из устройства формирования изображения. Технический результат – усовершенствование устройства формирования изображения. 2 н. и 20 з.п. ф-лы, 14 ил.
Настоящее изобретение относится к устройству формирования изображения такому, как копировальное устройство, принтер и тому подобное для формирования изображения с применением электрофотографического способа.
В области устройств формирования изображения применение электрофотографического способа формирования изображения на практике осуществляют устройствами формирования цветного изображения, более точно, устройствами формирования цветного изображения с использованием станций получения многократного изображения для формирования цветного изображения в среде для записи. В этих устройствах формирования цветного изображения в каждой станции получения изображения имеется фоточувствительный барабан и средство обработки, которое воздействует на этот барабан. Для уменьшения размеров таких устройств, а также для предотвращения изменений в среде для записи, приводящих к получению неудовлетворительных изображений, разрабатывались различные структуры. В частности, широко использовалась конструктивная компоновка, в которой многократные изображения, сформированные на фоточувствительных барабанах в устройствах получения многократного изображения по одному на один, переносятся (первичный перенос) в слои на лентах промежуточного переноса, и затем изображения на ленте промежуточного переноса переносятся (вторичный перенос) все сразу в среду для записи.
Среди устройств формирования цветного изображения таких, как описанные выше, существуют устройства формирования цветных изображений, в которых для уменьшения расстояния, на которое изображение, полученное на промежуточной ленте переноса первичным переносом, перемещается для достижения станции вторичного переноса, лента промежуточного переноса размещалась в верхней части расположенных рядом станций получения многократного изображения. Примерами способов перемещения фоточувствительного барабана и конструктивных элементов, размещенных вокруг фоточувствительного барабана в этих устройствах формирования цветного изображения, являются способы, раскрытые в японских выложенных патентных заявках 2005-141277 и 2003-287939. Конструкция, раскрытая в японской выложенной патентной заявке 2005-141277, является такой, что лента промежуточного переноса и несущие элементы многократного изображения могут быть извлечены отдельно из основной компоновки устройства формирования изображения. Согласно способу, раскрытому в японской выложенной патентной заявке 2003-287939, несущие элементы многократного изображения, лента промежуточного переноса и конструктивные элементы, которые размещаются вблизи несущих элементов и ленты промежуточного переноса, могут быть извлечены из корпуса основной компоновки. Существуют также конструктивные компоновки, в которых вышеупомянутые несущие элементы многократного изображения, ленты промежуточного переноса и конструктивные элементы, размещенные рядом с ними, как целая часть обеспечиваются несущей пластиной, которая может быть выдвинута вперед из корпуса основной компоновки вместе с элементами, поддерживаемыми ею. Одно из таких структурных компоновок также раскрыто в японской выложенной патентной заявке 2002-182539.
Как описано выше, согласно японской выложенной патентной заявке 2003-287939 возможно, чтобы фоточувствительный элемент, лента промежуточного переноса и другие элементы (на которые в дальнейшем будут ссылки как на элементы, связанные с формированием изображения), полностью удерживаются несущей пластиной, которую можно извлечь вместе с элементами, поддерживаемыми ею. В случае такой конструктивной компоновки лента промежуточного переноса размещается над фоточувствительными барабанами. Следовательно, это создает сложности, потому что требует большего количества рабочих этапов при перемещении фоточувствительных барабанов, хотя сложность такой проблемы зависит от конструктивной компоновки для отвода элемента промежуточного переноса от его опоры. Это также создает сложности, потому что элемент промежуточного переноса служит препятствием для извлечения фоточувствительного барабана.
СУЩНОСТЬ ИЗОБРЕТЕНИЯ
Основной задачей изобретения является усовершенствование устройства формирования изображения, исходя из работоспособности, зависящей от операций, осуществляемых пользователем, при замене технологических узлов таких, как фоточувствительный барабан, используемых при получении изображения, в то же время гарантирующих точность взаимного расположения между многократными фоточувствительными барабанами и элементом промежуточного переноса.
Согласно первому аспекту настоящего изобретения обеспечивается устройство формирования изображения, содержащее:
узел формирования изображения, включающий в себя поворотный несущий изображение элемент;
элемент промежуточного переноса, на который переносится изображение, сформированное на упомянутом несущем изображение элементе, упомянутый элемент промежуточного переноса размещается в верхней части упомянутого узла формирования изображения;
корпус для удержания и вмещения упомянутого узла формирования изображения и упомянутого элемента промежуточного переноса, упомянутый корпус является выдвигаемым из устройства формирования изображения вместе с упомянутым узлом формирования изображения и упомянутым элементом промежуточного переноса, поддерживаемым им; и
отверстие для установки и снятия упомянутого узла формирования изображения, при этом указанное отверстие открывается посредством перемещения упомянутого элемента промежуточного переноса при выдвижении корпуса из устройства формирования изображения.
Кроме того, содержащее поддерживающий элемент для удержания упомянутого элемента промежуточного переноса при вращении относительно упомянутого корпуса, причем указанное отверстие открывается посредством вращения упомянутого элемента промежуточного переноса в направлении вверх, при этом упомянутый поддерживающий элемент размещается так, что ось вращения упомянутого поддерживающего элемента параллельна с осью вращения упомянутого несущего изображение элемента.
Устройство формирования изображения согласно изобретению дополнительно содержит множество таких узлов формирования изображения, которые располагаются рядом друг с другом, причем упомянутый поддерживающий элемент располагается рядом с концом одного из соседних узлов формирования изображения.
При этом ось вращения упомянутого поддерживающего элемента перпендикулярна оси вращения упомянутого несущего изображение элемента.
Кроме того, упомянутый поддерживающий элемент располагается на задней или передней стороне корпуса по отношению к направлению выдвижения корпуса, а корпус выдвигается из упомянутого устройства формирования изображения, одновременно удерживаемого направляющим элементом, предусмотренным на втором корпусе, причем упомянутый корпус целиком удерживает средство высокого напряжения для приложения высокого напряжения к упомянутому элементу промежуточного переноса для переноса изображения и корпус также удерживает средство обнаружения для обнаружения плотности изображения, изображения, переносимого на упомянутом элементе промежуточного переноса.
Кроме того, устройство формирования изображения согласно первому аспекту дополнительно содержит средство подачи проявителя для подачи проявителя на узел формирования изображения, при этом указанное средство подачи проявителя является встраиваемым с возможностью отсоединения в упомянутый корпус, и дополнительно содержит средство накопления проявителя для накопления проявителя, которое является встраиваемым с возможностью отсоединения в упомянутый корпус, а также дополнительно содержит средство экспонирования для экспонирования упомянутого несущего изображения элемента для освещения, которое располагается в нижней части упомянутого узла формирования изображения и фиксируется в упомянутом устройстве формирования изображения.
Согласно второму аспекту изобретения предусмотрено устройство формирования изображения, содержащее:
первый узел формирования изображения, включающий в себя несущий изображение элемент;
второй узел формирования изображения, включающий в себя несущий изображение элемент;
элемент промежуточного переноса, на который изображения, сформированные на упомянутых первом и втором узлах формирования изображения соответственно, переносятся;
упомянутый элемент промежуточного переноса размещается в верхней части упомянутых первого и второго узлов формирования изображения;
корпус для удержания и вмещения упомянутых первого и второго узлов формирования изображения и упомянутого элемента промежуточного переноса, упомянутый корпус является выдвигаемым из устройства формирования изображения вместе с упомянутыми первыми и вторыми узлами формирования изображения и упомянутым элементом промежуточного переноса, поддерживаемым им; и
отверстие для установки и снятия упомянутых первого и второго узлов формирования изображения, при этом указанное отверстие открывается посредством перемещения упомянутого элемента промежуточного переноса при выдвижения корпуса из устройства формирования изображения.
Кроме того, содержащее поддерживающий элемент для удержания упомянутого элемента промежуточного переноса при вращении относительно упомянутого корпуса, причем указанное отверстие открывается посредством вращения упомянутого элемента промежуточного переноса в направлении вверх, при этом упомянутый поддерживающий элемент размещается так, что ось вращения упомянутого поддерживающего элемента параллельна с осью вращения упомянутого несущего изображение элемента.
Кроме того, первый узел формирования изображения формирует блок, расположенный над указанным первым узлом формирования изображения, причем упомянутый поддерживающий элемент располагается ближе к первому узлу формирования изображения, чем ко второму узлу формирования изображения.
А устройство формирования изобретения согласно второму аспекту изобретения дополнительно содержит элемент переноса для переноса изображения переносимого на элементе промежуточного переноса на записывающий материал, при этом указанный поддерживающий элемент является смежным со стороной устройства формирования изображения, которая противоположна стороне, на которой размещен указанный элемент переноса, в котором ось вращения упомянутого поддерживающего элемента перпендикулярна оси вращения упомянутого несущего изображение элемента указанного первого узла формирования изображения.
При этом упомянутый поддерживающий элемент располагается на задней или передней стороне корпуса по отношению к направлению выдвижения корпуса и выдвигается из упомянутого устройства формирования изображения, одновременно удерживаемым направляющим элементом, предусмотренным на втором корпусе, кроме того, упомянутый корпус целиком удерживает средство высокого напряжения для приложения высокого напряжения к упомянутому элементу промежуточного переноса для переноса изображения и средство обнаружения для обнаружения плотности изображения, изображения, переносимого на упомянутом элементе промежуточного переноса.
При этом устройство формирования изобретения дополнительно содержит средство подачи проявителя для подачи проявителя на указанные первый и второй узлы формирования изображения, при этом указанное средство подачи проявителя является встраиваемым с возможностью отсоединения в упомянутый корпус, и средство накопления проявителя для накопления проявителя, которое является встраиваемым с возможностью отсоединения в упомянутый корпус, а также средство экспонирования для экспонирования упомянутого несущего изображения элемента для освещения, которое располагается в нижней части упомянутых первого и второго узлов формирования изображения и фиксируется в упомянутом устройстве формирования изображения.
Эти и другие объекты, признаки и преимущества настоящего изобретения станут более очевиднее при рассмотрении последующего описания предпочтительного варианта осуществления настоящего изобретения вместе с сопроводительными чертежами.
КРАТКОЕ ОПИСАНИЕ ЧЕРТЕЖЕЙ
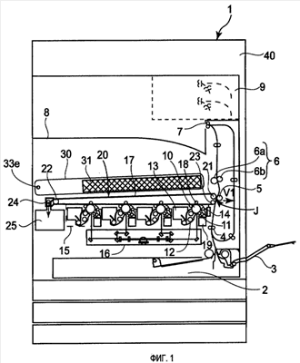
Фиг.1 представляет собой вид в разрезе устройства формирования изображения в одном из предпочтительных вариантов осуществления настоящего изобретения.
Фиг.2 представляет собой чертеж, показывающий структуру корпуса устройства формирования изображения.
Фиг.3 представляет собой чертеж, показывающий положение технологического картриджа относительно корпуса для станции формирования изображения.
Фиг.4 представляет собой чертеж, показывающий структуру узла ленты промежуточного переноса.
Фиг.5 представляет собой чертеж, показывающий структуру узла формирования изображения.
Фиг.6 представляет собой чертеж, показывающий способ замены технологических картриджей.
Фиг.7 представляет собой чертеж, показывающий способ замены технологических картриджей.
Фиг.8 представляет собой чертеж, показывающий способ замены технологических картриджей.
Фиг.9 представляет собой чертеж, показывающий способ замены технологических картриджей.
Фиг.10 представляет собой чертеж, показывающий способ замены технологических картриджей и проявочное устройство.
Фиг.11 представляет собой вид в разрезе другого примера устройства формирования изображения.
Фиг.12 представляет собой чертеж, показывающий способ замены технологических картриджей.
Фиг.13 представляет собой чертеж, показывающий способ замены картриджей, наполненных тонером, устройства восстановления отработанного тонера и технологические картриджи, которые могут пополняться тонером и из которых отработанный тонер может удаляться.
Фиг.14 представляет собой чертеж, показывающий способ замены картриджей, наполненных тонером, устройства восстановления отработанного тонера и технологические картриджи, которые могут пополняться тонером и из которых отработанный тонер может удаляться.
ПОДРОБНОЕ ОПИСАНИЕ ПРЕДПОЧТИТЕЛЬНЫХ ВАРИАНТОВ ОСУЩЕСТВЛЕНИЯ
Ниже настоящее изобретение будет описываться со ссылками на предпочтительные варианты осуществления настоящего изобретения.
Затем предпочтительные варианты осуществления настоящего изобретения будут конкретно описаны в деталях со ссылками на прилагаемые чертежи. Попутно, если данный элемент на одном из чертежей имеет такой же ссылочный символ, как ссылочный символ, который имеет данный элемент на другом чертеже, то оба элемента являются одинаковыми по структуре и по функциям. Следовательно, одинаковые элементы будут описываться один раз, чтобы избежать повторений подобных описаний.
Сначала, ссылаясь на Фиг.1, будет описываться основная структура типичного устройства формирования изображения. Устройство формирования изображения, показанное на Фиг.1, является устройством формирования цветного изображения, так называемого поточного типа. В таком устройстве формирования изображения, следовательно, многократные чувствительные барабаны 10 в качестве несущих изображение элементов конструкции устанавливаются горизонтально по параллели, и цветное изображение формируется последовательной укладкой в слои многократных тонерных изображений, различных по цвету, полученных на фоточувствительных барабанах, на ленте 17 промежуточного переноса.
Устройство 1 формирования изображения обеспечивается четырьмя технологическими картриджами 15 в качестве узлов формирования изображения, которые размещают приблизительно по горизонтали с заданными интервалами. Четыре картриджа 15 (кассеты) формируют желтое, пурпурное, голубое и черное тонерные изображения, одно за одним.
В каждом технологическом картридже 15 размещается электрофотографический светочувствительный элемент 10 в качестве несущего изображение элемента, который выполнен в виде барабана (на который в дальнейшем будут ссылаться как на светочувствительный барабан). Вокруг внешней поверхности светочувствительного барабана 10 располагаются первичное зарядное устройство 11, проявочное устройство 12, часть 13 для хранения тонера и устройство 14 очистки барабана, которое воздействует на светочувствительный барабан 10. Ниже зазора между первичным зарядным устройством 11 и проявочным устройством 12 размещается устройство 16 экспонирования для экспонирования светочувствительного барабана 10. Далее, в области, которая располагается напротив светочувствительного барабана 10, располагается валик 18 первичного переноса, в качестве средства переноса, с лентой 17 промежуточного переноса, расположенной между светочувствительным барабаном 10 и валиком 18 первичного переноса.
Желтый тонер, пурпурный тонер, голубой тонер и черный тонер подаются в четыре проявочных устройства 12 из соответствующих частей 13 для хранения тонера.
Каждый светочувствительный барабан 10 является светочувствительным элементом, изготовленным из отрицательно заряженного органического фотопроводника. Более точно, он изготовлен из алюминиевого барабана в качестве основы и слоя органического фотопроводника, сформированного на периферийной поверхности основы. Он приводится во вращательное движение с заданной скоростью обработки посредством приводного устройства (не показано).
Первичное зарядное устройство 11 в качестве средства первичного заряда равномерно заряжает поверхность светочувствительного барабана 10 до заданного уровня отрицательного потенциала путем смещения заряда, подаваемого из источника мощности смещения заряда.
Проявочное устройство 12 содержит тонер в качестве проявителя и проявляет электростатическое скрытое изображение, полученное на соответствующем светочувствительном барабане 10, в тонерное изображение (видимое изображение) посредством налипания тонера на электростатическое скрытое изображение.
Валик 18 первичного переноса в качестве средства первичного переноса размещается внутри узла 20 ленты промежуточного переноса, плотно прижимаясь к светочувствительному барабану.
В устройстве 14 очистки барабана имеется чистящая головка или нечто подобное для удаления тонера, оставшегося на светочувствительном барабане после первичного переноса от светочувствительного барабана 10. Восстановленный отработанный тонер восстанавливается в части 19 для хранения отработанного тонера. В этой связи, существуют устройства формирования изображения, в которых отработанный тонер на светочувствительном барабане 10 переносится на ленту 17 промежуточного переноса вместо того, чтобы восстанавливаться в технологическом картридже 15 устройством 14 очистки барабана.
Узел 20 ленты промежуточного переноса оснащен ведущим валиком 21, ведомым валиком 22 и натяжным валиком 23, вокруг которых лента 17 промежуточного переноса натянута в качестве элемента промежуточного переноса. Ось ведущего валика 21 снабжена приводом (не показано), по которому движущая сила передается от ведущего привода на боковой стороне основной компоновки устройства для вращательного движения ведущего валика 21. Так как привод приводится во вращательное движение, лента 17 промежуточного переноса движется по кругу. Ведущий валик 21 расположен так, что он противодействует валику 5 вторичного переноса, дублируя функции ролика, который противодействует валику 5 вторичного переноса.
Узел 20 ленты промежуточного переноса удерживается рамой 30 переноса, в которой располагается источник 31 преобразования мощности высокого напряжения (средство передачи высокого напряжения). Источник 31 преобразования мощности высокого напряжения подает высокое напряжение для переноса изображения, полученного на светочувствительном барабане на ленту 17 промежуточного переноса.
На стороне за валиком 5 вторичного переноса, в зависимости от направления перемещения среды записи, располагается фиксирующее устройство 6, имеющее ролик 6а крепления и прижимной ролик 6b. Фиксирующее устройство 6 сконструировано так, что среда записи вертикально проходит через фиксирующее устройство 6.
Устройство 16 экспонирования снабжено средством лазерного излучения, которое испускает пучок света в ответ на последовательные сигналы элемента картинки в виде электрических цифровых сигналов, которые характеризуют информацию изображения. Устройство 16 экспонирования формирует электростатическое скрытое изображение, в соответствии с информацией изображения, на поверхности светочувствительных барабанов 10, заряженных первичными зарядными устройствами 11, каждый одним. Четыре электростатических скрытых изображения, полученные на четырех светочувствительных барабанах 10, по одному на каждый, имеют различные цвета. Устройство 16 экспонирования расположено ниже технологических картриджей 15 и закреплено в устройстве 1 формирования изображения.
Далее будет описана операция формирования изображения в вышеупомянутом устройстве формирования изображения.
Оригинал считывается устройством 40 считывания оригинала. При выработке стартового сигнала формирования изображения светочувствительный барабан 10 каждого технологического картриджа 15, который движется вращательно с заданной скоростью обработки, однородно заряжается отрицательной полярностью соответствующим первичным зарядным устройством 11. Устройство 16 экспонирования проецирует пучок лазерного света из элементов лазерного излучения, в то же время модулируя его с видеосигналами, входящими в устройство 16 экспонирования извне устройства экспонирования. Видеосигналы отражают цветные составляющие, на которые разделяется оптическое изображение оригинала. В результате четыре электростатических скрытых изображения получаются на четырех светочувствительных барабанах 10, по одному на каждом.
Далее электростатическое скрытое изображение, полученное на каждом светочувствительном барабане 10, преобразуется в видимое изображение (тонерное изображение) соответствующим проявочным устройством 12. Более точно, тонер заданного цвета, определенный для каждого проявочного устройства 16, прилипает к электростатическому скрытому изображению на соответствующем светочувствительном барабане 10, посредством проявочного устройства 12, к которому прикладывается смещение проявления. У смещения проявления та же полярность, что и полярность (отрицательная), на которую заряжался светочувствительный барабан. Каждое тонерное изображение переносится (первичный перенос) на ленту 17 первичного переноса валиком 18 первичного переноса. Более точно, в то время как лента 17 промежуточного переноса приводится в движение, смещение первичного переноса (которое противоположно по полярности фоточувствительному барабану и тонеру и, следовательно, является положительным) передается на валик 18 первичного переноса. В результате тонерное изображение переносится (первичный перенос) на ленту 17 промежуточного переноса.
Четыре тонерных изображения, полученных на четырех светочувствительных барабанах 10, по одному на каждом, аналогичны перенесенным на ленту 17 промежуточного переноса узлом 20 ленты промежуточного переноса; желтое, пурпурное, голубое и черное тонерные изображения последовательно переносятся в слои на ленту 17 промежуточного переноса, приводя в итоге к полноцветному тонерному изображению на ленте 17 промежуточного переноса.
Остаток перенесенного тонера или тонер, остающийся на каждом светочувствительном барабане 10 после первичного переноса, удаляется чистящей головкой или подобным средством, которым оснащено устройство 14 очистки барабана, и затем восстанавливается.
Ведущий край на полноцветном тонерном изображении на ленте 17 первичного переноса узла 20 ленты промежуточного переноса перемещается к станции вторичного переноса, которая находится между ведущим валиком 21 (который противодействует валику 5 вторичного переноса) и валиком 5 вторичного переноса. Между тем, каждый лист среды записи, передаваемый по вертикали подающей-передающей кассетой 2 или лотком 3 ручной подачи, затем передается в станцию вторичного переноса посредством пары валиков 4, синхронизированных по времени, с которыми вышеупомянутый ведущий край тонерного изображения передвигается к станции вторичной обработки. Тонерные изображения, приводящие, в итоге к полноцветному изображению, переносятся (вторичный перенос) все вместе валиком 5 вторичного переноса, к которому прикладывается смещение вторичного переноса (которое обратно по полярности тонеру и, следовательно, является положительным), на среду записи, направляемую к станции вторичного переноса.
Тонер, остающийся на ленте 17 промежуточного переноса, после вторичного переноса удаляется устройством 24 очистки переноса и затем направляется в контейнер 25 хранения отработанного тонера.
Среда записи, на которую полноцветное тонерное изображение, полученное в итоге, направляется в фиксирующее устройство 6, расположенное на выходе. В фиксирующем устройстве 6 полноцветное тонерное изображение подвергается нагреванию и давлению в зажиме фиксации, образованном между роликом 6а крепления и прижимным роликом 6b. В результате полноцветное тонерное изображение термически фиксируется на поверхности среды записи.
После этого среда записи выгружается первой парой 7 валиков выгрузки в лоток 8 доставки, который образует верхнюю часть основной компоновки. Этот этап завершает последовательность получения изображения.
Попутно устройство формирования изображения конструируется так, что устройство 9 дополнительной выгрузки может помещаться над первой парой валиков 7 выгрузки в основной компоновке.
[Вариант осуществления 1]
Далее, ссылаясь на Фиг.2 и 3, будет описана конструкция корпуса устройства формирования изображения согласно первому варианту осуществления настоящего изобретения. Фиг.2 является схематическим перспективным видом корпуса устройства формирования изображения, иллюстрирующим его структуру, а Фиг.3 является перспективным видом корпуса станции получения изображения в устройстве формирования изображения и технологических картриджах, показывающим положение технологических картриджей относительно корпуса.
Сначала, со ссылкой на Фиг.2, устройство формирования изображения снабжено корпусом 50 (первый корпус) для станций получения изображения (который в дальнейшем будет упоминаться как корпус 50 станции формирования изображения), который как целая часть поддерживает технологические картриджи 15 и узел 20 ленты промежуточного переноса, и основной корпус 41 (второй корпус), который поддерживает целостность основной компоновки устройства формирования изображения.
В основном корпусе 41 есть пара (левосторонний и правосторонний) поддерживающих направляющих 42 (элементы в форме направляющих), которые поддерживают корпус 50 станции получения изображения, когда корпус 50 станции получения изображения извлекается из устройства 1 формирования изображения. Поддерживающие направляющие 42 могут удлиняться или укорачиваться. Другими словами, корпус 50 станции получения изображения может выдвигаться из устройства 1 формирования изображения или задвигаться назад в устройство 1 формирования изображения при сохранении опоры на поддерживающие направляющие 42, которыми оснащен основной корпус 41.
Как описывалось выше, корпус 50 станции получения изображения конструируется так, что он может выдвигаться из устройства 1 формирования изображения или задвигаться назад в устройство 1 формирования изображения, при этом как целая часть, поддерживая технологические картриджи 15 и узел 20 ленты промежуточного переноса. Далее, корпус 50 станции получения изображения поддерживает узел 20 ленты промежуточного переноса так, что узел 20 ленты промежуточного переноса (или технологические картриджи) может перемещаться для экспонирования технологических картриджей 15. Другими словами, отверстие, через которое технологические картриджи 15 могут устанавливаться или извлекаться, может обеспечиваться при перемещении узла 20 ленты промежуточного переноса. Далее эта компоновка будет описана в деталях.
Технологические картриджи 15 устанавливаются с возможностью извлечения в корпус 50 станции получения изображения, причем вставка осуществляется в направлении, указанном стрелкой на Фиг.3. Корпус 50 станции получения изображения оснащен многократными наборами направляющих элементов для установки технологических картриджей 15 так, что технологические картриджи 15 точно устанавливаются относительно корпуса 50, или для извлечения технологических картриджей 15 из корпуса 50. Корпус 50 станции получения изображения конструируется так, что после того, как каждый технологический картридж вставляется в корпус 50 станции получения изображения, технологический картридж направляется соответствующим набором направляющих элементов для установки в корпусе 50 посредством пары подшипников, подогнанных вокруг продольных концов каждого светочувствительного барабана 10, по одной на каждый, поддерживаемых соответствующей парой поддерживающих частей 50а барабана, которыми оснащены противоположные поверхности стены корпуса 50, одной каждая.
Далее, корпус 50 станции получения изображения так же, как целая часть, поддерживает устройство 53 обнаружения потери плотности, которое обнаруживает изменения плотности изображения устройства формирования изображения и уровень отклонения позиционирования, с которым четыре тонерных изображения переносятся на ленту 17 промежуточного переноса, при обнаружении тонерных изображений на ленте 17 промежуточного переноса. При работе конструктивной компоновки, описанной выше, положение каждого светочувствительного барабана 10 обнаруживается с чрезвычайно высоким уровнем точности; при этом не происходят ошибки при обнаружении. Следовательно, устройство формирования изображения стабильно в показателях плотности изображения и положения изображения относительно ленты 17 промежуточного переноса.
Сейчас, ссылаясь на Фиг.4, будет описана конструкция, прилегающая к узлу 20 ленты промежуточного переноса. Фиг.4 является перспективным видом узла 20 ленты промежуточного переноса, показывающим его структуру.
Фиг.4(а) показывает один из узлов 20 ленты промежуточного переноса и соответствующую раму 30 переноса. Каждый узел 20 ленты промежуточного переноса конструируется так, что пара первых поддерживающих стержней 20а (которые различаются по положению), которыми оснащен узел 20 ленты промежуточного переноса, взаимодействуют, каждая с одной, с парой 30а зажимных частей (которые различаются по положению), которыми оснащена рама 30 переноса. Кроме того, они конструируются так, что пара 20b вторых поддерживающих стержней (которые различаются по положению), которыми оснащен узел 20 ленты промежуточного переноса, взаимодействует с парой 30b вторых зажимных частей (которые различаются по положению), которыми оснащена рама 30 переноса. Пара 30b вторых зажимных частей располагается так, что после соединения узла 20 ленты промежуточного переноса и рамы 30 переноса они находятся около направляющего валика 21, используемого для вторичного переноса. Далее, ссылаясь на Фиг.4(b), узел 20 ленты промежуточного переноса и рама 30 переноса соединяются так, что пара поддерживающих стержней 20а вставляется в пару 30а первых зажимных частей, одна в одну, а пара 20b вторых поддерживающих стержней вставляется в пару 30b вторых зажимных частей, одна в одну.
Во время этого соединения пара первых пружин 30с приложения давления, размещенных в раме 30 переноса, прикрепляется в нагруженном состоянии к паре первых поддерживающих частей 20с, одна к одной, которыми оснащен узел 20 ленты промежуточного переноса, а пара вторых пружин 30d приложения давления, размещенных также в раме 30 переноса, прикрепляется в нагруженном состоянии к паре вторых поддерживающих частей 20d, одна к одной, которыми оснащен узел 20 ленты промежуточного переноса. Пара вторых поддерживающих частей 20d располагается так, что они будут расположены около ведущего валика 21 после соединения узла 20 ленты промежуточного переноса с рамой 30 переноса.
Далее, ссылаясь на Фиг.5, будет описано взаимное расположение узла 20 ленты промежуточного переноса и корпуса 50 станции получения изображения после соединения узла 20 ленты промежуточного переноса и рамой 30 переноса. Как показано на Фиг.5(а), после соединения друг с другом узел 20 ленты промежуточного переноса и рама 30 переноса поддерживаются (в двух позициях, то есть по ширине) корпусом 50 станцией получения изображения (в котором установлены технологические картриджи 15) так, что они могут вращаться вокруг оси 30е вращения (поддерживающая часть), расположенной в раме 30 переноса. В этом случае ось 30е вращения является средством для перемещения вышеупомянутого узла 20 ленты промежуточного переноса для экспонирования технологических картриджей 15 из-за узла 20 ленты промежуточного переноса.
Далее, вышеупомянутая ось 30е вращения расположена так, что ось ее вращения приблизительно параллельна оси вращения светочувствительного барабана 10.
Далее, вышеупомянутая ось 30е вращения располагается на одном из концов рамы 30 переноса, исходя из направления, в котором технологические картриджи 15 ориентированы в корпусе 50 станции получения изображения. В этом варианте осуществления устройство формирования изображения конструируется так, что ось вращения расположена на конце рамы 30 переноса, которая расположена рядом с гнездом технологического картриджа, расположенным дальше всего от станции вторичного переноса. Однако устройство формирования изображения может конструироваться так, что ось 30е вращения расположена на конце рамы 30 переноса, которая расположена рядом с гнездом технологического картриджа, ближайшего к станции вторичного переноса.
Узел 20 ленты промежуточного переноса, который вращается вокруг оси 30е вращения, оснащен парой подшипников 20е, которыми ведущий валик 21 поддерживается, на своих продольных концах. Подшипники 20е, составляя пару, расположенную на свободных концах узла 20 ленты промежуточного переноса, вставляются в поддерживающие отверстия 50b (различные по положению), один в одно, которыми оснащен корпус 50 станции получения изображения. Далее, рама 30 переноса снабжена парой элементов 30f позиционирования (Фиг.4), которые взаимодейстуют с парой поддерживающих штырей 50е (Фиг.3(b)) соответственно, которыми оснащен корпус 50 станции получения изображения. С использованием этого конструктивного построения возможно создание узла 60 получения изображения (Фиг.5), в котором узел 20 ленты промежуточного переноса точно располагается относительно корпуса 50 станции получения изображения, относительно которого технологические картриджи 15 точно устанавливаются.
С использованием этой конструктивной компоновки, которая удерживает технологические картриджи 15 и узел 20 ленты промежуточного переноса корпуса 50 станции получения изображения, узел 20 ленты промежуточного переноса может устанавливаться относительно светочувствительного барабана 10 с очень высоким уровнем точности, создавая возможности для производства изображений отличного качества, более точно, изображений, которые не содержат погрешностей позиционирования.
Далее, вышеупомянутый корпус 50 станции получения изображения осуществляет удерживание так, что узел 20 ленты промежуточного переноса может вращательно перемещаться для экспонирования технологических картриджей 15, установленных в корпусе 50. С использованием этого конструктивного признака устройство формирования изображения может быть усовершенствовано, исходя из удобства при замене технологических картриджей 15 пользователем, при этом гарантируя, что узел 20 ленты промежуточного переноса устанавливается относительно каждого светочувствительного барабана с высоким уровнем точности.
Технологические картриджи 15 должны заменяться следующим образом. То есть сначала вышеупомянутый корпус 50 станции получения изображения выдвигается из устройства формирования изображения, и затем узел 20 ленты промежуточного переноса извлекается вращением из технологических картриджей 15. Затем технологические картриджи 15 заменяются. Следовательно, не происходит рассеивания тонера в устройстве формирования изображения при замене технологического картриджа или технологических картриджей. Следовательно, не происходит загрязнения внутренней части устройства формирования изображения и получения неудовлетворительных изображений, которые обычно приписываются рассеиванию тонера в устройстве формирования изображения, которое происходит при замене технологического картриджа или картриджей. В частности, устройство 16 экспонирования устанавливается ниже технологическоих картриджей 15 и размещается с фиксацией в основной компоновке устройства формирования изображения. Следовательно, не происходит получения неудовлетворительных изображений, дефекты которых приписываются рассыпанию тонера, которое происходит при замене картриджей (кассет).
Корпус 50 станции получения изображения (узел 60 получения изображения), которым технологические картриджи 15 и узел 20 ленты промежуточного переноса, как целое, удерживаются, перемещается назад в устройство формирования изображения, удерживаемый и направляемый парой поддерживающих направляющих 42. В то время как корпус 50 перемещается назад, передающая движущую силу часть для передачи движущей силы технологическим картриджам 15 и узлу 20 ленты промежуточного переноса, которые удерживает корпус 50, контактирует с ведущей частью, которая размещается в основном корпусе 41, для передачи движущей силы вышеупомянутой передающей движущую силу части для передачи движущей силы технологическим картриджам 15 и узлу 20 ленты промежуточного переноса. Более подробно, первое соединительное звено 10b барабана, показанное на Фиг.5(а), для приведения в движение светочувствительного барабана 10 технологического картриджа 15 взаимодействует со вторым соединительным звеном 43а барабана, показанным на Фиг.(5b), размещенным в основном корпусе 41 основной компоновки устройства формирования изображения для приведения в движение светочувствительного барабана 10. Далее, первое соединительное звено 12а проявления для приведения в движение проявочного устройства 12 технологического картриджа 15 взаимодействует со вторым соединительным звеном 43b проявления, размещенным в основном корпусе 41 для приведения в движение проявочного устройства 12. Далее первое соединительное звено 21а ведущего валика узла 20 ленты промежуточного переноса контактирует со вторым соединительным звеном 43с ведущего валика, размещенным в основном корпусе 41 для приведения в движение ведущего ролика 21. Так, поскольку ведущая часть 43 основной конструкции функционирует, движущая сила может передаваться технологическим картриджам 15 и узлу 20 ленты промежуточного переноса, которые удерживаются корпусом 50 станции получения изображения, посредством указанных соединительных звеньев.
Кроме того, устройство формирования изображения конструируется так, что четыре установочных штифта 50е (различающихся по положению), показанные на Фиг.5(а), которыми оснащен корпус 50 станции получения изображения, устанавливаются в установочные отверстия 14а, которыми оснащен основной корпус 41.
Затем, ссылаясь на Фиг.6 и 7, способ замены технологических картриджей 15 будет описан. Фиг.6 и 7 являются перспективными видами этапов работы по замене технологических картриджей 15.
Ссылаясь на Фиг.6(а), сначала переднюю крышку 9а устройства формирования изображения следует открыть в направлении, указанном стрелкой Q1. Затем следует переместить ленту 17 промежуточного переноса, надавив на валик 5 вторичного переноса. Во время этого перемещения при надавливании валик 5 вторичного переноса электрическим или механическим способом перемещается в направлении, указанном стрелкой VI на Фиг.1. В качестве примера конструктивной компоновки для перемещения электрическим способом при надавливании на валик 5 вторичного переноса существует конструктивная компоновка, которая подает или исключает давление от валика 5 вторичного переноса включением или выключением соленоидного переключателя. В качестве примера конструктивной компоновки для перемещения механическим способом при надавливании на валик 5 вторичного переноса, существует конструктивная компоновка, в которой при приложении давления валик 5 вторичного переноса может перемещаться вращением рычага, который поддерживает валик 5 вторичного переноса, так, что валик 5 вторичного переноса может надавить на или отодвинуть ведущий валик 21 (ленту 17 промежуточного переноса).
Кроме того, конструктивная компоновка для передачи давления, прикладываемого к ленте 17 промежуточного переноса валиком 5 вторичного переноса, не может ограничиваться компоновками, описанными выше. Например, валик 5 вторичного переноса может удерживаться подвижной заслонкой 9b, которая может открываться или закрываться относительно основной компоновки устройства 1 формирования изображения, как показано на Фиг.8, так что давление, прикладываемое к валику 5 вторичного переноса, может передаваться открыванием заслонки 9b в направлении, указанном стрелкой Q3.
Далее, узел 60 получения изображения (объединенная компоновка рамы 30 переноса, узла 20 ленты промежуточного переноса, технологических картриджей 15 и корпус 50 станции получения изображения, который удерживает вышеупомянутые компоненты) следует выдвинуть спереди основной компоновки, то есть в направлении, указанном стрелкой Р2, как показано на Фиг.6(b).
Далее, ссылаясь на Фиг.7, объединенную компоновку узла 20 ленты промежуточного переноса и рамы 30 переноса следует повернуть около вала 30е вращения в направлении, указанном стрелкой Q2, до достижения соединением вертикального положения и закрепить удерживающим средством таким, как задвижка. Посредством такого действия технологические картриджи 15, установленные в корпусе 50 станции получения изображения, экспонируются из-за узла 20 ленты промежуточного переноса с возможностью замены технологических картриджей 15. Другими словами, обеспечивается пространство, необходимое для установки или извлечения. Таким образом, технологические картриджи 15 могут извлекаться вверх (указано стрелкой Т1) для замены.
Другими словами, узел 20 ленты промежуточного переноса поворачивается от или поворачивается к корпусу 50 станции получения изображения после того, как узел 60 получения изображения выдвигается из устройства формирования изображения. Следовательно, не происходит так, что тонер, который рассыпается, когда узел 20 ленты промежуточного переноса поворачивается, осыпается в устройство формирования изображения. Далее, технологические картриджи 15 и узел 20 ленты промежуточного переноса удерживаются, как целое, в корпусе 50 станции получения изображения. Поэтому уровень точности, с которой светочувствительный барабан 10 устанавливается относительно узла 20 ленты промежуточного переноса, очень высокий и количество тонера, которое рассыпается, очень мало.
В случае конструктивной компоновки, показанной на Фиг.5-8, вращающийся вал 30е рамы 30 переноса параллелен осевым линиям светочувствительного барабана 10 в технологических картриджах 15 и расположен в дальнем конце рамы 30 переноса от станции вторичного переноса. Конструктивная компоновка, делающая возможным вышеупомянутое вращение узла 20 ленты промежуточного переноса, не может ограничиваться вышеупомянутой компоновкой. Например, вышеупомянутый вращающийся вал 30е может располагаться на другом конце рамы 30 переноса, то есть конце, который находится рядом со станцией вторичного переноса (положение 30f, обозначенное пунктирной линией на Фиг.7), так, что узел 20 ленты промежуточного переноса может поворачиваться вокруг расположенного соответствующим образом вращающегося вала 30е в направлении, указанном стрелкой Q4.
Далее, в этом варианте осуществления вращающийся вал 30е рамы 30 переноса параллелен осевым линиям светочувствительного барабана 10 технологических картриджей 15. Однако вращающийся вал 30е не обязательно параллелен осевым линиям светочувствительного барабана 10. Например, вращающийся вал 30g, в качестве поддерживающей части, может устанавливаться так, что его ось вращения приблизительно перпендикулярна оси вращения светочувствительного барабана 10. Более подробно, ссылаясь на Фиг.9, вращающийся вал 30g может устанавливаться на торцевом конце рамы 30 переноса, исходя из направления, в котором корпус 50 станции получения изображения перемещается относительно основной компоновки, так что узел 20 ленты промежуточного переноса может вращаться вокруг вращающегося вала 30g в направлении, указанном стрелкой Q5, или вращающийся вал 30g может устанавливаться на переднем конце рамы 30 переноса, исходя из направления, в котором корпус 50 станции получения изображения перемещается относительно основной компоновки, так что узел 20 ленты промежуточного переноса может вращаться вокруг вращающегося вала 30g. В этом случае, однако, величина, на которую узел 60 получения изображения выдвигается из устройства формирования изображения, должна увеличиваться на 31 по сравнению с установками, показанными на Фиг.6-8.
Далее, в случае варианта осуществления, описанного выше, каждый узел обработки состоит из светочувствительного барабана и проявочного устройства, которые объединены как целое. Однако составляющие узла обработки не могут ограничиваться блоками в указанном варианте осуществления. Например, проявочное устройство 12 как средство обработки, которое функционирует на светочувствительный барабан, может быть выполнено как узел обработки, который не зависит от технологических картриджей 15 (узел обработки), включающих светочувствительный барабан 10, и который может встраиваться с возможностью извлечения в корпус 50 станции получения изображения, как показано на Фиг.10. В этом случае при извлечении любого из узлов обработки (технологических картриджей 15 и проявочного устройства 12) из корпуса 50 станции получения изображения, во-первых, давление, создаваемое при приложении пружин 51 и 52 нажимного действия, которые прижимают каждый из узлов 15 и 12, следует устранить так, чтобы узлы 15 и 12 могли заменяться по отдельности. Эта конструктивная компоновка делает возможной замену технологических картриджей 15 и проявочного устройства 12 по отдельности согласно сроку действия, являясь чрезвычайно эффективным для уменьшения расходов при эксплуатации устройства формирования изображения.
Далее, описанный выше вариант осуществления изобретения показывает конструктивную компоновку, в которой узел 20 ленты промежуточного переноса удерживается рамой 30 переноса. Однако применение настоящего изобретения не должно ограничиваться вариантом, описанным выше. Например, даже если не предусматривается корпус переноса, результаты, аналогичные описанным выше результатам, могут быть получены применением конструктивной компоновки, в которой узел 20 ленты промежуточного переноса оснащен вращающимся валом (поддерживающая часть) и узел 20 ленты промежуточного переноса при вращении закрепляется на корпусе 50 станции получения изображения.
Дополнительно, описанный ваше вариант осуществления изобретения иллюстрирует конструктивную компоновку, в которой узел 20 ленты промежуточного переноса при вращении выдвигается, что дает возможность заменить технологический картридж. Однако применение настоящего изобретения не может ограничиваться описанным выше вариантом. Например, для того, чтобы сделать возможной замену узлов обработки, устройство формирования изображения может быть снабжено средством для выдвижения узла 20 ленты промежуточного переноса из корпуса 50 станции получения изображения. Далее, устройство формирования изображения может конструироваться так, что узлы обработки могут извлекаться вместо узла ленты промежуточного переноса для предоставления возможности узлам обработки экспонироваться из-за узла ленты промежуточного переноса, для обеспечения возможности замены узлов обработки. Другими словами, все что необходимо, – это то, чтобы устройство формирования изображения структурировалось так, чтобы после того, как корпус станции получения изображения извлекался, позиционное расположение между узлом ленты промежуточного переноса и узлами обработки могло изменяться для создания пространства, на которое могут устанавливаться или перемещаться узлы обработки.
[Вариант 2 осуществления изобретения]
Затем, ссылаясь на Фиг.11 и 12, будет описано устройство формирования изображения согласно второму варианту осуществления настоящего изобретения. Этот вариант осуществления показывает структурную компоновку, в которой светочувствительные барабаны 10 не ориентированы по горизонтали, в частности, они ориентированы по наклонной прямой линии таким образом, что, чем ближе светочувствительный барабан к станции вторичного переноса, тем ниже по расположению светочувствительный барабан 10.
Сначала, ссылаясь на Фиг.11, которая является видом в разрезе устройства формирования изображения согласно второму варианту осуществления настоящего изобретения, многократные технологические картриджи 15 установлены параллельно или рядом и, к тому же, ориентированы так, что, чем дальше находится технологический картридж 15 от станции J вторичного переноса, тем выше по местоположению находится технологический картридж, чем технологический картридж 15, расположенный ближе к станции J вторичного переноса. Следовательно, технологический картридж 15, имеющий светочувствительный барабан 10, который находится ближе к станции J вторичного переноса, располагается ниже и технологический картридж 15, имеющий светочувствительный барабан 10, который находится дальше от станции J вторичного переноса, выше по местоположению. Далее, лента 17 промежуточного переноса наклонена вниз по направлению к станции вторичного переноса, параллельно с воображаемой линией, соединяющей центр светочувствительного барабана 10, установленного наиболее высоко, и центр светочувствительного барабана 10, установленного наиболее низко.
Затем, ссылаясь на Фиг.12, будет описан способ замены технологических картриджей 15. Фиг.12 иллюстрирует способ замены технологических картриджей 15.
Ссылаясь на Фиг.12(а), аналогично первому варианту осуществления изобретения, после того, как узел 60 получения изображения выдвигается вперед из основной компоновки (в направлении, указанном стрелкой Р2), объединенные как целое узел 20 ленты промежуточного переноса и рама 30 переноса вращательно перемещаются вокруг вращающегося вала 30е в направлении, указанном стрелкой Q6. Вместе с этой операцией технологические картриджи 15 экспонируются из-за узла 20 ленты промежуточного переноса в положении, пригодном для замены. После этого технологические картриджи 15 можно извлечь для замены из корпуса 50 станции получения изображения в направлении, указанном стрелкой Т2.
Кроме того, ссылаясь на Фиг.12(b), для уменьшения размеров основной компоновки устройства формирования изображения по направлению, указанному стрелкой X, необходимо размещать соседние два технологических картриджа 15 ближе друг к другу. В этом случае, если будет предпринята попытка извлечения корпуса 50 станции получения изображения в вертикальном положении (направлении, указанном стрелкой Т1), технологический картридж 15 столкнется с соседним технологическим картриджем на верхней стороне (часть К на Фиг.12). Следовательно, такая конструктивная компоновка приспособлена для того, чтобы технологические картриджи 15 извлекались в направлении, по стрелке Т2, которое приблизительно перпендикулярно воображаемой линии, соединяющей центральные линии четырех светочувствительных барабанов 10.
В этом случае желательно, чтобы вращающийся вал 30е устанавливался на конце рамы 30 переноса, которая находится рядом с самым дальним картриджем 15 относительно станции J вторичного переноса, как показано на Фиг.12(b). Использование этой конструктивной компоновки предотвращает узел 20 ленты промежуточного переноса от столкновения при извлечении технологических картриджей 15 из корпуса 50 станции получения изображения в направлении, указанном стрелкой Т2, существенно улучшая устройство формирования изображения, исходя из возможности замены технологических картриджей 15.
Кроме того, касаясь структурной компоновки, в которой многократные технологические картриджи ориентированы параллельно с вышеописанной наклонной прямой линией, положение вращающегося вала 30е не должно ограничиваться концом рамы 30 переноса, которая находится рядом с самым дальним технологическим картриджем по отношению к станции J вторичного переноса, как показано на Фиг.12. Все, что необходимо, – это расположить вращающийся вал 30е на конце рамы 30 переноса, которая находится рядом с технологическим картриджем, который установлен наиболее высоко среди технологических картриджей, ориентированных по наклонной прямой линии.
Например, осуществимо устройство формирования изображения, в котором многократные технологические картриджи ориентированы параллельно к наклонной прямой линии таким образом, что самый дальний технологический картридж по отношению к станции вторичного переноса устанавливается ниже, чем ближайший технологический картридж по отношению к станции вторичного переноса. В этом случае желательно, чтобы вышеупомянутый вращающийся вал устанавливался на конце рамы переноса, которая находится рядом с ближайшим технологическим картриджем по отношению к вышеупомянутой станции вторичного переноса.
[Смешанный вариант осуществления]
Вышеописанные варианты осуществления изобретения раскрывают конструктивную компоновку, в которой каждый технологический картридж, как целое, содержит часть хранения тонера (средство снабжения проявителя) для подачи тонера и часть хранения отработанного тонера (средство восстановления проявителя). Однако приложение настоящего изобретения не ограничивается этой компоновкой. Например, средство снабжения проявителя для подачи проявителя или средство восстановления проявителя для восстановления проявителя могут выполняться независимо от технологических картриджей и встраиваться с возможностью извлечения в корпус станции получения изображения, как показано на Фиг.13 и 14. Далее будет описана эта конструктивная компоновка.
Сначала, ссылаясь на Фиг.13(а), которая является видом в разрезе правой стороны основной компоновки, предусматривается узел 60 получения изображения. Этот узел 60 получения изображения включает в себя технологические картриджи, встраиваемые с возможностью извлечения в узел 60 получения изображения, средство снабжения проявителя, независимое от технологического картриджа 15, и средство восстановления проявителя, независимое от технологического картриджа 15. Рама 30 переноса объединенная, как целое, с узлом 20 ленты промежуточного переноса удерживается таким образом, что он может вращаться, как шарнирная дверь. Далее, узел 60 получения изображения включает в себя наполняемый тонером картридж 61 в качестве средства снабжения тонером, которое выполнено с возможностью встраивания и извлечения. Тонер в наполняемом тонером картридже 61 подается проявочному устройству в технологическом картридже устройством 62 снабжения тонером. Далее, узел 60 получения изображения включает в себя устройство 63 восстановления отработанного тонера в качестве средства восстановления проявителя, которое является встраиваемым с возможностью извлечения. Ссылаясь на Фиг.13, обозначенное ссылочной позицией 64, устройство высокого напряжения для обеспечения высоким напряжением технологических картриджей для процесса проявки и процесса подзарядки. Устройство 64 высокого напряжения содержится в узле 60 получения изображения. Наполняемый тонером картридж 61 и устройство 63 восстановления отработанного тонера встраиваются с возможностью извлечения на переднюю часть узла 60 получения изображения (корпус станции получения изображения), который может выдвигаться в направлении, указанном стрелкой Р2. Следовательно, наполняемый тонером картридж 61 и устройство 63 восстановления отработанного тонера могут по отдельности заменяться в соответствии со своим эксплутационным ресурсом, тогда как узел 60 получения изображения остается перемещенным назад в основную компоновку устройства формирования изображения.
Далее, ссылаясь на Фиг.13(b) и 13(с), если необходимо заменить любой из технологических картриджей 15, сначала узел 60 получения изображения следует выдвинуть спереди основной компоновки (направление указывается стрелкой Р2). Затем объединенные узел 20 ленты промежуточного переноса и рамы 30 переноса подлежат повороту в направлении, указанном стрелкой Q7 для экспонирования технологических картриджей 15. Затем технологические картриджи 15 можно выдвинуть в направлении, указанном стрелкой Т2 для замены.
В этом случае конструктивная компоновка такая, как описана выше, в которой технологические картриджи 15, наполняемые тонером картриджи 61, устройства 63 восстановления отработанного тонера заменяются по отдельности, тонер переносится между узлами.
В вариантах осуществления изобретения, описанных выше, наполняемые тонером картриджи 61, технологические картриджи и устройства 63 восстановления отработанного тонера при перемещении удерживаются корпусом 50 станции получения изображения, гарантируя, таким образом, точность их взаимного расположения среди узлов. Следовательно, рассыпание тонера происходит редко, когда какой-нибудь из узлов заменяется или тонер заменяется. Далее, технологические картриджи 15 замещаются после того, как наполняемые тонером кассеты 61 и устройства 63 восстановления отработанного тонера извлекаются из основной компоновки устройства 1 формирования изображения вместе с узлом 60 получения изображения. Следовательно, не происходит рассыпания тонера в устройство формирования изображения, которым сопровождается замена технологических картриджей, и получение неудовлетворительных изображений, которые возникают из-за рассыпания тонера.
Кроме того, варианты осуществления изобретения, описанные выше, показывают конструктивную компоновку, в которой и средство снабжения проявителя, и средство восстановления проявителя устанавливаются в корпус станции получения изображения с возможностью извлечения. Однако применение настоящего изобретения не может ограничиваться этой конструктивной компоновкой. Например, устройство формирования изображения может конструироваться так, что либо средство снабжения проявителя, либо средство восстановления проявителя устанавливается с возможностью извлечения в корпус станции получения изображения.
Далее, размеры, материалы, форма конструктивных компонентов, их взаимное расположение, устройства формирования изображения, описанного выше, не подразумевают ограничение объема настоящего изобретения, если не отмечено особо.
Хотя изобретение описывалось со ссылками на предпочтительные варианты осуществления настоящего изобретения раскрытого здесь, оно не ограничивается вариантами осуществления, описанными выше, и подразумевается, что эта заявка распространяется на модификации или изменения, которые могут оказаться в пределах решаемых задач или объема последующей формулы изобретения.
Формула изобретения
1. Устройство формирования изображения, содержащее: узел формирования изображения, включающий в себя несущий изображение элемент; элемент промежуточного переноса, на который переносится изображение, сформированное на упомянутом несущем изображение элементе, упомянутый элемент промежуточного переноса размещается в верхней части упомянутого узла формирования изображения; корпус для удержания и вмещения упомянутого узла формирования изображения и упомянутого элемента промежуточного переноса, упомянутый корпус является выдвигаемым из устройства формирования изображения вместе с упомянутым узлом формирования изображения и упомянутым элементом промежуточного переноса, поддерживаемым им; и поддерживающий элемент, прикрепленный к корпусу для удержания упомянутого элемента промежуточного переноса при вращении относительно упомянутого корпуса, отверстие для установки и снятия упомянутого узла формирования изображения посредством вращения упомянутого элемента промежуточного переноса, удерживаемого указанным поддерживающим элементом после выдвижения корпуса из устройства формирования изображения.
2. Устройство по п.1, в котором упомянутый поддерживающий элемент размещается так, что ось вращения упомянутого поддерживающего элемента параллельна с осью вращения упомянутого несущего изображение элемента.
3. Устройство по п.1, дополнительно содержащее множество таких узлов формирования изображения, которые располагаются рядом друг с другом, причем упомянутый поддерживающий элемент располагается рядом с концом одного из соседних узлов формирования изображения.
4. Устройство по п.1, в котором ось вращения упомянутого поддерживающего элемента перпендикулярна оси вращения упомянутого несущего изображение элемента.
5. Устройство по п.4, в котором упомянутый поддерживающий элемент располагается на задней или передней стороне корпуса по отношению к направлению выдвижения корпуса.
6. Устройство по п.1, в котором упомянутый корпус выдвигается из упомянутого устройства формирования изображения одновременно удерживаемым направляющим элементом, предусмотренным на втором корпусе.
7. Устройство по п.1, в котором упомянутый корпус целиком удерживает средство высокого напряжения для приложения высокого напряжения к упомянутому элементу промежуточного переноса для переноса изображения.
8. Устройство по п.1, в котором упомянутый корпус целиком удерживает средство обнаружения для обнаружения плотности изображения, изображения, переносимого на упомянутом элементе промежуточного изображения.
9. Устройство по п.1, дополнительно содержащее средство подачи проявителя для подачи проявителя на узел формирования изображения, при этом указанное средство подачи проявителя является встраиваемым с возможностью отсоединения в упомянутый корпус.
10. Устройство по п.1, дополнительно содержащее средство накопления проявителя для накопления проявителя, которое является встраиваемым с возможностью отсоединения в упомянутый корпус.
11. Устройство по п.1, дополнительно содержащее средство экспонирования для экспонирования упомянутого несущего изображения элемента для освещения, которое располагается в нижней части упомянутого узла формирования изображения и фиксируется в упомянутом устройстве формирования изображения.
12. Устройство формирования изображения, содержащее: первый узел формирования изображения, включающий в себя первый несущий изображение элемент; второй узел формирования изображения, включающий в себя второй несущий изображение элемент; элемент промежуточного переноса, на который изображения, сформированные на упомянутых первом и втором узлах формирования изображения соответственно, переносятся; упомянутый элемент промежуточного переноса размещается в верхней части упомянутых первого и второго узлов формирования изображения; корпус для удержания и вмещения упомянутых первого и второго узлов формирования изображения и упомянутого элемента промежуточного переноса, упомянутый корпус является выдвигаемым из устройства формирования изображения вместе с упомянутым первым и вторым узлами формирования изображения и упомянутым элементом промежуточного переноса, поддерживаемым им; и поддерживающий элемент, прикрепленный к указанному корпусу для удержания упомянутого элемента промежуточного переноса при вращении относительно упомянутого корпуса, отверстие для установки и снятия упомянутых первого и второго узлов формирования изображения посредством вращения упомянутого элемента промежуточного переноса, удерживаемого указанным поддерживающим элементом после выдвижения корпуса из устройства формирования изображения.
13. Устройство по п.12, в котором упомянутый поддерживающий элемент размещается так, что ось вращения упомянутого поддерживающего элемента параллельна с осью вращения упомянутого первого несущего изображение элемента.
14. Устройство по п.12, в котором первый узел формирования изображения расположен выше относительно расположения указанного второго узла формирования изображения, причем упомянутый поддерживающий элемент располагается ближе к первому узлу формирования изображения, чем ко второму узлу формирования изображения.
15. Устройство по п.12, в котором ось вращения упомянутого поддерживающего элемента перпендикулярна оси вращения упомянутого первого несущего изображение элемента.
16. Устройство по п.15, в котором упомянутый поддерживающий элемент располагается на задней или передней стороне корпуса по отношению к направлению выдвижения корпуса.
17. Устройство по п.12, в котором упомянутый корпус выдвигается из упомянутого устройства формирования изображения одновременно удерживаемым направляющим элементом, предусмотренным на втором корпусе.
18. Устройство по п.12, в котором упомянутый корпус целиком удерживает средство высокого напряжения для приложения высокого напряжения к упомянутому элементу промежуточного переноса для переноса изображения.
19. Устройство по п.12, в котором упомянутый корпус целиком удерживает средство обнаружения для обнаружения плотности изображения, изображения, переносимого на упомянутом элементе промежуточного переноса.
20. Устройство по п.12, дополнительно содержащее средство подачи проявителя для подачи проявителя на указанные первый и второй узлы формирования изображения, при этом указанное средство подачи проявителя является встраиваемым с возможностью отсоединения в упомянутый корпус.
21. Устройство по п.12, дополнительно содержащее средство накопления проявителя для накопления проявителя, которое является встраиваемым с возможностью отсоединения в упомянутый корпус.
22. Устройство по п.12, дополнительно содержащее средство экспонирования для экспонирования упомянутого несущего изображения элемента для освещения, которое располагается в нижней части упомянутых первого и второго узлов формирования изображения и фиксируется в упомянутом устройстве формирования изображения.
РИСУНКИ
|
|