|
|
(21), (22) Заявка: 2008127207/28, 07.07.2008
(24) Дата начала отсчета срока действия патента:
07.07.2008
(46) Опубликовано: 20.10.2009
(56) Список документов, цитированных в отчете о поиске:
JP 9005360 А, 10.01.1997. SU 429562 A1, 25.05.1974. GB 1149414 A, 23.04.1969. SU 976390 A1, 23.11.1982.
Адрес для переписки:
111250, Москва, ул. Красноказарменная, 12, ФГУП ВЭИ, патентно-лицензионный отдел, Е.Н. Лифановой
|
(72) Автор(ы):
Арсон Александр Григорьевич (RU), Остапенко Евгений Ильич (RU), Чурсинов Александр Михайлович (RU)
(73) Патентообладатель(и):
Федеральное государственное унитарное предприятие “Всероссийский электротехнический институт им. В.И. Ленина” (RU)
|
(54) БЕСКОНТАКТНЫЙ ИЗМЕРИТЕЛЬ ТОКА
(57) Реферат:
Изобретение относится к электротехнике и может быть использовано для измерения величины переменного тока, протекающего по проводам высоковольтных линий электропередач и по высоковольтному оборудованию подстанций. Бесконтактный измеритель тока, содержащий вторичную обмотку (1) трансформатора тока, генератор (2) и приемник (5) магнитного потока, оптоэлектронный преобразователь (8) и устройства (9) измерения, релейной защиты и автоматики. Генератор (2) и приемник (5) магнитного потока выполнены в виде размещенных соосно цилиндрических катушек индуктивности. Катушка индуктивности генератора (2) магнитного потока соединена с вторичной обмоткой (1) трансформатора тока, а катушка индуктивности приемника (5) магнитного потока соединена через оптоэлектронный преобразователь (8) с устройствами (9) измерения, релейной защиты и автоматики. Для уменьшения магнитного потока рассеяния, не сцепленного с катушкой индуктивности приемника (5) магнитного потока, при сохранении габаритов устройства и его надежной работы, катушки индуктивности генератора (2) и приемника (5) магнитного потока снабжены соосными с ними и идентичными по форме концентраторами (3, 6) магнитного потока соответственно. Каждый из концентраторов (3, 6) магнитного потока выполнен из материала с большой магнитной проницаемостью, имеет размещенную в полости соответствующей катушки индуктивности цилиндрическую часть, а вне ее – внешнюю часть, цилиндрический участок которой расположен со стороны катушки индуктивности, согласован с участком в виде усеченного конуса по большему его основанию и выполнен с диаметром D не менее внешнего диаметра d катушки индуктивности. Внешние части концентраторов (3, 6) магнитного потока меньшими основаниями усеченных конусов, на которых соосно концентраторам (3, 6) магнитного потока закреплены осесимметричные электростатические экраны (4, 7) из немагнитного материала, обращены друг к другу. Технический результат – повышение точности измерения за счет снижения потерь магнитного потока, наводящего ток в катушке индуктивности приемника магнитного потока. 1 ил.
Изобретение относится к электротехнике и может быть использовано для измерения величины переменного тока, протекающего по проводам высоковольтных линий электропередач и по высоковольтному оборудованию подстанций.
В настоящее время известно устройство (Патент Японии 6075081 В, МПК: G01R 15/22; 15/18; 19/00, опубликован 21.09.1994 г., [1]), позволяющее измерять ток в проводах линий электропередач и в высоковольтном оборудовании при обеспечении электрической прочности между токоведущими частями, находящимися под высоким потенциалом, и измерительными устройствами, а также устройствами релейной защиты и автоматики, находящимися под нулевым или очень низким потенциалом (до 220 В).
Это достигается при подключении к вторичной обмотке трансформатора тока, находящегося под высоким потенциалом, нагрузки в виде двух светодиодов, соединенных параллельно и включенных встречно. При такой схеме соединения интенсивность света, эмитируемого светодиодами, пропорциональна величине тока, протекающего по вторичной и первичной обмоткам трансформатора тока. Фотодиоды через изоляционное оптическое волокно соединены с фотоэлектрическими преобразователями, находящимися на низком потенциале, а те, в свою очередь, с суммирующим устройством, сигнал от которого передается в фильтр низких частот, после которого уже без помех, вызываемых электронной схемой преобразователей и сумматора, можно измерить величину тока в каждый полупериод промышленной частоты.
Однако эта конструкция [1] обладает существенным недостатком, заключающемся в том, что для получения высокого класса точности при измерении первичного тока светодиоды должны обладать абсолютно идентичными вольт-амперными характеристиками и абсолютно совпадающими значениями внешнего квантового выхода при одних и тех же значениях напряжения.
Кроме того, введение оптического волокна, находящегося во время эксплуатации под полным рабочим или испытательным напряжением, существенно уменьшает электрическую прочность изоляции между частями устройства, находящимися под высоким и низким потенциалами, а также приводит к уменьшению надежности конструкции за счет старения волокна.
Наиболее близким по технической сущности к предлагаемому устройству и выбранным в качестве прототипа является бесконтактный датчик тока (Заявка JP 9005360 А, МПК: G01R 15/18; 15/22; 15/14, опубликована 10.01.1997 г., [2]), содержащий генератор магнитного потока в виде катушки индуктивности, соединенной со вторичной обмоткой трансформатора тока, надетого на токоведущий провод, находящийся под высоким напряжением, и приемник магнитного потока в виде катушки индуктивности, расположенной соосно с катушкой индуктивности генератора магнитного потока и соединенной с усилителем, сигнал от которого поступает на устройства измерения, релейной защиты и автоматики.
Однако известное устройство [2] обладает существенным недостатком. Оно не может быть применено при высоком и сверхвысоком напряжениях, так как при этом расстояние между приемником магнитного потока и генератором магнитного потока должно быть значительным, чтобы обеспечить электрическую прочность изоляционного промежутка.
При высоком и сверхвысоком напряжении расстояние между катушками индуктивности генератора и приемника может быть настолько большим, что катушка индуктивности приемника окажется сцепленной с очень малой долей магнитного потока, создаваемого катушкой индуктивности генератора. Это приводит к уменьшению чувствительности приемника и, как следствие, к увеличению погрешности измерения за счет влияния на приемник внешних магнитных полей, не создаваемых измеряемым током.
Для уменьшения погрешности изменений в этом случае необходимо при сохранении расстояния между катушками индуктивности генератора и приемника значительно увеличить число витков провода в катушках, увеличить внутренний диаметр катушки индуктивности генератора и приемника, что приведет к увеличению габаритов, веса и цены устройства.
Задачей предлагаемого технического решения является создание конструкции бесконтактного измерителя тока, позволяющей уменьшить магнитный поток рассеяния, не сцепленный с катушкой индуктивности приемника магнитного потока, при сохранении габаритов измерительного устройства.
Техническим эффектом от использования предлагаемого бесконтактного измерителя тока является повышение точности измерения за счет снижения потерь магнитного потока, наводящего ток в катушке индуктивности приемника магнитного потока.
Решение поставленной задачи и соответствующий технический результат достигается тем, что в предлагаемом бесконтактном измерителе тока, содержащем вторичную обмотку трансформатора тока, генератор и приемник магнитного потока, оптоэлектронный преобразователь и устройства измерения, релейной защиты и автоматики, генератор и приемник магнитного потока выполнены в виде размещенных соосно цилиндрических катушек индуктивности, причем концы катушки индуктивности генератора магнитного потока соединены с концами вторичной обмотки трансформатора тока, установленного на токоведущей шине, а концы катушки индуктивности приемника магнитного потока соединены с соответствующими входами оптоэлектронного преобразователя, выходы которого соединены с устройствами измерения, релейной защиты и автоматики, катушки индуктивности генератора и приемника магнитного потока снабжены соосными с ними и идентичными по форме концентраторами магнитного потока, при этом каждый концентратор магнитного потока выполнен из материала с большой магнитной проницаемостью, имеет размещенную в полости соответствующей катушки индуктивности цилиндрическую часть и размещенную вне ее внешнюю часть, цилиндрический участок которой расположен со стороны катушки индуктивности, согласован с участком в виде усеченного конуса по большему его основанию и имеет диаметр D не менее внешнего диаметра d катушки индуктивности, причем внешние части концентраторов магнитного потока меньшими основаниями участков в виде усеченных конусов, на которых соосно концентраторам магнитного потока закреплены осесимметричные электростатические экраны из немагнитного материала, обращены друг к другу.
Цилиндрические части концентраторов магнитного потока, помещенные в полости катушек индуктивности, обеспечивают увеличение индукции магнитного поля в катушках индуктивности генератора и приемника магнитного потока.
С целью уменьшения рассеяния магнитного потока крайними витками катушки индуктивности расположенный с ее стороны цилиндрический участок внешней части каждого концентратора магнитного потока должен иметь диаметр D, равный или превышающий величину внешнего диаметра d соответствующей катушки индуктивности.
Выполненный в виде усеченного конуса участок внешней части концентратора магнитного потока обеспечивает концентрацию основного магнитного потока, связывающего две катушки индуктивности. При этом важно, чтобы образованный пересечением среза меньшего основания усеченного конуса с его боковой поверхностью угол был закрыт электростатическим экраном с целью повышения электрической прочности изоляции за счет выравнивания электрического поля, а следовательно, для обеспечения надежности всего устройства при сохранении его осевых и радиальных габаритов.
Из этого следует, что перечисленная совокупность отличительных признаков обеспечивает повышение точности измерения при сохранении габаритов и надежности работы устройства.
Сопоставление предлагаемой конструкции бесконтактного измерителя тока с уровнем техники и отсутствие описания аналогичного технического решения в известных источниках информации позволяет сделать вывод о соответствии предлагаемого устройства критерию “новизна “.
Заявляемое устройство характеризуется совокупностью признаков, проявляющих новые качества, что позволяет сделать вывод о соответствии критерию “изобретательский уровень”.
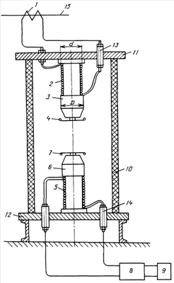
На фигуре схематически изображен бесконтактный измеритель тока (в разрезе) и токоведущая шина.
Предлагаемое измерительное устройство содержит вторичную обмотку 1 трансформатора тока, генератор магнитного потока 2 с размещенным в его катушке индуктивности концентратором магнитного потока 3, который снабжен электростатическим экраном 4, и приемник магнитного потока 5 с размещенным в его катушке индуктивности концентратором магнитного потока 6, который снабжен электростатическим экраном 7. Приемник магнитного потока 5 соединен с соответствующими входами оптоэлектронного преобразователя 8, выходы которого соединены с устройствами 9 измерения, релейной защиты и автоматики, например, при помощи оптической или электрической связи.
Генератор 2 и приемник 5 магнитного потока помещены в корпус 10 из изоляционного материала и закреплены на противоположных фланцах 11 и 12 соответственно корпуса 10. На фланцах 11 и 12, выполненных из немагнитного материала, установлены проходные низковольтные изоляторы 13 и 14 для соединения соответственно генератора магнитного потока 2 с вторичной обмоткой 1 трансформатора тока и для соединения приемника магнитного потока 5 с оптоэлектронным преобразователем 8.
При этом концентраторы магнитного потока 3 и 6 выполнены из материала с большой магнитной проницаемостью и имеют размещенные в полостях соответствующих катушек индуктивности цилиндрическую часть, а также размещенную вне катушек внешнюю часть. Внешняя часть каждого из концентраторов 3, 6 включает в себя расположенный со стороны катушки индуктивности цилиндрический участок и участок, выполненный в виде усеченного конуса, которые согласованы по большему основанию усеченного конуса. При этом диаметр D цилиндрического участка и большего основания усеченного конуса должен быть не менее внешнего диаметра d катушки индуктивности.
Концентраторы магнитного потока 3 и 6 меньшими основаниями участков в виде усеченных конусов обращены друг к другу. Соосно концентраторам магнитного потока 3 и 6 на меньших основаниях усеченных конусов закреплены осесимметричные электростатические экраны 4 и 7 соответственно.
На фигуре для пояснения процесса измерения изображена токоведущая шина 15, являющаяся одновременно первичной обмоткой трансформатора тока и проводником, ток которого измеряют.
Измерительное устройство работает следующим образом. При прохождении тока по токоведущей шине 15 во вторичной обмотке 1 трансформатора тока и в соединенной с ней катушке индуктивности генератора магнитного потока 2 возникает ток, а внутри катушки индуктивности генератора магнитного потока 2 создается магнитный поток, часть которого проходит внутри катушки индуктивности приемника магнитного потока 5. Для увеличения доли магнитного потока, проходящего через катушку индуктивности приемника магнитного потока 5, и тем самым для уменьшения магнитного потока рассеяния, в катушку индуктивности генератора магнитного потока 2 вставлен концентратор магнитного потока 3, а в катушку индуктивности приемника магнитного потока 5 – концентратор магнитного потока 6, выполненные из материала с большой магнитной проницаемостью. Электростатические экраны 4 и 7, закрывающие острую кромку на меньших по диаметру основаниях участков в виде усеченных конусов концентраторов магнитного потока 3 и 6 соответственно, выравнивают электрическое поле между указанными концентраторами магнитного потока 3 и 6, находящимися под полным напряжением, и тем самым позволяют уменьшить расстояние между ними, что, в свою очередь, позволяет увеличить долю магнитного потока, сцепленного с катушкой индуктивности приемника магнитного потока 5, и увеличить точность измерений предлагаемого устройства.
Формула изобретения
Бесконтактный измеритель тока, содержащий вторичную обмотку трансформатора тока, генератор и приемник магнитного потока, оптоэлектронный преобразователь и устройства измерения, релейной защиты и автоматики, при этом генератор и приемник магнитного потока выполнены в виде размещенных соосно цилиндрических катушек индуктивности, причем концы катушки индуктивности генератора магнитного потока соединены с концами вторичной обмотки трансформатора тока, установленного на токоведущей шине, а концы катушки индуктивности приемника магнитного потока соединены с соответствующими входами оптоэлектронного преобразователя, выходы которого соединены с устройствами измерения, релейной защиты и автоматики, отличающийся тем, что катушки индуктивности генератора и приемника магнитного потока снабжены соосными с ними и идентичными по форме концентраторами магнитного потока, при этом каждый концентратор магнитного потока выполнен из материала с большой магнитной проницаемостью, имеет размещенную в полости соответствующей катушки индуктивности цилиндрическую часть и размещенную вне ее внешнюю часть, цилиндрический участок которой расположен со стороны катушки индуктивности, согласован с участком в виде усеченного конуса по большему его основанию и имеет диаметр D не менее внешнего диаметра d катушки индуктивности, причем внешние части концентраторов магнитного потока меньшими основаниями участков в виде усеченных конусов, на которых соосно концентраторам магнитного потока закреплены осесимметричные электростатические экраны из немагнитного материала, обращены друг к другу.
РИСУНКИ
|
|