|
|
(21), (22) Заявка: 2008117183/28, 22.04.2008
(24) Дата начала отсчета срока действия патента:
22.04.2008
(46) Опубликовано: 20.10.2009
(56) Список документов, цитированных в отчете о поиске:
SU 1479851 A1, 15.05.1989. SU 594433 A1, 25.02.1978. SU 1659778 A1, 30.06.1991. US 4539837 A, 10.09.1985.
Адрес для переписки:
420015, Татарстан, г.Казань, ул. К. Маркса, 68, ГОУ ВПО “Казанский государственный технологический университет”, отдел МСИС
|
(72) Автор(ы):
Аверко-Антонович Игорь Вадимович (RU), Кузьмин Валерий Васильевич (RU), Фафурин Виктор Андреевич (RU), Чупаев Андрей Викторович (RU)
(73) Патентообладатель(и):
Государственное образовательное учреждение высшего профессионального образования “Казанский государственный технологический университет” (RU)
|
(54) УСТРОЙСТВО ДЛЯ ИЗМЕРЕНИЯ ВЯЗКОСТИ ЖИДКОСТИ
(57) Реферат:
Изобретение относится к области исследования вязкостных свойств жидких сред. Устройство содержит капилляр, закрепленный в нижней части заборной емкости, содержащей поршень со штоком, два конечных выключателя, реверсивный электродвигатель, источник питания. Заборная емкость устройства выполнена в виде цилиндра, и оно дополнительно содержит подвижную платформу, прикрепленную к штоку поршня и посредством направляющих соединенную с неподвижной платформой, с закрепленными на ней датчиком усилия и шторкой, замыкающей контакты конечных выключателей, выполненных в виде герконов. К неподвижной платформе прикреплен винт с пазом, удерживаемый от вращения с помощью втулок с направляющим шипом и связанный с реверсивным электродвигателем постоянного тока, управляемым блоком регулировки и стабилизации оборотов, через гайку и систему зубчатых колес. Гайка расположена между коническими подшипниками скольжения, а на одном из зубчатых колес установлена оптопара, соединенная так же как и два конечных выключателя, датчик усилия с универсальным блоком управления и обработки информации, который содержит блок регулировки и стабилизации оборотов, электронное табло индикации вязкости и источник питания. Технический результат: создание устройства для измерения вязкости жидкости, позволяющее измерять вязкость с высокой точностью и надежностью. 3 ил.
Изобретение относится к области исследования вязкостных свойств жидких сред, а точнее к технике измерения вязкости жидкостей с помощью капиллярных вискозиметров.
Известен капиллярный вискозиметр типа ВПЖ, который применяется в промышленных лабораториях для определения вязкости различных жидких сред, содержащий колено с отводной трубкой, соединенное со вторым коленом, содержащим два резервуара и измерительный капилляр. Прибор изготовлен в соответствии с ГОСТ 10028-81.
В данном приборе измерение динамической вязкости осуществляется путем определения времени истечения через капилляр определенного объема жидкости из измерительного резервуара с помощью секундомера.
К недостаткам данного вискозиметра следует отнести низкую производительность, невозможность осуществления автоматического измерения вязкости, так как необходимо производить очистку измерительного прибора и перезаполнение его новой порцией исследуемой жидкости. Также существует ряд погрешностей при измерении, а именно: погрешность измерения времени, связанная с реакцией наблюдателя; погрешность секундомера; визуальные ошибки; неправильная установка прибора.
Известно устройство для измерения вязкости, позволяющее частично автоматизировать процесс ее измерения. Устройство имеет в качестве нагружающего элемента предварительно сжатую пружину, помещенную в цилиндрическую емкость с поршнем, к нижней части которой прикреплен патрубок с отверстием для забора и сброса испытуемой жидкости, соединенный через систему трубок с измерительным сосудом, который состоит из прозрачного цилиндрического корпуса, с нанесенной на него шкалой, содержащего поплавок и указатель, выполненный в виде поршня со штоком, см. RU Патент 2184362, МПК G01N 11/00, 2002.
В этом устройстве вязкость определяется по количеству жидкости, вытесненной в измерительный сосуд под постоянным давлением.
Недостатками данного устройства являются низкая точность и надежность измерения, связанная с визуальными ошибками наблюдателя и характеристиками пружины, малая производительность и отсутствие возможности универсального использования из-за необходимости выполнения ряда операций вручную.
Известен вискозиметр, позволяющий измерять вязкость различных жидких сред и отчасти автоматизировать процесс измерения. Вискозиметр содержит цилиндрическую емкость с клапаном в верхней части и прикрепленным к ее нижней части измерительным капилляром, внутри которой помещен поршень со штоком, причем поршень имеет калиброванное отверстие, находящееся напротив клапана, а на части штока, которая находится вне цилиндрической емкости, имеется пружина, см. RU Патент 2248551, МПК G01N 11/00, 2002.
В данном вискозиметре вязкость определяется по количеству исследуемой жидкости, попавшей в измерительный капилляр за счет вакуума, созданного поршнем при воздействии на него пружины.
Недостатками данного вискозиметра являются низкая точность и надежность измерения из-за визуальных ошибок наблюдателя и характеристик пружины, а также отсутствие возможности универсального использования из-за необходимости выполнения ряда операций вручную.
Наиболее близким по технической сущности к заявленному является устройство для измерения вязкости жидкости в трубопроводе, включающее капилляр, закрепленный в нижней части заборной емкости, содержащей поршень со штоком, два конечных выключателя, реверсивный электродвигатель, источник питания, устройство также содержит расположенный с противоположной стороны трубопровода и по одной оси второй капилляр, закрепленный в нижней части второй заборной емкости, содержащей поршень со штоком, причем штоки поршней соединены с подвижной рамой, которая прикреплена к штоку линейного реверсивного электродвигателя, кулачок, закрепленный на штоке первого поршня, нажимает на конечные выключатели, которые соединены со входам триггера, управляемого стабилизированным источником питания, и изменяющие его состояние на противоположное, в результате чего осуществляется реверс электродвигателя, выход триггера соединен с блоком отсчета времени движения поршня и с входом управления источника питания, причем блок отсчета времени связан с блоком индикации вязкости, а выход источника питания соединен с реверсивным линейным электродвигателем, см. SU авт. свид. 1479851, МПК G01N 11/04, 1989.
Значение вязкости определяется по времени полного цикла движения рамы, фиксируемому блоком отсчета времени движения, который управляется триггером. С выхода блока отсчета времени движения код, равный или пропорциональный времени полного цикла движения, поступает на блок индикации вязкости, где преобразуется в значение вязкости измеряемого продукта согласно уравнению Пуазейля.
Недостатками данного устройства являются высокая погрешность измерения вязкости жидкости из-за косвенного определения скорости истечения исследуемой жидкости через капилляр, а также слабая надежность измерения из-за подвижной рамы, которая должна иметь высокую жесткость, для избежания ее продольной деформации при высоких значениях вязкости исследуемой жидкости, и второй заборной емкости с капилляром, которая увеличивает сопротивление крутящему моменту на валу двигателя.
Задачей изобретения является создание устройства для измерения вязкости жидкости, позволяющего измерять вязкость с высокой точностью и надежностью.
Техническая задача решается устройством для измерения вязкости жидкости, включающим капилляр, закрепленный в нижней части заборной емкости, содержащей поршень со штоком, два конечных выключателя, реверсивный электродвигатель, источник питания, заборная емкость устройства выполнена в виде цилиндра, и оно дополнительно содержит подвижную платформу, прикрепленную к штоку поршня и посредством направляющих соединенную с неподвижной платформой, с закрепленными на ней датчиком усилия и шторкой, замыкающей контакты конечных выключателей, выполненных в виде герконов, при этом, к неподвижной платформе прикреплен винт с пазом, удерживаемый от вращения с помощью втулок с направляющим шипом и связанный с реверсивным электродвигателем постоянного тока, управляемым блоком регулировки и стабилизации оборотов, через гайку и систему зубчатых колес, при этом гайка расположена между коническими подшипниками скольжения, а на одном из зубчатых колес установлена оптопара, соединенная так же как и два конечных выключателя, датчик усилия с универсальным блоком управления и обработки информации, который содержит блок регулировки и стабилизации оборотов, электронное табло индикации вязкости и источник питания.
Решение технической задачи позволяет измерять вязкость жидкости с высокой точностью и надежностью за счет того, что благодаря конструкции устройства принудительно постоянной задается скорость истечения исследуемой жидкости через капилляр, а измеряемым параметром является усилие, которое возникает при проталкивании исследуемой жидкости через капилляр. Принудительное задание постоянной скорости истечения приводит к улучшению качественной картины движения потока исследуемой жидкости, что придает точность измерениям в сравнении с традиционными, широко известными методами.
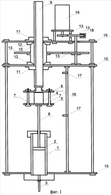
На фиг.1 показана кинематическая схема устройства. На фиг.2 показано схематичное изображение заборной емкости 1 с указанием длины L, диаметра d и длины рабочего участка Lpaб, содержащей поршень 2, толкаемый с усилием F, присоединенным к нижней части заборной емкости капилляром 3 с указанием длины lк и диаметра dк. На фиг.3 представлена функциональная схема электронной части устройства.
Конструкция устройства для измерения вязкости жидкости содержит заборную емкость 1, с прикрепленным в нижней части капилляром 3, внутри которой помещен поршень 2, к которому прикреплен шток 8, соединенный с подвижной платформой 5, связанной посредством направляющих 7 с неподвижной платформой 6, с закрепленными на ней датчиком усилия 4 и шторкой 16, замыкающей контакты конечных выключателей – герконов 17. К неподвижной платформе 6 прикреплен винт с пазом 9, удерживаемый от вращательного движения с помощью втулок с направляющим шипом 11 и связанный с реверсивным двигателем постоянного тока через гайку 10, которая опирается на конические подшипники скольжения 12, и систему зубчатых колес 13, на одном из которых установлена оптопара 18. Система зубчатых колес приводится в движение электродвигателем постоянного тока 14. Управление работой реверсивного двигателя постоянного тока 14, а также обработку информации, полученной от датчика усилия 4, конечных выключателей – герконов 17 и оптопары 18, осуществляет универсальный блок управления и обработки информации 20, включающий в себя блок регулировки и стабилизации оборотов 19 и электронное табло 21. Блок регулировки и стабилизации оборотов 19 и универсальный блок управления и обработки информации 20 соединены с источником питания 22.
Устройство для измерения вязкости жидкости работает следующим образом:
В заборной емкости 1 поршень 2 совершает возвратно-поступательное движение. Это движение создается с помощью винта с направляющим пазом 9. Он движется вертикально по втулкам с направляющими шипами 11, которые не дают ему возможности вращаться. Винт приводится в движение гайкой 10, которая в свою очередь вращается системой зубчатых колес 13 от приводного электродвигателя постоянного тока 14, который управляется блоком регулировки и стабилизации оборотов. Винт 9 соединен с поршнем 2 через блок измерения усилия, в состав которого входят: неподвижная платформа 6, подвижная платформа 5, направляющие 7 и датчик усилия 4. При измерении вязкости, то есть, когда поршень движется вниз, жидкость выдавливается через капилляр 3. При этом за счет вязкости жидкости создается противодействие движению поршня 2. Это приводит к тому, что подвижная платформа 5, соединенная штоком 8 с поршнем, скользит по направляющим 7 и деформирует чувствительный элемент датчика усилия 4. Начало рабочего участка цилиндра определяется программно, а его протяженность – с помощью оптопары 18, смонтированной на одном из зубчатых колес, которое также выполняет роль обтюратора. При заборе исследуемой жидкости, то есть когда поршень 2 движется вверх, датчик усилия 4 находится в свободном положении, а движение поршню 2 передается через подвижную платформу 5, которая в этот момент упирается в выступы на направляющих 7. Это необходимо для связи подвижной платформы 5 и неподвижной платформы 6 при заборе жидкости. Жидкость засасывается через капилляр 3. Реверс электродвигателя постоянного тока 14 осуществляется с помощью конечных выключателей – герконов 17, которые замыкаются магнитом, закрепленным на шторке 16, в моменты, когда поршень 2 находится в крайних верхнем или нижнем положениях. Вся конструкция смонтирована на станине 15.
Управление работой устройства для измерения вязкости жидкости и обработка измерительной информации, полученной от измерительных элементов устройства – датчика усилия 4, оптопары 18 и концевых выключателей – герконов 17, осуществляется универсальным блоком управления и обработки информации 20, включающим в себя блок регулировки и стабилизации оборотов 19, который поддерживает постоянной скорость вращения двигателя при различных нагрузках на валу. Универсальный блок управления и обработки информации 20 выполняет следующие основные функции: измерение времени прохождения поршнем 2 рабочего участка цилиндра, преобразование оцифрованного сигнала от датчика усилия 4 в величину, измеряемую в реальных единицах силы, вычисление вязкости исследуемой жидкости по полученным данным и вывод информации на электронное табло индикации вязкости 21, в удобной для пользователя форме. Питание электронной части устройства и блока регулировки и стабилизации оборотов 19 осуществляется с помощью источника питания 22.
Капиллярный метод измерения вязкости основывается на формуле Пуазейля:

где
µ – вязкость;
Р – перепад давления на капилляре;
d – диаметр капилляра;
l – длина капилляра;
Q – объем жидкости, вытекающий в единицу времени.
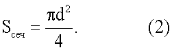
Объем жидкости Q, вытекающий в единицу времени t, равен произведению площади поперечного сечения Sсеч и длины l. В свою очередь, площадь поперечного сечения равна:

Умножив правую часть уравнения 2 на рабочую длину заборной емкости Lраб и на время , получим объемный расход:

Подставив правую часть полученного выражения в уравнение 1, получим модифицированную формулу определения динамической вязкости, учитывающую все конструктивные особенности предлагаемого устройства:

где d – диаметр капилляра [м],
1 – длина капилляра [м],
D – диаметр заборной емкости [м],
Lpaб – длина рабочего участка (заборной емкости) [м],
Р – перепад давления [Па],
– время [с].
Перепад давления на капилляре пропорционален произведению усилия, необходимого для проталкивания исследуемой жидкости через капилляр, и площади сечения заборной емкости.

Выразим из формулы 5 усилие F

Таким образом, зная диаметры, длину капилляра, а также рабочую длину заборной емкости и измерив усилие, необходимое для проталкивания исследуемой жидкости через капилляр, и время процесса измерения, можно вычислить вязкость жидкости. Учитывая, что геометрические размеры заборной емкости и капилляра постоянны, получим упрощенную формулу.

где K – постоянный коэффициент, учитывающий геометрические размеры капилляра и заборной емкости;
F – усилие, необходимое для проталкивания исследуемой жидкости через измерительный капилляр;
– время измерения.
Таким образом, предлагаемое устройство для измерения вязкости жидкости позволит измерять вязкость с высокой точностью и надежностью, а также использовать его как на трубопроводе, так и в производственных лабораториях. Основная приведенная погрешность измерения вязкости предлагаемым устройством составляет порядка 1%, что соответствует основным показателям технического уровня и качества, согласно ГОСТ 29226-91.
Формула изобретения
Устройство для измерения вязкости жидкости, включающее капилляр, закрепленный в нижней части заборной емкости, содержащей поршень со штоком, два конечных выключателя, реверсивный электродвигатель, источник питания, отличающееся тем, что заборная емкость устройства выполнена в виде цилиндра, и оно дополнительно содержит подвижную платформу, прикрепленную к штоку поршня и посредством направляющих соединенную с неподвижной платформой, с закрепленными на ней датчиком усилия и шторкой, замыкающей контакты конечных выключателей, выполненных в виде герконов, при этом к неподвижной платформе прикреплен винт с пазом, удерживаемый от вращения с помощью втулок с направляющим шипом и связанный с реверсивным электродвигателем постоянного тока, управляемым блоком регулировки и стабилизации оборотов, через гайку и систему зубчатых колес, при этом гайка расположена между коническими подшипниками скольжения, а на одном из зубчатых колес установлена оптопара, соединенная, также как и два конечных выключателя, датчик усилия с универсальным блоком управления и обработки информации, который содержит блок регулировки и стабилизации оборотов, электронное табло индикации вязкости и источник питания.
РИСУНКИ
|
|