|
|
(21), (22) Заявка: 2007128473/28, 24.07.2007
(24) Дата начала отсчета срока действия патента:
24.07.2007
(43) Дата публикации заявки: 27.01.2009
(46) Опубликовано: 20.10.2009
(56) Список документов, цитированных в отчете о поиске:
SU 296023 A1, 12.11.1971. RU 2173595 C2, 20.09.2001. SU 1288542 A1, 07.02.1987. EP 0693330 A1, 24.01.1996.
Адрес для переписки:
445633, Самарская обл., г. Тольятти, ул. Заставная, 2, корп.3/1, ОАО “АВТОВАЗ” ДКУ, ПЛО, А.П. Голикову
|
(72) Автор(ы):
Ананченко Игорь Юрьевич (RU), Кирюшин Александр Анатольевич (RU), Афанасьев Евгений Васильевич (RU), Жарков Валерий Алексеевич (RU)
(73) Патентообладатель(и):
Открытое акционерное общество “АВТОВАЗ” (RU)
|
(54) СПОСОБ ИСПЫТАНИЯ ЛИСТОВОГО МАТЕРИАЛА НА ПРУЖИНЕНИЕ И ПРЕДЕЛЬНЫЕ ПАРАМЕТРЫ ПРИ ДВУХУГЛОВОЙ ГИБКЕ С ПРИЖИМОМ КРАЕВ ОБРАЗЦА (ВАРИАНТЫ)
(57) Реферат:
Изобретение относится к листовой штамповке. Сущность: осуществляют испытание на изгиб двух полок образца на любой угол до 90°. Для испытания в качестве технического устройства используют штамп-прибор с пуансонами и матрицами, причем штамп-прибор устанавливается на прессовое оборудование, а в качестве измерительных приборов применяют индикаторы и транспортиры повышенной точности, при помощи которых с высокой точностью определяют линейные и угловые параметры образца после разгрузки. Технический результат: разработка нового способа, позволяющего более строго определить пригодность материала для штамповки деталей повышенной точности. 7 н.п. ф-лы, 7 ил.
Изобретение относится к листовой штамповке и может быть использовано во всех отраслях народного хозяйства для оценки параметров деформирования и штампуемости различных листовых материалов (металлов и неметаллов) при проектировании технологических процессов изготовления разнообразных деталей и изделий из этих листовых материалов, преимущественно для оценки штампуемости материалов из листового проката металла (в виде листа, полосы, ленты или рулона) перед гибкой и вытяжкой из этих материалов деталей автомобилей, тракторов, сельхозмашин, бытовой и другой техники на прессах простого, двойного и тройного действий, а также на многопозиционных прессах-автоматах, например, для гибки и вытяжки кузовных деталей автомобилей.
Известен способ технологического испытания листового материала на пружинение после загиба угла листового материала, например угла верхнего, не прижатого листа в пачке листов при помощи прибора “Flex” (Романовский В.П. Справочник по холодной штамповке. Л.: Машиностроение, 1979. – с.495). Прибор “Flex” устанавливается полкой на лист так, чтобы угловой конец листа вошел в прорезь планки. Поворотом скобы угол листа загибается на 60 градусов до определенного положения. Упругое смещение пластины отмечается индикатором.
Прибор снабжается таблицами упругих отклонений для различных материалов и толщин.
Недостатки этого способа следующие: низкие точность и надежность результатов испытания, т.к. прибор невозможно точно зафиксировать в углу листа. Когда после гибки угла этот угол обратно выпрямляется, то в месте изгиба остается неровность, которая может осложнить последующее изготовление деталей из этого листа. Невозможность вручную изогнуть угол достаточно толстого листа. Изгиб листа при помощи данного прибора не соответствует производственным способам гибки листа при помощи пуансона и матрицы штампа.
Известен способ технологического испытания листового материала на пружинение при гибке по Эйлеру. (Романовский В.П. Справочник по холодной штамповке. Л.: Машиностроение, 1979. – с.495). В прибор вставляется полоса в виде образца из листового материала. Далее производится изгиб этой полосы, вставленной в паз поворотно-сменного пуансона прибора с заданным отношением радиуса пуансона к толщине полосы. По шкале отсчитывается угол пружинения для различных отношений радиуса пуансона к толщине полосы и различных углов изгиба.
Недостатки этого способа следующие. Низкая точность результатов испытания, т.к. угол определяется визуально по грубой шкале в градусах. Невозможность вручную изогнуть образец из достаточно толстого листа. Изгиб листа при помощи данного прибора не соответствует производственным способам гибки листа при помощи пуансона и матрицы штампа.
Наиболее близким аналогом к предлагаемому способу (по технической сущности и достигаемому эффекту) является способ технологического испытания листового материала на пружинение А.Е.Розенбелова (Розенбелов А.Е. Прибор для испытания листового материала на пружинение. Авторское свидетельство СССР 296023, G01n 3/26a, опубл. 12.11.71, бюллетень 8). В этот прибор вставляется полоса в виде образца из листового материала. Далее производится изгиб этой полосы вокруг пуансона с заданным отношением радиуса изгиба к толщине полосы. После освобождения полосы по шкале отсчитывается угол пружинения для различных отношений радиуса изгиба к толщине полосы и различных углов изгиба.
Недостатки этого способа следующие: низкая точность результатов испытания, т.к. угол определяется визуально по грубой шкале в градусах. Невозможность вручную изогнуть образец из достаточно толстого листа. Изгиб листа при помощи данного прибора не соответствует производственным способам гибки листа при помощи пуансона и матрицы штампа.
Целью изобретения является разработка нового способа технологического испытания листового материала на пружинение и предельные параметры при двухугловой гибке с прижимом краев образца, в большей мере (чем известные способы) соответствующего схеме деформирования и формоизменения заготовки в производственных условиях на операциях гибки и вытяжки разнообразных деталей и позволяющего более строго определить пригодность материала для штамповки деталей повышенной точности на данных операциях.
Поставленная цель достигается тем, что плоский образец в виде узкой длинной полосы укладывают в штамп-прибор, прижимают его края, изгибают его на проход в отверстие между двумя матрицами при помощи пуансона и с помощью трех или пяти индикаторов определяют параметры пружинения образца после разгрузки.
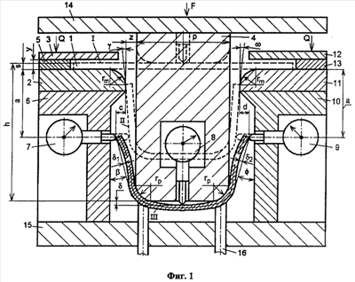
На фиг.1 показаны три этапа гибки образца в штампе-приборе:
I – начало изгиба плоского образца 1, показанного пунктирной линией, пуансоном шириной “p”;
II – момент изгиба, когда левый и правый края образца 1, показанного пунктирной линией, одновременно касаются нижних точек закругленных кромок двух матриц радиуса rm после изгиба от горизонтали по двум закругленным рабочим кромкам пуансона радиуса rp на максимальные углы, близкие к 90° и равные соответственно 90°- и 90°- ; в этот момент левая и правая полки образца отклонены от вертикали в зазоре z между пуансоном и двумя матрицами на исходные углы и ;
III – момент, когда оба края образца опустились на уровень горизонтальных осей двух индикаторов и стрелки этих индикаторов показывают два максимальных горизонтальных отклонения двух полок образца “с” и “d” от вертикальных линий краев двух матриц за счет пружинения образца.
Способ осуществляется следующим образом. Из испытуемого материала (в виде листа, полосы, рулона или ленты) вырезают плоский образец 1 в виде узкой длинной полосы толщиной s, шириной b и длиной L, складывающейся из длины под плоским торцом пуансона p-2rp, длины напротив двух радиусных закруглений пуансона 2(rp+s/2) /2 по средней линии образца и длины двух полок изогнутого образца 21. Для статистической обработки результатов испытания таких образцов вырезают несколько штук (например, шесть), причем образцы могут быть вырезаны вдоль направления прокатки, поперек или под каким-то углом (например, 45°) к направлению прокатки. Данный способ может быть применен не только для испытания листового материала, но и для физического моделирования заданного технологического процесса гибки. В последнем случае целесообразно выдержать постоянство следующих безразмерных параметров процесса и испытания: rp/s, rm/s, b/s, p/s, l/s, L/s, µ, где µ – коэффициент трения, выбираемый по справочной литературе. Листовой материал модели (образца) и натуры (изгибаемой детали) должен обладать одинаковыми упругими и пластическими свойствами. После такого моделирования оценивается возможность гибки детали с заданными по чертежу отклонениями и параметрами точности. По данному способу можно испытать материал нескольких марок и толщин с различными механическими свойствами и выбрать наиболее подходящий металл с минимальным пружинением. В этом случае необходимо задаться определенными размерами образца и штампа-прибора и оценивать пружинение по результатам следующего испытания.
Для испытания в качестве устройства используют штамп-прибор с расположенными внизу двумя матрицами 2, 11 с закругленными рабочими кромками радиуса rm, с расположенным вверху на расстоянии зазора z от каждой матрицы прямоугольным пуансоном 4 с плоским торцом и двумя закругленными рабочими кромками радиуса rp и двумя прижимами 3, 12 для прижима краевых частей образца. Зазор между матрицами и прижимами обеспечивают прокладками 5, 13. Для уменьшения отрицательного воздействия на результат испытания сил трения между рабочими поверхностями матриц и прижимов и поверхностями образца в процессе его перемещения во время испытания величина этого зазора “у” должна быть гарантированно больше номинальной толщины образца s с учетом верхнего предельного отклонения . Однако зазор должен быть минимальным, чтобы угол гибки был как можно ближе к прямому углу в 90°. Зазор “у” задают на 10% больше максимальной толщины образца (s+ ) и равным y=1,1(s+ ).
Штамп-прибор оснащают двумя индикаторами 7, 9 с горизонтальным осями на расстоянии “а” по вертикали вниз от рабочих поверхностей двух матриц 2, 11. Начало отсчета этих индикаторов устанавливают от вертикальной линии рабочего края соответствующей матрицы 2 и 11. Внутри пуансона 4 по его оси симметрии размещают третий индикатор 8 с вертикальной осью. Начало отсчета этого индикатора устанавливают от горизонтальной плоскости торца пуансона 4. Точность изготовления штампа-прибора повышенная.
Плоский образец 1 в виде узкой длинной полосы толщиной s, шириной b и длиной L укладывают на рабочие поверхности двух матриц 2, 11 симметрично относительно вертикальной оси штампа-прибора. Затем на прессе, испытательной машине или вручную задают вертикальное перемещение или только одному пуансону, или только матрицам, или и пуансону и матрицам навстречу друг другу. Рабочие поверхности пуансона и матриц входят в контакт с образцом и постепенно с увеличивающимся углом изгибают одни участки образца вокруг закругления пуансона радиуса rp, а другие участки образца изгибают вокруг закругления матрицы радиуса rm, перемещают по этому закруглению и спрямляют при сходе с этого закругления в два зазора z между пуансоном и матрицами.
В процессе изгиба образца определяют ход пуансона h в момент (этап II на фиг.1), когда оба края образца одновременно коснутся нижних точек закруглений двух матриц. По формуле

рассчитывают одинаковые исходные углы и отклонения левой и правой полок образца от вертикали в зазоре z между пуансоном и матрицами при максимальном угле изгиба.
Если два края образца коснутся нижних точек радиусных закруглений матриц при различных ходах пуансона h, то по формуле (1) для каждого хода пуансона h рассчитывают разные исходные углы и .
По мере изгиба образца боковые поверхности двух изогнутых полок образца касаются двух индикаторов 7, 9 с горизонтальным осями. После опускания краев образца ниже матриц 2, 11 образец разгружается и его изогнутые полки начинают расходиться под воздействием упругих деформаций. Оба индикатора 7, 9 показывают увеличивающееся отклонение полок образца от вертикальной линии. Чтобы образец произвольно не падал и оставался в контакте с пуансоном, его поддерживают снизу подпружиненными толкателями 16. Сила, с которой толкатели воздействуют на образец, небольшая, чтобы не вызвать деформирование образца.
Перемещение пуансона или матрицы прекращают в момент, когда оба края образца опустятся на уровень горизонтальных осей двух индикаторов 7, 9 и стрелки этих индикаторов будут показывать два максимальных горизонтальных отклонения двух полок образца “с” и “d” от вертикальных линий краев двух матриц за счет пружинения образца. Далее по формулам


рассчитывают углы и отклонения образца от вертикали.
По индикатору 8 внутри пуансона 4 определяют прогиб участка образца под торцом пуансона.
Окончательно два угла пружинения и двух полок образца толщиной s, шириной b и длиной L после изгиба по закругленным рабочим кромкам пуансона и матриц на углы, близкие к 90° и равные соответственно 90°- и 90°- , рассчитывают по формулам

Далее образец вынимают из штампа-прибора и при помощи измерительных приборов определяют два прогиба 1, 2 (фиг.1) у обеих полок образца после их изгиба и спрямления, при перемещении во время испытания по закругленной кромке матрицы радиуса rm и после разгрузки.
В безразмерных переменных относительные углы пружинения образца и рассчитывают как отношение угла пружинения к углу изгиба по формулам

В безразмерных переменных относительный прогиб участка образца под торцом пуансона рассчитывают по формуле

Относительные прогибы 1, 2 у обеих полок образца рассчитывают по формулам

На производстве, при проектировании технологических процессов листовой штамповки деталей, из рассчитанных в результате испытания двух углов пружинения и для двух симметричных полок образца, а также двух прогибов и для этих же полок образца учитывают либо максимальное значение либо минимальное, либо среднее в зависимости от технических условий на деталь.
Чтобы изгиб образца происходил без его принудительного утонения, зазор z между пуансоном и каждой из матриц должен быть равен или больше номинальной толщины образца s с учетом верхнего предельного отклонения . Наименьший предельный зазор zmin задают равным наибольшей предельной толщине образца s+ , а именно zmin=s+ . Наибольший предельный зазор zmax должен быть минимальным, чтобы угол гибки был как можно ближе к прямому углу в 90°. Величина наибольшего предельного зазора zmax зависит от толщины и марки материала образца, длины отгибаемых полок и других факторов. Для наиболее распространенных толщин и материалов наибольший предельный зазор zmax задают на 20% большим наибольшей предельной толщины образца s+ , а именно zmax=1,2(s+ ). Если испытывают образец с действительной толщиной s+ в штампе-приборе с действительным зазором s+ , то углы гибки полок образца равны ровно 90°. Если длина отгибаемых полок достаточно велика, например равна 100 номинальным толщинам образца, то даже для наибольшего предельного зазора углы гибки полок образца весьма близки к 90°, и с погрешностью до 0,2% принимают, что исходные углы и отклонения полок образца от вертикали равны нулю, а углы гибки обеих полок образца равны 90°.
По варианту 2 (фиг.2) образец укладывают не на матрицы, а на прижимы и способ осуществляется следующим образом. Из испытуемого материала (в виде листа, полосы, рулона или ленты) вырезают плоский образец 1 в виде узкой длинной полосы толщиной s, шириной b и длиной L. Для испытания в качестве устройства используют штамп-прибор с расположенными вверху двумя матрицами 2, 11 с закругленными рабочими кромками радиуса rm, с расположенным внизу на расстоянии зазора z от каждой матрицы прямоугольным пуансоном 4 с плоским торцом и двумя закругленными рабочими кромками радиуса rp и двумя прижимами 3, 12 краевых частей образца. Зазор между матрицами и прижимами обеспечивают прокладками 5, 13 толщиной большей номинальной толщины образца с учетом верхнего предельного отклонения. Прижимы 3, 12 опирают через толкатели 17 на пружины штампа-прибора или подушку пресса. Штамп-прибор оснащают двумя индикаторами 7, 9 с горизонтальным осями на расстоянии “а” по вертикали вверх от рабочих поверхностей двух матриц 2, 11. Начало отсчета этих индикаторов устанавливают от вертикальной линии рабочего края соответствующей матрицы 2 и 11. Внутри пуансона 4 по его оси симметрии размещают третий индикатор 8 с вертикальной осью. Начало отсчета этого индикатора устанавливают от горизонтальной плоскости торца пуансона 4.
Плоский образец 1 в виде узкой длинной полосы толщиной s, шириной b и длиной L укладывают на прижимы 3, 12 симметрично относительно вертикальной оси штампа-прибора. Затем проводят испытание этого образца по варианту 1.
По варианту 3 (фиг.3), для определения прогибов полок 1, 2 образец не вынимают из штампа-прибора, а используют встроенные в штамп-прибор два индикатора и способ осуществляется следующим образом. Изгиб двух полок образца осуществляют на угол, равный или близкий к 90°. Для испытания в качестве устройства используют штамп-прибор с расположенным вверху прямоугольным пуансоном 4 с плоским торцом и двумя закругленными рабочими кромками радиуса rp, с расположенными внизу на расстоянии зазора z с каждой стороны от пуансона двумя матрицами 2, 11 с закругленными рабочими кромками радиуса rm двумя прижимами 3, 12 краевых частей образца 1. Зазор между матрицами и прижимами обеспечивают прокладками 5, 13 толщиной большей номинальной толщины образца с учетом верхнего предельного отклонения. Штамп-прибор оснащают двумя индикаторами 7, 9 с горизонтальными осями на расстоянии “а” по вертикали вниз от рабочих поверхностей двух матриц, начало отсчета этих индикаторов устанавливают от двух вертикальных линий рабочих краев двух матриц, двумя индикаторами 18, 21 с поворотными осями для измерения прогибов 1, 2 двух полок образца после разгрузки, индикатором 8 с вертикальной осью внутри пуансона по его оси симметрии, начало отсчета этого индикатора устанавливают от горизонтальной плоскости торца пуансона. Плоский образец в виде узкой длинной полосы толщиной s, шириной b и длиной L укладывают на матрицы симметрично относительно вертикальной оси штампа-прибора, затем проводят испытание по варианту 1, только для определения прогибов полок 1, 2 образец не вынимают из штампа-прибора, а используют встроенные в штамп-прибор два индикатора 18, 21. Перед измерениями два индикатора 18, 21 поворачивают при помощи поворотных механизмов 17, 20 на углы и таким образом, чтобы ось каждого индикатора была перпендикулярна плоскости, касательной к изогнутой полке образца. Углы и определяют и по встроенным в штамп-прибор транспортирам 19 и 22 и рассчитывают по формулам (2) и (3). Далее при расчете двух углов пружинения и по формуле (4) используют те значения углов и , которые определены с большей точностью для конкретных параметров образца.
По варианту 4 (фиг.4) образец укладывают не на матрицы, а на прижимы, и способ осуществляется следующим образом. Из испытуемого материала (в виде листа, полосы, рулона или ленты) вырезают плоский образец 1 в виде узкой длинной полосы толщиной s, шириной b и длиной L. Для испытания в качестве устройства используют штамп-прибор с расположенными вверху двумя матрицами 2, 11 с закругленными рабочими кромками радиуса rm, с расположенным внизу на расстоянии зазора z от каждой матрицы прямоугольным пуансоном 4 с плоским торцом и двумя закругленными рабочими кромками радиуса rp и двумя прижимами 3, 12 краевых частей образца. Зазор между матрицами и прижимами обеспечивают прокладками 5, 13 толщиной большей номинальной толщины образца с учетом верхнего предельного отклонения. Прижимы 3, 12 опирают через толкатели 23 на пружины штампа-прибора или подушку пресса. Штамп-прибор оснащают двумя индикаторами 7, 9 с горизонтальными осями на расстоянии “а” по вертикали вверх от рабочих поверхностей двух матриц, начало отсчета этих индикаторов устанавливают от двух вертикальных линий рабочих краев двух матриц, и двумя индикаторами 18, 21 с поворотными осями для измерения прогибов 1, 2 двух полок образца после разгрузки. Внутри пуансона 4 по его оси симметрии размещают третий индикатор 8 с вертикальной осью. Начало отсчета этого индикатора устанавливают от горизонтальной плоскости торца пуансона 4. Плоский образец 1 в виде узкой длинной полосы толщиной s, шириной b и длиной L укладывают на прижимы 3, 12 симметрично относительно вертикальной оси штампа-прибора. Затем проводят испытание этого образца по варианту 3.
По предыдущим вариантам параметры пружинения определяли после изгиба двух полок образца на угол, близкий к 90°. Причем образцы должны изготавливаться из достаточно толстого листового материала, чтобы сила надавливания индикаторов на края образца после его разгрузки не деформировала образец и не вносила искажения в результаты испытания.
По варианту 5 (фиг.5) параметры пружинения определяют после изгиба двух полок образца на любой угол от близкого к нулю и до 90° и для образов любой толщины, в том числе вырезанных из особо тонких листовых материалов, например толщиной меньше 0,2 мм. Этот способ осуществляется следующим образом. Для определения параметров пружинения после изгиба образца 1 на любой угол до 90° в качестве устройства используют штамп-прибор с прямоугольным пуансоном 4 с плоским торцом и двумя закругленными рабочими кромками радиуса rp, с расположенными на расстоянии зазора z с каждой стороны от пуансона двумя матрицами 2, 11 с закругленными рабочими кромками радиуса rm. На пуансоне 4 жестко закреплены два транспортира 7, 9 в виде полукруглой пластинки со шкалой для измерения углов в градусах. Начало отсчета делений по шкале обоих транспортиров устанавливают от горизонтали. Применяют транспортиры повышенной точности с ценой деления, например, 0,5 градуса. Внутри пуансона 4 размещен индикатор 9 с вертикальной осью по оси симметрии пуансона; начало отсчета этого индикатора устанавливают от горизонтальной плоскости торца пуансона.
Плоский образец 1 в виде узкой длинной полосы толщиной s, шириной b и длиной L укладывают на рабочие поверхности двух матриц 2, 11 симметрично относительно вертикальной оси штампа-прибора. Затем на прессе, испытательной машине или вручную задают вертикальное перемещение или только одному пуансону или только матрицам, или и пуансону и матрицам навстречу друг другу. Рабочие поверхности пуансона и матрицы входят в контакт с образцом и постепенно с увеличивающимся углом от горизонтали изгибают образец вокруг закругления пуансона радиуса rp в зазор между пуансоном и матрицей. Величина этого зазора подбирается с учетом изгиба двух полок образца на заданный угол. В процессе изгиба образца в момент, когда оба края образца коснутся нижних точек закруглений двух матриц, по двум транспортирам 7, 9 определяют угол изгиба 1 от горизонтали для левой полки и угол изгиба 2 для правой полки образца. После опускания краев образца ниже матриц образец разгружается и его изогнутые полки начинают пружинить и расходиться под воздействием упругих деформаций образца. Перемещение пуансона или матрицы прекращают в момент, когда оба края образца выйдут из контакта со штампом-прибором. По двум транспортирам определяют угол 3 от горизонтали для левой полки образца и угол 4 для правой полки образца. По индикатору 8, расположенному внутри пуансона 4, определяют прогиб участка образца под торцом пуансона. Окончательно два угла пружинения и двух полок образца толщиной s и шириной b после изгиба по двум закругленным рабочим кромкам пуансона радиуса rp на угол 1 от горизонтали для левой полки и 2 для правой полки образца рассчитывают по формулам
и 
Далее образец вынимают из штампа-прибора и при помощи измерительных приборов определяют два прогиба 1, 2 у обеих полок образца после их изгиба и спрямления во время перемещения по закругленной кромке матрицы радиуса rm и после разгрузки.
По варианту 6 (фиг.6) предельные параметры пружинения определяют после изгиба двух полок образца 1 на максимально допустимый до трещины угол. В качестве устройства используют штамп-прибор с прямоугольным пуансоном 4 с плоским торцом и двумя закругленными рабочими кромками радиуса rp, с расположенными на расстоянии зазора z с каждой стороны от пуансона двумя матрицами 2, 11 с закругленными рабочими кромками радиуса rm, двумя прижимами 3, 12, двумя закрепленными на пуансоне транспортирами 7, 9 для измерения углов, начало отсчета делений по шкале обоих транспортиров устанавливают от горизонтали, индикатором 8 с вертикальной осью внутри пуансона 4 по его оси симметрии, начало отсчета этого индикатора устанавливают от горизонтальной плоскости торца пуансона. Плоский образец 1 в виде узкой длинной полосы толщиной s, шириной b и длиной L укладывают на рабочие поверхности двух матриц 2, 11 симметрично относительно вертикальной оси штампа-прибора. Затем на прессе, испытательной машине или вручную задают вертикальное перемещение или только одному пуансону или только матрицам, или и пуансону и матрицам навстречу друг другу. Рабочие поверхности пуансона и матриц входят в контакт с образцом и постепенно с увеличивающимся углом от горизонтали изгибают две полки образца вокруг двух закруглений пуансона радиуса rp в зазор между пуансоном и матрицей. В момент, когда оба края образца коснутся нижних точек закруглений двух матриц, визуально или при помощи приборов определяют появление трещины на наружной поверхности образца в одном или двух местах изгиба образца по радиусу rp. Если трещины нет, то увеличивают угол изгиба за счет уменьшения зазора между пуансоном и матрицами. Снова проводят испытание нового образца, и так до тех пор, когда в момент касания обоих краев образца 1 нижних точек закруглений двух матриц 2, 11 на наружной поверхности образца 1 в одном или двух местах изгиба образца по радиусу появится трещина 17 или 18. По двум транспортирам 7, 9 определяют максимально допустимый угол изгиба образца 1,max от горизонтали до образования трещины для левой полки, если здесь образовалась трещина, и максимально допустимый угол изгиба образца 2,max от горизонтали до образования трещины для правой полки, если здесь образовалась трещина. После опускания краев образца ниже матриц образец разгружается и его изогнутые полки начинают пружинить и расходиться под воздействием упругих деформаций образца. Перемещение пуансона или матриц прекращают в момент, когда оба края образца выйдут из контакта со штампом-прибором. По двум транспортирам определяют угол 3 от горизонтали для левой полки образца и угол 4 для правой полки образца. По индикатору, расположенному внутри пуансона, определяют прогиб участка образца под торцом пуансона. Окончательно два угла пружинения и двух полок образца толщиной s и шириной b после изгиба по двум закругленным рабочим кромкам пуансона радиуса rp на максимально допустимый до трещины угол 1,max от горизонтали для левой полки и на максимально допустимый до трещины угол 2,max для правой полки образца рассчитывают по формулам
и 
Если требуется определить вид трещины и характер излома в месте разрушения образца, то за счет уменьшения зазора между пуансоном и матрицами еще дополнительно увеличивают угол изгиба образца до полного разрушения образца.
По варианту 7 (фиг.7) предельные параметры определяют после изгиба двух полок образца 1 на минимально допустимый до трещины радиус изгиба. Для определения предельных параметров изгиба образца на угол, равный или близкий к 90°, в качестве устройства используют штамп-прибор с набором прямоугольных пуансонов 4 с плоским торцом и двумя закругленными рабочими кромками различных радиусов rp, с расположенными на расстоянии зазора z с каждой стороны от пуансона двумя матрицами 2, 11 с закругленными рабочими кромками радиуса rm, двумя прижимами 3, 12 краевых частей образца 1, двумя индикаторами 7, 9 с горизонтальными осями на расстоянии “а” по вертикали вниз от рабочих поверхностей двух матриц, начало отсчета этих индикаторов устанавливают от двух вертикальных линий рабочих краев двух матриц, двумя индикаторами с поворотными осями для измерения прогибов 1, 2 двух полок образца после разгрузки, индикатором 8 с вертикальной осью внутри пуансона по его оси симметрии, начало отсчета этого индикатора устанавливают от горизонтальной плоскости торца пуансона. Плоский образец 1 в виде узкой длинной полосы толщиной s, шириной b и длиной L укладывают на рабочие поверхности двух матриц 2, 11 симметрично относительно вертикальной оси штампа-прибора. Затем на прессе, испытательной машине или вручную задают вертикальное перемещение или только одному пуансону или только матрицам, или и пуансону и матрицам навстречу друг другу, рабочие поверхности пуансона и матриц входят в контакт с образцом и постепенно с увеличивающимся углом от горизонтали изгибают две полки образца вокруг двух закруглений пуансона радиуса rp в два зазора между пуансоном и матрицами, величина каждого из этих зазоров равна или больше номинальной толщины образца с учетом верхнего предельного отклонения на эту толщину. Если в момент испытания, когда оба края образца коснутся соответствующих двух нижних точек закруглений радиуса rm двух матриц, на наружной поверхности образца в месте изгиба визуально или при помощи прибора не видна трещина, то испытание прекращают, в штамп-прибор устанавливают следующий пуансон с меньшим радиусом rp, аналогично изгибают следующий образец и так до тех пор, когда в момент касания двух краев образца соответствующих двух нижних точек закруглений двух матриц на наружной поверхности образца в месте изгиба появится трещина 23 или 24 для пуансона с минимальным радиусом изгиба rp,min. В этот момент определяют ход пуансона h и по формуле (1) рассчитывают исходные углы и отклонения левой и правой полок образца от вертикали в зазоре между пуансоном и матрицами при максимальном угле изгиба. После опускания краев образца ниже матриц образец разгружается и его изогнутые полки начинают пружинить и расходиться под воздействием упругих деформаций образца. Эти полки образца касаются двух индикаторов, которые показывают увеличивающееся по ходу испытания отклонение полок образца от вертикали. Перемещение пуансона или матриц прекращают в момент, когда оба края образца опустятся на уровень горизонтальных осей двух индикаторов и стрелки этих индикаторов будут показывать два максимальных горизонтальных отклонения двух полок образца “с” и “d” от вертикальных линий краев двух матриц за счет пружинения образца. Далее по формулам (2) и (3) рассчитывают углы и отклонения образца от вертикали. По индикатору, расположенному внутри пуансона, определяют прогиб участка образца под торцом пуансона. Окончательно два угла пружинения и двух полок образца толщиной s, шириной b и длиной L после изгиба по двум закругленным рабочим кромкам пуансона минимального радиуса rp,min до образования на образце трещины на углы, близкие к 90° и равные соответственно 90°- и 90°- , рассчитывают по формулам (4).
Все варианты данного способа испытания соответствуют производственным процессам гибки листового материала при помощи пуансона, матрицы и прижимов штампа и позволяют с высокой точностью определить угол пружинения и такие предельные параметры, как максимально допустимый угол изгиба и минимально допустимый радиус изгиба до образования трещины на образце, а использование для проведения испытания мощного прессового оборудования дает возможность испытывать образцы большой толщины и ширины, изготовленные из высокопрочных листовых материалов.
Формула изобретения
1. Способ испытания листового материала на пружинение и предельные параметры при двухугловой гибке с прижимом краев образца, включающий укладку плоского образца в устройство, гибку и разгрузку образца и определение угла пружинения образца, отличающийся тем, что изгиб двух полок образца осуществляют на угол, равный или близкий к 90°, для испытания в качестве устройства используют штамп-прибор с расположенным вверху прямоугольным пуансоном с плоским торцом и двумя закругленными рабочими кромками радиуса rp, с расположенными внизу на расстоянии зазора z с каждой стороны от пуансона двумя матрицами с закругленными рабочими кромками радиуса rm, двумя прижимами краевых частей образца, зазор между матрицами и прижимами обеспечивают прокладками толщиной, большей номинальной толщины образца с учетом верхнего предельного отклонения, двумя индикаторами с горизонтальными осями на расстоянии “а” по вертикали вниз от рабочих поверхностей двух матриц, начало отсчета этих индикаторов устанавливают от двух вертикальных линий рабочих краев двух матриц, индикатором с вертикальной осью внутри пуансона по его оси симметрии, начало отсчета этого индикатора устанавливают от горизонтальной плоскости торца пуансона, плоский образец в виде узкой длинной полосы толщиной s, шириной b и длиной L, складывающейся из длины под плоским торцом пуансона р-2rp, длины напротив двух радиусных закруглений пуансона по средней линии образца 2(rp+s/2) /2 и длины двух полок изогнутого образца 21, укладывают на рабочие поверхности двух матриц симметрично относительно вертикальной оси штампа-прибора, затем на прессе, испытательной машине или вручную задают вертикальное перемещение или только одному пуансону, или только матрицам, или и пуансону и матрицам навстречу друг другу, рабочие поверхности пуансона и матриц входят в контакт с образцом и постепенно с увеличивающимся углом изгибают одни участки образца вокруг закругления пуансона радиуса rp, а другие участки образца изгибают вокруг закругления матрицы радиуса rm, перемещают эти участки по закруглению и спрямляют при сходе с этого закругления в два зазора между пуансоном и матрицами, величина каждого из этих зазоров равна или больше номинальной толщины образца с учетом верхнего предельного отклонения, в процессе изгиба образца определяют ход пуансона h в момент, когда оба края образца коснутся соответствующих двух нижних точек закруглений двух матриц, и по формуле = =arctg[(z-s)/(h-rp-rm-s)] рассчитывают исходные углы и отклонения левой и правой полок образца от вертикали в зазорах между пуансоном и матрицами при максимальном угле изгиба, после опускания краев образца ниже матриц образец разгружается, и его изогнутые полки начинают пружинить и расходиться под воздействием упругих деформаций образца, эти полки образца касаются двух индикаторов, которые показывают увеличивающееся по ходу испытания отклонение полок образца от вертикали, перемещение пуансона или матриц прекращают в момент, когда оба края образца опустятся на уровень горизонтальных осей двух индикаторов и стрелки этих индикаторов будут показывать два максимальных горизонтальных отклонения двух полок образца “с” и “d” от вертикальных линий краев двух матриц за счет пружинения образца, далее по формулам =arctg[(z-s+c)/(h-rp-rm-s)] и =arctg[(z-s+d)/(h-rp-rm-s)] рассчитывают углы и отклонения образца от вертикали, по индикатору, расположенному внутри пуансона, определяют прогиб участка образца под торцом пуансона, окончательно, два угла пружинения и двух полок образца толщиной s, шириной b и длиной L после изгиба по двум закругленным рабочим кромкам пуансона радиуса rp на углы, близкие к 90° и равные соответственно 90°- и 90°- , рассчитывают по формулам = – и = – , далее образец вынимают из штампа-прибора и при помощи измерительных приборов определяют два прогиба 1, 2 у обоих полок образца после их изгиба и спрямления во время перемещения по закругленной кромке матрицы радиуса rm и после разгрузки.
2. Способ испытания листового материала на пружинение и предельные параметры при двухугловой гибке с прижимом краев образца, включающий укладку плоского образца в устройство, гибку и разгрузку образца и определение угла пружинения образца, отличающийся тем, что для испытания в качестве устройства используют штамп-прибор с расположенным внизу прямоугольным пуансоном с плоским торцом и двумя закругленными рабочими кромками радиуса rp с расположенными вверху на расстоянии зазора z с каждой стороны от пуансона двумя матрицами с закругленными рабочими кромками радиуса rm, двумя прижимами краевых частей образца, зазор между матрицами и прижимами обеспечивают прокладками толщиной, большей номинальной толщины образца с учетом верхнего предельного отклонения, прижимы опирают через толкатели на пружины или подушку пресса, двумя индикаторами с горизонтальными осями на расстоянии “а” по вертикали вверх от рабочих поверхностей двух матриц, начало отсчета этих индикаторов устанавливают от двух вертикальных линий рабочих краев двух матриц, индикатором с вертикальной осью внутри пуансона по его оси симметрии, начало отсчета этого индикатора устанавливают от горизонтальной плоскости торца пуансона, плоский образец в виде узкой длинной полосы толщиной s, шириной b и длиной L укладывают на прижимы симметрично относительно вертикальной оси штампа-прибора, затем проводят испытание по варианту 1.
3. Способ испытания листового материала на пружинение и предельные параметры при двухугловой гибке с прижимом краев образца, включающий укладку плоского образца в устройство, гибку и разгрузку образца и определение угла пружинения образца, отличающийся тем, что для испытания в качестве устройства используют штамп-прибор с расположенным вверху прямоугольным пуансоном с плоским торцом и двумя закругленными рабочими кромками радиуса rp, с расположенными внизу на расстоянии зазора z с каждой стороны от пуансона двумя матрицами с закругленными рабочими кромками радиуса rm, двумя прижимами краевых частей образца, зазор между матрицами и прижимами обеспечивают прокладками толщиной, большей номинальной толщины образца с учетом верхнего предельного отклонения, двумя индикаторами с горизонтальными осями на расстоянии “а” по вертикали вниз от рабочих поверхностей двух матриц, начало отсчета этих индикаторов устанавливают от двух вертикальных линий рабочих краев двух матриц, двумя индикаторами с поворотными осями для измерения прогибов 1, 2 двух полок образца после разгрузки, индикатором с вертикальной осью внутри пуансона по его оси симметрии, начало отсчета этого индикатора устанавливают от горизонтальной плоскости торца пуансона, плоский образец в виде узкой длинной полосы толщиной s, шириной b и длиной L укладывают на матрицы симметрично относительно вертикальной оси штампа-прибора, затем проводят испытание по варианту 1, только для определения прогибов полок 1, 2, образец не вынимают из штампа-прибора, а используют встроенные в штамп-прибор два индикатора.
4. Способ испытания листового материала на пружинение и предельные параметры при двухугловой гибке с прижимом краев образца, включающий укладку плоского образца в устройство, гибку и разгрузку образца и определение угла пружинения образца, отличающийся тем, что для испытания в качестве устройства используют штамп-прибор с расположенным внизу прямоугольным пуансоном с плоским торцом и двумя закругленными рабочими кромками радиуса rp, с расположенными вверху на расстоянии зазора z с каждой стороны от пуансона двумя матрицами с закругленными рабочими кромками радиуса rm, двумя прижимами краевых частей образца, зазор между матрицами и прижимами обеспечивают прокладками толщиной, большей номинальной толщины образца с учетом верхнего предельного отклонения, двумя индикаторами с горизонтальными осями на расстоянии “а” по вертикали вверх от рабочих поверхностей двух матриц, начало отсчета этих индикаторов устанавливают от двух вертикальных линий рабочих краев двух матриц, двумя индикаторами с поворотными осями для измерения прогибов 1, 2 двух полок образца после разгрузки, индикатором с вертикальной осью внутри пуансона по его оси симметрии, начало отсчета этого индикатора устанавливают от горизонтальной плоскости торца пуансона, плоский образец в виде узкой длинной полосы толщиной s, шириной b и длиной L укладывают на прижимы симметрично относительно вертикальной оси штампа-прибора, затем проводят испытание по варианту 1, только для определения прогибов полок 1, 2 образец не вынимают из штампа-прибора, а используют встроенные в штамп-прибор два индикатора.
5. Способ испытания листового материала на пружинение и предельные параметры при двухугловой гибке с прижимом краев образца, включающий укладку плоского образца в устройство, гибку и разгрузку образца и определение угла пружинения образца, отличающийся тем, что изгиб двух полок образца осуществляют в диапазоне углов от угла, на сколь угодно малую величину большую нуля, до угла, равного или близкого к 90° для определения параметров пружинения после изгиба образца на любой угол до 90° включительно в качестве устройства используют штамп-прибор с прямоугольным пуансоном с плоским торцом и двумя закругленными рабочими кромками радиуса rp, с расположенными на расстоянии зазора z с каждой стороны от пуансона двумя матрицами с закругленными рабочими кромками радиуса rm, двумя закрепленными на пуансоне транспортирами для измерения углов, начало отсчета делений по шкале обоих транспортиров устанавливают от горизонтали, индикатором с вертикальной осью внутри пуансона по его оси симметрии, начало отсчета этого индикатора устанавливают от горизонтальной плоскости торца пуансона, плоский образец в виде узкой длинной полосы толщиной s, шириной b и длиной L укладывают на рабочие поверхности двух матриц симметрично относительно вертикальной оси штампа-прибора, затем на прессе, испытательной машине или вручную задают вертикальное перемещение или только одному пуансону, или только матрицам, или и пуансону и матрицам навстречу друг другу, рабочие поверхности пуансона и матриц входят в контакт с образцом и постепенно с увеличивающимся углом от горизонтали изгибают две полки образца вокруг двух закруглений пуансона радиуса rp в два зазора между пуансоном и матрицами, величину этих зазоров подбирают с учетом изгиба двух полок образца на заданный угол, в процессе изгиба образца в момент, когда оба края образца коснутся нижних точек закруглений двух матриц, по двум транспортирам определяют угол изгиба 1 от горизонтали для левой полки и угол изгиба 2 для правой полки образца, после опускания краев образца ниже матриц образец разгружается и его изогнутые полки начинают пружинить и расходиться под воздействием упругих деформаций образца, перемещение пуансона или матрицы прекращают в момент, когда оба края образца выйдут из контакта со штампом-прибором, по двум транспортирам определяют угол 3 от горизонтали для левой полки образца и угол 4 для правой полки образца, по индикатору, расположенному внутри пуансона, определяют прогиб участка образца под торцом пуансона, окончательно, два угла пружинения и двух полок образца толщиной s, шириной b и длиной L после изгиба по двум закругленным рабочим кромкам пуансона радиуса rp на угол 1 от горизонтали для левой полки и 2 для правой полки образца рассчитывают по формулам = 1– 3 и = 2– 4 далее образец вынимают из штампа-прибора и при помощи измерительных приборов определяют два прогиба 1, 2 у обоих полок образца после их изгиба и спрямления во время перемещения по закругленной кромке матрицы радиуса rm и после разгрузки.
6. Способ испытания листового материала на пружинение и предельные параметры при двухугловой гибке с прижимом краев образца, включающий укладку плоского образца в устройство, гибку и разгрузку образца и определение угла пружинения образца, отличающийся тем, что испытание образца осуществляют на максимально допустимый до трещины угол изгиба двух полок образца, для определения предельных параметров изгиба образца на любой угол до 90° включительно в качестве устройства используют штамп-прибор с прямоугольным пуансоном с плоским торцом и двумя закругленными рабочими кромками радиуса rp с расположенными на расстоянии зазора z с каждой стороны от пуансона двумя матрицами с закругленными рабочими кромками радиуса rm, двумя прижимами краев образца, двумя закрепленными на пуансоне транспортирами для измерения углов, начало отсчета делений по шкале обоих транспортиров устанавливают от горизонтали, индикатором с вертикальной осью внутри пуансона по его оси симметрии, начало отсчета этого индикатора устанавливают от горизонтальной плоскости торца пуансона, плоский образец в виде узкой длинной полосы толщиной s, шириной b и длиной L укладывают на рабочие поверхности двух матриц симметрично относительно вертикальной оси штампа-прибора, затем на прессе, испытательной машине или вручную задают вертикальное перемещение или только одному пуансону, или только матрицам, или и пуансону и матрицам навстречу друг другу, рабочие поверхности пуансона и матриц входят в контакт с образцом и постепенно с увеличивающимся углом от горизонтали изгибают две полки образца вокруг двух закруглений пуансона радиуса rp в два зазора между пуансоном и матрицами, в момент, когда оба края образца коснутся соответствующих нижних точек закруглений двух матриц, визуально или при помощи приборов определяют появление трещины на наружной поверхности образца в одном или двух местах изгиба образца по радиусу rp, если трещины нет, то увеличивают угол изгиба за счет уменьшения зазора между пуансоном и матрицами, снова проводят испытание нового образца, и так до тех пор, когда в момент касания обоих краев образца нижних точек закруглений двух матриц на наружной поверхности образца в одном или двух местах изгиба образца по радиусу rp появится трещина, по двум транспортирам определяют максимально допустимый угол изгиба образца 1,max от горизонтали до образования трещины для левой полки, если здесь образовалась трещина, и максимально допустимый угол изгиба образца 2,max от горизонтали до образования трещины для правой полки, если здесь образовалась трещина, после опускания краев образца ниже матриц образец разгружается и его изогнутые полки начинают пружинить и расходиться под воздействием упругих деформаций образца, перемещение пуансона или матрицы прекращают в момент, когда оба края образца выйдут из контакта со штампом-прибором, по двум транспортирам определяют угол 3 от горизонтали для левой полки образца и угол 4 для правой полки образца, по индикатору, расположенному внутри пуансона, определяют прогиб участка образца под торцом пуансона, окончательно, два угла пружинения и двух полок образца толщиной s, шириной b и длиной L после изгиба по двум закругленным рабочим кромкам пуансона радиуса rp на угол 1,max, от горизонтали для левой полки и 2,max для правой полки образца рассчитывают по формулам = 1,max– 3 и = 2,max– 4, а если требуется определить вид трещины и характер излома в месте разрушения образца, то за счет уменьшения зазора между пуансоном и матрицами еще дополнительно увеличивают угол изгиба образца до полного разрушения образца.
7. Способ испытания листового материала на пружинение и предельные параметры при двухугловой гибке с прижимом краев образца, включающий укладку плоского образца в устройство, гибку и разгрузку образца и определение угла пружинения образца, отличающийся тем, что испытание на изгиб двух полок образца осуществляют по минимально допустимому до трещины радиусу, для определения предельных параметров изгиба образца на угол, равный или близкий к 90°, в качестве устройства используют штамп-прибор с набором прямоугольных пуансонов с плоским торцом и двумя закругленными рабочими кромками различных радиусов rp, с расположенными на расстоянии зазора z с каждой стороны от пуансона двумя матрицами с закругленными рабочими кромками радиуса rm, двумя прижимами краев образца, двумя индикаторами с горизонтальными осями на расстоянии “а” по вертикали вниз от рабочих поверхностей двух матриц, начало отсчета этих индикаторов устанавливают от двух вертикальных линий рабочих краев двух матриц, двумя индикаторами с поворотными осями для измерения прогибов 1, 2 двух полок образца после разгрузки, индикатором с вертикальной осью внутри пуансона по его оси симметрии, начало отсчета этого индикатора устанавливают от горизонтальной плоскости торца пуансона, плоский образец в виде узкой длинной полосы толщиной s, шириной b и длиной L укладывают на рабочие поверхности двух матриц симметрично относительно вертикальной оси штампа-прибора, затем на прессе, испытательной машине или вручную задают вертикальное перемещение или только одному пуансону, или только матрицам, или и пуансону и матрицам навстречу друг другу, рабочие поверхности пуансона и матриц входят в контакт с образцом и постепенно с увеличивающимся углом от горизонтали изгибают две полки образца вокруг двух закруглений пуансона радиуса rp в два зазора между пуансоном и матрицами, величина каждого из этих зазоров равна или больше номинальной толщины образца с учетом верхнего предельного отклонения, если в момент испытания, когда оба края образца коснутся соответствующих двух нижних точек закруглений двух матриц, на наружной поверхности образца в месте изгиба визуально или при помощи прибора не видна трещина, то испытание прекращают, в штамп-прибор устанавливают следующий пуансон с меньшим радиусом rp, аналогично изгибают следующий образец и так до тех пор, когда в момент касания двух краев образца соответствующих двух нижних точек закруглений двух матриц на наружной поверхности образца в месте изгиба появится трещина для пуансона с минимальным радиусом изгиба rp,min, в этот момент определяют ход пуансона h и по формуле = =arctg[(z-s)/(h-rp-rm-s)] рассчитывают исходные углы и отклонения левой и правой полок образца от вертикали в зазоре между пуансоном и матрицами при максимальном угле изгиба, после опускания краев образца ниже матриц образец разгружается и его изогнутые полки начинают пружинить и расходиться под воздействием упругих деформаций образца, эти полки образца касаются двух индикаторов, которые показывают увеличивающееся по ходу испытания отклонение полок образца от вертикали, перемещение пуансона или матриц прекращают в момент, когда оба края образца опустятся на уровень горизонтальных осей двух индикаторов и стрелки этих индикаторов будут показывать два максимальных горизонтальных отклонения двух полок образца “с” и “d” от вертикальных линий краев двух матриц за счет пружинения образца, далее по формулам =arctg[(z-s+c)/(h-rp-rm-s)] и =arctg[(z-s+d)/(h-rp-rm-s)] рассчитывают углы и отклонения образца от вертикали, по индикатору, расположенному внутри пуансона, определяют прогиб участка образца под торцом пуансона, окончательно, два угла пружинения и двух полок образца толщиной s, шириной b и длиной L после изгиба по двум закругленным рабочим кромкам пуансона минимального радиуса rp,min до образования на образце трещины на углы, близкие к 90° и равные соответственно 90°- и 90°- , рассчитывают по формулам = – и = – .
РИСУНКИ
|
|