|
|
(21), (22) Заявка: 2008109278/28, 11.03.2008
(24) Дата начала отсчета срока действия патента:
11.03.2008
(46) Опубликовано: 20.10.2009
(56) Список документов, цитированных в отчете о поиске:
ЛОСКУТОВ А.С. Испытание двигателей внутреннего сгорания: учебное пособие. – Йошкар-Ола: МарГТУ, 2007. SU 1295240 А1, 07.03.1987. RU 2280244 C2, 20.07.2006. SU 688852 A, 30.09.1979.
Адрес для переписки:
424003, г.Йошкар-Ола, ул. Пархоменко, 9-60, В.Н.Егорову
|
(72) Автор(ы):
Егоров Алексей Васильевич (RU), Егоров Василий Николаевич (RU)
(73) Патентообладатель(и):
Егоров Алексей Васильевич (RU), Егоров Василий Николаевич (RU)
|
(54) СПОСОБ ОПРЕДЕЛЕНИЯ МОМЕНТА ИНЕРЦИИ ДВИГАТЕЛЯ ВНУТРЕННЕГО СГОРАНИЯ
(57) Реферат:
Изобретение относится к области испытаний и может быть использовано для определения момента инерции двигателя внутреннего сгорания. Способ заключается в том, что на ступицу снятого ведущего колеса автотранспортного средства, смазочное и трансмиссионное масло двигателя внутреннего сгорания которого прогрето до рабочей температуры, устанавливается диск с эталонным моментом инерции, а момент инерции двигателя внутреннего сгорания определяется как произведение отношения углового ускорения системы вращающихся масс «агрегаты трансмиссии, коробка перемены передач, двигатель внутреннего сгорания» при включенной прямой передаче коробки перемены передач к угловому ускорению системы вращающихся масс «двигатель внутреннего сгорания» на момент инерции системы вращающихся масс «агрегаты трансмиссии, коробка перемены передач, двигатель внутреннего сгорания» при включенной прямой передаче коробки перемены передач, равный отношению произведения углового ускорения системы вращающихся масс системы «диск с эталонным моментом инерции, агрегаты трансмиссии, коробка перемены передач, двигатель внутреннего сгорания» при включенной прямой передаче коробки перемены передач на момент инерции диска с эталонным моментом инерции к разности углового ускорения системы вращающихся масс «агрегаты трансмиссии, коробка перемены передач, двигатель внутреннего сгорания» при включенной прямой передаче коробки перемены передач и углового ускорения системы вращающихся масс «диск с эталонным моментом инерции, агрегаты трансмиссии, коробка перемены передач, двигатель внутреннего сгорания» при включенной прямой передаче коробки перемены передач. Технический результат заключается в возможности определения момента инерции ДВС без его снятия с транспортного средств. 1 ил.
Изобретение относится к способам определения момента инерции двигателя внутреннего сгорания (ДВС).
Известен способ измерения момента инерции двигателя внутреннего сгорания, основанный на предварительном измерении мощности ДВС на тормозном стенде и последующем определении угловых ускорений во всем диапазоне скоростных режимов работы коленчатого вала (Лоскутов А.С. Испытание двигателей внутреннего сгорания: учебное пособие. – Йошкар-Ола: МарГТУ, 2007).
Недостаток известного способа заключается в необходимости проведения стендовых тормозных испытаний и, в том, что он не может быть применен для определения момента инерции ДВС, установленного на транспортном средстве.
Изобретение направлено на обеспечение возможности определения момента инерции ДВС, установленного на транспортном средстве.
Сущность изобретения заключается в том, что на ступицу снятого ведущего колеса автотранспортного средства, смазочное и трансмиссионное масло двигателя внутреннего сгорания которого прогрето до рабочей температуры, устанавливается диск с эталонным моментом инерции, а момент инерции двигателя внутреннего сгорания определяется как произведение отношения углового ускорения системы вращающихся масс «агрегаты трансмиссии, коробка перемены передач, двигатель внутреннего сгорания» при включенной прямой передаче коробки перемены передач к угловому ускорению системы вращающихся масс «двигатель внутреннего сгорания» на момент инерции системы вращающихся масс «агрегаты трансмиссии, коробка перемены передач, двигатель внутреннего сгорания» при включенной прямой передаче коробки перемены передач, равный отношению произведения углового ускорения системы вращающихся масс системы «диск с эталонным моментом инерции, агрегаты трансмиссии, коробка перемены передач, двигатель внутреннего сгорания» при включенной прямой передаче коробки перемены передач на момент инерции диска с эталонным моментом инерции к разности углового ускорения системы вращающихся масс «агрегаты трансмиссии, коробка перемены передач, двигатель внутреннего сгорания» при включенной прямой передаче коробки перемены передач и углового ускорения системы вращающихся масс «диск с эталонным моментом инерции, агрегаты трансмиссии, коробка перемены передач, двигатель внутреннего сгорания» при включенной прямой передаче коробки перемены передач.
Новизна заключается в том, что момент инерции ДВС определяется без его демонтажа с транспортного средства.
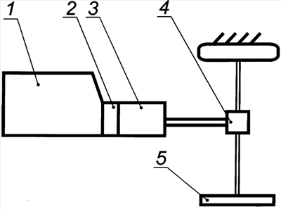
На чертеже изображена схема реализации предлагаемого способа определения момента инерции ДВС без его снятия с транспортного средства.
Двигатель внутреннего сгорания 1 через сцепление 2, коробку перемены передач 3, агрегаты трансмиссии 4 соединен с диском с эталонным моментом инерции 5.
Реализуется предлагаемый способ определения момента инерции двигателя внутреннего сгорания следующим образом.
Одно из ведущих колес транспортного средства демонтируется, а на его место устанавливается диск 5 с эталонным моментом инерции J , причем этот диск может вращаться при подводе крутящего момента от агрегатов трансмиссии (наружными краями не касается никакой поверхности). Далее при включенной прямой передаче коробки перемены передач 3 с помощью органов регулирования устанавливается определенная угловая скорость коленчатого вала ДВС 1, при которой развивается определенный крутящий момент М. Затем измеряется угловое ускорение 1 системы вращающихся масс «диск с эталонным моментом инерции, агрегаты трансмиссии, коробка перемены передач, двигатель внутреннего сгорания», имеющей момент инерции J1+Jд при изменении угловой скорости вращения коленчатого вала ДВС в диапазоне от до +1. Крутящий момент М для диапазона угловых скоростей от до +1 равен:

Далее диск с эталонным моментом инерции 5 демонтируется и определяется угловое ускорение 2 системы вращающихся масс «агрегаты трансмиссии, коробка перемены передач, двигатель внутреннего сгорания» с моментом инерции J1 при изменении угловой скорости вращения коленчатого вала ДВС в диапазоне от до +1, то есть при том же начальном значении крутящего момента М. Крутящий момент М для диапазона угловых скоростей от до +1 равен:

Из выражений (1) и (2) определяется момент инерции системы вращающихся масс «агрегаты трансмиссии, коробка перемены передач, двигатель внутреннего сгорания»:

Далее отключается сцепление 2 и определяется угловое ускорение 3 системы вращающихся масс «двигатель внутреннего сгорания» с моментом инерции Jдв при изменении угловой скорости вращения коленчатого вала ДВС в диапазоне от до +1, то есть при том же начальном значении крутящего момента М. Крутящий момент М для диапазона угловых скоростей от до +1 равен:

Из выражений (2) и (4) определяется момент инерции системы вращающихся масс «двигатель внутреннего сгорания»:

Подставляя в (5) выражение (3) получаем выражение для определения момента инерции двигателя внутреннего сгорания 1 через значение момента инерции диска с эталонным моментом инерции 5 и значения угловых ускорений.

Таким образом, используя один диск с эталонным моментом инерции, можно определить момент инерции двигателя, а после этого и параметры внешней скоростной характеристики двигателя внутреннего сгорания транспортного средства без его демонтажа, что позволит значительно повысить экономическую эффективность испытаний ДВС.
Формула изобретения
Способ определения момента инерции двигателя внутреннего сгорания автотранспортного средства, отличающийся тем, что на ступицу снятого ведущего колеса автотранспортного средства, смазочное и трансмиссионное масло двигателя внутреннего сгорания которого прогрето до рабочей температуры, устанавливается диск с эталонным моментом инерции, а момент инерции двигателя внутреннего сгорания определяется как произведение отношения углового ускорения системы вращающихся масс «агрегаты трансмиссии, коробка перемены передач, двигатель внутреннего сгорания» при включенной прямой передаче коробки перемены передач к угловому ускорению системы вращающихся масс «двигатель внутреннего сгорания» на момент инерции системы вращающихся масс «агрегаты трансмиссии, коробка перемены передач, двигатель внутреннего сгорания» при включенной прямой передаче коробки перемены передач, равный отношению произведения углового ускорения системы вращающихся масс системы «диск с эталонным моментом инерции, агрегаты трансмиссии, коробка перемены передач, двигатель внутреннего сгорания» при включенной прямой передаче коробки перемены передач на момент инерции диска с эталонным моментом инерции к разности углового ускорения системы вращающихся масс «агрегаты трансмиссии, коробка перемены передач, двигатель внутреннего сгорания» при включенной прямой передаче коробки перемены передач и углового ускорения системы вращающихся масс «диск с эталонным моментом инерции, агрегаты трансмиссии, коробка перемены передач, двигатель внутреннего сгорания» при включенной прямой передаче коробки перемены передач.
РИСУНКИ
|
|