|
|
(21), (22) Заявка: 2008128866/28, 14.07.2008
(24) Дата начала отсчета срока действия патента:
14.07.2008
(46) Опубликовано: 20.10.2009
(56) Список документов, цитированных в отчете о поиске:
SU 1781550 A1, 15.12.1992. SU 849519 A1, 30.12.1981. SU 1032387 A, 30.07.1983. SU 1798668 A1, 28.02.1993. SU 1267331 A1, 30.10.1986.
Адрес для переписки:
414025, г.Астрахань, ул. Татищева, 16, ФГОУ ВПО АГТУ, патентный отдел
|
(72) Автор(ы):
Перекрестов Аршавир Петрович (RU)
(73) Патентообладатель(и):
Федеральное агентство по рыболовству Федеральное государственное образовательное учреждение высшего профессионального образования “Астраханский государственный технический университет” ФГОУ ВПО “АГТУ” (RU)
|
(54) УСТРОЙСТВО ДЛЯ ИЗМЕРЕНИЯ КОЛИЧЕСТВА СКОНДЕНСИРОВАННОГО ПАРА
(57) Реферат:
Изобретение относится к области теплоэнергетики, в частности к устройствам для измерения количества сконденсированного пара. Сущность: внутри паровой трубы установлено устройство, на вертикальных стенках которого напротив друг друга закреплены ультразвуковой излучатель и приемник ультрафиолетового излучения, в горизонтальных стенках устройства выполнены два отверстия для входа и выхода конденсирующегося пара и одно отверстие для дренажа сконденсированного пара. При этом внутренняя зеркальная поверхность выполнена в виде параболоида вращения с фокусом в месте установки приемника ультрафиолетового излучения. Технический результат – повышение точности замера количества сконденсированного пара, улучшение контроля над процессом конденсации пара и устойчивости паровой зоны вблизи пограничной кривой насыщения. 2 ил.
Изобретение относится к области теплоэнергетики, в частности к устройствам для измерения количества сконденсированного пара.
Известно устройство для определения количества сконденсированного пара по изменению уровня сконденсированной жидкости (см. Канторович В.И. Основы автоматизации холодильных установок. М.: Пищевая промышленность, 1968. 320 с.).
Это устройство обладает следующими недостатками: недостаточная точность определения малого количества сконденсированного пара, не может определять скорость конденсации пара.
Прототип предлагаемого устройства не выявлен.
Техническая задача – создание устройства, позволяющего определять количество сконденсированного пара, когда пузырьки жидкости находятся по размеру на наноуровне.
Технический результат – повышение точности замера количества сконденсированного пара, улучшение контроля над процессом конденсации пара и устойчивости паровой зоны вблизи пограничной кривой насыщения.
Технический результат достигается тем, что внутри паровой трубы установлено устройство, на вертикальных стенках которого напротив друг друга закреплены ультразвуковой излучатель и приемник ультрафиолетового излучения, в горизонтальных стенках устройства выполнены два отверстия для входа и выхода конденсирующегося пара и одно отверстие для дренажа сконденсированного пара, при этом внутренняя зеркальная поверхность выполнена в виде параболоида вращения с фокусом в месте установки приемника ультрафиолетового излучения.
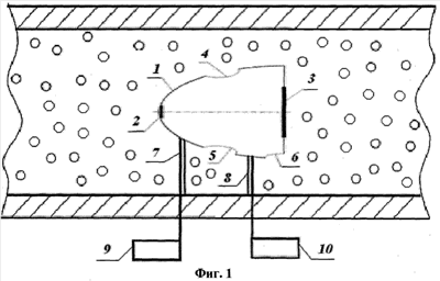
На фиг.1 изображено предлагаемое устройство. Оно имеет корпус 1, ультразвуковой излучатель 2, приемник ультрафиолетового излучения 3, горизонтальные отверстия в корпусе 4 и 5, отверстие для дренажа сконденсированной жидкости 6, штанги крепления прибора к внутренней поверхности трубы 7 и 8, ультразвуковой генератор 9, регистрирующий прибор интенсивности ультрафиолетового излучения 10. Устройство установлено в паровой трубе (или в емкости с паром).
На фиг.2 изображена внутренняя зеркальная поверхность корпуса 1 устройства, выполненная в виде параболоида вращения. Внутренняя поверхность корпуса 1 сфокусирована на поверхности приемника ультрафиолетового излучения 3. Показано изображение произвольной светящейся точки – полученной сконденсированной капли жидкости 11 и ход лучей светящейся точки 12. Фокус 13 внутренней поверхности корпуса 1 находится в центре приемника ультрафиолетового излучения 3.
Ультразвуковой излучатель 2 возбуждает свечение сконденсированных частиц пара. Пар попадает внутрь корпуса через отверстия 4 и 5, а конденсат стекает через отверстие для дренажа сконденсированной жидкости 6.
Устройство работает следующим образом: когда внутри корпуса устройства 1 появляются частицы сконденсированного пара, то колебания от ультразвукового излучателя 2 возбуждают частицы жидкости, и они начинают светиться в ультрафиолетовом диапазоне. Свет от сконденсированных частиц пара попадает на приемник ультрафиолетового излучения 3, сигнал от которого подается на регистрирующий прибор интенсивности ультрафиолетового излучения 10. Вследствие неточности изготовления параболоида вращения световое пятно в центре приемника 3, попадающее в фокус 13, несколько увеличивается и фиксируется периферийной областью приемника ультрафиолетового излучения 3. Таким образом, излучение всех элементарных частиц жидкости суммируется и воспринимается приемником ультрафиолетового излучения 3.
При интенсифицировании ультразвуковым излучателем 2 частиц жидкости они излучают свет, интенсивность которого суммируется приемником ультрафиолетового излучения 3 и регистрируется прибором интенсивности ультрафиолетового излучения 10, что дает возможность повышать точность определения количества сконденсированного пара с самого начала конденсации. Изменение интенсивности ультрафиолетового излучения, попадающего на приемник ультрафиолетового излучения 3, характеризует изменение процесса конденсации пара, что дает возможность контролировать его в любой момент времени. При степени конденсации пара выше пограничной кривой насыщения капли жидкости 11 не формируются. Появление свечения частиц 11 характеризует начало процесса конденсации и сдвиг его в область пограничной кривой и ниже. Таким образом, осуществляется контроль устойчивости паровой зоны вблизи пограничной кривой насыщения.
Прибор позволяет определять начало конденсации пара, измерять количество сконденсированного пара в единицу времени и, в случае обратной связи приемника ультрафиолетового излучения с источником тепла, поддерживать постоянную скорость конденсации пара.
Формула изобретения
Устройство для измерения количества сконденсированного пара, имеющее корпус и измерительные приборы, отличающееся тем, что оно установлено внутри паровой трубы; на вертикальных стенках устройства напротив друг друга закреплены ультразвуковой излучатель и приемник ультрафиолетового излучения, в горизонтальных стенках устройства выполнены два отверстия для входа и выхода конденсирующегося пара и одно отверстие для дренажа сконденсированного пара, при этом внутренняя зеркальная поверхность выполнена в виде параболоида вращения с фокусом в месте установки приемника ультрафиолетового излучения.
РИСУНКИ
|
|