|
|
(21), (22) Заявка: 2008120817/28, 27.05.2008
(24) Дата начала отсчета срока действия патента:
27.05.2008
(46) Опубликовано: 20.10.2009
(56) Список документов, цитированных в отчете о поиске:
FR 2773775 A1, 23.07.1999. ПУТИЛОВ К.А. КУРС ФИЗИКИ, т.1, Государственное учебно-педагогическое изд-во Министерства просвещения РСФСР. – М., 1952, с.235-237. ЕР 1070665 A1, 24.01.2004. ФИЗИЧЕСКИЙ ЭНЦИКЛОПЕДИЧЕСКИЙ СЛОВАРЬ. – М.: Советская энциклопедия, 1983, с.126-127. DE 3412642 A1, 11.10.1984. US 5077465 A, 31.12.1991.
Адрес для переписки:
105203, Москва, ул. Первомайская, 100, кв.132, Б.Ф. Кочеткову
|
(72) Автор(ы):
Кочетков Борис Федорович (RU)
(73) Патентообладатель(и):
Кочетков Борис Федорович (RU)
|
(54) ГИРОСКОПИЧЕСКОЕ УСТРОЙСТВО
(57) Реферат:
Изобретение относится к гироскопическим устройствам. Устройство содержит основание 1 с опорой 2 для оси 3 и размещенный на оси ротор 4, обладающий способностью сохранять направление линии оси 0-0 собственного вращения . При вынужденном вращении основания на опору со стороны ротора действует перпендикулярно к оси гироскопическая сила F. Ротор выполнен в виде неподвижно соединенных друг с другом одной осью и вращающихся в одну сторону вместе с этой осью двух частей 4, имеющих равные по величине моменты инерции относительно упомянутой оси и образующих одну механическую систему, центр масс 5 которой расположен на линии оси на равном расстоянии от обеих частей ротора между ними и совмещен с подшипником 6, который установлен на опоре, размещенной между частями ротора. При этом обеспечивается совмещение на одной прямой линии А-А центра масс ротора, подшипника и центральной точки соединения опоры с основанием, являющейся точкой опоры 7 гироскопического устройства в целом, и достигается совпадение прямой линии А-А с направлением гироскопический силы. Техническим результатом является облегчение использования массивного ротора и расширение области применения. 1 ил.
Изобретение относится к гироскопическим устройствам. Может быть применено преимущественно на средствах передвижения, содержащих устройства с применением гироскопов, в том числе оснащенных массивными роторами.
Известен гироскоп, содержащий основание с опорами для концов оси и размещенный на середине оси ротор. При вынужденном вращении основания на противостоящие опоры со стороны ротора действует перпендикулярно к оси противоположно направленная пара гироскопических сил (см. “Физический энциклопедический словарь” под ред. A.M.Прохорова, М., “Советская энциклопедия”, стр.126/3, далее – Словарь).
Известен также гироскоп, содержащий основание с опорой для оси и размещенный на оси ротор, при вынужденном вращении основания на опору со стороны ротора действует перпендикулярно к оси гироскопическая сила. Ротор выполнен в виде неподвижно соединенных друг с другом одной осью и вращающихся в одну сторону вместе с этой осью двух частей, имеющих равные по величине моменты инерции относительно упомянутой оси и образующих единую механическую систему, центр масс которой расположен на линии оси на равном расстоянии от обоих частей ротора между ними (см. патент Франции FR 2773775 A1, 1999).
Недостатком указанных гироскопов является наличие двух опор для оси. В связи с этим действующая со стороны ротора гироскопическая сила проявляется в виде пары сил, что усложняет устройство, уменьшает надежность функционирования гироскопа, особенно с применением массивных роторов, и приводит к необходимости учитывать все эти факторы при соответствующих инженерных расчетах (см. Словарь, стр.126/3, 127/1).
Предлагаемое изобретение позволяет получить технический результат, заключающийся в применении для ротора только одной опоры с подшипником и размещение центра массы ротора, подшипника и центра соединения споры с основанием на одной прямой линии, совпадающей с направлением созданной со стороны ротора гироскопической силой. Это исключает характерное для известных гироскопов проявление плечей силы и создание пары сил, действующих на подшипники оси в противоположных направлениях. При этом облегчается использование массивного ротора и расширяется область применения гироскопического устройства.
Указанный технический результат достигается тем, что гироскопическое устройство содержит основание с опорой для оси и размещенный на оси ротор, при вынужденном вращении основания на опору со стороны ротора действует перпендикулярно к оси гироскопическая сила. Ротор выполнен в виде неподвижно соединенных друг с другом одной осью и вращающихся в одну сторону вместе с этой осью двух частей, имеющих равные по величине моменты инерции относительно упомянутой оси и образующих единую механическую систему, центр масс которой расположен на линии оси на равном расстоянии от обеих частей ротора между ними. Согласно изобретению центр масс ротора совмещен с подшипником, который установлен на опоре, при этом обеспечивается совмещение на одной прямой линии центра масс ротора, подшипника и центральной точки соединения споры с основанием, являющейся точкой опоры гироскопического устройства, и достигается совпадение указанной прямой линии с направлением гироскопической силы со стороны ротора.
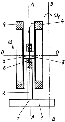
На приведенном чертеже дан общий вид гироскопического устройства с изображением ротора в разрезе фронтальной плоскостью по линии оси 0-0 ротора с показом вращения ротора, а также возможного вынужденного вращения основания 1 вокруг линии оси В-В, приводящего к возникновению гироскопической силы F.
Гироскопическое устройство содержит основание 1 с опорой 2 для оси 3 и размещенный на оси ротор 4, обладающий способностью сохранять направление линии оси 0-0 собственного вращения . При вынужденном вращении 1 основания 1 на опору 2 со стороны ротора 4 действует перпендикулярно к оси 3 гироскопическая сила F. Ротор выполнен в виде неподвижно соединенных друг с другом одной осью 3 и вращающихся в одну сторону вместе с этой осью двух частей 4, имеющих равные по величине моменты инерции относительно упомянутой оси и образующих единую механическую систему, центр масс 5 которой расположен на линии оси 0-0 на равном расстоянии от обоих частей ротора 4 между ними и совмещен с подшипником 6, который установлен на опоре 2, размещенной между частями ротора 4. При этом обеспечивается совмещение на одной прямой линии А-А центра масс 5 ротора, подшипника 6 и центральной точки соединения опоры с основанием, являющейся точкой опоры 7 гироскопического устройства, и достигается совпадение указанной прямой линии А-А с направлением гироскопической силы F.
Привод гироскопического устройства выполняют известным путем в виде ротора быстроходного электромотора, или, как вариант устройства, в виде воздушной турбинки, приводимой в движение струей воздуха (см. Словарь, стр.127/1).
Гироскопическое устройство работает следующим образом.
Определяющим условием функционирования гироскопического устройства является вращение ротора 4 с возможным вынужденным вращением 1 основания 1 вокруг линии оси В-B, не совпадающей с направлением линии оси 0-0 ротора. При этом со стороны ротора на подшипник 6 и ось 3 действует гироскопическая сила F, которая согласно известному свойству гироскопа стремится кратчайшим путем установить ось 3 ротора параллельно линии оси В-В, причем так, чтобы и вращение ротора и вынужденное вращение 1 основания были видны происходящими в одну сторону. Причем здесь рассматривается только действие сил без фактического перемещения оси 3, которая удерживается на опоре 2 при помощи подшипника 6. Известно, что центр масс любой механической системы, в том числе и ротора, проявляется как материальная точка, в которой сосредоточена масса всей системы и на которую действуют все силы, приложенные к системе (см. “Политехнический словарь” под ред. А.Ю.Ишлинского, изд. “Советская энциклопедия”, М. – 1980, стр.585). Следовательно и в предложенном гироскопическом устройстве возникающая гироскопическая сила F действует на центр массы 5 ротора, которая имеет одну точку опоры в виде подшипника 6. Вместе с тем, в связи с размещением центра массы 5 ротора, его подшипника 6 и центральной точки 7 соединения опоры 2 с основанием 1 на одной прямой линии А-А, здесь отсутствуют плечи для гироскопической силы F, что исключает возможность создания пары сил. Помимо этого, в данном случае гироскопическая сила является противодействующей к силе тяжести ротора.
Формула изобретения
Гироскопическое устройство, содержащее основание с опорой для оси и размещенный на оси ротор, при вынужденном вращении основания на опору со стороны ротора действует перпендикулярно к оси гироскопическая сила, ротор выполнен в виде неподвижно соединенных друг с другом одной осью и вращающихся в одну сторону вместе с этой осью двух частей, имеющих равные по величине моменты инерции относительно упомянутой оси и образующих единую механическую систему, центр масс которой расположен на линии оси на равном расстоянии от обеих частей ротора между ними, отличающееся тем, что центр масс ротора совмещен с подшипником, который установлен на опоре, при этом обеспечивается совмещение на одной прямой линии центра масс ротора, подшипника и центральной точки соединения опоры с основанием, являющейся точкой опоры гироскопического устройства, и достигается совпадение указанной прямой линии с направлением гироскопической силы со стороны ротора.
РИСУНКИ
|
|