|
|
(21), (22) Заявка: 2008100915/28, 09.01.2008
(24) Дата начала отсчета срока действия патента:
09.01.2008
(46) Опубликовано: 20.10.2009
(56) Список документов, цитированных в отчете о поиске:
RU 2282800 C1, 27.08.2006. RU 2307324 C1, 27.09.2007. SU 1801203 A3, 07.03.1993. US 5585558 A, 17.12.1996.
Адрес для переписки:
197082, Санкт-Петербург, ул. Ждановская, 13, ВКА им. А.Ф. Можайского
|
(72) Автор(ы):
Дикарев Виктор Иванович (RU), Доронин Александр Павлович (RU), Дрожжин Владимир Васильевич (RU), Прохорович Владимир Евгеньевич (RU), Юнак Алевтин Иванович (RU), Свинарчук Андрей Александрович (RU)
(73) Патентообладатель(и):
Государственное образовательное учреждение высшего профессионального образования Военно-космическая академия имени А.Ф. Можайского (RU)
|
(54) КОМПЛЕКС БОРЬБЫ С ЦУНАМИ
(57) Реферат:
Изобретение относится к ракетно-космической технике и может быть использовано для борьбы с цунами. Сущность: комплекс содержит орбитальную и наземную станции. Орбитальная станция включает каналы облучения, обнаружения и поражения, а также многопроцессорную систему. В каналах облучения и поражения используются молекулярные лазеры. В канале обнаружения используется спектральное устройство, разлагающее в спектр отражений сигнал. Применяется блок качания лазерных лучей, осуществляющий прокачку лазерных лучей перпендикулярно и вдоль геостационарной орбиты орбитальной станции. Орбитальная станция снабжена первым приемопередатчиком, соединенным вторым антенным переключателем с приемо-передающей антенной. Наземная станция включает дисплей с монитором, табло технического состояния и аппаратуру канала радиосвязи. Наземная станция снабжена вторым приемопередатчиком, соединенным третьим антенным переключателем с приемо-передающей антенной. Технический результат: повышение эффективности борьбы с цунами. 4 ил.
Предлагаемый комплекс борьбы с цунами относится к области наук о Земле, а также к ракетно-космической технике и более конкретно – к борьбе с таким неблагоприятным явлением природы, как цунами.
Цунами подразделяются на сейсмические и метеорологические. Сейсмические цунами возникают в процессе землетрясений на глубине в море или океане. Сейсмические цунами (волны) расходятся по кругу от эпицентра (очага) землетрясения. Метеорологические цунами возникают под действием мощных циклонов или тайфунов в море или океане. Метеорологические цунами представляют собой, как правило, мощную одиночную волну или ряд интенсивных параллельных волн.
Скорость движения и высота гребня волн цунами зависят от глубины возникновения их в море или в океане и от расстояния до береговой суши для сейсмических цунами; для метеорологических волн – от скорости ветра и от расстояния до береговой суши. Скорость движения волн цунами колеблется от 600 до 30 км/час (у берега). Высота гребня волн цунами доходит до 30-40 м (в зоне заплеска). Период следования волн цунами от 2-3 до 30-40 мин. Действию цунами подвержены районы моря или океана от 60° северной широты до 50° южной широты.
Известны комплексы борьбы с цунами (авт.свид. СССР 1801203; патенты РФ 2130525, 2225946, 2282800; патенты США 5585558; патенты Японии 7294325, 11064051, 2003151021 и другие).
Из известных комплексов наиболее близким к предлагаемому является «Комплекс борьбы с цунами» (патент 2282800, F24J 3/00, 2005), который и выбран в качестве прототипа.
Указанный комплекс разрушает гребень волны цунами путем испарения его или сдвига слоев воды на протяжении действия лазерных лучей.
Комплекс борьбы с цунами состоит из орбитальной и наземной станции. Орбитальная станция выводится на геостационарную орбиту в точку, которая проектируется на Землю в эпицентр возможного возникновения цунами и содержит канал облучения цунами (лазер с антенной), канал обнаружения цунами (антенна, приемник, спектральное устройство), канал поражения цунами (лазер, антенна), микропроцессорную систему, блок качания лазерных лучей, канал радиосвязи с Землей (наземной станцией) и солнечные батареи. Непрерывный обзор заданного района Земли (3500×3500 км) осуществляется путем сканирования лазерного луча перпендикулярно орбите и вдоль орбиты с помощью блока качания лазерного луча. Наземная станция осуществляет контроль работы орбитальной станции.
Эффективность борьбы с цунами во многом зависит от надежности работы канала радиосвязи между наземной и орбитальной станциями.
Технической задачей изобретения является повышение надежности дуплексной радиосвязи между наземной и орбитальной станциями путем использования двух частот w1, w2 и сложных сигналов с фазовой манипуляцией.
Поставленная задача решается тем, что комплекс борьбы с цунами, содержащий, в соответствии с ближайшим аналогом, орбитальную станцию с каналами облучения, обнаружения и поражения цунами и с многопроцессорной системой, а также наземную станцию, включающую дисплей с монитором, табло технического состояния и аппаратуру канала радиосвязи, при этом в канале облучения и поражения используются молекулярные лазеры, в канале обнаружения включается спектральное устройство, разлагающее в спектр отраженный сигнал, что позволяет с помощью микропроцессорной системы обнаружить цунами, применяется блок качания лазерных лучей перпендикулярно и вдоль геостационарной орбиты орбитальной станции, отличается от ближайшего аналога тем, что орбитальная станция снабжена первым приемопередатчиком, состоящим из последовательно включенных первого задающего генератора, первого фазового манипулятора, второй вход которого соединен с микропроцессорной системой, первого смесителя, второй вход которого соединен с выходом первого гетеродина, усилителя первой промежуточной частоты, первого усилителя мощности, второго антенного переключателя, вход-выход которого связан с первой приемо-передающей антенной, второго усилителя мощности, второго смесителя, второй вход которого соединен с выходом второго гетеродина, первого усилителя второй промежуточной частоты, первого перемножителя, второй вход которого соединен с выходом второго гетеродина, первого полосового фильтра и первого фазового детектора, второй вход которого соединен с выходом первого гетеродина, а выход подключен к микропроцессорной системе, наземная станция снабжена вторым приемопередатчиком, состоящим из последовательно включенных второго задающего генератора, второго фазового манипулятора, второй вход которого соединен с компьютером, третьего смесителя, второй вход которого соединен с первым выходом третьего гетеродина, усилитель третьей промежуточной частоты, третьего усилителя мощности, третьего антенного переключателя, вход-выход которого связан со второй приемопередающей антенной, четвертого усилителя мощности, четвертого смесителя, второй вход которого соединен с первым выходом четвертого гетеродина, второго усилителя второй промежуточной частоты, второго перемножителя, второй вход которого соединен с вторым выходом третьего гетеродина, второго полосового фильтра, второго фазового детектора, второй вход которого соединен с вторым выходом четвертого гетеродина, и компьютера, к которому подключены табло технического состояния и дисплей с монитором.
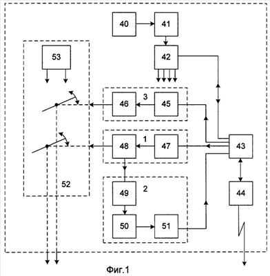
Структурная схема орбитальной станции представлена на фиг.1. Структурная схема первого приемопередатчика, размещенного на орбитальной станции, представлена на фиг.2. Структурная схема второго приемопередатчика, размещенного на наземной станции, изображена на фиг.3. Частотная диаграмма, иллюстрирующая преобразование сигналов по частоте, показана на фиг.4.
Орбитальная станция состоит из следующих частей:
– канал 1 облучения цунами, содержащий лазер 47 и антенную систему 48;
– канал 2 обнаружения цунами, содержащий антенный переключатель 49, приемник 50 и спектральное устройство 51;
– канал 3 поражения цунами, содержащий мощный лазер 45 и антенную систему 46;
– солнечные батареи 40;
– накопители 41;
– блок 42 распределения питания;
– микропроцессорную систему 43;
– канал 44 радиосвязи;
– блок 52 качания лучей;
– блок 53 электропривода.
Первый приемопередатчик 4 содержит последовательно включенные первый задающий генератор 5, первый фазовый манипулятор 7, второй вход которого соединен с микропроцессорной системой 6, первый смеситель 9, второй вход которого соединен с выходом первого гетеродина 8, усилитель 10 первой промежуточной частоты, первый усилитель 11 мощности, второй антенный переключатель 12, вход-выход которого связан с первой приемопередающей антенной 13, второй усилитель 14 мощности, второй смеситель 16, второй вход которого соединен с выходом второго гетеродина 15, первый усилитель 17 второй промежуточной частоты, первый перемножитель 18, второй вход которого соединен с выходом гетеродина 15, первый полосовой фильтр 19, первый фазовый детектор 20, второй вход которого соединен с выходом гетеродина 8, и микропроцессорная система 6.
Наземная станция включает следующие части:
– дисплей 38 с монитором;
– табло 39 технического состояния;
– аппаратуру канала радиосвязи (второй приемопередатчик 21).
Второй приемопередатчик 21 содержит последовательно включенные второй задающий генератор 22, второй фазовый манипулятор 24, второй вход которого соединен с компьютером 23, третий смеситель 26, второй вход которого соединен с первым выходом третьего гетеродина 25, усилитель 27 третьей промежуточной частоты, третий усилитель 28 мощности, третий антенный переключатель 29, вход-выход которого связан со второй приемопередающей антенной 30, четвертый усилитель 31 мощности, четвертый смеситель 33, второй вход которого соединен с первым выходом четвертого гетеродина 32, второй усилитель 34 второй промежуточной частоты, второй перемножитель 35, второй вход которого соединен с вторым выходом третьего гетеродина 25, второй полосовой фильтр 36, второй фазовый детектор 37, второй вход которого соединен с вторым выходом четвертого гетеродина 32, и компьютер 23, к которому подключены дисплей 38 с монитором и табло 39 технического состояния.
Принцип действия комплекса борьбы с цунами основан на явлении разрушения гребня волны цунами путем испарения его или сдвига слоев воды на протяжении действия лазерных лучей. При этом волны с высотой гребня не более 5 м, возникающие при действии ветра, нецелесообразно поражать комплексом, так как они не приносят серьезного ущерба.
Орбитальная станция выводится на геостационарную орбиту в точку, которая проектируется на Землю в эпицентр района возможного возникновения цунами. Указанная точка выбирается на основе сообщения опытных данных предыдущих процессов действия цунами. Непрерывный обзор данного района Земли осуществляется путем сканирования лазерного луча перпендикулярно орбите и вдоль орбиты с помощью специального блока 52 качания лучей.
Ширина зоны обзора Земли приблизительно равна:
l 2htg
где h – высота орбиты (36.000 км);
– угол прокачки луча (угол между перпендикуляром на Землю и радиусом на границу зоны обзора).
Исходя из опытных данных цунами в Юго-восточной Азии задается шириной зоны обзора 3.500 км. Тогда

=2°, 47′ 3,0°
Выбор состава оборудования тех или иных каналов зависит от диапазона длин волн используемого излучения. Для того чтобы диапазон волн не поглощался атмосферой или пропускался без искажения облаками, выбирается рабочая длина волны =100-200 мкм. Эта длина волны при достаточной мощности на выходе генерируется молекулярным лазером на вращательных переходах (Пихтин А.Н. Оптическая и квантовая электроника. М., Высшая школа, 2001, с.336-357). Накачка лазеров – тлеющая, так как она происходит при более низкой ионизации плазмы.
Канал 1 облучения цунами включает импульсный лазер 47 и антенную систему 48. В качестве лазера применяется молекулярный лазер. Антенная система 48 канала – параболическая с облучателем в форме параболоида. Антенная система 48 концентрирует лазерное излучение с выхода лазера 47 на водную поверхность. При этом плотность мощности в центре зоны облучения 104-105 Вт/см2, что вполне достаточно для отражения излучения от цунами и его частичного приема на орбитальной станции.
Канал 2 обнаружения цунами включает импульсный приемник 50, спектральное устройство 51, антенный переключатель 49. В приемнике 50 применяется супергетеродинная схема усилительного тракта с широкой полосой пропускания. После детектирования напряжения огибающей отраженного импульса подается на спектральное устройство 51. Спектральное устройство 51 регистрирует интенсивность излучения цунами на заданных участках для данной высоты гребня волны. Спектральное устройство 51 состоит из блока разделения сигнала (с помощью спектральных фильтров) по пяти частотным каналам, фотоэлектронных умножителей в каждом канале и преобразователей напряжения сигналов в цифровой код. Цифровые коды подаются в микропроцессорную систему 43, где они сравниваются по определенным правилам с кодами реальных цунами, заложенными в банке данных микропроцессорной системы 43. Банк данных составляется при проектировании комплекса на основе обобщения опытных данных передающих процессов действия цунами.
Канал 2 обнаружения использует антенную систему канала 1 облучения. Антенный переключатель 49 на входе приемника 50 служит для запирания приемника 50 при срабатывании канала 1 облучения. Он собран на высокочастотных разрядниках. В случае идентификации принятых кодов с кодами цунами микропроцессорная система 43 подает сигнал для срабатывания канала 3 поражения.
Канал 3 поражения цунами включает мощный импульсный лазер 45 и антенную систему 46. В качестве лазера применяется молекулярный лазер, но значительно более мощный за счет применения большей массы реагента и более интенсивной накачки. Антенная система 46 канала – параболическая с облучателем в фокусе параболоида. При этом радиус зоны канала излучения около 50 м, а угол расходимости лазерного луча поражения ±0,5°. Лазер 45 совместно с антенной 46 обеспечивает плотность мощности в зоне облучения, достаточную для испарения волны цунами. Если при опытной эксплуатации плотность мощности в зоне падения излучения окажется недостаточной, то необходимо увеличить число молекулярных лазеров, например до трех, со смещением точки падения оси луча на воду. На краю зоны облучения имеет место сдвиг (перемещение) слоев цунами.
Блок 52 качания лазерных лучей обеспечивает прокачку лазерных лучей облучения (обнаружения) и поражения наземной поверхности. Блок включает две плоские отражающие пластины и блок 53 электропривода. Отражающие пластины соединены жесткой механической связью и укреплены на платформе. Чтобы не затемнять друг друга, отклоняющие пластины канала 1 облучения и канала 3 поражения сдвинуты относительно орбиты на поперечный размер пластины. Отражающие пластины канала 1 облучения поворачиваются на угол ±3,0° блоком 53 электропривода и развертывают лазерные лучи перпендикулярно геостационарной орбите. Платформа поворачивается на угол ±3,0° блоком 53 электропривода и развертывает лазерные лучи вдоль орбиты. Благодаря указанному двойному качанию зоной облучения лазерных лучей на земле перекрывается область размером 3500×3500 км.
Микропроцессорная система 43 определяет принадлежность отраженных от водной поверхности сигналов к цунами и управляет рабочими процессами на орбитальной станции, в том числе запуском импульсных молекулярных лазеров канала 1 облучения и канала 3 поражения, распределением питания от солнечных батарей 40 и работой канала 44 радиосвязи с Землей.
Канал 44 радиосвязи с Землей включает приемопередатчик 4 метровых волн, установленный на орбитальной станции, и приемопередатчик 21 метровых волн, установленный на наземной станции.
На землю передаются режимы работы и исправность аппаратуры орбитальной станции по поражению цунами. Указанная информация микропроцессорной системой 6 формируется в виде цифрового модулирующего кода M1(t) и подается на второй вход фазового манипулятора 7, на первый вход которого поступает гармоническое колебание с выхода задающего генератора 5
uc1(t)=Uc1·cos(wct+ c1), 0 t Tc1,
где Uc1, c, c1, Tc1 – амплитуда, несущая частота, начальная фаза и длительность гармонического колебания.
На выходе фазового манипулятора 7 формируется сложный сигнал с фазовой манипуляцией (ФМн)
u1(t)=Uc1·cos[wct+ k1(t)+ c1], 0 t Tc1,
где k1(t)={0, } – манипулированная составляющая фазы, отображающая закон фазовой манипуляции в соответствии с модулирующим кодом М1(t), причем k1(t}=const при к э, и может изменяться скачком при t=к э, т.е. на границах между элементарными посылками (к=1, 2, , N-1);
э, N – длительность и количество элементарных посылок, из которых составлен сигнал длительностью Tс1(Tc1=N· э).
Этот сигнал поступает на первый вход смесителя 9, на второй вход которого подается напряжение гетеродина 8
uc1(t)=Uг1·cos(wг1t+ г1).
На выходе смесителя 9 образуются напряжения комбинационных частот. Усилителем 10 выделяется напряжение первой промежуточной (суммарной) частоты
uпр1(t)=Uпр1·cos[wпр1t+ k1(t)+ пр1], 0 t Tc1,
где 
пр1= с+ г1 – первая промежуточная (суммарная) частота;
пр1= с1+ г1
которое после усиления в усилителе 11 мощности через антенный переключатель 12 поступает в приемопередающую антенну 13, излучает ее в эфир на частоте 1= пр1 (фиг.4), улавливается приемопередающей антенной 30 приемопередатчика 21, установленного на наземной станции, и через антенный переключатель 29 и усилитель 31 мощности поступает на первый вход смесителя 33. На второй вход последнего подается напряжение гетеродина 32
uг1(t)=Uг1·cos(wг1t+ г1).
На выходе смесителя 33 образуются напряжения комбинационных частот. Усилителем 34 выделяется напряжение второй промежуточной (разностной) частоты
uпр2(t)=Uпр2·cos[wпр2t+ k1(t)+ пр2], 0 t Tc1,
где 
пр2= 1– г1 – вторая промежуточная (разностная) частота;
пр2= пр1– г1,
которое поступает на первый вход перемножителя 35, на второй вход последнего подается напряжение гетеродина 25
uг2(t)=Uг2·cos(wг2t+ г2).
На выходе перемножителя 35 образуется напряжение
u2(t)=U2·cos[wг1t+ k1(t)+ г1], 0 t Tc1,
где 
г1= г2– пр2,
г1= г2– пр2,
которое выделяется полосовым фильтром 36 и поступает на первый (информационный) вход фазового детектора 37. На второй (опорный) вход фазового детектора 37 подается напряжение uг1(t) со второго выхода гетеродина 32. В результате синхронного детектирования на выходе фазового детектора 37 образуется низкочастотное напряжение
uн(t)=Uн1·cos k2(t), 0 t Tc1,
где 
пропорциональное модулирующему коду M1(t). Это напряжение поступает в компьютер 23, который обеспечивает ее визуальное наблюдение на мониторе дисплея 38 и на табло 39.
Дисплей 38 с монитором позволяет просматривать всю информацию, поступающую с орбитальной станции и отправляемую на нее.
Табло 39 отображает техническое состояние всех частей орбитальной и наземной станций.
С Земли передаются сигналы по замене неисправных блоков орбитальной станции и принудительному срабатыванию каналов. Эта информация формируется в виде цифрового модулирующего кода M2(t) в компьютере 23 и подается на второй вход фазового манипулятора 24, на первый вход которого подается гармоническое колебание с выхода задающего генератора 22
uс2(t)=Uс2·cos(wсt+ с2), 0 t Tc2.
На выходе фазового манипулятора 24 формируется сложный сигнал с фазовой манипуляцией (ФМн)
u3(t)=Uс2·cos[wсt+ k2(t)+ с2], 0 t Tc2,
где к2={0, } – манипулируемая составляющая фазы, отображающая закон фазовой манипуляции в соответствии с модулирующим кодом M2(t), который поступает на первый вход смесителя 26, на второй вход которого подается напряжение гетеродина 25
uг2(t)=Uг2·cos(wг2+ г2).
На выходе смесителя 26 образуются напряжения комбинационных частот. Усилителем 27 выделяется напряжение третьей промежуточной частоты
uпр3(t)=Uпр3·cos[wпр3t- k2(t)+ пр3], 0 t Tc2,
где 
пр3= г2– с – третья промежуточная (разностная) частота;
пр3= г2– с2,
которое после усиления в усилителе 28 мощности через антенный переключатель 29 поступает в приемопередающую антенну 30, излучается ею в эфир на частоте 2= пp3, улавливается приемопередающей антенной 13 орбитальной станции и через антенный переключатель 12 и усилитель 14 мощности поступает на первый вход смесителя 16, на второй вход которого подается напряжение гетеродина 15
uг2(t)=Uг2·cos(wг2t+ г2).
На выходе смесителя 16 образуются напряжения комбинационных частот. Усилителем 17 выделяется напряжение второй промежуточной (разностной) частоты
uпр4(t)=Uпр4·cos[wпр2t+ k2(t)+ пр4], 0 t Tc2,
где 
пр2= г2– 2 – вторая промежуточная (разностная) частота;
пр4= г2– пр3
которое поступает на первый вход перемножителя 18. На второй вход последнего подается напряжение uг2(t) с выхода гетеродина 15. На выходе перемножителя 18 образуется напряжение
u4(t)=U4·cos[wг1t+ k2(t)+ г1], 0 t Tc2,
где ;
г1= г2– пр2;
г1= г2– пр4,
которое выделяется полосовым фильтром 19 и поступает на первый (информационный) вход фазового детектора 20. На второй вход последнего подается напряжение uг1(t) гетеродина 8. В результате синхронного детектирования на выходе фазового детектора образуется низкочастотное напряжение
uн2(t)=Uн2·cos k2(t), 0 t Tc2,
где ,
пропорциональное модулирующему коду M2(t). Это напряжение поступает в микропроцессорную систему 6, которая управляет рабочими процессами на орбитальной станции, в том числе запуском импульсных молекулярных лазеров канала 1 облучения и канала 3 поражения, распределением питания от солнечных батарей 40 и работой канала 44 радиосвязи с Землей.
Солнечные батареи 40 преобразуют энергию солнечного света, когда орбитальная станция освещается Солнцем, в энергию для зарядки накопителей 41. Первоначально накопители 41 заряжаются при изготовлении на Земле. На орбите энергия накопителей 41 распределяется среди частей орбитальной станции по сигналам микропроцессорной системы 43.
Рассмотрим работу комплекса борьбы с цунами в динамике.
При развертывании комплекса орбитальная станция выводится на геостационарную орбиту в точку, которая проектируется в эпицентр цунами, определяемый на основе опытных данных. После выведения орбитальной станции периодически запускается лазер 47 канала облучения. Генерируется импульс излучения, который после концентрации антенной 48 падает на земную поверхность. Отраженный от этой поверхности импульс излучения принимается антенной канала облучения. При этом непрерывно производится прокачка лазерных лучей блоком 52 качания. Допустим, при очередном облучении происходит отражение излучения от цунами. Отраженный от цунами импульс излучения поступает на приемник 50, с выхода которого огибающая импульса подается на спектральное устройство 51. Спектральное устройство 51 разлагает импульс по частотным составляющим, которые после усиления преобразуются в цифровые коды и передаются в микропроцессорную систему 43. Последняя по определенным алгоритмам устанавливает принадлежность импульса к цунами. В случае положительного решения о цунами микропроцессорная система 43 запускает лазер 45 поражения. При этом лазер 45 генерирует мощный импульс излучения, который контролируется антенной системой 46 и после отражения от пластинки блока качания падает на цунами. При этом волна цунами в центре области излучения нагревается и испаряется, а на краях области происходит сдвиг и разлет слоев воды. При следующем обнаружении цунами процесс поражения повторяется. Под действием одного или нескольких импульсов излучения волны цунами разрушаются.
Таким образом, предлагаемый комплекс борьбы с цунами по сравнению с прототипом обеспечивает повышение надежности дуплексной радиосвязи между наземной и орбитальной станциями. Это достигается использованием двух частот
w1, w2 и сложных сигналов с фазовой манипуляцией, которые обладают высокой помехоустойчивостью, энергетической и структурной скрытностью.
Энергетическая скрытность данных сигналов обусловлена их высокой сжимаемостью во времени или по спектру при оптимальной обработке, что позволяет снизить мгновенную излучаемую мощность. Вследствие этого используемый сложный ФМн-сигнал в точке приема может оказаться замаскированным шумами и помехами. Причем энергия сложного ФМн-сигнала отнюдь не мала, она просто распределена по частотно-временной области так, чтобы в каждой точке этой области мощность сигнала была меньше мощности шумов и помех.
Структурная скрытность сложных ФМн-сигналов обусловлена большим разнообразием их форм и значительными диапазонами изменений параметров, что затрудняет оптимальную или хотя бы квазиоптимальную обработку сложных ФМн-сигналов априорно неизвестной структуры с целью повышения чувствительности приемника.
Сложные ФМн-сигналы открывают широкие возможности в технике передачи дискретных сообщений на двух несущих частотах и их защиты от несанкционированного доступа. Указанные сигналы позволяют применять эффективный вид селекции – структурную селекцию.
Формула изобретения
Комплекс борьбы с цунами, содержащий орбитальную станцию с каналами облучения, обнаружения и поражения и с многопроцессорной системой, а также наземную станцию, включающую дисплей с монитором, табло технического состояния и аппаратуру канала радиосвязи, при этом в каналах облучения и поражения используются молекулярные лазеры, в канале обнаружения включается спектральное устройство, разлагающее в спектр отражений сигнал, что позволяет с помощью микропроцессорной системы обнаружить цунами, применяется блок качания лазерных лучей, осуществляющий прокачку лазерных лучей перпендикулярно и вдоль геостационарной орбиты орбитальной станции, отличающийся тем, что орбитальная станция снабжена первым приемопередатчиком, состоящим из последовательно включенных первого задающего генератора, первого фазового манипулятора, второй вход которого соединен с микропроцессорной системой, первого смесителя, второй вход которого соединен с выходом первого гетеродина, усилителя первой промежуточной частоты, первого усилителя мощности, второго антенного переключателя, вход-выход которого связан с первой приемопередающей антенной, второго усилителя мощности, второго смесителя, второй вход которого соединен с выходом второго гетеродина, первого усилителя второй промежуточной частоты, первого перемножителя, второй вход которого соединен с выходом второго гетеродина, первого полосового фильтра и первого фазового детектора, второй вход которого соединен с выходом первого гетеродина, а выход подключен к микропроцессорной системе, наземная станция снабжена вторым приемопередатчиком, состоящим из последовательно включенных второго задающего генератора, второго фазового манипулятора, второй вход которого соединен с компьютером, третьего смесителя, второй вход которого соединен с первым выходом третьего гетеродина, усилителя третьей промежуточной частоты, третьего усилителя мощности, третьего антенного переключателя, вход-выход которого связан со второй приемопередающей антенной, четвертого усилителя мощности, четвертого смесителя, второй вход которого соединен с первым выходом четвертого гетеродина, второго усилителя второй промежуточной частоты, второго перемножителя, второй вход которого соединен со вторым выходом третьего гетеродина, второго полосового фильтра, второго фазового детектора, второй вход которого соединен со вторым выходом четвертого гетеродина, и компьютера, к которому подключены табло технического состояния и дисплей с монитором.
РИСУНКИ
|
|