|
|
(21), (22) Заявка: 2008108363/06, 03.03.2008
(24) Дата начала отсчета срока действия патента:
03.03.2008
(46) Опубликовано: 20.10.2009
(56) Список документов, цитированных в отчете о поиске:
RU 27702 U1, 10.02.2003. SU 763701 A, 15.09.1980. RU 2196939 C2, 20.01.2003. RU 2185573 C2, 20.07.2002. GB 1038141 A, 10.08.1966.
Адрес для переписки:
356236, Ставропольский край, Шпаковский р-н, с. Верхнерусское, ул. Батайская, 35, ООО “Научное Производственное Объединение Верхнерусские Коммунальные Системы”, ген. директору
|
(72) Автор(ы):
Сердюков Алексей Алексеевич (RU), Сердюков Алексей Максимович (RU)
(73) Патентообладатель(и):
Общество с ограниченной ответственностью “Научное Производственное Объединение Верхнерусские Коммунальные системы” (RU)
|
(54) ДАТЧИК ТЕМПЕРАТУРЫ
(57) Реферат:
Изобретение относится к энергетике, в частности к датчикам температуры, используемым в газогорелочных устройствах для сжигания газа в котлах наружного размещения, и может быть использовано в бытовых газовых аппаратах для автоматического поддержания температуры теплоносителя. Датчик температуры содержит корпус, внутри которого установлен металлический стержень, а на корпусе с помощью кронштейна закреплена двухпозиционная заслонка с уплотнителями и соплами, импульсные трубки для соединения с газовым запорным клапаном. Датчик дополнительно снабжен полимерной трубкой, соединенной с металлическим стержнем, последний имеет регулировочную резьбу, а на другом конце стержня неподвижно закреплен регулировочный диск, при этом полимерная трубка выполнена с возможностью регулирования длины металлического стержня, а внутри кронштейна установлен ползун с регулировочным винтом, который дополнительно снабжен плоской пружиной, выполненной с возможностью взаимодействия с двухпозиционной заслонкой, закрывающей и одновременно открывающей сопла, соединенные с надмембранной и подмембранной полостью газового запорного клапана. Изобретение позволяет упростить конструкцию, уменьшить габариты и увеличить осевое перемещение металлического стержня со снижением погрешности включения. 2 ил.
Область техники, к которой относится изобретение
Изобретение относится к энергетике, в частности к датчикам температуры, используемым в газогорелочных устройствах для сжигания газа в котлах наружного размещения, и может быть использовано в бытовых газовых аппаратах для автоматического поддержания температуры теплоносителя.
Уровень техники
Известна водогрейная универсальная котельная установка, содержащая водогрейный отопительный котел с газогорелочным устройством, газоходом, патрубками греющей и обратной воды, верхнюю емкость с системой горячего водоснабжения, при этом верхняя емкость выполнена в виде цилиндрического барабана, а система горячего водоснабжения выполнена в виде многоходового скоростного водоводяного подогревателя, содержащего пучки латунных трубок, разделенных по концам камерами и расположенных последовательно снизу вверх (см. 2133925, МПК F24Н 1/22, опубл. 27.07.1999 г.).
Недостатком данной установки является высокая себестоимость, сложность конструкции.
Известна атмосферная газовая горелка, содержащая газовый регулятор, состоящий из блока регулирования, соединенного с датчиком температуры с помощью канала регулирования, блока контроля, соединенного с датчиком пламени, тяги каналом контроля, при этом она снабжена вторым газовым регулятором, состоящим из блока регулирования, соединенного с датчиком температуры и наружного воздуха, блока контроля, при этом второй газовый регулятор установлен с возможностью параллельного подключения полостей блоков контроля и датчика температуры наружного воздуха путем соединения с блоком регулирования второго газового регулятора, причем процентное соотношение подачи газа в горелку обоими регуляторами устанавливается кранами (см. пат. RU 2196939, МПК F23N 1/10, F23D 14/60, опубл. 20.01.2003 г.).
Наиболее близким по технической сущности и достигаемому положительному эффекту и принятым авторами за прототип является датчик температуры, содержащий корпус с отверстиями для подвода и отвода газа от газового регулятора, внутри которого установлен металлический стержень, а на корпусе с помощью кронштейна закреплена двухпозиционная заслонка с уплотнителями и соплами, импульсные трубки для соединения с газовым запорным клапаном (см. Датчик температуры. РГУ-M1. Руководство по эксплуатации. Са 2.574.023 РЭ ОАО «Завод Староруссприбор», 175200, г.Старая Русса, Новгородская область, ул. Минеральная, 24).
Недостатком данного датчика является сложность конструкции, большие габариты.
Раскрытие изобретения
Задачей предлагаемого изобретения является разработка датчика температуры, обладающего малыми габаритами и упрощенной конструкцией с одновременным увеличением осевого перемещения металлического стержня со снижением погрешности включения.
Технический результат, который может быть получен с помощью предлагаемого изобретения, сводится к упрощению конструкции, уменьшению габаритов и увеличению осевого перемещения металлического стержня со снижением погрешности включения.
Технический результат достигается с помощью датчика температуры, содержащего корпус, внутри которого установлен металлический стержень, а на корпусе с помощью кронштейна закреплена двухпозиционная заслонка с уплотнителями и соплами, импульсные трубки для соединения с газовым запорным клапаном, при этом он дополнительно снабжен полимерной трубкой, соединенной с металлическим стержнем, последний имеет регулировочную резьбу, а на другом конце стержня неподвижно закреплен регулировочный диск, причем полимерная трубка выполнена с возможностью регулирования длины металлического стержня, а внутри кронштейна установлен ползун с регулировочным винтом, который дополнительно снабжен плоской пружиной, выполненной с возможностью взаимодействия с двухпозиционной заслонкой, закрывающей и одновременно открывающей сопла, соединенные с надмембранной и подмембранной полостью газового запорного клапана.
Краткое описание чертежей
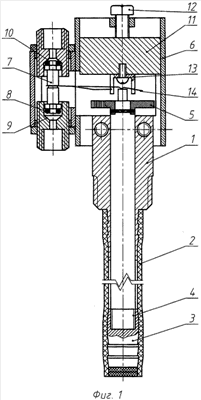
На фиг.1 дано устройство датчика температуры, общий вид.
На фиг.2 – то же, схема включения датчика температуры с газовым запорным клапаном и элементами атмосферной горелки.
Осуществление изобретения
Датчик температуры состоит из корпуса 1 с трубной резьбой, соединенной с полимерной трубкой 2, которая соединена с внутренним металлическим стержнем 3, имеющим регулировочную резьбу 4, на втором конце металлического стержня 3 неподвижно закреплен регулировочный диск 5, при этом на корпусе 1 неподвижно закреплен кронштейн 6, на котором установлена двухпозиционная заслонка 7 с уплотнителями 8 и соплами 9 и 10, а внутри кронштейна 6 установлен ползун 11 с регулировочным винтом 12, на ползуне 11 закреплена призма 13 с плоской пружиной 14, которая своим пазом входит в проточку двухпозиционной заслонки 7, а к соплам 10 и 9 штуцерами (не показаны) закреплены импульсные трубки (не обозначены). В пневматическую схему включения датчика температуры с газовым запорным клапаном и элементами атмосферной горелки входят: запорное устройство с газовым запорным клапаном 15, мембранное устройство 16, которое содержит гребенку 17, соединенную своими соплами (не показаны) с соплом 10 датчика температуры, датчика тяги 18, датчика пламени 19 и подмембранной полостью 20, гребенка 17 имеет жиклер 21, соединенный с датчиком сетевого газа 22, а надмембранная полость 23 содержит жиклер 24 с клапаном 25, пружиной 26 и уплотнительным элементом 27, сопло 28, соединенное с соплом 9 датчика температуры, в пневматическую схему также включены запальник 29, термобиметаллическая пластина 30, газовый кран 31, горелка 32, топка 33, при этом все элементы горелки 32 соединены трубами и импульсными трубками (не обозначены).
Датчик температуры работает следующим образом.
Изменяя регулировочным винтом 12 положение ползуна 11, добиваются симметричного расположения плоской пружины 14 за счет перемещения призмы 13, а вращая регулировочный диск 5, добиваются закрытия двухпозиционной заслонкой 7 сопла 10, поднимают термобиметаллическую пластину 30, датчик сетевого газа 22 открывают и зажигают запальник 29, затем через 10-12 сек отпускают термобиметаллическую пластину 30 и, если сопла датчика тяги 18, пламени 19 закрыты, газ через жиклер 21 надтекает в подмембранную полость 20, усилием мембраны преодолевая сопротивление газового запорного клапана 15, мембрана поднимает запорное устройство, открывают кран 31, горелка 32 включается в работу. Дымовые газы поступают в топку 33, омывая термобиметаллическую пластину 30 датчика тяги 18, при этом надмембранная полость 23, соединенная соплом 28 с открытым соплом 9 корпуса 1 датчика температуры, соединена с атмосферой, давление в этой полости отсутствует, при подъеме запорного устройства газового запорного клапана 15 в конце хода уплотнитель 27 закрывает газовый запорный клапан 15, прекращая доступ газа через жиклер 24 в надмембранную полость 23, при этом пружина 26 сжимается, по достижении теплоносителем заданной температуры полимерная трубка 2 отодвигает металлический стержень 3, а вместе с ним регулировочный диск 5 от плоской пружины 14, последняя перекладывает двухпозиционную заслонку 7 в противоположное положение, сопло 10 открывается, а сопло 9 закрывается, в подмембранной полости 20 скачкообразно уменьшается давление, пружина 26 открывает клапан 25 и газ через жиклер 24 поступает в надмембранную полость 23, запорное устройство газового запорного клапана 15 закрывается, после охлаждения теплоносителя полимерная трубка 12, сокращаясь в размере, подвигает металлический стержень 3, а вместе с ним регулировочный диск 5 к плоской пружине 14, которая перекладывает двухпозиционную заслонку 7, открывая сопло 9 и закрывая сопло 10, газ через жиклер 21 надтекает в подмембранную полость 20, так как сопло 9 открыто, давление в надмембранной полости 23 исчезает, усилием мембраны преодолевая сопротивление газового запорного клапана 15, мембрана поднимает запорное устройство, горелка 32 включается в работу. Цикл повторяется.
Предлагаемое изобретение по сравнению с прототипом и другими известными техническими решениями имеет следующие преимущества:
– упрощение конструкции;
– уменьшение габаритов;
– увеличение осевого перемещения металлического стержня со снижением погрешности включения;
– увеличение срока эксплуатации датчика температуры;
– снижение себестоимости датчика.
Формула изобретения
Датчик температуры, содержащий корпус, внутри которого установлен металлический стержень, а на корпусе с помощью кронштейна закреплена двухпозиционная заслонка с уплотнителями и соплами, импульсные трубки для соединения с газовым запорным клапаном, отличающийся тем, что он дополнительно снабжен полимерной трубкой, соединенной с металлическим стержнем, последний имеет регулировочную резьбу, а на другом конце стержня неподвижно закреплен регулировочный диск, при этом полимерная трубка выполнена с возможностью регулирования длины металлического стержня, а внутри кронштейна установлен ползун с регулировочным винтом, который дополнительно снабжен плоской пружиной, выполненной с возможностью взаимодействия с двухпозиционной заслонкой, закрывающей и одновременно открывающей сопла, соединенные с надмембранной и подмембранной полостью газового запорного клапана.
РИСУНКИ
|
|