|
(21), (22) Заявка: 2007136845/11, 04.10.2007
(24) Дата начала отсчета срока действия патента:
04.10.2007
(30) Конвенционный приоритет:
05.10.2006 DE 102006047577.1
(43) Дата публикации заявки: 10.04.2009
(46) Опубликовано: 20.10.2009
(56) Список документов, цитированных в отчете о поиске:
US 4286477 A, 01.09.1981. EP 1382885 A1, 21.01.2004. WO 2006042434 A1, 27.04.2006. SU 1213291 A1, 23.02.1986. RU 2148503 C1, 10.05.2000.
Адрес для переписки:
129090, Москва, ул.Б.Спасская, 25, стр.3, ООО “Юридическая фирма Городисский и Партнеры”, пат.пов. Е.И.Емельянову, рег. 174
|
(72) Автор(ы):
РАУШЕНБАХ Штефан (DE), ЭЙДАМ Манфред (DE), РОТ Андреас (DE)
(73) Патентообладатель(и):
ГКН Вальтершайд Гетрибе ГмбХ (DE)
|
(54) УСТРОЙСТВО ПРИВОДА ДЛЯ АГРЕГАТА СЕЛЬСКОХОЗЯЙСТВЕННОЙ УСТАНОВКИ ИЛИ СЕЛЬСКОХОЗЯЙСТВЕННОЙ МАШИНЫ
(57) Реферат:
Изобретение касается устройства сельскохозяйственной установки или сельскохозяйственной машины. Устройство привода для рабочего агрегата (9) сельскохозяйственной установки или сельскохозяйственной машины содержит коробку передач (2), сцепную муфту (4), приводной редуктор (6) агрегата для приведения в действие рабочего агрегата (9), гидростатический насос (10) и гидростатический мотор (11). Коробка передач (2) установлена с возможностью приведения в действие от приводного двигателя (1). Сцепная муфта (4) установлена с возможностью привода от коробки передач (2), причем вход (34) сцепной муфты (4) посредством коробки передач (2) механически связан с приводным двигателем (1). Приводной редуктор (6) содержит суммирующий привод (8) с первым входом (20), вторым входом (24) и выходом (26), причем первый вход (20) связан механической передачей с выходом (35) сцепной муфты (4), а выход (26) служит для приведения в действие рабочего агрегата (9). Гидростатический насос (10 связан механической передачей с выходом (35) сцепной муфты (4). Гидростатический мотор (11) гидравлически связан с гидростатическим насосом (10) и связан механической передачей со вторым входом (24) суммирующего привода (8). Достигается компактность устройства и увеличение долговечности устройства. 10 з.п. ф-лы, 1 ил.
Изобретение касается устройства привода для агрегата сельскохозяйственной установки или сельскохозяйственной машины с гидростатически-механической передачей. Касаясь агрегата, речь идет, в частности, о молотильном роторе зерноуборочного комбайна.
Документ ЕР 1072817 B1 описывает гидравлико-механическую передачу для сельскохозяйственной уборочной машины. Речь идет предпочтительно о зерноуборочном комбайне, причем гидравлико-механическая передача приводит в действие молотильный ротор и делает возможной бесступенчатую регулировку скорости молотильного ротора. При этом сцепная муфта приводится в действие от приводного двигателя. Выход сцепной муфты связан механической передачей с гидростатическим насосом. Выход сцепной муфты далее связан передачей с полым колесом планетарной передачи. Далее, гидростатический насос гидравлически связан с гидростатическим мотором и приводит его в действие. Гидростатический мотор приводит в действие центральное колесо планетарной передачи. Водило сателлитов планетарной передачи связано механической передачей с молотильным ротором для приведения его в действие.
Чтобы иметь большую область преобразования, гидростатический насос выполнен как насос с поворотными лопастями и может регулироваться, начиная от отрицательной области объема нагнетания вплоть до положительной области объема нагнетания. Если гидростатический насос приводится в действие в отрицательной области, то отдельными конструктивными элементами устройства привода передается реактивная мощность. Эти конструктивные элементы должны иметь соответственно большие размеры. При гидравлически-механическом приводе согласно документу ЕР 1072817 B1 сцепная муфта должна передавать, в частности, возникающую реактивную мощность, так что она должна быть в состоянии передавать более высокие по сравнению с полезной мощностью фактические мощности.
Задачей настоящего изобретения является создание устройства привода для рабочего агрегата сельскохозяйственной установки или сельскохозяйственной машины, при котором отдельные конструктивные элементы и, в частности, сцепная муфта могут иметь как можно меньшие размеры относительно пропускной способности мощности.
Задача решается согласно изобретению посредством устройства привода для рабочего агрегата сельскохозяйственной установки или сельскохозяйственной машины, которое содержит:
сцепную муфту с входом, причем вход может быть связан механической передачей с приводным двигателем,
суммирующий привод с первым входом, вторым входом и выходом, причем первый вход связан механической передачей с выходом сцепной муфты, а выход служит для приведения в действие рабочего агрегата,
гидростатический насос, который связан механической передачей с выходом сцепной муфты, а также
гидростатический мотор, который гидравлически связан с гидростатическим насосом и который связан механической передачей со вторым входом суммирующего привода.
При таком устройстве привода реактивная мощность, если она появляется, передается в гидравлической части через гидравлическую связь между гидростатическим насосом и гидростатическим мотором. В механической области реактивная мощность передается лишь через суммирующий привод. Сцепная муфта и механические части промежуточного звена между управляемой муфтой и суммирующим приводом не находятся в потоке реактивной мощности, и их параметры относительно их передаваемых мощностей могут рассчитываться соответственно меньшими. Кроме того, эти конструктивные элементы подвергаются меньшим нагрузкам и имеют, таким образом, более длительный срок службы.
Предпочтительно предусмотрена коробка передач, причем сцепная муфта закреплена на корпусе коробки передач привода.
Далее, может быть предусмотрено, чтобы для приведения в действие рабочего агрегата был использована коробка передач, и при этом гидростатический насос и гидростатический мотор закреплены на корпусе коробки передач привода агрегата.
Таким образом, можно достигать чрезвычайно коротких путей передачи гидростатической мощности, так что могут сокращаться потери мощности. Напротив, длинные пути передачи осуществляются механически, например, посредством шарнирного вала между сцепной муфтой и входом привода агрегата. При механической передаче на большие расстояния возникают, как правило, незначительные потери мощности, так что коэффициент полезного действия устройства привода повышается.
Предпочтительно предусмотрено, чтобы вход привода агрегата был представлен входным валом, который расположен соосно с входным валом гидростатического мотора.
Вход привода агрегата может быть представлен входным валом, а выход привода агрегата выходным валом, которые расположены под прямым углом друг к другу.
Для достижения отклонения входной вал привода агрегата может быть составной частью угловой передачи. Входной вал привода агрегата может служить непосредственно для приведения в действие гидростатического насоса.
Для большой области преобразования рабочий привод может содержать коробку скоростей, которая связана передачей с суммирующим приводом.
Предпочтительно суммирующий привод – это планетарная передача с полым колесом, центральным колесом и большим количеством сателлитов с одним водилом сателлитов, причем первый вход – это полое колесо планетарной передачи, второй вход – это центральное колесо и выход – это водило сателлитов.
Предпочтительный пример выполнения устройства привода согласно изобретению разъяснен в дальнейшем более подробно с привлечением чертежа.
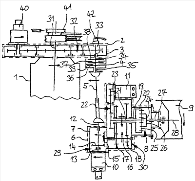
Чертеж показывает приводной мотор 1 как главный привод, например, в форме двигателя внутреннего сгорания, который связан с коробкой передач 2, которая содержит корпус 3 коробки передач. Коробка передач 2 приводит в действие сцепную муфту 4, которая в свою очередь через шарнирный вал 5 приводит в действие привод 6 агрегата, причем привод 6 агрегата включает корпус 7 коробки передач и расположенный в нем суммирующий привод в форме планетарной передачи 8. Привод 6 агрегата служит для приведения в действие рабочего агрегата в форме молотильного ротора 9 зерноуборочного комбайна. На корпусе 7 коробки передач привода 6 агрегата закреплены гидростатический насос 10 и гидростатический мотор 11 и, как в дальнейшем разъясняется более подробно, связаны механической передачей с приводом 6 агрегата. Гидростатический насос 10 гидравлически связан через не представленные гидравлические трубопроводы с гидростатическим мотором 11, чтобы приводить его в действие.
Привод 6 агрегата имеет вход в форме входного вала 12, который приводится в действие шарнирным валом 5. Входной вал 12 привода 6 агрегата непосредственно связан с входным валом 13 гидростатического насоса 10, так что входной вал 12 привода 6 агрегата и входной вал 13 гидростатического насоса 10 расположены соосно друг с другом и связаны без передаточной ступени.
На входном валу 12 привода 6 агрегата расположено без проворачивания первое коническое зубчатое колесо 14, которое приводит в действие второе коническое зубчатое колесо 15, которое сидит на промежуточном валу 16. Конические зубчатые колеса 14, 15 образуют угловую передачу 29, причем промежуточный вал 16 расположен под прямым углом к входному валу 12 привода 6 агрегата.
К угловой передаче 29 присоединяется ступенчатая коробка 30 передач. Промежуточный вал 16 проходит в ступенчатую коробку 30 передач и приводит там в действие – выборочно, через первую ступень 17 зубчатой передачи или вторую ступень 18 зубчатой передачи с соответственно разными коэффициентами преобразованиями – первый выходной вал 19. Первый выходной вал 19 связан с полым колесом 20 (первый вход) планетарной передачи 8. Первый выходной вал 19 выполнен как полый вал, который базирует по центру второй выходной вал 21 с возможностью вращения. Второй выходной вал 21 через передаточную ступень 22 с несколькими цилиндрическими зубчатыми колесами связан передачей с выходным валом 23 гидростатического мотора 11. При этом выходной вал 23 гидростатического мотора 11 и второй выходной вал 21 расположены параллельно друг другу. Через второй выходной вал 21 приводится в действие центральное колесо 24 (второй вход) планетарной передачи 8.
Планетарная передача 8 содержит несколько сателлитов 25, которые расположены между полым колесом 20 и центральным колесом 24 и закреплены с возможностью вращения на водиле 26 сателлитов. Водило 26 сателлитов имеет выходной вал 27, который представляет собой выход планетарной передачи 8 и через который приводится в действие молотильный ротор 9 зерноуборочного комбайна с возможностью вращения вокруг оси 28 вращения. При этом выходной вал 27 расположен соосно с осью 28 вращения молотильного ротора 9.
В целом привод 6 агрегата охватывает, таким образом, угловую передачу 29, ступенчатую коробку 30 передач, включая передаточную ступень 22, и планетарную передачу 8. За счет угловой передачи 29 входной вал 12 и выходной вал 27 привода 6 агрегата расположены под прямым углом друг к другу. Также под прямым углом друг к другу расположены входной вал 13 гидростатического насоса 10 и выходной вал 23 гидростатического мотора 11. Посредством другой конструкции редуктора также возможно располагать относительно друг друга гидростатический насос 10 и гидростатический мотор 11 так, что входной вал 13 гидростатического насоса 10 и выходной вал 23 гидростатического мотора 11 будут ориентированы противоположно друг другу и расположены соосно друг с другом, причем гидростатический насос 10 и гидростатический мотор 11 будут расположены в непосредственной близости друг к другу (встречно-параллельное расположение). Таким образом, можно избегать длинных гидравлических шлангов, которые ведут к большим потерям мощностей.
Приводной двигатель 1 связан передачей с входным валом 31 коробки передач 2. Входной вал 31 коробки передач 2 через передаточную ступень 32 с несколькими цилиндрическими зубчатыми колесами и промежуточными валами приводит в действие выходной вал 33 коробки передач 2. Выходной вал 33 коробки передач 2 связан с входом 34 сцепной муфты 4. Выход 35 сцепной муфты 4 связан передачей с шарнирным валом 5, чтобы приводить его в действие.
Сцепная муфта 4 выполнена как многодисковое сцепление со ступицей 36 дисков сцепления, которая базирует внутренние диски 38, и соединительной втулкой 37, которая базирует внешние диски 39. Ступица 36 дисков сцепления представляет при этом вход 34 сцепной муфты 4, тогда как соединительная втулка 37 представляет выход 35 сцепной муфты 4. Не представленный здесь картер сцепления закреплен без проворачивания на корпусе 3 коробки передач 2.
Коробка передач 2 служит далее для приведения в действие следующих агрегатов или механических приводов, как, например, генераторы 40, ременные приводы 41 или гидростатические насосы 42 для следующих компонентов.
Перечень ссылочных обозначений
1 приводной двигатель
2 коробка передач
3 корпус коробки передач
4 сцепная муфта
5 шарнирный вал
6 привод агрегата
7 корпус коробки передач
8 планетарная передача
9 молотильный ротор
10 гидростатический насос
11 гидростатический мотор
12 входной вал привода агрегата
13 входной вал гидростатического насоса
14 первое коническое зубчатое колесо
15 второе коническое зубчатое колесо
16 промежуточный вал
17 первая ступень зубчатой передачи
18 вторая ступень зубчатой передачи
19 первый выходной вал коробки скоростей
20 полое колесо (первый вход планетарной передачи)
21 второй выходной вал
22 передаточная ступень
23 выходной вал гидростатического мотора
24 центральное колесо (второй вход планетарной передачи)
25 сателлит
26 водило сателлитов (выход планетарной передачи)
27 выходной вал
28 ось вращения молотильного ротора
29 угловая передача
30 коробка скоростей
31 входной вал коробки передач
32 передаточная ступень
33 выходной вал коробки передач
34 вход сцепной муфты
35 выход сцепной муфты
36 ступица дисков сцепления
37 соединительная втулка
38 внутренние диски
39 внешние диски
Формула изобретения
1. Устройство привода для рабочего агрегата (9) сельскохозяйственной установки или сельскохозяйственной машины, содержащее: коробку передач (2), которая установлена с возможностью приведения в действие от приводного двигателя (1), сцепную муфту (4), которая установлена с возможностью привода от коробки передач (2), причем вход (34) сцепной муфты (4) посредством коробки передач (2) механически связан с приводным двигателем (1), приводной редуктор (6) агрегата для приведения в действие рабочего агрегата (9), причем приводной редуктор (6) содержит суммирующий привод (8) с первым входом (20), вторым входом (24) и выходом (26), причем первый вход (20) связан механической передачей с выходом (35) сцепной муфты (4), а выход (26) служит для приведения в действие рабочего агрегата (9), гидростатический насос (10), который связан механической передачей с выходом (35) сцепной муфты (4), а также гидростатический мотор (11), который гидравлически связан с гидростатическим насосом (10), и который связан механической передачей со вторым входом (24) суммирующего привода (8).
2. Устройство привода по п.1, отличающееся тем, что сцепная муфта (4) закреплена на корпусе (3) коробки передач (2).
3. Устройство привода по п.1, отличающееся тем, что гидростатический насос (10) и гидростатический мотор (11) закреплены на корпусе (7) коробки редуктора (6) агрегата.
4. Устройство привода по п.3, отличающееся тем, что выход (35) сцепной муфты (4) и вход (12) приводного редуктора (6) агрегата связаны друг с другом передачей через шарнирный вал (5).
5. Устройство привода по п.3 или 4, отличающееся тем, что вход приводного редуктора (6) агрегата является входным валом (12), который расположен соосно с входным валом (13) гидростатического мотора (11).
6. Устройство привода по п.5, отличающееся тем, что вход приводного редуктора (6) агрегата представляет собой входной вал (12), и выход приводного редуктора (6) агрегата – выходной вал (27), причем входной вал (12) и выходной вал (27) расположены под прямым углом друг к другу.
7. Устройство привода по п.6, отличающееся тем, что входной вал (12) приводного редуктора (6) агрегата является составной частью угловой передачи (29).
8. Устройство привода по п.6 или 7, отличающееся тем, что входной вал (12) приводного редуктора (6) агрегата служит для приведения в действие гидростатического насоса (10).
9. Устройство привода по п.3, отличающееся тем, что приводной редуктор (6) агрегата включает коробку скоростей (30), которая связана передачей с суммирующим приводом (8).
10. Устройство привода по п.1 или 9, отличающееся тем, что суммирующий привод (8) – это планетарная передача с полым колесом (20), центральным колесом (24) и несколькими сателлитами (25) с водилом (26) сателлитов.
11. Устройство привода по п.10, отличающееся тем, что первый вход представляет собой полое колесо (20) планетарной передачи (8), второй вход – центральное колесо (24), и выход – это водило (26) сателлитов.
РИСУНКИ
|