|
|
(21), (22) Заявка: 2008101096/11, 18.01.2008
(24) Дата начала отсчета срока действия патента:
18.01.2008
(46) Опубликовано: 20.10.2009
(56) Список документов, цитированных в отчете о поиске:
RU 2044192 C1, 20.09.1995. RU 2083892 C1, 10.07.1997. JP 11037217 A, 12.02.1999. EP 0547372 A1, 23.06.1993.
Адрес для переписки:
129626, Москва, ул. 1-я Мытищинская, 16, а/я 49
|
(72) Автор(ы):
Дергачёв Эдуард Петрович (RU), Дергачёв Эдуард Эдуардович (RU)
(73) Патентообладатель(и):
Дергачёв Эдуард Петрович (RU)
|
(54) УПРУГОДЕМПФИРУЮЩЕЕ УСТРОЙСТВО (ВАРИАНТЫ)
(57) Реферат:
Изобретение относится к конструкциям, предназначенным для упругого восприятия действующих усилий и их гашения. Устройство содержит эластичное конусообразное кольцо (12), охватывающее сердечник (9) с профилированной рабочей поверхностью. Кольцо (12) размещено на части своей высоты в корпусе (1), имеющем кольцевой выступ на внутренней поверхности, контактирующий с внешней поверхностью кольца (12). По первому варианту суммарная площадь поверхностей выпучивания кольца, расположенных в корпусе, превышает суммарную площадь поверхностей выпучивания, расположенных вне корпуса, из расчета превышения суммарного объема выпучивания при деформации кольца вовнутрь корпуса над объемом выпучивания вне корпуса. По второму варианту в каждом из сечений, проходящих через центральную ось симметрии кольца, равнодействующая сила, действующая на кольцо со стороны его большего основания, проходит через кольцевой выступ корпуса. Достигается повышение долговечности устройства. 2 н. и 4 з.п. ф-лы, 1 ил.
Изобретение относится к самым различным областям техники и может быть использовано в конструкциях, требующих упругого восприятия каких-либо усилий и их гашения.
Известно упругодемпфирующее устройство, содержащее эластичное конусообразное кольцо, охватывающее сердечник с профилированной рабочей поверхностью и размещенное на части своей высоты в корпусе, имеющем кольцевой выступ на внутренней поверхности, контактирующий с внешней поверхностью кольца (см. патент РФ 2044192, от 20.09.95 г.)
Недостатком известного устройства является возможность значительного выпучивания внешней поверхности эластичного конусообразного кольца, расположенной между кольцевым выступом корпуса и нажимным элементом, что приводит к подрезанию выпучиваемой части кольца.
Технический результат, достигаемый предлагаемым упругодемпфирующим устройством, заключается в устранении вышеописанного явления подрезания части объема эластичного кольца, что повышает долговечность всего устройства в целом.
Указанный результат в изобретении по первому варианту достигается тем, что в упругодемпфирующем устройстве, содержащем эластичное конусообразное кольцо, охватывающее сердечник с профилированной рабочей поверхностью и размещенное на части своей высоты в корпусе, имеющем кольцевой выступ на внутренней поверхности, контактирующий с внешней поверхностью кольца, суммарная площадь поверхностей выпучивания кольца, расположенных в корпусе, превышает суммарную площадь поверхностей выпучивания, расположенных вне корпуса, из расчета превышения суммарного объема выпучивания при деформации кольца вовнутрь корпуса над объемом выпучивания вне корпуса.
В изобретении по второму варианту технический результат достигается тем, что в устройстве, содержащем вышеуказанные признаки ближайшего аналога, в каждом из сечений, проходящих через центральную ось симметрии кольца, равнодействующая сила, действующая на кольцо со стороны его большего основания, проходит через кольцевой выступ корпуса.
В случае необходимости при использовании устройства в особо нагруженных узлах в любом из вариантов устройства возможно совместное использование конструктивных особенностей первого и второго варианта.
Как в первом варианте устройства, так и во втором варианте устройства предпочтительным является выполнение эластичного конусообразного кольца в поперечном сечении в виде овала.
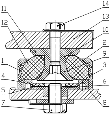
Сущность изобретения поясняется чертежом.
Упругодемпфирующее устройство содержит корпус 1 с внутренним выступом 2 на одном его конце и по крайней мере одной проточкой 3, связанное с ним посредством резьбы основание 4. В основании выполнено углубление, в котором размещается эластичная шайба 5 и резьбовое отверстие 6 для элемента крепления 7 к несущей конструкции 8 транспортного средства. В корпусе коаксиально установлены сердечник 9, на выступающей из корпуса части 10 которого предусмотрен нажимной дистанционный элемент 11, закрепленный или заодно изготовленный с ней, и эластичное конусообразное кольцо 12, в поперечном сечении имеющее, например, форму овала и (или) выполненное в форме многоугольника, большие оси которого расположены под углом к оси центральной оси симметрии, с вершиной, обращенной к нажимному дистанционному элементу 11.
Кольцо с натягом охватывает сердечник 9 и контактирует с основанием 4, нажимным дистанционным элементом и с выступом 2 корпуса. Диаметр углубления основания 4 больше максимального диаметра сердечника 9. Сердечник связан с амортизируемым объектом 13 посредством резьбового стержня (болта) 14.
Работает упругодемпфирующее устройство следующим образом.
При действии вертикальной нагрузки нажимной дистанционный элемент 11 будет воздействовать на кольцо 12, которое, деформируясь, заполнит полости в корпусе 1 и основании 4. В результате большая часть тепловой энергии будет погашена и трансформирована в окружающую среду. При действии горизонтальной силы на сердечник 9 он вместе с кольцом 12 будет перемещаться, при этом кольцо будет деформироваться в сторону направления силы. Выжимаемый материал кольца 12 заполнит соответствующие объемы в корпусе и трансформирует энергию механического воздействия в его тепло, которое будет поглощено воздухом. После снятия нагрузок кольцо 12 восстановит свою первоначальную форму.
Особенностью работы изобретения по первому варианту и второму варианту является перераспределение объемов выпучивания кольца 12 вовнутрь корпуса.
В первом варианте это достигается за счет превышения суммарной площади поверхностей выпучивания, расположенных в корпусе, над суммарной площадью других поверхностей выпучивания, а во втором варианте – за счет прохождения равнодействующей силы, действующей на большее основание эластичного кольца 12, через выступ 2 корпуса.
Под равнодействующей силой здесь следует понимать силу, которая является равнодействующей силам, приложенным в соответствующих сечениях перпендикулярно опорной поверхности основания.
При определении доли выпучивания вовнутрь корпуса и вне его необходимо учитывать влияние сжатия объемов воздуха, расположенных в корпусе, т.к. указанные объемы оказывают сопротивление выпучиванию поверхностей кольца 12.
Для усиления достигаемого эффекта признаки обоих вариантов упругодемпфирующего устройства могут быть использованы совместно.
Формула изобретения
1. Упругодемпфирующее устройство, содержащее эластичное конусообразное кольцо, охватывающее сердечник с профилированной рабочей поверхностью и размещенное на части своей высоты в корпусе, имеющем кольцевой выступ на внутренней поверхности, контактирующий с внешней поверхностью кольца, отличающееся тем, что суммарная площадь поверхностей выпучивания кольца, расположенных в корпусе, превышает суммарную площадь поверхностей выпучивания, расположенных вне корпуса, из расчета превышения суммарного объема выпучивания при деформации кольца во внутрь корпуса над объемом выпучивания вне корпуса.
2. Устройство по п.1, отличающееся тем, что эластичное конусообразное кольцо в сечении выполнено в виде овала.
3. Устройство по п.1 или 2, отличающееся тем, что в каждом из сечений, проходящих через центральную ось симметрии кольца, равнодействующая сила, действующая на кольцо со стороны его большего основания, проходит через кольцевой выступ корпуса.
4. Упругодемпфирующее устройство, содержащее эластичное конусообразное кольцо, охватывающее сердечник с профилированной рабочей поверхностью и размещенное на части своей высоты в корпусе, имеющем кольцевой выступ на внутренней поверхности, контактирующий с внешней поверхностью кольца, отличающееся тем, что в каждом из сечений, проходящих через центральную ось симметрии кольца, равнодействующая сила, действующая на кольцо со стороны его большего основания, проходит через кольцевой выступ корпуса.
5. Устройство по п.1, отличающееся тем, что эластичное конусообразное кольцо в сечении выполнено в виде овала.
6. Устройство по п.4 или 5, отличающееся тем, что суммарная площадь поверхностей выпучивания кольца, расположенных в корпусе, превышает суммарную площадь поверхностей выпучивания, расположенных вне корпуса, из расчета превышения суммарного объема выпучивания при деформации кольца во внутрь корпуса над объемом выпучивания вне корпуса.
РИСУНКИ
|
|