Патент на изобретение №2370251

Published by on




РОССИЙСКАЯ ФЕДЕРАЦИЯ



ФЕДЕРАЛЬНАЯ СЛУЖБА
ПО ИНТЕЛЛЕКТУАЛЬНОЙ СОБСТВЕННОСТИ,
ПАТЕНТАМ И ТОВАРНЫМ ЗНАКАМ
(19) RU (11) 2370251 (13) C2
(51) МПК

A61F13/20 (2006.01)

(12) ОПИСАНИЕ ИЗОБРЕТЕНИЯ К ПАТЕНТУ

Статус: по данным на 18.08.2010 – действует

(21), (22) Заявка: 2006114676/14, 21.10.2004

(24) Дата начала отсчета срока действия патента:

21.10.2004

(30) Конвенционный приоритет:

31.10.2003 US 60/516,958

(43) Дата публикации заявки: 27.11.2007

(46) Опубликовано: 20.10.2009

(56) Список документов, цитированных в отчете о
поиске:
ЕР 0960611, 01.12.1999. US 5813102, 29.09.1998. US 2425004, 05.08.1947. RU 97112926, 20.07.1999.

(85) Дата перевода заявки PCT на национальную фазу:

28.04.2006

(86) Заявка PCT:

US 2004/035234 20041021

(87) Публикация PCT:

WO 2005/058219 20050630

Адрес для переписки:

129090, Москва, ул. Б.Спасская, 25, стр.3, ООО “Юридическая фирма Городисский и Партнеры”, пат.пов. С.А.Дорофееву, рег. 146

(72) Автор(ы):

БИННЕР Курт (US),
СЕТТИНА Мелинда (US),
МАРКУС Джина Дж. (US),
КВИРК Джордж (US)

(73) Патентообладатель(и):

ДЖОНСОН ЭНД ДЖОНСОН КОНЗЬЮМЕР КОМПАНИЗ, ИНК. (US)

(54) ПОГЛОЩАЮЩИЙ ТАМПОН, ОБЕСПЕЧИВАЮЩИЙ ВОЗМОЖНОСТЬ ВСТАВКИ ПАЛЬЦАМИ БЕЗ ПАЧКАНИЯ

(57) Реферат:

Изобретение относится к медицине. Тампон имеет по существу равномерное распределение волокон по его длине, вставляемый конец, предназначенный для извлечения конец и продольную ось. Углубление для пальца, имеющее глубину, составляющую, по меньшей мере, около 5 мм, образуют на предназначенном для извлечения конце. Тем не менее, по-прежнему может быть достигнута прочность на сжатие в направлении продольной оси, составляющая, по меньшей мере, приблизительно 10 Ньютонов (Н). Тампон может быть образован посредством наматывания поглощающего волокнистого холста вокруг оправки для наматывания; перемещения заготовки в пресс; вставки формующей иглы в один конец заготовки тампона в то время, когда заготовка тампона размещена в заданном положении в процессе; перемещения множества губок пресса по направлению к центральной продольной оси пресса для сжатия заготовки тампона и образования сжатого тампона, имеющего углубление для пальца, образованное в одном конце тампона; и выталкивания сжатого тампона из пресса. Изобретение позволяет сохранить достаточную прочность тампона при наличии достаточно большого углубления для пальца. 3 н. и 22 з.п. ф-лы, 10 ил.

Область техники

Настоящее изобретение относится к поглощающему изделию, предназначенному для вставки в тело, и к способу изготовления данного поглощающего изделия. Поглощающее изделие имеет отформованную полость на конце, предназначенном для извлечения, так что в ней размещается палец, что способствует вставке в тело.

Предпосылки создания изобретения

Тампоны, предназначенные для использования в теле, как правило, можно разделить на две группы, одни, которые вставляют в полость тела с помощью аппликатора, или другие, которые вставляют пальцами пользователя. Оба типа хорошо известны, промышленно изготавливаются и имеются на рынке в течение многих лет.

Аппликатор, предназначенный для вставки тампона, образован из нескольких частей, включая вставляемую часть и поршень. После вставки тампона эти части затем выбрасывают, в результате чего образуются отходы.

Тампоны, вставляемые пальцами, обычно являются более компактными при их упаковывании и создают меньше отходов. Однако некоторые женщины используют вставляемый пальцами тампон с большой неохотой, поскольку вставка может быть связана с большими проблемами по сравнению с тампоном, вставляемым с помощью аппликатора. Кроме того, размещение тампона внутри влагалищного канала может быть более точным и легким при использовании аппликатора.

Полости выполняют в заднем или предназначенном для извлечения конце тампонов по различным причинам. Например, в описании полезной модели Германии 201 15829,9 (Spodeck) раскрыто использование вогнутости с некоторой кривизной на нижней поверхности тампона. Это создает возможность ввода в нее указательного пальца пользователя с обеспечением прилегания по форме во время вставки. В патенте США 3863636, выданном на имя Johnson, раскрыто упаковывание вытяжного шнура внутри расположенного в продольном направлении отверстия малого диаметра. В других патентах раскрыты тампоны, имеющие полость, так что вспомогательное средство для вставки, такое как палочка, может быть размещено внутри полости. См., например, патент США 3683912, выданный на имя Olson и др., патент США 3131435, выданный на имя Cloots и др., и патент США 3983875, выданный на имя Truman.

В патенте США 5813102, выданном на имя Leutwyler и др., раскрыто устройство, предназначенное для образования тампона, имеющего углубление для пальца на предназначенном для извлечения конце тампона. Кончик указательного пальца вставляют в углубление для пальца перед введением тампона в тело. Предназначенный для извлечения конец сжат в меньшей степени, что облегчает придание определенной формы углублению для пальца и вставку указательного пальца в углубление. Большая мягкость волокнистого материала на предназначенном для извлечения конце создает у пользователя более благоприятное ощущение и обеспечивает возможность более быстрого расширения конца, предназначенного для извлечения, что, как предполагается, способствует защите от утечек.

В патенте США 6283952, выданном на имя Child и др., раскрыт тампон и способ образования тампона, в котором поглощающий материал свертывают в рулон для образования удлиненного тампона. Некоторые из слоев поглощающего материала смещаются при использовании конического пуансона. Тампон затем спрессовывают и подвергают тепловой обработке. Спрессованный тампон затем посредством использования толкающего стержня, выполненного с такими размерами, чтобы обеспечить образование углубления в тампоне, поджимают к нагретой матрице для образования передней части (головки). Смещение материала вызывает образование конического углубления или впадины. Углубление облегчает расширение, что приводит к образованию углубления для пальца пользователя, даже если пользователь не расширяет предназначенный для извлечения конец. Смещение волокон приводит к увеличению плотности волокон вдоль центральной сердцевины тампона, что создает более твердую зону, на которую нажимает толкающий стержень, чем была бы в спрессованном тампоне, который не был подвергнут данному смещению волокон. Предпочтительный размер по длине толкающего стержня, используемого для образования углубления, может находиться в интервале от 0,39 до 0,69 дюйма.

Несмотря на то, что проиллюстрированы разработки, цель которых состоит в создании тампонов с углублениями на их предназначенном для извлечения конце, существует потребность в тампоне, который имеет достаточную прочность на сжатие в направлении продольной оси для вставки пальцами и в котором образована чистая и аккуратная полость достаточного размера, которая образует углубление для пальца, являющееся достаточно большим для того, чтобы обеспечить надежное “посадочное место” для пальца пользователя во время вставки. Необходим способ образования подобного тампона без существенного аксиального смещения волокна в куполообразный вставляемый конец. Такое аксиальное смещение может привести к получению излишне плотного и поврежденного вставляемого конца.

Сущность изобретения

Было установлено, что тампон, имеющий специфическое углубление для пальца, которое является достаточно большим, чтобы обеспечить надежную посадку на пальце пользователя во время вставки, обеспечивает ощущение чистоты для пользователя без резкого снижения прочности тампона на сжатие в направлении его продольной оси.

В соответствии с одним аспектом изобретения тампон включает в себя волокнистое поглощающее тело, имеющее по существу равномерное распределение волокна по длине данного тела, вставляемый конец, предназначенный для извлечения конец и продольную ось. Углубление для пальца, имеющее глубину, составляющую, по меньшей мере, около 5 мм, образовано в предназначенном для извлечения конце. Тем не менее, по-прежнему может быть достигнута прочность на сжатие в направлении продольной оси, составляющая, по меньшей мере, приблизительно 10 Ньютонов (Н).

В соответствии с другим аспектом изобретения тампон образуют посредством наматывания поглощающего волокнистого холста вокруг оправки для наматывания; перемещения заготовки в пресс; вставки формующей оправки, имеющей поперечное сечение в виде звезды с множеством заостренных концов, в один конец заготовки тампона в то время, когда заготовка тампона размещена в заданном положении в прессе; перемещения множества губок пресса по направлению к центральной продольной оси пресса для сжатия заготовки тампона и образования сжатого тампона, имеющего углубление для пальца, образованное на одном конце тампона; и выталкивания сжатого тампона из пресса.

В соответствии с еще одним аспектом изобретения разработано устройство для изготовления поглощающего тампона с углублением для пальца, расположенным на его предназначенном для извлечения конце. Устройство включает в себя (1) множество губок пресса, которые выполнены с возможностью радиального перемещения по направлению к центральной продольной оси пресса, соответствующей продольной оси тампона, и (2) формующую оправку, имеющую поперечное сечение в виде звезды с множеством заостренных концов и выполненную с возможностью вставки в пресс вдоль центральной продольной оси пресса в месте, соответствующем предназначенному для извлечения концу тампона. Губки пресса выполнены с возможностью смещения в радиальном направлении в то время, когда формующая оправка вставлена в конец пресса, соответствующий предназначенному для извлечения концу тампона.

Краткое описание чертежей

Фиг.1 представляет собой вид в перспективе промышленно изготавливаемого и имеющегося на рынке тампона o.b.® Normal Absorbency Tampon (тампона с нормальной впитывающей способностью);

фиг.2 представляет собой поперечное сечение тампона по фиг.1, выполненное по линии 2-2;

фиг.3 представляет собой вид в перспективе заготовки тампона, пригодной для образования тампона по фиг.1;

фиг.4 представляет собой вид в перспективе тампона, изготовленного в соответствии с настоящим изобретением;

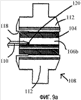
фиг.5а представляет собой поперечное сечение тампона по фиг.4, выполненное по линии 5а-5а;

фиг.5b представляет собой сечение тампона по фиг.4, выполненное по линии 5b-5b;

фиг.6 представляет собой изображение пользователя, размещающего тампон по настоящему изобретению на своем пальце для подготовки к вставке тампона;

фиг.7 представляет собой вертикальный вид сбоку оправки для наматывания, пригодной для использования в настоящем изобретении (фиг.7b), и сечение оправки для наматывания, выполненное по линии а-а на фиг.7b (фиг.7а);

фиг.8 представляет собой вид с торца заготовки тампона, пригодной в настоящем изобретении;

фиг.9 представляет собой сечение пресса для изготовления тампонов (аналогичного показанному в патенте США 5911712, выданном на имя Leutwyler и др.) в открытом положении (фиг.9а) и закрытом положении (фиг.9b) с формующей оправкой; и

фиг.10 представляет собой продольное сечение сжатого тампона и перемещающего стержня последовательно: до (фиг.10а), во время (фиг.10b) и после (фиг.10с) перемещения сжатого тампона.

Подробное описание предпочтительных вариантов осуществления

В используемом здесь смысле в описании и формуле изобретения термин “спиральный” и разновидности его относятся к наматыванию вокруг центра или опоры и постепенному удалению от центра или приближению к нему.

В используемом здесь смысле в описании и формуле изобретения термин “тампон” и разновидности его относятся к приспособлению, которое поглощает выделяемые организмом текучие среды, когда оно вставлено в тело млекопитающего. Данное определение охватывает влагалищные и носовые тампоны.

В используемом здесь смысле в описании и формуле изобретения термин “полость” и разновидности его относятся к видимому невооруженным глазом, пустому пространству.

В используемом здесь смысле в описании и формуле изобретения термин “сжимаемый” и разновидности его относятся к материалам, которые могут быть сжаты для поддержания по существу сжатой формы, но они также могут расширяться до относительно не сжатого состояния при подвергании их воздействию достаточного количества влаги.

В используемом здесь смысле в описании и формуле изобретения термин “расширяться радиально” и разновидности его относятся к расширению по существу цилиндрических тампонов.

Настоящее изобретение относится к созданию тампона, предназначенного для вставки в тело, который защищает палец пользователя от пачкания его экссудатами организма. Он также обеспечивает наличие средства для направления тампона во время вставки его в заданное положение. В частности, раскрыт волокнистый тампон, в особенности предназначенный для вставки пальцами, который имеет по существу равномерное распределение волокон по длине тампона, и в котором выполнено углубление для пальца, проходящее, по меньшей мере, приблизительно на 5 мм в предназначенный для извлечения конец тампона. Тампон имеет прочность на сжатие в направлении продольной оси, составляющую, по меньшей мере, приблизительно 10 Н.

Кроме того, в соответствии с настоящим изобретением разработан способ изготовления поглощающего изделия, имеющего полость, образованную в основании тампона.

Фиг.1 иллюстрирует промышленно изготавливаемый и имеющийся на рынке, влагалищный тампон 2, например, тампон o.b.® Normal Absorbency Tampon (тампон с нормальной впитывающей способностью). Тампон 2 имеет поглощающую структуру, содержащую поглощающий материал 4, вводимый конец 6 и противоположный, предназначенный для извлечения конец 8. Оберточный материал 10 расположен на поглощающем материале 4, как описано ниже. Тампон 2 также имеет углубление 12 в предназначенном для извлечения конце 8 и вытяжной шнур 14, проходящий от предназначенного для извлечения конца 8. Углубление 12 является по существу вогнутым и показано в виде последовательности пунктирных круговых линий на фиг.1, при этом глубина углубления составляет по существу не более приблизительно 3 мм (при измерении ее вдоль продольной оси изделия).

Как показано на фиг.2, приведенный в качестве примера тампон 2 имеет сравнительно сжатую сердцевину 16, по существу окружающую центральную ось, и менее сжатую кольцеобразную часть 18, которая окружает сердцевину 16. Признаком сравнительно сжатой сердцевины 16 может быть увеличенная плотность по сравнению с кольцеобразной частью 18. Данная разница в плотности может быть обеспечена за счет относительно равномерного распределения волокон в сердцевине 16 и кольцеобразной части 18, или она может быть обеспечена за счет множества ребер 20, которые простираются в радиальном направлении от сердцевины 16. В предпочтительном варианте осуществления каждое ребро 20 отделено от соседних ребер открытым каналом 22 там, где оно присоединено к сердцевине 16, и каждое ребро 20 контактирует с соседними ребрами вблизи окружной периферийной поверхности тампона.

Такие промышленно изготавливаемые и имеющиеся на рынке тампоны могут быть изготовлены посредством устройства и способа, подобных тем, которые раскрыты в патенте США 4816100, выданном на имя Friese, в патенте США 6310296, выданном на имя Friese и др., и в патенте США 5911712, выданном на имя Leutwyler и др. В данном способе изготовления тампона оберточный материал прикрепляют к поглощающему холсту. Поглощающий холст с оберточным материалом затем сворачивают в рулон (скатывают) вокруг оси, простирающейся поперек к его продольному направлению, посредством оправки для наматывания. Пример свернутой в рулон структуры, или заготовки 24 тампона, показан на фиг.3. В данном примере оправка для наматывания представляет собой вильчатый элемент, имеющий два пальцеобразных элемента, расположенных симметрично вокруг центральной оси оправки, которые имеют по существу одинаковый размер. После сворачивания в рулон оправку для наматывания удаляют, оставляя две полости, показанные со ссылочными позициями 26а и 26b, которые также симметричны по размеру и местоположению.

На фиг.4 показан вариант осуществления настоящего изобретения, а именно влагалищный тампон 42. Тампон 42 имеет поглощающую структуру, содержащую поглощающий материал 44, вводимый конец 46 и противоположный, предназначенный для извлечения конец 48. Поглощающая структура имеет по существу равномерное распределение волокон по длине тампона. Оберточный материал 50 размещен на поглощающем материале 44 любым удобным образом, например, как описано выше для тампона o.b.® Normal Absorbency Tampon (тампона с нормальной впитывающей способностью). Тампон 42 также имеет сравнительно глубокое, удлиненное углубление 52 для пальца на предназначенном для извлечения конце 48 и вытяжной шнур 54, простирающийся от предназначенного для извлечения конца 48.

Фиг.5 представляет собой поперечное сечение тампона по фиг.4 и показывает сравнительно сжатую сердцевину 56, которая по существу окружает центральную ось, и сжатую в меньшей степени кольцеобразную часть 58, которая окружает сердцевину 56. Однако в зоне конца 48, предназначенного для извлечения, углубление 52 для пальца проходит в значительно степени в конец 48, предназначенный для извлечения, и оставляет полость внутри сердцевины 56. В данном случае разница в плотности также может быть обеспечена за счет сравнительно равномерного распределения волокон в сердцевине 56 и в кольцеобразной части 58, или она может быть обеспечена посредством множества ребер 60, которые проходят в радиальном направлении от сердцевины 56. В предпочтительном варианте осуществления каждое ребро 60 отделено от соседних ребер открытым каналом 62 там, где оно присоединено к сердцевине 56, и каждое ребро 60 контактирует с соседними ребрами вблизи окружной периферийной поверхности тампона 42.

Углубление предпочтительно имеет такую глубину и диаметр, что пользователь может контролировать тампон для вставки просто посредством размещения своего пальца в углублении для пальца. Предпочтительно углубление для пальца имеет глубину, составляющую, по меньшей мере, приблизительно 5 мм, более предпочтительно, по меньшей мере, приблизительно 10 мм, и наиболее предпочтительно углубление имеет глубину, составляющую от приблизительно 10 мм до приблизительно 15 мм. Данные размеры обеспечивают отношение глубины углубления для пальца к диаметру углубления для пальца, составляющее, по меньшей мере, приблизительно 1:1, более предпочтительно, по меньшей мере, приблизительно 2:1, и наиболее предпочтительно отношение составляет от приблизительно 2:1 до приблизительно 4:1.

Настоящее изобретение обеспечивает много преимуществ. В частности, углубление 52 для пальца позволяет пользователю разместить тампон 42 надежно на своем пальце 64 во время вставки тампона 42 в тело (см. фиг.6). Это помогает пользователю разместить тампон во влагалищном канале, а также способствует тому, что кончик пальца останется чистым, то есть часть, представляющая собой кончик пальца, не контактирует с телом или с выделяемыми организмом текучими средами во время вставки. Также минимизируется возможное раздражение или соскабливание, вызванное ногтем пальца пользователя. Вставка пальца в углубление 52 для пальца вызывает расширение предназначенного для извлечения конца 48 тампона 42. Пользователи обычно расширяют тампоны, чтобы способствовать предотвращению утечек и/или способствовать вставке. Однако тампон 42 по настоящему изобретению имеет прочность на сжатие в направлении продольной оси, достаточную для того, чтобы его можно было вставить пальцами без расширения тампона. Таким образом, пользователь, не стремящийся расширить тампон, не должен менять свои привычки.

Поглощающие тампоны представляют собой обычно по существу цилиндрические массы (материальные тела) из сжатого поглощающего материала, имеющие центральную ось и радиус, который определяет границы наружной окружной периферийной поверхности тампона. Тампоны часто образуют посредством получения сначала массы из поглощающего материала, которой придана определенная форма и которую называют заготовкой тампона. Данная заготовка может иметь форму рулона из листообразного материала, куска из непрерывного поглощающего материала, массы случайным образом или по существу одинаково ориентированного поглощающего материала, отдельно приготовленной или отформованной массы поглощающего материала и т.п.

Заготовка тампона является относительно не сжатой и имеет сравнительно низкую плотность. Оберточный материал в основном окружает заготовку тампона и, таким образом, окружает большую часть наружной поверхности готового тампона. Заготовка затем может быть сжата для образования изделия, имеющего габаритные размеры, которые меньше габаритных размеров заготовки перед использованием. Предпочтительно заготовка тампона имеет по существу равномерную плотность волокон вдоль ее длины. Это может обеспечить достаточное наличие волокон для получения некоторой плотности сжатых волокон вдоль длины тампона, что приводит к соответствующей прочности тампона на сжатие в направлении его продольной оси. Сжатые тампоны могут иметь по существу равномерную плотность по всему объему тампона, или они могут иметь зоны различной плотности, как описано в принадлежащих тому же заявителю патенте США 6310296, выданном на имя Friese и др., и патенте США 5911712, выданном на имя Leutwyler и др., описания которых включены в настоящую заявку путем ссылки.

Обертка может облегчить вставку тампона в полость тела и может обеспечить снижение вероятности отделения волокон от тампона. Обычные специалисты в данной области техники знакомы с материалами, которые пригодны для образования оберток. Оберточные материалы могут быть выбраны для наружного слоя из волокон, которые сплавлены вместе (например, посредством термоскрепления), из нетканого материала, пленки с отверстиями или т.п.

К материалам, которые могут быть использованы в тампоне, относятся волокна, вспененные материалы и/или другие сыпучие (зернистые) материалы. Материалы могут быть полимерными или целлюлозными. Репрезентативный, неограничивающий перечень пригодных материалов включает в себя волокнистые материалы, такие как целлюлоза, сложный полиэфир, поливиниловый спирт, полиолефин, полиамин, полиамид, полиакрилонитрил и т.п. Репрезентативный, неограничивающий перечень пригодных целлюлозных волокон включает в себя натуральные волокна, такие как хлопковые волокна, волокна из древесной целлюлозы, джутовые волокна, пеньковые волокна, торфяной мох и т.п., и обработанные материалы, включая производные целлюлозы, такие как регенерированная целлюлоза (включая гидратцеллюлозу и лиоцель), нитроцеллюлоза, карбоксиметилцеллюлоза и т.п.

Сжатые тампоны в незначительной степени упруго возвращаются после умеренного механического сжатия к своим первоначальным размерам. Следовательно, заготовки тампонов, как правило, подвергают сверхсжатию, чтобы обеспечить возможность возврата их в незначительной степени к плотности, желательной при использовании. Сверхсжатие позволяет механически ограничить расширение, чтобы предотвратить расширение тампона без добавленной жидкости.

Во время использования тампоны по настоящему изобретению поглощают влагу и жидкости и расширяются в радиальном направлении. Данные тампоны расширяются главным образом в направлении, перпендикулярном центральной оси тампона. Предпочтительно тампоны расширяются, по меньшей мере, в одном направлении, перпендикулярном центральной оси, более предпочтительно, по меньшей мере, в двух направлениях. Наиболее предпочтительно, если тампоны расширяются по существу равномерно во всех направлениях, перпендикулярных центральной оси.

Тампоны, как правило, разделяют на два класса: тампоны с аппликатором и тампоны, вставляемые пальцами, и определенная степень стабильности размеров (формоустойчивости) будет нелишней для каждого типа тампона. Тампоны с аппликатором предусматривают использование сравнительно жесткого приспособления для удерживания в нем и защиты тампона перед использованием. Для вставки тампона в полость тела аппликатор частично вставляют в полость тела, и тампон может быть вытолкнут из него. Напротив, тампоны, вставляемые пальцами, не имеют аппликатора, способствующего направлению их в полость тела, и должны иметь достаточную прочность на сжатие в направлении продольной оси, чтобы обеспечить возможность вставки без использования аппликатора. Данную прочность можно определить посредством крепления одного конца тампона к неподвижной пластине машины для испытаний Instron Universal Testing Machine, поставляемой Instron Corporation, Canton, Массачусетс, США. Подвижную пластину вводят в контакт с противоположным концом тампона и затем обеспечивают сжатие тампона посредством перемещения подвижной пластины со скоростью, составляющей приблизительно 5 см в минуту. Выполняют непрерывное измерение силы, приложенной к тампону, и тот момент, в который данная сила начинает уменьшаться вместо возрастания, представляет собой момент, в который тампон теряет устойчивость и изгибается в продольном направлении. Достигнутая максимальная сила представляет собой устойчивость тампона. Предпочтительно, тампоны по настоящему изобретению, вставляемые пальцами, имеют значительную устойчивость, составляющую, по меньшей мере, приблизительно 10 Ньютонов (Н). Более предпочтительно, если тампоны, вставляемые пальцами, имеют устойчивость, составляющую, по меньшей мере, приблизительно 15 Н, 20 Н или 25 Н, и наиболее предпочтительно, если они имеют устойчивость, составляющую от приблизительно 30 Н до приблизительно 85 Н. Тампоны с устойчивостью, которая является слишком низкой, не имеют стабильности размеров, достаточной для сохранения их базовой структуры во время вставки в виде тампона, вставляемого пальцам; тампоны с устойчивостью, которая является слишком высокой, могут восприниматься как слишком жесткие или твердые для того, чтобы комфортно вставлять (их как тампон, вставляемый пальцами.

Как было видно ранее при рассмотрении предшествующего уровня техники (например, патента США 4816100, выданного на имя Friese, фиг.3 и 4), оправка для наматывания, используемая для образования заготовки 24 тампона, представляет собой симметричный элемент, то есть оправка для наматывания имеет два пальцеобразных элемента, расположенных симметрично относительно центральной оси оправки для наматывания. Таким образом, после свертывания поглощающего холста и оберточного материала в рулон полости (показанные со ссылочными позициями 26а и 26b на фиг.3 в настоящем случае) будут также симметричными по размерам и местоположению.

Способ изготовления тампона согласно настоящему изобретению представляет собой модификацию способа, описанного в общем в патенте США 4816100, выданном на имя Friese, в патенте США 6310296, выданном на имя Friese и др., и в патенте США 5911712, выданном на имя Leutwyler и др., описания которых включены в данную заявку путем ссылки. Возможным отклонением от способа по патенту 4816100, выданному на имя Friese, является модификация оправки для наматывания. Важными отклонениями от патента 6310296, выданного на имя Friese и др., и патента 5911712, выданного на имя Leutwyler и др., являются модификации в секции пресса. Данные отклонения и дополнительные признаки подробно рассмотрены ниже.

При изготовлении тампона в соответствии с настоящим изобретением поглощающий холст свертывают в рулон вокруг оправки для наматывания для образования неплотной цилиндрической заготовки тампона. Оправка для наматывания может быть аналогична той, которая раскрыта в патенте США 4816100, выданном на имя Friese, (фиг.3 и 4), и может обеспечить образование двух аналогичных полостей. Альтернативно, оправка для наматывания может быть асимметричной. Пример асимметричной оправки 100 для наматывания, пригодной для использования в настоящем изобретении, имеет два различных пальцеобразных элемента 102а и b. На фиг.7 проиллюстрирован один пример; один пальцеобразный элемент может быть существенно больше другого. Кроме того, пальцеобразные элементы могут быть несимметрично расположены относительно продольной оси оправки для наматывания. При использовании данной оправки 100 для наматывания для свертывания в рулон поглощающего холста с целью образования свернутой в рулон заготовки 104 тампона, данная оправка обеспечивает получение двух образованных полостей 106а и b, одна из которых (106b) “включает в себя” продольную ось заготовки тампона. Это показано на фиг.8. Данные полости позволяют образовать углубление для пальца без существенного смещения волокон вдоль продольной оси.

После образования заготовки 104 тампона ее размещают в прессе 108, аналогичном тому, который показан в патенте 5911712, выданном на имя Leutwyler и др. Однако формующую оправку 110 вставляют в один конец заготовки тампона в то время, когда заготовка тампона установлена в заданном положении в прессе. Несмотря на то, что формующую оправку 110 можно просто вставить в заготовку тампона и получить полость, образованную именно данной формующей оправкой за счет смещения волокон поглощающей структуры, предпочтительно вставлять формующую оправку в полость, образованную оправкой для наматывания. Если используется асимметричная оправка 100 для наматывания, то формующую оправку 110 можно вставлять в большую полость 106b заготовки 104 тампона. Данная формующая оправка 110 позволяет обеспечить удерживание волокон вне пространства углубления 52 для пальца. В этом случае данная формующая оправка 110 также устраняет необходимость перемещения волокон вдоль продольной оси. Губки 112 пресса сжимают заготовку, пока формующая оправка 110 остается в структуре, которая становится сжатым тампоном 114.

В одном варианте осуществления формующая оправка 110 представляет собой отформованный стержень из нержавеющей стали. При использовании стержня из нержавеющей стали предпочтительно, чтобы сжимающие губки 112 пресса 108, которые сжимают заготовку 104 вокруг стержня, были выполнены с частичным съемом материала (например, в зоне, обозначенной ссылочной позицией 118). Другими словами, губки пресса проходят в меньшей степени по направлению к центральной продольной оси пресса в части, соответствующей формующей оправке. Укорачивание губок пресса создает возможность компенсации объема, который занимает стержень внутри заготовки 104 тампона. Само собой разумеется, для обычного специалиста в данной области техники понятно, что некоторые конструкции губок и формующей оправки могут не требовать данного укорачивания.

Наружный диаметр тампона остается сравнительно постоянным от вставляемого конца до предназначенного для извлечения конца. Кроме того, плотность вдоль продольной оси тампона (в центральной сердцевине) остается относительно постоянной от вставляемого конца до самой внутренней части углубления 52 для пальца (как показано на фиг.4 и 10).

Формующая оправка также может быть изготовлена из других материалов. Например, конструктивный элемент из упругого вспененного материала может быть вставлен в заготовку. Как только заготовка будет сжата, вспененный материал может быть удален. Было установлено, что если податливый кусок материала используется в качестве формующей оправки, то полость, образованная на конце, предназначенном для извлечения, может быть звездообразной, то есть представлять собой инверсный элемент по отношению к ребрам, образованным с помощью губок пресса.

Кроме того, формующая оправка может иметь любую форму. В одном варианте осуществления формующая оправка является цилиндрической с конусообразным передним концом 120, при этом также возможны другие варианты осуществления формующей оправки 110. Например, она может иметь поперечное сечение в виде звезды с множеством заостренных концов, многоугольное сечение и т.п. Предпочтительно размеры формующей оправки соответствуют размерам тампона. Например, для большинства влагалищных тампонов диаметр оправки может составлять от приблизительно 2 мм до приблизительно 8 мм, предпочтительно – от приблизительно 3 мм до приблизительно 6 мм. Это, как правило, обеспечивает зазор между формующей оправкой и губками пресса, составляющий, по меньшей мере, приблизительно 0,2 мм, предпочтительно – от приблизительно 0,2 мм до приблизительно 1,5 мм и наиболее предпочтительно – от приблизительно 0,4 мм до приблизительно 0,6 мм.

Формующая оправка 110 может иметь дополнительные признаки, назначение которых состоит в том, чтобы способствовать образованию стабильного углубления 52 для пальца в стабильном сжатом тампоне 112. Например, могут быть использованы средства для нагрева оправки, чтобы способствовать “термофиксации” волокон сжатой структуры. Кроме того, формующая оправка может иметь покрытия или может быть подвергнута другой обработке для повышения ее долговечности (эксплуатационного срока службы), для уменьшения трения во время выполнения операции, для придания заданных характеристик углублению для пальца и т.п.

Если не учитывать в достаточной степени требования к конструкции, то размер углубления 52 для пальца может привести к существенному ослаблению изделия. Таким образом, сжатие тампона 42 в радиальном направлении на предназначенном для извлечения конце 48, включающем в себя значительное количество волокон, обеспечивает получение структурно устойчивого основания. Таким образом, тампон 42 может быть вставлен пальцами, с расширением или без расширения его (для защиты пальца). Пользователю не нужно менять свои привычки независимо от того, привыкла ли она расширять или не расширять изделие. Тампон также обеспечивает значительную прочность на сжатие в направлении продольной оси, как рассмотрено выше. Прочность на сжатие в направлении продольной оси по настоящему изобретению может быть измерена для тампона в целом, для концевой части, предназначенной для извлечения, которая содержит углубление для пальца, и/или для той части тампона, которая не содержит углубления для пальца. Данные варианты могут быть определены посредством измерения частей тампона.

Несмотря на наличие значительного углубления для пальца, прочность на сжатие в направлении продольной оси по настоящему изобретению может быть сравнима положительным образом с соответствующим параметром промышленно изготавливаемого и имеющегося на рынке тампона o.b.® Normal Absorbency Tampon.

Как показано на фиг.10, после извлечения сжатого тампона 114 из пресса 108 для дальнейшей обработки, углубление 52 для пальца может быть частично перегорожено волокнами 122, простирающимися от краев сжатого тампона 114, а также вытяжным шнурком (непоказанным).

Для решения данной проблемы перемещающий стержень 124, имеющий кончик 126, может быть использован для перемещения готового тампона 42. Кончик 126 вставляют в углубление 52 для пальца для выравнивания шнурка относительно наружной периферии сжатого тампона 114 и для придавливания любых незакрепленных волокон 122, остающихся вокруг полости или в полости после операции прессования (после удаления формующей оправки 110). Кончик 126 может представлять собой плавное продолжение перемещающего стержня 124, или может существовать опорная поверхность 128 рядом с основанием кончика 126.

Перемещающий стержень 124 может быть использован в одном из нескольких мест в процессе изготовления, но одно место, в котором это особенно предпочтительно, – это использование его при перемещении сжатого тампона в устройство (непоказанное) для образования куполообразной части для получения готового тампона 42. Перемещающий стержень 124 и кончик 126 могут иметь любую пригодную форму в зависимости от результата, который желательно получить. Например, кончик может быть коническим, эллиптическим, цилиндрическим и т.п. Размеры кончика должны быть выполнены соответствующими по отношению к углублению для пальца с тем, чтобы кончик проникал в углубление для пальца не больше, чем необходимо. Таким образом, кончик 126 должен иметь длину, меньшую или равную глубине углубления для пальца. Например, кончик может иметь длину, составляющую менее приблизительно 15 мм, предпочтительно – менее приблизительно 10 мм или даже менее приблизительно 5 мм. Кончик может быть коническим, как показано на фиг.10. Угол конусности конуса может составлять от приблизительно 15° до приблизительно 120° в зависимости от других расчетных параметров, понятных для обычного специалиста в данной области техники. Подобно формующей оправке перемещающий стержень 124 и в особенности кончик 126 могут быть нагреты или не нагреты.

Вышеприведенные описание и варианты осуществления представлены для того, чтобы способствовать полному и неограничивающему пониманию изобретения, раскрытого здесь. Поскольку множество изменений и вариантов осуществления изобретения может быть выполнено, не отходя от сущности и объема изобретения, изобретение определяется формулой изобретения, приложенной ниже.

Формула изобретения

1. Тампон, содержащий волокнистое поглощающее тело, имеющее
a) вставляемый конец, предназначенный для извлечения конец и продольную ось;
b) углубление для пальца, которое имеет глубину, составляющую, по меньшей мере, около 5 мм, и образовано в предназначенном для извлечения конце;
c) прочность на сжатие в направлении продольной оси, составляющую, по меньшей мере, около 10 Н (Ньютонов);
d) по существу равномерное распределение волокон вдоль длины тампона.

2. Тампон по п.1, дополнительно содержащий покрывающий элемент, образующий наружную поверхность волокнистого поглощающего тела.

3. Тампон по п.1, дополнительно содержащий вытяжной шнурок, выходящий от предназначенного для извлечения конца волокнистого поглощающего тела.

4. Тампон по п.1, в котором углубление для пальца выполнено с размерами, обеспечивающими возможность размещения в нем пальца пользователя.

5. Тампон по п.1, в котором углубление для пальца имеет диаметр, и отношение глубины углубления для пальца к диаметру углубления для пальца составляет, по меньшей мере, около 1:1.

6. Тампон по п.1, в котором углубление для пальца ограничено кольцеобразной частью, которая, в свою очередь, ограничена наружной зоной, при этом кольцеобразная часть имеет более высокую плотность волокон относительно наружной зоны с низкой плотностью волокон.

7. Тампон по п.1, в котором волокнистая поглощающая структура содержит по существу окружающую продольную ось сердцевину, от которой в радиальном направлении выходит множество ребер, причем сердцевина имеет более высокую плотность волокон относительно ребер с низкой плотностью волокон.

8. Тампон по п.7, в котором углубление для пальцев окружено сердцевиной на предназначенном для извлечения конце.

9. Тампон по п.8, в котором сердцевина имеет больший диаметр вблизи предназначенного для извлечения конца, чем вблизи вводимого конца.

10. Тампон по п.7, в котором каждое ребро по существу отделено от соседних ребер посредством открытого канала там, где оно присоединено к сердцевине.

11. Тампон по п.7, в котором ребрам придана спиральная форма вдоль тампона.

12. Способ образования тампона, при этом способ включает в себя следующие операции:
а) наматывание поглощающего волокнистого холста вокруг оправки для наматывания;
b) перемещение заготовки в пресс, при этом пресс имеет множество губок пресса;
c) вставка формующей оправки, имеющей поперечное сечение в виде звезды с множеством заостренных концов, в один конец заготовки тампона в то время, когда заготовка тампона размещена в заданном положении в прессе;
d) перемещение множества губок пресса по направлению к центральной продольной оси пресса для сжатия заготовки тампона и образования сжатого тампона, имеющего углубление для пальца, образованное в одном конце тампона; и
e) выталкивание сжатого тампона из пресса.

13. Способ по п.12, в котором оправка для наматывания имеет первый пальцеобразный элемент и второй пальцеобразный элемент для образования заготовки тампона, имеющей первую отформованную полость, соответствующую первому пальцеобразному элементу, и вторую полость.

14. Способ по п.13, в котором операция вставки формующей оправки в один конец заготовки тампона включает в себя вставку формующей оправки в одну из первой и второй полостей.

15. Способ по п.13, в котором первый пальцеобразный элемент больше второго, и первая полость больше второй полости.

16. Способ по п.15, в котором операция вставки формующей оправки в один конец заготовки тампона включает в себя вставку формующей оправки в первую полость.

17. Способ по п.12, дополнительно включающий в себя операцию вдавливания в углубление для пальца для перемещения сжатого тампона во время изготовления.

18. Способ по п.12, в котором сжатый тампон имеет наружный диаметр, который является по существу постоянным.

19. Способ по п.12, в котором углубление для пальца имеет глубину, составляющую, по меньшей мере, около 5 мм.

20. Способ по п.12, в котором губки пресса проходят в меньшей степени по направлению к центральной продольной оси пресса в части, соответствующей формующей оправке.

21. Устройство для изготовления поглощающего тампона, имеющего вставляемый конец, предназначенный для извлечения конец и продольную ось, при этом устройство содержит
a) множество губок пресса, выполненных с возможностью радиального перемещения по направлению к центральной продольной оси пресса, соответствующей продольной оси тампона;
b) формующую оправку, имеющую поперечное сечение в виде звезды с множеством заостренных концов и выполненную с возможностью вставки в пресс вдоль центральной продольной оси пресса в месте, соответствующем предназначенному для извлечения концу тампона;
при этом губки пресса выполнены с возможностью смещения в радиальном направлении в то время, когда формующая оправка вставлена в конец пресса, соответствующий предназначенному для извлечения концу тампона.

22. Устройство по п.21, в котором губки пресса проходят в меньшей степени по направлению к центральной продольной оси пресса в части, соответствующей формующей оправке.

23. Устройство по п.21, в котором дистальный конец формующей оправки, проходящей в пресс, является конусообразным.

24. Устройство по п.21, дополнительно содержащее перемещающий стержень,
a) способный опираться на предназначенный для извлечения конец тампона; и
b) содержащий кончик, который выполнен с возможностью вставки в углубление для пальца.

25. Устройство по п.24, в котором кончик является конусообразным.

РИСУНКИ

Categories: BD_2370000-2370999