|
|
(21), (22) Заявка: 2008128331/13, 11.07.2008
(24) Дата начала отсчета срока действия патента:
11.07.2008
(46) Опубликовано: 20.10.2009
(56) Список документов, цитированных в отчете о поиске:
RU 2258487 C1, 20.08.2005. SU 1792325 A3, 30.01.1993. RU 23134 U1, 27.05.2002.
Адрес для переписки:
308503, Белгородская обл., Белгородский р-н, п. Майский, ул. Вавилова, 24, ФГОУ ВПО БелГСХА, зав. сектором патентоведения Н.Е. Крючковой
|
(72) Автор(ы):
Ужик Оксана Владимировна (RU)
(73) Патентообладатель(и):
Федеральное государственное образовательное учреждение высшего профессионального образования “Белгородская государственная сельскохозяйственная академия” (RU)
|
(54) УСТРОЙСТВО ДЛЯ РОДОВСПОМОЖЕНИЯ КОРОВАМ
(57) Реферат:
Изобретение относится к сельскому хозяйству, в частности к устройствам для механизации животноводства, и может быть использовано для родовспоможения коровам. Устройство включает скобу, предназначенную для взаимодействия с крупом коровы, и тяговый механизм в виде остова и установленной на остов с возможностью продольного перемещения по нему каретки. Каретка снабжена ползунами, соединенными между собой перемычкой, к которой прикреплен двуплечий рычаг, а также содержит крючок и установленные на остове и подпружиненные пластину и фиксатор с рукояткой. К одному ползуну перемычка прикреплена посредством шарнира, а к другому – винтовым механизмом. Один конец рычага выполнен в виде двух параллельно установленных вилок, а его свободный конец содержит рукоятку. Пластина содержит два ролика и установлена с возможностью их взаимодействия с вилками рычага, а фиксатор – с возможностью взаимодействия с крючком каретки. Устройство имеет две гибкие тяги, свободные концы которых предназначены для крепления к каждой ножке плода коровы в отдельности, а из двух других концов один прикреплен к ушку каретки, а другой – к ушку оси роликов рычага. Использование изобретения позволит повысить надежность процесса родовспоможения у коров. 7 ил.
Предлагаемое изобретение относится к сельскому хозяйству, в частности к устройствам для механизации животноводства, и может быть использовано для родовспоможения коровам.
Известны следующие аналогичные устройства: устройство для оказания акушерской помощи животным SU 1736471 A1, 5 A61D 1/08, 30.05.1992 [1], содержащее тазовый упор в виде стержня с туловищными штангами и ремнями для фиксации, а также опорные штанги; акушерский экстрактор ЭА-6 SU 1792325 A3, 5 A61D 1/08, 30.01.1993 [2], содержащий тазовый упор в виде скобы, туловищные штанги с фиксирующими ремнями, трубчатое основание, упор и тяговый механизм.
Данные устройства ненадежны в эксплуатации. Известно также устройство для родовспоможения коровам RU 2258487 C1, 7 A61D 1/08, 20.08.2005 [3].
Недостаток данной конструкции – ненадежно в эксплуатации.
Задача изобретения: повышение надежности в эксплуатации.
Это достигается тем, что каретка устройства для родовспоможения коровам содержит ползуны, соединяемые между собой перемычкой, к которой прикреплен двуплечий рычаг, причем к одному ползуну перемычка прикреплена шарниром, а к другому – винтовым механизмом; один конец двуплечего рычага выполнен в виде двух параллельно установленных вилок, а свободный его конец содержит рукоятку; пластина содержит два ролика и установлена с возможностью их взаимодействия с вилками двуплечего рычага.
Изобретение будет понятно из следующего описания и приложенных чертежей.
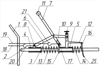
На фиг.1 приведено устройство для родовспоможения коровам, общий вид; на фиг.2 – взаимодействие роликов пластины с вилками рычага; на фиг.3 – положение пластины каретки на остове; на фиг.4 – положение фиксатора на остове; на фиг.5 – положение подпружиненной пластины в повернутом виде; на фиг.6 – устройство для родовспоможения коровам при положении двуплечего рычага в повернутом виде; на фиг.7 – положение фиксатора в повернутом виде.
Устройство для родовспоможения коровам выполнено в виде скобы 1 (фиг.1), предназначенной для взаимодействия с крупом коровы, и тягового механизма. Тяговый механизм выполнен в виде остова 2 и каретки 3, установленной на остов 2 с возможностью продольного перемещения по нему. Каретка 3 содержит ползуны 4 и 5, соединяемые между собой перемычкой 6, к которой прикреплен двуплечий рычаг 7. Причем к ползуну 5 перемычка 6 прикреплена шарниром 8, а к ползуну 5 – винтовым механизмом 9. Один конец двуплечего рычага 7 выполнен в виде двух параллельно установленных вилок 10, а свободный его конец содержит рукоятку 11. Каретка 3 также содержит крючок 12 и подпружиненные пружинами 13 и 14 соответственно пластину 15 и фиксатор 16, подвижно установленные на остове 2, причем пластина 15 содержит два ролика 17 (фиг.2) и установлена с возможностью их взаимодействия с вилками 10 двуплечего рычага 7 (фиг.1, 3), а фиксатор 16 (фиг.1, 4) – с возможностью взаимодействия с крючком 12 каретки 3. Устройство связано двумя гибкими тягами 18 и 19 с каждой ножкой плода коровы (на схеме не показаны). Гибкая тяга 18 прикреплена к ушку 20 каретки 3, а гибкая тяга 19 – к ушку 21 (фиг.1, 3) оси 22 роликов 17 пластины 15. Пластина 15 (фиг.2) содержит отверстие 23, а фиксатор 16 (фиг.4) – отверстие 24, которыми пластина 15 и фиксатор 16 установлены на остов 2. Фиксатор 16 (фиг.1, 4) содержит рукоятку 25.
Устройство для родовспоможения коровам работает следующим образом. Вращая винтовой механизм 9 (Фиг.1), прикрепленный к ползуну 5, проворачивают перемычку 6 в шарнире 8 ползуна 4 против часовой стрелки, тем самым удаляя двуплечий рычаг 7 от остова 2. При этом ролики 17 пластины 15 (фиг.3), перемещаясь в пазах вилок 10, увеличивают плечо взаимодействия рычага 7 с пластиной 15, тем самым увеличивая ход каретки 3 (фиг.1), но уменьшая усилие родовспоможения. Гибкие тяги 18 и 19 одним концом прикрепляют соответственно к ушку 20 каретки 3 и к ушку 21 оси 22 роликов 17 двуплечего рычага 7, а свободные концы – к каждой ножке плода в отдельности (на схеме не показаны). Скобу 1 прикладывают к крупу коровы (на схеме не показан) и ориентируют остов 2 устройства в направлении движения плода. За рукоятку 11 двуплечий рычаг 7 каретки 3 поворачивают по часовой стрелке. При воздействии вилок 10 рычага 7 на ролики 17 пластины 15 (фиг.3) и одновременном действии пружины 13 возникает пара сил, которая поворачивает пластину 15 (фиг.5), что приводит к фиксации пластины 15 на остове 2. Дальнейшее перемещение двуплечего рычага 7 приводит к перемещению каретки 3 по остову 2 (фиг.6). При этом гибкая тяга 18 (фиг.1), прикрепленная к ушку 20 каретки 3, воздействует на ножку плода и перемещает ее на ход каретки 3, чем оказывает содействие рождению плода. Одновременно с перемещением каретки 3 вправо по остову 2, крючок 12 каретки 3 освобождает фиксатор 16, установленный на остове 2 и подпружиненный пружиной 14. При этом пружина 14 поворачивает фиксатор 16 (фиг.7) и устанавливает ось отверстия 24 параллельно оси остова 2 (фиг.6), чем обеспечивает возможность свободного перемещения по остову 2 фиксатора 16 до соприкосновения с крючком 12 каретки 3 в новом положении.
Затем, за рукоятку 11 двуплечий рычаг 7 каретки 3 поворачивают против часовой стрелки до упора в исходное положение (фиг.1). При этом вилки 10 двуплечего рычага 7 перестают воздействовать на ролики 17 пластины 15, и пружина 13, поворачивая пластину 15, устанавливает ось отверстия 23 (фиг.1, 3) параллельно оси остова 2 и перемещает пластину 15 по остову 2 до соприкосновения роликов 17 с вилками 10 (в исходное положение). Одновременно с этим гибкая тяга 19 (фиг.1), прикрепленная к ушку 21 оси 22 (фиг.1, 2, 3) роликов 17, воздействуя на вторую ножку плода, перемещает ее на ход роликов 17, тем самым оказывая содействие рождению плода. От перемещения влево по остову 2 каретку 3 удерживает фиксатор 16 (фиг.1, 4), взаимодействие которого с крючком 12 и воздействие на него пружины 14 приводит к возникновению пары сил, в результате действия которых происходит поворот фиксатора 16 и его фиксация на остове 2. Таким образом, осуществляя колебательные движения двуплечего рычага 7, поочередно воздействуют на ножки плода, тем самым осуществляют родовспоможение.
При необходимости увеличения усилия родовспоможения, при сохранении постоянного усилия на рукоятке 11 (фиг.1), вращая винтовой механизм 9, прикрепленный к ползуну 5, проворачивают перемычку 6 в шарнире 8 ползуна 4 по часовой стрелке, тем самым приближая двуплечий рычаг 7 к остову 2. При этом ролики 17 пластины 15, перемещаясь в пазах вилок 10 (фиг.1, 3), уменьшают плечо взаимодействия рычага 7 с пластиной 15, тем самым уменьшая ход каретки 3, но увеличивая усилие родовспоможения.
Для расфиксации каретки 3 на остове 2 и возврата ее в исходное положение (влево на фиг.1) воздействуют на рукоятку 25 фиксатора 16 (фиг.1, 7), тем самым устанавливают ось отверстия 24 параллельно оси остова 2, чем обеспечивают возможность свободного перемещения по остову 2 фиксатора 16, а значит, и каретки 3.
Использование устройства для родовспоможения коровам повышает надежность процесса родов теленка и обеспечивает рост производительности труда при родовспоможении в 3-4 раза.
Источники информации
1. SU 1736471 A1, 5 A61D 1/08, 30.05.1992.
2. SU 1792325 C1, 5 A61D 1/08, 25.06.1993.
3. RU 2258487 C1, 7 A61D 1/08, 20.08.2005.
Формула изобретения
Устройство для родовспоможения коровам, включающее скобу, предназначенную для взаимодействия с крупом коровы, и тяговый механизм в виде остова и установленной на остов с возможностью продольного перемещения по нему каретки, отличающееся тем, что каретка снабжена ползунами, соединенными между собой перемычкой, к которой прикреплен двуплечий рычаг, а также содержит крючок и установленные на остове и подпружиненные пластину и фиксатор с рукояткой, причем к одному ползуну перемычка прикреплена посредством шарнира, а к другому – винтовым механизмом, один конец рычага выполнен в виде двух параллельно установленных вилок, а его свободный конец содержит рукоятку, пластина содержит два ролика и установлена с возможностью их взаимодействия с вилками рычага, а фиксатор – с возможностью взаимодействия с крючком каретки, кроме того устройство имеет две гибкие тяги, свободные концы которых предназначены для крепления к каждой ножке плода коровы в отдельности, а из двух других концов один прикреплен к ушку каретки, а другой – к ушку оси роликов рычага.
РИСУНКИ
|
|