|
|
(21), (22) Заявка: 2008119144/13, 14.05.2008
(24) Дата начала отсчета срока действия патента:
14.05.2008
(46) Опубликовано: 20.10.2009
(56) Список документов, цитированных в отчете о поиске:
RU 2251364 C1, 10.05.2005. RU 2231960 C1, 10.07.2004. АФАНАСЬЕВ В.А. Теория и практика специальной обработки зерновых компонентов и технологии комбикормов. – Воронеж, 2002, с.244.
Адрес для переписки:
142134, Московская обл., Подольский р-н, п/о Знамя Октября, 31, ВНИИМЖ, патентный отдел
|
(72) Автор(ы):
Сыроватка Владимир Иванович (RU), Комарчук Татьяна Владимировна (RU), Обухова Наталья Владимировна (RU)
(73) Патентообладатель(и):
Государственное научное учреждение Всероссийский научно-исследовательский и проектно-технологический институт механизации животноводства (RU)
|
(54) СПОСОБ И УСТАНОВКА ГИДРОТЕРМИЧЕСКОГО ОБЕЗЗАРАЖИВАНИЯ РАССЫПНЫХ КОМБИКОРМОВ
(57) Реферат:
Изобретение к кормопроизводству. Способ обеззараживания комбикормов включает нагрев и смешивание кормов, пара и воды, выдержку смеси в течение заданного времени; тепловое обеззараживание осуществляется в реакторе в соответствии с установленной на пульте управления программой; причем сушка кормов осуществляется атмосферным воздухом, подогретым в теплообменнике за счет тепла, полученного от горячих кормов при охлаждении в охладителе. Установка содержит реактор, приемный бункер, дозатор загрузки и дозатор выгрузки, охладитель, осушитель, ротоспрей, при этом внутри реактора выполнен двухвальный смеситель по форме внутренней части бункера, теплообменник и механизм для регулировки количества отбора теплоносителя, осушитель содержит механизм для регулировки количества отбора теплоносителя и систему аспирации, состоящую из циклона, вентилятора и теплопровода. Изобретение позволяет повысить надежность тепловой обработки комбикормов и снизить на 30-40% энергоемкость производства. 2 н.п. ф-лы, 1 ил.
Изобретение относится к способам и технике приготовления рассыпных комбикормов в животноводческих хозяйствах и на межхозяйственных комбикормовых предприятиях.
Известен способ гидротермической стерилизации рассыпных комбикормов, включающий кратковременный нагрев комбикормов в кондиционере в течение 10-20 с, выдержку в гидротермическом стерилизаторе в течение 10 мин при температуре 83-86°С, сушку и охлаждение комбикорма (Фирма Amandus Kahl GmbH and Co.K.G. www.akahl.de).
Недостатком данного способа и установки является пассивный режим гидротермической обработки, приводящий к неравномерности нагрева, а следовательно, негарантированной надежности обработки продукта, а также нерациональному использованию тепла.
Наиболее близким по технической сущности к предлагаемому изобретению является способ теплового обеззараживания рассыпных комбикормов (патент RU 2251364, 23.03.2004).
Известное решение включает нагрев, пропаривание, сушку, охлаждение и гомогенизацию сыпучих кормов. Обеззараживание проводят в две стадии тепловой обработкой, причем первая стадия является высокотемпературной, а вторая – низкотемпературной, на каждой стадии происходит смешивание компонентов в псевдоожиженном слое; в первой стадии комбикорм подвергается нагреву до 110°С, а во второй стадии горячую массу охлаждают воздухом до температуры окружающей среды.
Недостатком известного способа являются большие потери тепла, так как нагретый до 110°С воздух на первой и второй стадии выбрасывается в атмосферу. Известно также, что смесители, работающие по принципу газомеханического псевдоожижения слоя при высокой влажности воздуха, изобилии пара и мучной части комбикорма, образуют тестообразную массу, в результате ухудшается качество смешивания, затрудняется работа смесителя-стерилизатора, смесителя-охладителя и всего процесса теплового обеззараживания комбикорма; смесители такого типа малопроизводительны, так как за один цикл обрабатывается до 50 кг комбикорма.
Задачей предлагаемого изобретения является повышение надежности тепловой обработки комбикормов и повышение коэффициента использования энергии за счет использования отработанного тепла реактора на сушку стерилизованного комбикорма.
В результате использования предлагаемого изобретения появляется возможность повышения КПД использования энергии на процесс и снижение на 30-40% удельной энергоемкости производства.
Вышеуказанный результат достигается тем, что в предлагаемом способе гидродинамического обеззараживания рассыпных комбикормов, включающем пропаривание, охлаждение и сушку, гидротермическое обеззараживание осуществляют в реакторе, куда подают комбикорма, пар и воду, всю массу постоянно перемешивают, при этом давление в реакторе, температуру и время выдержки автоматически поддерживают с пульта управления, а горячую массу корма охлаждают атмосферным воздухом до 50°С, причем отработанным теплом комбикорма подогревают атмосферный воздух, которым подсушивают комбикорма до влажности 13-14% и охлаждают до температуры 25-30°С, а уровень охлаждения комбикорма регулируют дозированной подачей атмосферного воздуха, затем в осушенные корма добавляют термолабильные биологически активные компоненты.
Технический результат достигается также тем, что в предлагаемой установке гидротермического обеззараживания рассыпных комбикормов, содержащей реактор, приемный бункер, дозатор загрузки и дозатор выгрузки, охладитель, осушитель, ротоспрей, внутри реактора выполнен двухвальный смеситель по форме внутренней части бункера, состоящий из верхнего и нижнего роторов, расположенных один над другим с возможностью вращения их в противоположном направлении, в верхней части реактора установлен загрузочный дозатор, а в нижней противоположной части – выгрузной дозатор, во внутренней части реактора установлены датчики температуры и давления; при этом в торце охладителя на входе подогретых комбикормов установлен механизм регулировки подачи атмосферного воздуха, а на выходе из охладителя установлены теплообменник и механизм для регулировки количества отбора теплоносителя, причем осушитель содержит механизм для регулировки количества отбора теплоносителя и систему аспирации, состоящую из циклона, вентилятора и теплопровода.
Гидробаротермическая обработка рассыпных комбикормов или фуражного зерна обеспечивает уничтожение плесневых грибков до 99% при температуре пара 110-130°С и давлении 1,5-2,0 атм.
Предлагаемый реактор можно эффективно использовать для нагрева комбикормов до 130-150°С перед загрузкой их в экспандер. Давление в экспандере достигает 10 МПа, а продукт нагревается до 170°С. В результате происходит 100% очистка кормов от спор, грибков, бактерий и других носителей инфекций; а также полная клейстеризация крахмала, все белки расщепляются. Питательные свойства кормов находятся на высоком уровне (В.А.Афанасьев. «Теория и практика специальной обработки зерновых компонентов и технологии комбикормов», Воронеж, 1002., стр.244).
Особенностью предлагаемой тепловой обработки является использование отработанного тепла для сушки комбикормов, а также конструкция и автоматика управления работой реактора.
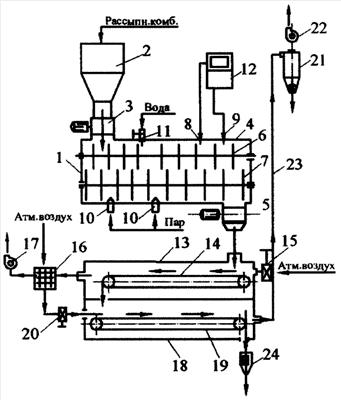
Сущность предлагаемого изобретения поясняется чертежом, на котором представлена общая схема установки.
Предлагаемая установка гидротермического обеззараживания рассыпных комбикормов состоит из поточной линии, которая содержит реактор 1, содержащий приемный бункер 2, верхний дозатор 3, корпус реактора 4, нижний дозатор 5; во внутренней части корпуса реактора размещается верхний ротор смесителя 6 и нижний – 7, а также датчик температуры 8 и давления пара 9, установлены форсунки 10 и краны 11, которые сообщены с пультом управления 12, где имеется программное электронное устройство, охладитель 13 содержит транспортную ленту 14 и механизм дозированной подачи атмосферного воздуха 15, теплообменник 16 и вентилятор 17, осушитель 18 содержит транспортер 19, механизм для регулировки количества отбора теплоносителя 20, систему аспирации, которая содержит циклон 21, вентилятор 22 и теплопровод 23, ротоспрей 24 установлен в конце поточной линии.
Работает система гидродинамического обеззараживания рассыпных комбикормов следующим образом.
Сыпучий комбикорм, подлежащий обработке, засыпается в реактор 1 из приемного бункера 2, при отключенном нижнем дозаторе 5 включается в работу верхний ротор смесителя 6 и нижний 7, которые вращаются в противоположных направлениях; верхний дозатор 3 выдает в реактор 1 заданную порцию комбикорма, через форсунки 10 и краны 11 подается заданное количество пара и горячей воды; при заданном давлении и температуре комбикорма выдерживаются в реакторе установленное время (2-3 мин), затем включается в работу нижний дозатор 5 и разогретый комбикорм выгружается на движущуюся ленту 14 охладителя 13; вентилятор 17 через механизм 15 забирает атмосферный воздух и продувает им разогретый комбикорм, который передает свое тепло и влагу воздуху; после теплообменника 16 влажный охлажденный воздух выбрасывается в атмосферу; вентилятор 22 через циклон 21, воздуховод 23 прокачивает атмосферный воздух через теплообменник 16, где он подогревается, просушивается и продувается через охлажденные комбикорма, расположенные на транспортере 19; при выгрузке осушенные комбикорма попадают в ротоспрей 24, где к ним добавляются термолабильные биологически активные компоненты.
Вся поточная линия и реактор работают по заданной программе, которая управляется с пульта управления с помощью микропроцессора.
Пример выполнения предлагаемого способа
Сыпучий комбикорм засыпают в реактор, в котором осуществляют гидротермическое обеззараживание. Одновременно в реактор подают заданное количество пара и воды, всю массу постоянно перемешивают. При заданном давлении и температуре комбикорма выдерживают в реакторе 2-3 минуты. Затем разогретый комбикорм выгружают в охладитель на движущую транспортную ленту, куда подают атмосферный воздух и продувают им разогретый комбикорм, передающий свое тепло и влагу воздуху, который направляют в теплообменник, где воздух просушивают и подогревают, из теплообменника полученный подогретый и просушенный воздух направляют в осушитель и продувают через охлажденные комбикорма. Горячую массу комбикорма охлаждают атмосферным воздухом до 50°С, при этом отработанным теплом комбикорма подогревают атмосферный воздух, которым подсушивают комбикорма до влажности 13-14% и охлаждают до температуры 25-30°С. Затем осушенные комбикорма направляют в ротоспрей, где в них добавляют термолабильные биологически активные компоненты. Уровень охлаждения комбикорма регулируют дозированной подачей атмосферного воздуха.
Предлагаемая обработка рассыпных комбикормов или фуражного зерна обеспечивает уничтожение плесневых грибков до 99% при температуре пара 110-130°С и давлении 1,5-2,0 атм.
Формула изобретения
1. Способ гидротермического обеззараживания рассыпных комбикормов, включающий пропаривание, охлаждение и сушку, отличающийся тем, что гидротермическое обеззараживание осуществляют в реакторе, куда подают комбикорма, пар и воду, всю массу постоянно перемешивают, при этом давление в реакторе, температуру и время выдержки автоматически поддерживают с пульта управления, а горячую массу корма охлаждают атмосферным воздухом до 50°С, причем отработанным теплом комбикорма подогревают атмосферный воздух, которым подсушивают комбикорма до влажности 13-14% и охлаждают до температуры 25-30°С, а уровень охлаждения комбикорма регулируют дозированной подачей атмосферного воздуха.
2. Установка гидротермического обеззараживания рассыпных комбикормов, содержащая реактор, приемный бункер, дозатор загрузки и дозатор выгрузки, охладитель, осушитель, ротоспрей, отличающаяся тем, что внутри реактора выполнен двухвальный смеситель по форме внутренней части бункера, состоящий из верхнего и нижнего роторов, расположенных один над другим с возможностью вращения их в противоположном направлении, в верхней части реактора установлен загрузочный дозатор, а в нижней противоположной части – выгрузной дозатор, во внутренней части реактора установлены датчики температуры и давления; при этом в торце охладителя на входе подогретых комбикормов установлен механизм регулировки подачи атмосферного воздуха, а на выходе из охладителя установлены теплообменник и механизм для регулировки количества отбора теплоносителя, причем осушитель содержит механизм для регулировки количества отбора теплоносителя и систему аспирации, состоящую из циклона, вентилятора и теплопровода.
РИСУНКИ
|
|