|
|
(21), (22) Заявка: 2007146510/09, 12.05.2006
(24) Дата начала отсчета срока действия патента:
12.05.2006
(30) Конвенционный приоритет:
13.05.2005 JP 2005-140840
(43) Дата публикации заявки: 20.06.2009
(46) Опубликовано: 10.10.2009
(56) Список документов, цитированных в отчете о поиске:
WO 03010845 A2, 06.02.2003. RU 2002125452 A, 27.02.2004. WO 0126173 A1, 12.04.2001. JP 11317236 A, 16.11.1999.
(85) Дата перевода заявки PCT на национальную фазу:
13.12.2007
(86) Заявка PCT:
JP 2006/309977 20060512
(87) Публикация PCT:
WO 2006/121212 20061116
Адрес для переписки:
129090, Москва, ул. Б.Спасская, 25, стр.3, ООО “Юридическая фирма Городисский и Партнеры”, пат.пов. Ю.Д.Кузнецову, рег. 595
|
(72) Автор(ы):
КАЦУМАТА Момое (JP)
(73) Патентообладатель(и):
КЭНОН КАБУСИКИ КАЙСЯ (JP)
|
(54) ЭЛЕКТРОННОЕ УСТРОЙСТВО, СПОСОБ И ПРОГРАММА УПРАВЛЕНИЯ ИМ И АККУМУЛЯТОР ДЛЯ ОБЕСПЕЧЕНИЯ РАБОТЫ ЭЛЕКТРОННОГО УСТРОЙСТВА
(57) Реферат:
Изобретение относится к электронному устройству, в котором в качестве, по меньшей мере, одного источника электропитания используют топливный элемент, и к способу управления им. Согласно изобретению блок топливного элемента содержит блок выработки электроэнергии, предназначенный для вывода электроэнергии, полученной посредством химической реакции между топливным газом и газом окислителя, устройство продувки, предназначенное для продувки блока выработки электроэнергии, и блок управления продувкой, предназначенный для выдачи команды на выполнение продувки в устройство продувки. Электронное устройство содержит блок обнаружения, предназначенный для обнаружения потребления мощности, режима работы или регулируемого режима работы электронного устройства, и блок выдачи разрешения на продувку, предназначенный для принятия решения о том, разрешено ли блоку управления продувкой выдать команду на выполнение продувки, которое принимают на основании выходного сигнала из блока обнаружения, и для вывода результата этого решения в блок управления продувкой. Техническим результатом является повышение выходного напряжения топливного элемента. 4 н. и 11 з.п. ф-лы, 17 ил.
ОБЛАСТЬ ТЕХНИКИ
Настоящее изобретение относится к электронному устройству, в котором в качестве источника питания может быть использован топливный элемент, и к способу и программе управления им, и, в частности, оно относится к электронному устройству, в котором установлен топливный элемент, восстанавливающий эффективность выработки электроэнергии путем продувки, а также к способу и к программе управления им.
УРОВЕНЬ ТЕХНИКИ
В настоящее время существует множество устройств, которые могут приводиться в действие от источника питания, которым является аккумуляторная батарея. Среди этих устройств, в тех устройствах, которые могут использоваться на открытом воздухе, большой проблемой является срок службы аккумулятора источника питания.
Приведенное ниже описание относится к цифровому фотоаппарату, являющемуся одним из примеров электронного устройства, которое может использоваться на открытом воздухе.
В цифровом фотоаппарате, который является общеизвестным, изображение объекта, зарегистрированное путем фотографирования, преобразовывают фотоэлектрическим способом посредством устройства захвата изображений в сигнал изображения, сигнал изображения подвергают аналого-цифровому преобразованию и записывают на носитель записи, и изображение может быть отображено на встроенном жидкокристаллическом мониторе.
В частности, для обеспечения высокого качества сфотографированного изображения, способности фотосъемки объекта в широком диапазоне значений яркости и т.п. необходим однообъективный зеркальный цифровой фотоаппарат, способный заменять собой традиционные средства фотосъемки, при этом, также сохраняются хорошие характеристики, относящиеся к удобству манипуляций с фотоаппаратом, и характеристики непрерывной высокоскоростной фотосъемки, которые являются аналогичными характеристикам пленочного фотоаппарата с фотопленкой на солях серебра. Следовательно, важным является применение высокочувствительного устройства захвата изображений с наличием большого количества элементов изображения. Кроме того, по сравнению с пленочным фотоаппаратом с фотопленкой на солях серебра дополнительно применяются большие электронные схемы с использованием нескольких электрических узлов, в том числе схема захвата изображений, схема обработки изображений, схема вывода изображений на экран дисплея и т.п. Следовательно, увеличивается потребляемая мощность, и необходимо иметь аккумулятор, способный обеспечивать достаточное энергоснабжение. По мере прогресса по повышению компактности и облегчению веса фотоаппаратов становится затруднительным обеспечивать достаточное энергоснабжение фотоаппаратов для приведения их в действие посредством обычных батарей первичных источников тока и батарей вторичных источников тока.
Для решения этих проблем был обращено внимание на компактный топливный элемент. В топливном элементе топливный газ, например, водород, служащий в качестве химически активного газа, вступает в электрохимическую реакцию с газом окислителя, которым является, например, кислород, содержащийся в атмосферном воздухе, посредством чего осуществляют преобразование химической энергии, содержащейся в топливе, непосредственно в электрическую энергию.
Ниже приведено описание принципа выработки электроэнергии в топливном элементе. В топливном элементе топливный газ, содержащий водород, подают на топливный электрод, а газ окислителя, содержащий кислород, подают на кислородный электрод, получая, таким образом, электродвижущую силу вследствие электрохимических реакций, происходящих между обоими электродами. Водород, поданный на топливный электрод, разделяют посредством катализатора на протоны и электроны. Отделенные электроны движутся к кислородному электроду через внешнюю схему, тогда как протоны движутся к кислородному электроду через твердотельную полимерную пленку. На кислородном электроде протоны, электроны и кислород соединяются, образуя воду. Ниже показаны электрохимические реакции в топливном элементе. Формула (1) указывает реакцию на топливном электроде, формула (2) указывает реакцию на кислородном электроде, а формула (3) указывает реакцию в батарее в целом.



Классификацию батарей топливных элементов по различным типам производят в зависимости от различий в электролите и т.п. Одним из известных типов является топливный элемент, в котором в качестве электролита используют твердотельную полимерную пленку. Топливный элемент, относящийся к типу с твердотельным полимерным электролитом, может быть реализован имеющим низкую стоимость, его легко сделать компактным и легким, и он имеет высокую плотность выходной мощности, обусловленную рабочими характеристиками батареи. Поэтому топливный элемент этого типа является желательным в качестве источника электрической энергии питания не только для фотоаппаратов, но также и для портативных электронных устройств, таких как, например, персональные компьютеры блокнотного типа, мобильные телефоны и персональные информационные устройства (PDA). Также был предложен топливный элемент, представляющий собой батарею топливных элементов и имеющий структуру, в которой множество ячеек выработки электроэнергии и разделителей расположено поочередно в виде многослойный структуры.
На Фиг. 11 изображен график, на котором показано изменение выходного электрического напряжения топливного элемента при использовании. На Фиг. 12 изображен график, на котором показано изменение выходного электрического напряжения используемого топливного элемента при продувке. Выходное электрическое напряжение снижается по мере того, как топливный элемент вырабатывает электроэнергию в течение длительного периода времени. Это происходит потому, что вода, созданная в результате реакции между водородом и кислородом, диффундирует в обратном направлении к топливному электроду и уменьшает площадь выработки электроэнергии, и, кроме того, газ, который не нужен для выработки электроэнергии, остается на топливном электроде и снижает парциальное давление водорода. Так как топливный элемент используют в качестве источника электропитания для электронного устройства, то, предпочтительно, является нежелательным, чтобы выходное электрическое напряжение уменьшалось до допустимого диапазона изменения напряжений для электронного устройства или еще ниже.
Для решения этой проблемы обычно незамедлительно увеличивают интенсивность подачи водорода, подаваемого на топливный электрод, для отвода влаги и газа, которые являются ненужными для выработки электроэнергии и остаются на топливном электроде, наружу из ячеек батареи топливных элементов для восстановления площади выработки электроэнергии и для повышения парциального давления водорода, стабилизуя, тем самым, выходное электрическое напряжение (способ “продувки”). После продувки выходное электрическое напряжение топливного элемента повышается, что показано на Фиг. 12.
Было раскрыто несколько способов оценки того момента времени, когда следует производить продувку топливного элемента. Согласно одному из этих способов, регистрируют значения электрического напряжения для всех ячеек батареи, из которых состоит топливный элемент, и производят продувку тогда, когда любой один из слоев ячеек дает заранее заданное или более низкое электрическое напряжение (см., например, публикацию заявки на патент Японии JP-A-2002-093438). Существует способ принудительной продувки каждый раз по истечении заранее заданного промежутка времени (см., например, публикацию заявки на патент Японии JP-A-2000-215905) и способ выполнения обеих продувок: периодической продувки и продувки водорода, после измерения электрического напряжения каждой ячейки (см., например, публикацию заявки на патент Японии JP-A-2003-115314). Другие способы включают в себя способ (см., например, публикацию заявки на патент Японии JP-A-2002-164065), содержащий следующие операции: измеряют электрическое напряжение и ток на выходе топливного элемента в течение заранее заданного промежутка времени или по заранее заданному количеству выборок, вычисляют внутреннее сопротивление, исходя из измеренного значения, сравнивают внутреннее сопротивление с заранее заданным стандартным значением, и оценивают состояние электролита топливного элемента для выполнения продувки тогда, когда это необходимо.
Однако несмотря на то, что продувку выполняют для восстановления площади выработки электроэнергии, для увеличения парциального давления водорода и для стабилизации выходного электрического напряжения, во время продувки выходное электрическое напряжение топливного элемента мгновенно снижается из-за попадания воздушной смеси на топливный электрод вследствие обратной диффузии, понижения давления и температуры водорода на топливном электроде. Портативное электронное устройство, например цифровой фотоаппарат, должно иметь высокую точность управления системой источника питания. Например, если момент времени, когда производят продувку топливного элемента, совпадает с тем моментом времени, когда для электронного устройства требуется относительно большая мощность, то мощность, необходимая для электронного устройства, не может быть взята из топливного элемента, и в этом случае возникает проблема, заключающаяся в недостаточной мощности электронного устройства.
Если электронное устройство не используется в течение длительного срока, то происходит ежеминутная утечка топливного газа с топливного электрода топливного элемента, вследствие чего снижается концентрация водорода со стороны топливного электрода. Когда после этого топливный элемент приводят в действие, то возникает проблема, заключающаяся в том, что для повышения выходного электрического напряжения до необходимого значения напряжения требуется большое количество времени.
РАСКРЫТИЕ ИЗОБРЕТЕНИЯ
Настоящее изобретение было предложено с учетом вышеупомянутой ситуации и его задачей является создание электронного устройства, способного обеспечивать продувку топливного элемента в оптимальный момент времени, соответствующий состоянию устройства, способа и программы управления им и аккумуляторной батареи для приведения в действие этого электронного устройства.
Согласно настоящему изобретению вышеизложенная задача достигается путем создания электронного устройства, в котором используют, по меньшей мере, один источник электропитания, топливный элемент, содержащий блок выработки электроэнергии, предназначенный для вывода электроэнергии, полученной посредством химической реакции между топливным газом и газом окислителя, устройство продувки, предназначенное для продувки блока выработки электроэнергии, и блок управления продувкой, предназначенный для выдачи команды на выполнение продувки в устройство продувки, при этом, электронное устройство содержит блок текущего контроля, предназначенный для текущего контроля потребляемой мощности, режима работы или регулируемого режима работы электронного устройства; и блок выдачи разрешения на продувку, предназначенный для принятия решения о том, разрешено ли блоку управления продувкой выдать команду на выполнение продувки, которое принимают на основании выходного сигнала из блока текущего контроля, и для вывода результата этого решения в блок управления продувкой.
Согласно настоящему изобретению вышеупомянутая задача также достигается путем создания способа управления электронным устройством, в котором используют, по меньшей мере, один источник электропитания, топливный элемент, содержащий блок выработки электроэнергии, предназначенный для вывода электроэнергии, полученной посредством химической реакции между топливным газом и газом окислителя, устройство продувки, предназначенное для продувки блока выработки электроэнергии, и блок управления продувкой, предназначенный для выдачи команды на выполнение продувки в устройство продувки, при этом, способ управления содержит следующие операции: осуществляют текущий контроль потребляемой мощности, режима работы или регулируемого режима работы электронного устройства; на основании результата текущего контроля, полученного при операции текущего контроля, принимают решение о том, разрешено ли блоку управления продувкой выдать команду на выполнение продувки; и осуществляют вывод результата этого решения, полученного при операции принятия решения, в блок управления продувкой.
Согласно настоящему изобретению вышеупомянутая задача также достигается путем создания узла топливного элемента, содержащего блок выработки электроэнергии, предназначенный для вывода электроэнергии, полученной посредством химической реакции между топливным газом и газом окислителя; устройство продувки, предназначенное для продувки блока выработки электроэнергии; и блок управления продувкой, предназначенный для выдачи команды на выполнение продувки в устройство продувки в соответствии с разрешающим сигналом из электронного устройства, которое должно быть приведено в действие.
Другие признаки и преимущества настоящего изобретения станут очевидными из приведенного ниже описания при его рассмотрении совместно с сопроводительными чертежами, причем на всех этих чертежах одинаковые или аналогичные элементы обозначены одинаковыми номерами позиций.
КРАТКОЕ ОПИСАНИЕ ЧЕРТЕЖЕЙ
На сопроводительных чертежах, которые включены в состав описания и являются его неотъемлемой частью, проиллюстрированы варианты осуществления настоящего изобретения, и вместе с описанием они служат для объяснения принципов настоящего изобретения.
На Фиг. 1, состоящем из Фиг. 1A и Фиг. 1Б, изображены блок-схемы, на которых показана внутренняя структура однообъективного зеркального цифрового фотоаппарата согласно варианту осуществления настоящего изобретения.
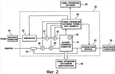
На Фиг. 2 изображена блок-схема, на которой показан пример внутренней структуры топливного элемента 80, установленного в однообъективном зеркальном цифровом фотоаппарате, показанном на Фиг. 1A и Фиг. 1Б.
На Фиг. 3 изображена схема последовательности операций, на которой проиллюстрирована процедура управления топливным элементом 80 однообъективного зеркального цифрового фотоаппарата, показанного на Фиг. 1A, Фиг. 1Б и Фиг. 2.
На Фиг. 4 изображена диаграмма, на которой показан пример величины потребляемой мощности в течение последовательности действий по приведению в действие однообъективного зеркального цифрового фотоаппарата.
На Фиг. 5 изображена схема последовательности операций, на которой проиллюстрирован пример процедуры управления топливным элементом 80 однообъективного зеркального цифрового фотоаппарата в первом режиме использования.
На Фиг. 6 изображена схема последовательности операций, на которой проиллюстрирован пример процедуры управления топливным элементом 80 однообъективного зеркального цифрового фотоаппарата во втором режиме использования.
На Фиг. 7 изображена схема последовательности операций, на которой проиллюстрирован пример процедуры управления топливным элементом 80 однообъективного зеркального цифрового фотоаппарата в третьем режиме использования.
На Фиг. 8 изображена схема последовательности операций, на которой проиллюстрирован пример процедуры управления топливным элементом 80 однообъективного зеркального цифрового фотоаппарата в четвертом режиме использования.
На Фиг. 9 изображена схема последовательности операций, на которой проиллюстрирован пример процедуры управления топливным элементом 80 однообъективного зеркального цифрового фотоаппарата в пятом режиме использования.
На Фиг. 10 изображена схема последовательности операций, на которой проиллюстрирован пример другой процедуры управления топливным элементом 80 однообъективного зеркального цифрового фотоаппарата в пятом режиме использования.
На Фиг. 11 изображен график, на котором показано изменение выходного электрического напряжения топливного элемента при использовании.
На Фиг. 12 изображен график, на котором показано изменение выходного электрического напряжения используемого топливного элемента при продувке.
На чертеже Фиг. 13, состоящем из Фиг. 13A и Фиг. 13Б, изображены блок-схемы, на которых показана внутренняя структура телефонного аппарата сотовой связи согласно варианту осуществления настоящего изобретения.
На Фиг. 14 изображена схема последовательности операций, на которой проиллюстрирована процедура управления блоком топливных элементов телефонного аппарата сотовой связи, показанного на Фиг. 13A и Фиг. 13Б.
На Фиг. 15 изображена схема последовательности операций, на которой проиллюстрирована последовательность операций, выполняемых в том случае, если при операции S802, показанной на Фиг. 14, определено, что в сплавах 410, абсорбирующих водород, в топливном баке 400 отсутствует достаточное количество водорода для резкого выделения водорода путем продувки.
НАИЛУЧШИЙ ВАРИАНТ ОСУЩЕСТВЛЕНИЯ ИЗОБРЕТЕНИЯ
Ниже приведено подробное описание предпочтительных вариантов осуществления настоящего изобретения в соответствии с сопроводительными чертежами.
Для описания приведенных ниже вариантов осуществления изобретения в качестве портативного электронного устройства, в котором применено настоящее изобретение, упомянут однообъективный зеркальный цифровой фотоаппарат.
На Фиг. 1A и Фиг. 1Б изображены блок-схемы, на которых показана внутренняя структура однообъективного зеркального цифрового фотоаппарата согласно варианту осуществления настоящего изобретения.
Как показано на Фиг. 1A и Фиг. 1Б, однообъективный зеркальный цифровой фотоаппарат согласно варианту осуществления настоящего изобретения состоит из основного корпуса 100 электронного фотоаппарата, образующего основной корпус однообъективного зеркального цифрового фотоаппарата; блока 300 фотосъемки, содержащего оптическую систему для фотосъемки, состоящую из множества фотографических линз 310 и т.п.; носителей 200 и 210 записи; блока 116 источника электропитания; и топливного бака 400 (блока источника подачи водорода). Носители 200 и 210 записи, блок 116 источника электропитания и топливный бак 400 установлены на однообъективном зеркальном цифровом фотоаппарате таким образом, что являются съемными.
Блок 300 фотосъемки содержит блок привода, служащий в качестве средства привода для фотографических линз 310, средство ограничения количества света, предназначенное для регулирования количества падающих световых лучей, проходящих через фотографические линзы 310, и т.п. Блок 300 фотосъемки установлен на основном корпусе 100 фотоаппарата таким образом, что является съемным.
Основной корпус 100 фотоаппарата имеет описанную ниже структуру.
Номером позиции 12 обозначен затвор, предназначенный для управления величиной экспозиции устройства 14 захвата изображений. Устройство 14 захвата изображений осуществляет преобразование оптического изображения в электрический сигнал, и им является, например, датчик на основе прибора с зарядовой связью (ПЗС). Световой луч, падающий на фотографические линзы 310, проходит через диафрагму 312, служащую в качестве средства ограничения количества света, держатели 306 и 106 объектива, зеркало 122 и затвор 12 и фокусируется в виде оптического изображения в плоскости захвата изображения в устройстве 14 захвата изображений.
Световой луч, падающий на фотографические линзы 310, направляют зеркалами 122 и 124 в оптический видоискатель 110. Зеркало 122 может иметь конструкцию в виде зеркала с быстрым возвратом или конструкцию в виде полупрозрачного зеркала.
Номером позиции 16 обозначен аналого-цифровой преобразователь (АЦП), предназначенный для преобразования аналогового сигнала с выхода устройства 14 захвата изображений в цифровой сигнал (ниже именуемый данными об изображении). Номером позиции 18 обозначена схема счетчика времени, предназначенная для подачи тактового сигнала и управляющего сигнала в устройство 14 захвата изображений, в аналого-цифровой преобразователь 16 и в цифроаналоговый преобразователь 26, при этом, управление схемой генератора тактовых импульсов осуществляет схема 22 управления запоминающим устройством и схема 50 управления системой.
Номером позиции 20 обозначена схема обработки изображений, предназначенная для выполнения заранее заданной процедуры интерполяции элемента изображения и процедуры преобразования цветов для данных об изображении, полученных из аналого-цифрового преобразователя 16, и для данных об изображении, полученных из схемы 22 управления запоминающим устройством. В схеме 20 обработки изображений выполняют заранее заданную процедуру вычислений с использованием данных об изображении, когда это необходимо, и в соответствии с результатом вычислений схема 50 управления системой выполняет процедуру автоматической фокусировки (АФ) через объектив (TTL) для дальномерного блока 42 и фотометрического блока 44, процедуру управления автоматической экспозицией (АЭ) и процедуру управления электронной лампой-вспышкой (ЭЛВ). Кроме того, схема 20 обработки изображений выполняет процедуру регулировки баланса белого (ББ) в соответствии с результатом вычислений, полученным в схеме 46 регулировки баланса белого.
Схема 22 управления запоминающим устройством осуществляет управление аналого-цифровым преобразователем 16, схемой 18 генератора тактовых импульсов, схемой 20 обработки изображений, запоминающим устройством 24 для вывода изображений на экран дисплея, цифроаналоговым преобразователем 26, запоминающим устройством 30 и схемой 32 сжатия/распаковки. Данные об изображении, полученные с выхода аналого-цифрового преобразователя 16, записывают в запоминающее устройство 24 для вывода изображений на экран дисплея или в запоминающее устройство 30 посредством схемы 20 обработки изображений и схемы 22 управления запоминающим устройством или только посредством схемы 22 управления запоминающим устройством.
Запоминающее устройство 24 для вывода изображений на экран дисплея, цифроаналоговый преобразователь 26 и блок 28 вывода изображений на экран дисплея, которым является, например, жидкокристаллический дисплей на тонкопленочных транзисторах (TFT/LCD), выполняют процедуру вывода изображений на экран дисплея. В частности, данные об изображении, показываемом на экране дисплея, записанные в запоминающем устройстве 24 для вывода изображений на экран дисплея, выводят через цифроаналоговый преобразователь (ЦАП) 26 в блок 28 вывода изображений на экран дисплея и показывают на дисплее. Если данные об изображении, сфотографированном устройством 14 захвата изображений, последовательно отображают на экране блока 28 вывода изображений на экран дисплея, то может быть реализована функция электронного видоискателя. Блок 28 вывода изображений на экран дисплея может включать/выключать дисплей желательным образом в соответствии с командой, поступившей из схемы 50 управления системой. Когда дисплей выключен, то мощность, потребляемая в основном корпусе 100 электронного фотоаппарата, может быть значительно уменьшена.
Запоминающее устройство 30 представляет собой носитель для хранения информации, предназначенный для хранения сфотографированных неподвижных изображений и движущихся изображений, и имеет достаточную емкость для хранения заранее заданного количества неподвижных изображений и движущихся изображений в течение заранее заданного времени. Следовательно, что касается запоминающего устройства 30, то оно обеспечивает выполнение записи изображений большой емкости с высокой скоростью даже при непрерывной фотосъемке множества неподвижных изображений и при фотосъемке панорамы. Запоминающее устройство 30 может быть использовано в качестве рабочей области для схемы 50 управления системой.
Схема 32 сжатия/распаковки выполняет сжатие и распаковку данных об изображении посредством адаптивного дискретного косинусного преобразования (ADCT) или аналогичного алгоритма. Схема 32 сжатия/распаковки считывает данные об изображении, запомненные в запоминающем устройстве 30, выполняет процедуру сжатия или распаковки и записывает обработанные данные об изображении в запоминающее устройство 30.
Номером позиции 40 обозначена схема управления затвором, предназначенная для управления затвором 12 в соответствии с фотометрической информацией, полученной из фотометрического блока 44, во взаимодействии со схемой 340 регулировки диафрагмы, предназначенной для регулировки диафрагмы 312. Дальномерный блок 42 выполняет процедуру автоматической фокусировки (АФ). Дальномерный блок может измерять состояние сфокусированного изображения, которое сфокусировано как оптическое изображение, путем ввода светового луча, падающего на линзы 310, в дальномерный блок 42 через диафрагму 312, держатели 306 и 106 объектива, зеркало 122 и вспомогательное зеркало дальномера (не показано).
Фотометрический блок 44 выполняет процедуру автоматической установки экспозиции (АЭ). Фотометрический блок может измерять состояние экспонирования изображения, сфокусированного как оптическое изображение, путем ввода светового луча, падающего на линзы 310, в фотометрический блок 44 через диафрагму 312, держатели 306 и 106 объектива, зеркало 122 и фотометрическую линзу (не показана).
Номером позиции 45 обозначена схема вычисления баланса белого, предназначенная для вычисления цветовой температуры с использованием данных об изображении для сфотографированного изображения способом замера через объектив (TTL). Схема 46 регулировки баланса белого вычисляет данные коррекции баланса белого, необходимые для того, чтобы схема 20 обработки изображений могла выполнять процедуру регулировки баланса белого в соответствии с коэффициентом усиления или аналогичным параметром для регулировки баланса белого, который является заранее заданным в соответствии с выбранным источником света и цветовой температурой, данные о которых введены фотографом.
Номером позиции 48 обозначена электронная лампа-вспышка, имеющая проекционную функцию обеспечения вспомогательного света для автоматической фокусировки (АФ) и функцию модуляции света электронной лампы-вспышки. В соответствии с результатами вычислений по данным об изображении, полученными схемой 20 обработки изображений, для изображения, сфотографированного устройством 14 захвата изображений, схема 50 управления системой осуществляет управление схемой 40 управления затвором, схемой 340 регулировки диафрагмы и схемой 342 управления дальномером. Регулировка экспозиции и управление автоматической фокусировкой (АФ) могут быть реализованы с использованием способа замера видеосигнала через объектив (video TTL). Управление автоматической фокусировкой (АФ) может быть реализовано с использованием обоих результатов: результатов измерений, полученных в дальномерном блоке 42, и результатов вычислений, полученных в схеме 20 обработки изображений, для данных об изображении, соответствующих изображению, сфотографированному устройством 14 захвата изображений. Регулировка экспозиции может быть выполнена с использованием обоих результатов: результатов измерений, полученных в фотометрическом блоке 44, и результатов вычислений, полученных в схеме обработки изображений, для данных об изображении, соответствующих изображению, сфотографированному устройством 14 захвата изображений.
Номером позиции 50 обозначена схема управления системой, предназначенная для управления всеми устройствами в основном корпусе 100 электронного фотоаппарата, а номером позиции 52 обозначено запоминающее устройство, предназначенное для хранения рабочих констант, переменных и программ для схемы 50 управления системой.
Номером позиции 54 обозначен дисплей, имеющий функцию визуального отображения информации, которая реализована, например, посредством дисплея на жидких кристаллах, предназначенного для отображения сведений о режиме работы и сообщений с использованием символов, изображений, звуков и т.п., и функцию воспроизведения звука, которая реализована, например, посредством громкоговорителя, предназначенного для воспроизведения звуков при работе и звуков аварийной сигнализации в соответствии с выполнением программы в схеме 50 управления системой. Один или множество дисплеев 54 установлены в хорошо видимых местах, например в месте возле пульта управления на основном корпусе 100 электронного фотоаппарата. Например, дисплеями являются жидкокристаллические дисплеи (ЖКД), светодиоды, устройства генерации звука и т.п.
В частности, ниже приведено описание средства управления работой однообъективного зеркального цифрового фотоаппарата. Содержимое, отображаемое на экране дисплея 54, которым является жидкокристаллический дисплей (ЖКД) или аналогичное устройство, включает в себя отображение информации “съемка одиночного кадра – непрерывная фотосъемка”; отображение режима автоспуска; отображение коэффициента сжатия; отображение количества элементов записываемого изображения; отображение номера кадра записываемого фотоснимка; отображение количества оставшихся фотографических кадров; отображение выдержки затвора; отображение значения диафрагмы; отображение коррекции экспозиции; отображение режима работы лампы-вспышки; отображение режима ослабления эффекта “красных глаз”; отображение режима макросъемки; отображение режима установки зуммера; отображение оставшейся емкости батареи часов; отображение оставшейся емкости аккумуляторной батареи; отображение сведений об ошибках; отображение информации посредством множества цифр численных значений; отображение сведений о состоянии “присоединен/отсоединен” для носителей 200 и 210 записи; отображение сведений о состоянии “присоединен/отсоединен” для блока 300 фотосъемки; отображение сведений о работе интерфейса связи; отображение даты и времени; отображение состояния подключения к внешнему компьютеру и другую отображаемую информацию.
Содержимое, отображаемое на экране дисплея 54 в оптическом видоискателе 110, содержит отображение фокусировки; отображение факта завершения подготовки к фотосъемке; отображение предупреждения о сотрясении при съемке с рук; отображение факта зарядки лампы-вспышки; отображение факта завершения зарядки лампы-вспышки; отображение выдержки затвора; отображение значения диафрагмы; отображение коррекции экспозиции; отображение операции записи на носитель записи и другую отображаемую информацию. Содержимое, отображаемое на экране дисплея 54, которое отображают посредством светодиода или аналогичного средства, содержит отображение того, что изображение является сфокусированным; отображение факта завершения подготовки к фотосъемке; отображение предупреждения о сотрясении при съемке с рук; отображение факта зарядки лампы-вспышки; отображение факта завершения зарядки лампы-вспышки; отображение операции записи на носитель записи; отображение уведомления о том, что установлен режим макросъемки; отображение состояния зарядки батареи вторичных источников тока и другую отображаемую информацию. Содержимое, отображаемое на экране дисплея 54, которое отображают посредством лампы или аналогичного средства, содержит отображение уведомления о режиме автоспуска. Лампа уведомления о режиме автоспуска может быть использована в качестве вспомогательного источника света для автоматической фокусировки (АФ).
Номером позиции 55 обозначен блок предупреждения о необходимости продувки, предназначенный для подачи пользователю предупреждающего сигнала о приведении в действие переключателя 78 управления продувкой в том случае, когда снижается выходное электрическое напряжение топливного элемента 80 и возникает необходимость в продувке. Описание подробностей приведено ниже. Термин “продувка” означает способ быстрого увеличения интенсивности подачи водорода, подаваемого на топливный электрод топливного элемента, и выпуска наружу влаги и ненужного газа, остающегося на топливном электроде, из ячеек батареи топливных элементов, чтобы посредством этого восстановить площадь выработки электроэнергии и повысить парциальное давление водорода.
Номером позиции 56 обозначено электрически стираемое и перезаписываемое энергонезависимое запоминающее устройство, предназначенное для записи информационного содержимого, находящегося в запоминающем устройстве 52, когда это необходимо. Энергонезависимым запоминающим устройством является, например, электрически стираемое программируемое постоянное запоминающее устройство, ЭСППЗУ (EEPROM), или аналогичное устройство.
Дисковый переключатель 60 режимов, переключатель SW1 62 без фиксации положения, переключатель SW2 64 без фиксации положения и переключатель выбора баланса белого (не показан) образуют средство управления, предназначенное для ввода различных рабочих команд для схемы 50 управления системой. Средство управления состоит из одной или из множества комбинаций переключателей, дискового переключателя режимов, сенсорной панели, координатно-указательного устройства для обнаружения линии визирования, устройства распознавания речи и т.п.
Ниже приведено описание конкретного средства управления. Дисковый переключатель 60 режимов представляет собой поворотный переключатель, способный обеспечивать переключение на различные режимы фотосъемки, которыми являются, в том числе автоматический режим фотосъемки; запрограммированный режим фотосъемки; режим фотосъемки с приоритетом выдержки; режим фотосъемки с приоритетом диафрагмы; ручной режим фотосъемки; режим фотосъемки с приоритетом глубины фокусировки (глубины резкости); портретный режим фотосъемки; пейзажный режим фотосъемки; режим фотосъемки крупным планом; режим фотосъемки спортивных сцен; режим фотосъемки ночных сцен; режим фотосъемки панорамы и т.п.
Переключатель SW1 62 без фиксации положения включается в промежуточном состоянии нажатия спусковой кнопки (не показано), выдавая команду начать выполнение процедуры автоматической фокусировки (АФ), процедуры автоматической установки экспозиции (АЭ), процедуры установки баланса белого (ББ), процедуры включения электронной лампы-вспышки (ЭЛВ) и т.п.
Переключатель SW2 64 без фиксации положения включается в состоянии завершения нажатия спусковой кнопки (не показано), выдавая команду начать выполнение последовательности процедур, содержащей процедуру экспонирования, при которой производят запись данных об изображении, считанных из устройства 14 захвата изображений, в запоминающее устройство 30 посредством аналого-цифрового преобразователя 16 и схемы 22 управления запоминающим устройством, процедуру обработки с использованием результатов вычислений, выполняемую схемой 20 обработки изображений и схемой 22 управления запоминающим устройством, и процедуру записи, при которой производят операции считывания данных об изображении из запоминающего устройства 30, сжатия данных об изображении в схеме 32 сжатия/распаковки и записи данных об изображении на носитель 200 или 210 записи.
Номером позиции 70 обозначен пульт управления, состоящий из различных кнопок, сенсорных панелей и т.п. Например, пульт управления состоит из кнопки “меню” (menu), кнопки “установка” (set), кнопки “макросъемка” (macro), кнопки “переключение страниц при многооконном воспроизведении”, кнопки “установка режима лампы-вспышки”, кнопки изменения режима “съемка одиночного кадра – непрерывная фотосъемка – автоспуск”, кнопки “смещение по меню в направлении плюс” (+), кнопки “смещение по меню в направлении минус” (-), кнопки “выбор качества фотографического изображения”, кнопки “коррекция экспозиции”, кнопки “установка даты и времени”, кнопки “выбор и изменение”, кнопки принятия решения и выполнения, переключателя “включение/выключение вывода изображения на экран дисплея”, переключателя “включение/выключение быстрого просмотра”, переключателя режима сжатия, переключателя воспроизведения, переключателя “установка режима автоматической фокусировки (АФ)”, переключатель “выбор регулировки баланса белого” и т.п.
Кнопку “выбор и изменение” используют для установки выбранного режима или для изменения различных функций при фотосъемке и воспроизведении в режиме панорамы. Кнопку принятия решения и выполнения используют для фиксации принятого решения и выполнения различных функций при фотосъемке и воспроизведении в режиме панорамы. Переключатель “включение/выключение вывода изображения на экран дисплея” используют для включения/выключения блока 28 вывода изображений на экран дисплея. Переключатель “включение/выключение быстрого просмотра” используют для установления функции быстрого просмотра, обеспечивающей автоматическое воспроизведение данных об изображении сразу же после фотосъемки. Переключатель “режим сжатия” используют для выбора коэффициента сжатия для сжатия в формате JPEG или для выбора режима “ПЗС/формат RAW” (CCD/RAW) для преобразования данных об изображении в цифровую форму непосредственно с выхода устройства захвата изображений и записи данных об изображении на носитель записи.
Посредством переключателя “воспроизведение” могут быть установлены различные функциональные режимы, в том числе режим воспроизведения, режим воспроизведения изображений с дефектами из-за режима фотосъемки, режим соединения с персональным компьютером (ПК) и т.п. Посредством переключателя “установка режима автоматической фокусировки (АФ)” может быть установлен режим АФ для съемки одного кадра, в котором выполнение операции автоматической фокусировки начинают после нажатия на переключатель SW1 62 без фиксации положения, и состояние фокусировки сохраняют, если получено состояние, в котором изображение является сфокусированным, и следящий режим АФ, в котором операцию автоматической фокусировки продолжают, когда переключатель SW1 62 без фиксации положения находится в нажатом положении.
Переключатель “выбор регулировки баланса белого” используют для выбора режима автоматической регулировки баланса белого и режима ручной регулировки баланса белого. В режиме автоматической регулировки баланса белого цвет внешнего света вычисляют по выходному сигналу устройства 14 захвата изображений, а регулировку баланса белого осуществляют способом замера через объектив (TTL) с использованием данных о цветовой температуре. В режиме ручной регулировки баланса белого фотограф определяет тип источника света (например, солнечный свет, электрическая лампа накаливания, лампа дневного света и т.п.) в среде, в которой производят фотосъемку, выбирает тип источника света с использованием кнопки выбора источника света (не показана), или же фотограф измеряет цветовой тон (цветовую температуру) среды фотосъемки, вводит данные о цветовой температуре среды, в которой производят фотосъемку, в электронный фотоаппарат с использованием кнопки ввода цветовой температуры, и коэффициенты усиления входного контура для сигнала красного цвета и входного контура для сигнала синего цвета устанавливают равными заранее заданным коэффициентам усиления, которые являются характерными для конкретного источника света и конкретной цветовой температуры, в соответствии с выбранным источником света и с введенным значением цветовой температуры.
Если кнопка “плюс” и кнопка “минус” снабжены вращающимся дисковым переключателем режимов, то выбор функций и численных значений кнопок может быть произведен более плавно.
Номером позиции 72 обозначен выключатель электропитания, который может быть переключен между состояниями “питание включено” и “питание выключено” для основного корпуса 100 электронного фотоаппарата. Также имеется возможность переключения между состояниями “питание включено” и “питание выключено” для различных компонентов, соединенных с основным корпусом 100 электронного фотоаппарата, которыми являются, в том числе блок 300 фотосъемки, внешняя электронная лампа-вспышка, носители 200 и 210 записи и т.п. Номером позиции 74 обозначен блок обнаружения состояния “топливный бак присоединен” и состояния “топливный бак отсоединен”, предназначенный для обнаружения того, является ли топливный бак 400 присоединенным к соединителю 93.
Номером позиции 76 обозначена схема определения мощности электропитания, предназначенная для определения мощности электропитания для основного корпуса 100 электронного фотоаппарата. Номером позиции 78 обозначен переключатель управления продувкой. Когда этот переключатель включен, то схема 50 управления системой управляет топливным элементом 80 таким образом, чтобы выполнить продувку. Подробное описание конструкции топливного элемента 80 приведено ниже.
Топливный элемент 80 подает электроэнергию в основной корпус 100 электронного фотоаппарата. Номерами позиций 93 и 412 обозначены соединители, предназначенные для соединения основного корпуса 100 электронного фотоаппарата и топливного бака 400, предназначенного для хранения топливного газа (водорода) для топливного элемента 80. Номером позиции 94 обозначено всасывающее отверстие, предназначенное для подачи воздуха на кислородный электрод (не показан) топливного элемента 80. Номером позиции 96 обозначено выпускное отверстие, предназначенное для выпуска водорода, загрязнений и воздуха, использованного в топливном элементе 80, из основного корпуса 100 электронного фотоаппарата наружу при выполнении продувки топливного элемента. Номером позиции 97 обозначен блок переключения источника электропитания, управляемый схемой 50 управления системой, который предназначен для переключения источника электропитания основного корпуса 100 электронного фотоаппарата с топливного элемента 80 на блок 116 источника электропитания или с блока 116 источника электропитания на топливный элемент 80.
Номером позиции 98 обозначена схема управления источником электропитания, которая состоит из схемы обнаружения аккумуляторной батареи, преобразователя постоянного тока в постоянный ток, схемы переключателя, предназначенной для переключения между блоками, которые должны снабжаться электроэнергией. Схема управления источником электропитания обнаруживает тип аккумуляторной батареи и оставшуюся емкость аккумуляторной батареи, управляет преобразователем постоянного тока в постоянный ток в соответствии с результатами обнаружения или с командой, поступившей из схемы 50 управления системой, и подает необходимое электрическое напряжение в каждый компонент, в том числе на носители записи, в течение требуемого промежутка времени. Номерами позиций 112 и 114 обозначены соединители, предназначенные для соединения основного корпуса 100 электронного фотоаппарата и блока 116 источника электропитания. Блок 116 источника электропитания состоит из батареи первичных источников тока, которыми являются, например, щелочная батарея и литиевая батарея, батареи вторичных источников тока, которыми являются, например, никель-кадмиевая (NiCd) аккумуляторная батарея, никель-металл-гидридная (NiMH) аккумуляторная батарея и литиевая аккумуляторная батарея, адаптер, включаемый в сеть переменного тока, и т.п.
Номерами позиций 91 и 95 обозначены интерфейсы с носителями записи, такими как, например, плата памяти и накопитель на жестких дисках. Номерами позиций 92 и 99 соединителей обозначены предназначенные для соединения носителей записи, например, плата памяти и накопитель на жестких дисках. Номером позиции 118 обозначен блок обнаружения состояния “носители записи присоединены” и состояния “носители записи отсоединены”, предназначенный для обнаружения того, является ли носитель 200 или 210 записи соединенным с соединителями 92 и 99. В этом варианте осуществления изобретения в описании сделано предположение, что для установки носителей записи предусмотрены два комплекта интерфейсов и соединителей. Очевидно, что для интерфейсов и соединителей, предназначенных для установки носителей записи, может быть использован один комплект или множество комплектов. Также может быть использована комбинация интерфейсов и соединителей, имеющих различные технические характеристики.
Технические характеристики интерфейсов и соединителей могут быть соответствующими спецификациям плат стандарта PCMCIA, плат стандарта CF (compact flash – компактная флеш-память) и т.п. Если интерфейсы 91 и 95 и соединители 92 и 99 соответствуют спецификациям плат стандарта PCMCIA или плат стандарта CF (compact flash) и если используются различные платы связи, такие как, например, сетевые платы для локальной сети (ЛС), модемные платы, платы соединения с универсальной последовательной шиной (USB), платы стандарта IEEE 1394, платы стандарта P1284, платы интерфейса малых компьютерных систем (SCSI) и платы стандарта системы персональной телефонной связи (PHS), то данные об изображении и административная информация, добавленная к данным об изображении, могут быть переданы в другие компьютеры и периферийные устройства, например в принтеры, и из них.
Номером позиции 136 обозначен блок связи, имеющий различные функции связи, например связи по протоколам RS232, USB, IEEE1394, P1284, SCSI, модемной связи, связи по локальной сети и беспроводной связи. Номером позиции 138 обозначен соединитель, предназначенный для соединения основного корпуса 100 электронного фотоаппарата с другим устройством посредством блока 136 связи или антенны для беспроводной связи.
Номером позиции 140 обозначено устройство сопряжения, предназначенное для соединения основного корпуса 100 электронного фотоаппарата с блоком 300 фотосъемки в держателе 106 объектива. Номером позиции 142 обозначен соединитель, предназначенный для электрического соединения основного корпуса 100 электронного фотоаппарата с блоком 300 фотосъемки. Номером позиции 144 обозначен блок обнаружения состояния “объектив присоединен” и состояния “объектив отсоединен”, предназначенный для обнаружения того, является ли блок 300 фотосъемки присоединенным к держателю 106 объектива и/или к соединителю 142.
Соединитель 142 имеет функцию передачи управляющего сигнала, сигнала состояния, сигнала передачи данных и т.п. между основным корпусом 100 электронного фотоаппарата и блоком 300 фотосъемки и подачи различных напряжений и токов. Соединитель 142 может обеспечивать не только передачу электрических сигналов, но также передачу оптических сигналов и звуковых сигналов.
Номером позиции 200 обозначен носитель записи, которым является, например, плата памяти и накопитель на жестких дисках. Носитель 200 записи состоит из области 202 записи, выполненной в виде полупроводникового запоминающего устройства, магнитного диска или аналогичного устройства, интерфейса 204 с основным корпусом 100 электронного фотоаппарата и соединителя 206, предназначенного для соединения с основным корпусом 100 электронного фотоаппарата.
Номером позиции 210 обозначен носитель записи, которым является, например, плата памяти и накопитель на жестких дисках. Носитель 210 записи состоит из области 212 записи, выполненной в виде полупроводникового запоминающего устройства, магнитного диска или аналогичного устройства, интерфейса 214 с основным корпусом 100 электронного фотоаппарата и соединителя 216, предназначенного для соединения с основным корпусом 100 электронного фотоаппарата.
Ниже приведено более подробное описание вышеупомянутого блока 300 фотосъемки. Как было описано выше, блок 300 фотосъемки представляет собой блок со сменным объективом.
Держатель 306 объектива обеспечивает механическое соединение блока 300 фотосъемки с основным корпусом 100 электронного фотоаппарата. Держатель 306 объектива имеет различные функции электрического соединения блока 300 фотосъемки с основным корпусом 100 электронного фотоаппарата.
Номером позиции 320 обозначено устройство сопряжения, предназначенное для соединения блока 300 фотосъемки с основным корпусом 100 электронного фотоаппарата в держателе 306 объектива. Номером позиции 322 обозначен соединитель, предназначенный для электрического соединения блока 300 фотосъемки с основным корпусом 100 электронного фотоаппарата. Соединитель 322 имеет функцию передачи управляющего сигнала, сигнала состояния, сигнала передачи данных и т.п. между основным корпусом 100 электронного фотоаппарата и блоком 300 фотосъемки и подачи или получения различных напряжений и токов. Соединитель 322 может обеспечивать не только передачу электрических сигналов, но также передачу оптических сигналов и звуковых сигналов.
Схема 340 регулировки диафрагмы регулирует диафрагму 312 в соответствии с фотометрической информацией, поступившей из фотометрического блока 44, во взаимодействии со схемой 40 управления затвором, предназначенной для управления затвором 12. Схема 342 управления дальномером управляет фокусировкой фотографических линз 310. Схема 344 управления изменением масштаба изображения управляет всем блоком 300 фотосъемки. Схема 346 управления системой линз обеспечивает функцию запоминающего устройства, в котором хранят рабочие константы, переменные, программы и т.п., и функцию энергонезависимого запоминающего устройства, в котором хранят информацию об особом номере идентификатора блока 300 фотосъемки, административную информацию и функциональную информацию, которой является, например, значение диафрагмы в открытом состоянии, минимальное значение диафрагмы, фокусное расстояние и т.п., различные текущие и прошлые установленные значения и т.п.
Ниже приведено описание подробностей топливного бака 400. Топливный бак 400 состоит из сплава 410, абсорбирующего водород, и соединителя 412. Сплав 410, абсорбирующий водород, содержит топливный газ (водород), необходимый для приведения в действие топливного элемента 80. Соединитель 412 соединяет топливный бак 400 с основным корпусом 100 электронного фотоаппарата. Сплав 410, абсорбирующий водород, регулирует давление водорода в топливном элементе таким образом, чтобы оно всегда было постоянным, и направляет топливный газ (водород) в топливный элемент 80 через соединители 93 и 412.
Ниже приведено описание структуры топливного элемента 80, установленного на основном корпусе 100 электронного фотоаппарата, показанном на Фиг. 1A и Фиг. 1Б. На Фиг. 2 изображена блок-схема, на которой показан пример внутренней структуры топливного элемента 80, установленного в однообъективном зеркальном цифровом фотоаппарате, показанном на Фиг. 1A и Фиг. 1Б. На Фиг. 2 компоненты, функции которых являются аналогичными функциям компонентов, показанных на Фиг. 1A и Фиг. 1Б, обозначены теми же самыми номерами позиций.
На Фиг. 2 номером позиции 81 обозначена батарея топливных элементов, состоящая из множества ячеек. Номером позиции 82 обозначен компрессор, предназначенный для сжатия воздуха, всосанного из всасывающего отверстия 94, и для подачи сжатого воздуха на кислородный электрод (не показан) батареи 81 топливных элементов. Номером позиции 83 обозначен продувочный вентиль, служащий в качестве средства продувки, который предназначен для выпуска циркулирующего водорода наружу из основного корпуса 100 электронного фотоаппарата через выпускное отверстие 96 и для выпуска воды и загрязнений, накопившихся в батарее 81 топливных элементов, чтобы, тем самым, произвести продувку.
Номером позиции 84 обозначен эжектор, предназначенный для обеспечения циркуляции топливного газа (водород), выпущенного из батареи 81 топливных элементов. Номером позиции 85 обозначен датчик, предназначенный для измерения давления газа-окислителя (воздуха). Номером позиции 86 обозначен датчик, предназначенный для измерения давления топливного газа (водорода). Номером позиции 87 обозначен датчик, предназначенный для измерения расхода газа окислителя. Номером позиции 88 обозначен датчик, предназначенный для измерения расхода топливного газа (водорода).
Номером позиции 89 обозначена схема определения электрического напряжения ячейки, предназначенная для измерения электрического напряжения каждой ячейки в батарее 81 топливных элементов. Несмотря на то, что для простоты на Фиг. 2 показана только одна схема 89 определения электрического напряжения ячейки, схемой определения электрического напряжения ячейки снабжена каждая ячейка или каждая группа ячеек в батарее 81 топливных элементов. Электрическое напряжение ячейки желательно определять таким способом в том случае, когда измерено выходное напряжение топливного элемента. Может быть предусмотрена такая схема определения электрического напряжения, которая измеряет выходное напряжение на стороне электронного устройства.
Номером позиции 90 обозначена схема управления системой топливного элемента, предназначенная для управления компрессором 82 и т.п. для получения намеченной величины электрической мощности в соответствии с входным давлением и интенсивностью подачи топливного газа (водорода) и с входным давлением и интенсивностью подачи газа-окислителя (воздуха). Выходной сигнал из схемы 89 определения электрического напряжения ячейки подают в схему 50 управления системой основного корпуса 100 электронного фотоаппарата и когда из схемы 50 управления системой получена команда на выполнение продувки, то выполняют продувку, приводя в действие продувочный вентиль 83, служащий в качестве средства управления продувкой.
Ниже приведено описание процедуры управления топливным элементом 80 однообъективного зеркального цифрового фотоаппарата, показанного на Фиг. 1A, Фиг. 1Б и Фиг. 2.
На Фиг. 3 изображена схема последовательности операций, на которой проиллюстрирована процедура управления топливным элементом 80 однообъективного зеркального цифрового фотоаппарата, показанного на Фиг. 1A, Фиг. 1Б и Фиг. 2. Как показано на Фиг. 3, сначала, когда основной корпус 100 электронного фотоаппарата приводится в действие с использованием топливного элемента 80 в качестве средства электропитания, схема 90 управления системой топливного элемента дает в схему 89 определения электрического напряжения ячейки команду выполнить измерение электрического напряжения ячейки батареи 81 топливных элементов и определяет, является ли электрическое напряжение ячейки более низким, чем первое заранее заданное значение, при котором требуется выполнение продувки (операция S101).
Если определено, что электрическое напряжение ячейки является более высоким, чем первое заранее заданное значение (результатом операции S101 является “НЕТ”), то в последовательности операций возвращаются к выполнению операции 101, после чего схема 90 управления системой топливного элемента обеспечивает измерение электрического напряжения ячейки батареи 81 топливных элементов посредством схемы 89 определения электрического напряжения ячейки. Операцию S101 повторяют до тех пор, пока электрическое напряжения ячейки не станет более низким, чем первое заранее заданное значение.
Если же определено, что электрическое напряжение ячейки является более низким, чем первое заранее заданное значение (результатом операции S101 является “ДА”), то схема 90 управления системой топливного элемента уведомляет схему 50 управления системой о том, что электрическое напряжение ячейки стало более низким, чем первое заранее заданное значение, и что необходима продувка (операция S102). Исходя из результата определения, полученного схемой 76 определения мощности электропитания, схема 50 управления системой судит о том, является ли мощность электропитания основного корпуса 100 электронного фотоаппарата более низкой, чем заранее заданное значение (операция S103). Это заранее заданное значение установлено на таком уровне, на котором влияние на работу основного корпуса 100 электронного фотоаппарата не оказывает даже то, что во время продувки происходит падение напряжения.
Ниже приведено описание заранее заданного значения, используемого при операции S103, со ссылкой на Фиг. 4. На Фиг. 4 изображена диаграмма, на которой показан пример величины потребляемой мощности в течение последовательности действий по приведению в действие однообъективного зеркального цифрового фотоаппарата. Как показано на Фиг. 4, когда выключатель 72 электропитания однообъективного зеркального цифрового фотоаппарата включен, то мощность, потребляемая электрической схемой фотоаппарата, всегда составляет, приблизительно, от 6,0 Вт (ватт) до 7,0 Вт. В зависимости от момента времени в последовательности приведения фотоаппарата в действие мощность, равная, приблизительно, 1,5 Вт, потребляется двигателем (не показан) для приведения в действие затвора 12, зеркал 122 и 124, и мощность, равная, приблизительно, 4,0 Вт, потребляется для приведения в действие диафрагмы 312.
Например, если продувку выполняют в тот момент времени, когда потребляемая мощность является относительно большой (на Фиг.4 менее, чем, приблизительно, 12,0 Вт), например, при одновременном приведении в действие двигателя (не показан) и диафрагмы 312, то необходимая электрическая мощность не может быть получена из-за мгновенного падения напряжения, и существует возможность того, что это окажет влияние на работу однообъективного зеркального цифрового фотоаппарата. Чтобы избежать этого, достаточно того, чтобы продувка производилась в тот момент времени, когда электроэнергию потребляет только электрическая схема фотоаппарата. При операции S103, показанной на Фиг.3, определяют, является ли электроэнергия, потребляемая однообъективным зеркальным цифровым фотоаппаратом в текущий момент времени, относительно малой. В примере, показанном на Фиг.4, наиболее предпочтительное заранее заданное значение, используемое при операции S103, показанной на Фиг.4, равно, приблизительно, 7,0 Вт, что указанно на Фиг.3 пунктирной линией.
Если схемой 76 определения мощности электропитания определено, что мощность электропитания является меньшей, чем заранее заданное значение (результатом операции S103 является “ДА”), то схема 50 управления системой выводит сигнал “начать продувку” в схему 90 управления системой топливного элемента. Схема 90 управления системой топливного элемента приводит в действие продувочный вентиль 83 для выполнения продувки и производит выпуск избыточной влаги и загрязнений, имеющихся в батарее топливных элементов, наружу из основного корпуса 100 электронного фотоаппарата через выпускное отверстие 96 (операция S104).
Если же схемой 76 определения мощности электропитания определено, что мощность электропитания является большей, чем заранее заданное значение (результатом операции S103 является “НЕТ”), то схема 50 управления системой выводит сигнал “режим ожидания продувки” в схему 90 управления системой топливного элемента. Схема 90 управления системой топливного элемента дает в схему 89 определения электрического напряжения ячейки команду вновь произвести измерение электрического напряжения ячейки батареи 81 топливных элементов для определения того, является ли электрическое напряжение ячейки более низким, чем второе заранее заданное значение. Второе заранее заданное значение является более низким, чем первое заранее заданное значение, и его величина установлена близкой к электрическому напряжению, при котором работа основного корпуса 100 электронного фотоаппарата запрещена (электрическому напряжению, при котором однообъективный зеркальный цифровой фотоаппарат не может функционировать правильно).
Если определено, что электрическое напряжение ячейки является более высоким, чем второе заранее заданное значение (результатом операции S105 является “НЕТ”), то схема 90 управления системой топливного элемента осуществляет вывод результата определения в схему 50 управления системой для возвращения к выполнению операции S103, после чего схема 50 управления системой дает в схему 76 определения мощности электропитания команду снова произвести измерение мощности электропитания основного корпуса 100 электронного фотоаппарата. То есть цикл из операций S103 и S105 выполняют в том случае, если результат определения, полученный схемой 76 определения мощности электропитания, является большим, чем заранее заданное значение, и электрическое напряжение ячейки является более высоким, чем второе заранее заданное значение.
Если же определено, что электрическое напряжение ячейки является более низким, чем второе заранее заданное значение (результатом операции S105 является “ДА”), то схема 90 управления системой топливного элемента осуществляет вывод результата определения в схему 50 управления системой для перехода вперед к выполнению операции S106, после чего схема 50 управления системой управляет блоком 97 переключения источника электропитания таким образом, чтобы он изменил источник электропитания основного корпуса 100 электронного фотоаппарата с топливного элемента 80 на блок 116 источника электропитания.
Затем схема 50 управления системой выводит сигнал “начать продувку” в схему 90 управления системой топливного элемента. Схема 90 управления системой топливного элемента приводит в действие продувочный вентиль 83 для выполнения продувки и производит выпуск избыточной влаги и загрязнений, имеющихся в батарее топливных элементов, наружу из основного корпуса 100 электронного фотоаппарата через выпускное отверстие 96. Во время продувки для того, чтобы сохранить давление водорода в батарее 81 топливных элементов, равным заранее заданному значению, всегда производят выпуск водорода из сплава 410, абсорбирующего водород, в топливном баке 400 и подают его в топливный элемент 80 через соединители 93 и 412 (операция S107).
После продувки схема 50 управления системой управляет блоком 97 переключения источника электропитания таким образом, чтобы он изменил источник электропитания основного корпуса 100 электронного фотоаппарата с блока 116 источника электропитания на топливный элемент 80 (операция S108).
Выше было приведено описание последовательности операций управления топливным элементом 80. Операции, показанные на Фиг. 3, повторяют в течение того времени, когда в однообъективном зеркальном цифровом фотоаппарате используют топливный элемент 80 в качестве источника электропитания для него.
Как описано выше, согласно этому варианту осуществления однообъективного зеркального цифрового фотоаппарата, если необходимая мощность мала, то продувка может быть произведена в процессе работы однообъективного зеркального цифрового фотоаппарата. Следовательно, имеется возможность предотвратить нехватку электрической мощности аккумуляторной батареи однообъективного зеркального цифрового фотоаппарата, которая вызвана падением напряжения во время продувки. Следовательно, имеется возможность обеспечения работы однообъективного зеркального цифрового фотоаппарата посредством топливного элемента 80 путем повторения продувки таким образом, что она не оказывает влияния на функционирование однообъективного зеркального цифрового фотоаппарата.
Кроме того, если в процессе работы однообъективного зеркального цифрового фотоаппарата необходима большая электрическая мощность и если требуется незамедлительная продувка в том состоянии, когда выполнение продувки оказывает влияние на работу однообъективного зеркального цифрового фотоаппарата, то вместо топливного элемента 80 временно используют блок 116 источника электропитания, и в течение этого периода времени продувку завершают. Соответственно, продувка топливного элемента 80 может быть произведена таким образом, что она не оказывает влияния на работу однообъективного зеркального цифрового фотоаппарата, и работа однообъективного зеркального цифрового фотоаппарата может быть продолжена с использованием топливного элемента 80 в качестве основного источника электропитания.
Ниже, со ссылкой на сопроводительные чертежи, приведено описание примеров процедуры управления топливным элементом 80 в различных режимах использования (с первого режима использования по пятый режим использования) однообъективного зеркального цифрового фотоаппарата согласно этому варианту осуществления изобретения.
Первый режим использования
В первом режиме использования выключатель 72 электропитания однообъективного зеркального цифрового фотоаппарата является включенным, поэтому в топливном элементе 80 произошло уменьшение количества топливного газа для топливного электрода вследствие того, что однообъективный зеркальный цифровой фотоаппарат оставался неиспользуемым в течение длительного времени, и топливный элемент 80 не приводился в действие. На Фиг. 5 изображена схема последовательности операций, на которой проиллюстрирован пример процедуры управления топливным элементом 80 однообъективного зеркального цифрового фотоаппарата в первом режиме использования.
Как показано на Фиг. 5, сначала схема 50 управления системой определяет, находится ли выключатель 72 электропитания основного корпуса 100 электронного фотоаппарата во включенном состоянии (операция S201). Если определено, что выключатель 72 электропитания выключен (результатом операции S201 является “НЕТ”), то схема 50 управления системой повторяет операцию S201 определения до тех пор, пока выключатель 72 электропитания не будет включен.
В состоянии, когда выключатель 72 электропитания выключен, электроэнергию в однообъективный зеркальный цифровой фотоаппарат не подают, поэтому операцию определения не выполняют. Когда состояние выключателя 72 электропитания изменяется из состояния “выключен” в состояние “включен”, то производят подачу электроэнергии в схему 50 управления системой, которая определяет состояние выключателя электропитания. Тем не менее, в зависимости от способа управления источником электропитания, устанавливают режим экономии энергии, например состояние приостановки работы (изолированное (sleeve) состояние). В этом случае состояние выключателя 72 электропитания определяют как состояние “выключен”. В этом режиме экономии энергии операция определения (операция S201) может выполняться через заранее заданный промежуток времени. В этом режиме экономии энергии переход в состояние “включен” происходит при выполнении заданной операции, например, в ответ на команду “произвести фотосъемку”. В этот момент времени состояние выключателя 72 электропитания может быть определено как состояние “включен”.
Если определено, что выключатель 72 электропитания включен (результатом операции S201 является “ДА”), то схема 50 управления системой начинает приводить в действие топливный элемент 80 (операция S202).
Когда при операции S202 начинают приводить в действие топливный элемент 80, то схема 50 управления системой выводит сигнал “начать продувку” в схему 90 управления системой топливного элемента. Схема 90 управления системой топливного элемента приводит в действие продувочный вентиль 83 для выполнения продувки и производит выпуск избыточной влаги и загрязнений, имеющихся в батарее 81 топливных элементов, наружу из основного корпуса 100 электронного фотоаппарата через выпускное отверстие 96.
Во время продувки для того, чтобы сохранить давление водорода в батарее 81 топливных элементов, равным заранее заданному значению, всегда производят выпуск водорода из сплава 410, абсорбирующего водород, в топливном баке 400 и подают его в топливный элемент 80 через соединители 93 и 412 (операция S203). Одновременно с этим схема 50 управления системой начинает подачу электропитания из топливного элемента 80 в основной корпус 100 электронного фотоаппарата для приведения фотоаппарата в действие (операция S204).
Определение того, следует ли схеме 50 управления системой производить вывод сигнала “начать продувку” в схему 90 управления системой топливного элемента при операции S202, может быть выполнено следующим образом. Как описано выше применительно к операциям S101 и S102, показанным на Фиг. 3, схема 89 определения электрического напряжения ячейки измеряет электрическое напряжение ячейки батареи 81 топливных элементов, и в соответствии с этим результатом измерений схема 90 управления системой топливного элемента уведомляет схему управления системой о необходимости продувки.
Как описано выше, согласно этому варианту осуществления однообъективного зеркального цифрового фотоаппарата продувку при включении выключателя 72 электропитания однообъективного зеркального цифрового фотоаппарата производят только в том случае, если произошло уменьшение количества топливного газа для топливного электрода в топливном элементе 80 вследствие того, что однообъективный зеркальный цифровой фотоаппарат оставался неиспользуемым в течение длительного времени. Следовательно, имеется возможность заполнить топливный электрод топливного элемента 80 топливным газом и улучшить повышение выходного напряжения. Если продувку производят только по мере необходимости, то можно избежать излишней продувки в том случае, когда выключатель электропитания включают и выключают в течение короткого промежутка времени.
Второй режим использования
Во втором режиме использования производят установку топливного бака 400 (средства подачи топливного газа) однообъективного зеркального цифрового фотоаппарата, так как произошло уменьшение количества топливного газа для топливного электрода в топливном элементе 80 вследствие того, что топливный бак 400 не был установлен. На Фиг. 6 изображена схема последовательности операций, на которой проиллюстрирован пример процедуры управления топливным элементом 80 однообъективного зеркального цифрового фотоаппарата во втором режиме использования.
Как показано на Фиг. 6, схема управления системой работает даже в том случае, если топливный бак 400 не установлен в основной корпус 100 электронного фотоаппарата, за счет электроэнергии, подаваемой из блока 116 источника электропитания. Схема 50 управления системой управляет блоком 74 обнаружения состояния “топливный бак присоединен” и состояния “топливный бак отсоединен” для определения того, присоединен ли топливный бак 400 к соединителю 93 (операция S301).
Если топливный бак 400 не установлен на соединителе 93 (результатом операции S301 является “НЕТ”), то блок 74 обнаружения состояния “топливный бак присоединен” и состояния “топливный бак отсоединен” повторяют эту операцию определения до тех пор, пока топливный бак 400 не будет установлен на соединителе 93.
Если же определено, что топливный бак 400 установлен на соединителе 93 (результатом операции S301 является “ДА”), блок 74 обнаружения состояния “топливный бак присоединен” и состояния “топливный бак отсоединен” осуществляет вывод сигнала в схему 50 управления системой, сигнал, являющийся обозначающим из этого, что топливный бак 400 установлен. Схема 50 управления системой дает блоку 97 переключения источника электропитания команду изменить источник электропитания основного корпуса 100 электронного фотоаппарата с блока 116 источника электропитания на топливный элемент 80 (операция S302).
Затем схема 50 управления системой выводит сигнал “начать продувку” в схему 90 управления системой топливного элемента. Схема 90 управления системой топливного элемента приводит в действие продувочный вентиль 83 для выполнения продувки и производит выпуск избыточной влаги и загрязнений, имеющихся в батарее 81 топливных элементов, наружу из основного корпуса 100 электронного фотоаппарата через выпускное отверстие 96. Во время продувки для того чтобы сохранить давление водорода в батарее 81 топливных элементов, равным заранее заданному значению, всегда производят выпуск водорода из сплава 410, абсорбирующего водород, в топливном баке 400 и подают его в топливный элемент 80 через соединители 93 и 412 (операция S303).
Несмотря на то что переключение источника электропитания выполняют при операции S302, показанной на Фиг. 6, переключение может быть выполнено после того, как произведена продувка (операция S303) и произошла стабилизация выходного напряжения топливного элемента 80. Определение того, следует ли схеме 50 управления системой производить вывод сигнала “начать продувку” в схему 90 управления системой топливного элемента при операции S303, может быть выполнено на основании следующего факта. Как описано выше применительно к операциям S101 и S102, показанным на Фиг. 3, схема 89 определения электрического напряжения ячейки измеряет электрическое напряжение ячейки батареи 81 топливных элементов, и в соответствии с этим результатом измерений схема 90 управления системой топливного элемента уведомляет схему управления системой о том, необходима ли продувка или нет.
Как описано выше, согласно этому варианту осуществления однообъективного зеркального цифрового фотоаппарата продувку при установке топливного бака 400 производят только в том случае, если произошло уменьшение количества топливного газа для топливного электрода в топливном элементе 80 вследствие того, что топливный бак 400 не установлен в однообъективном зеркальном цифровом фотоаппарате. Следовательно, имеется возможность заполнить топливный электрод топливного элемента 80 топливным газом и улучшить повышение выходного напряжения. Если продувку производят только по мере необходимости, то можно избежать излишней продувки в том случае, когда замену топливного бака 400 производят незамедлительно.
Третий режим использования
В третьем режиме использования производят автоматическое отключение питания в том случае, когда произошло уменьшение количества топливного газа для топливного электрода в топливном элементе 80 вследствие того, что однообъективный зеркальный цифровой фотоаппарат оставался неиспользуемым в течение длительного времени, и топливный элемент 80 не приводился в действие.
На Фиг. 7 изображена схема последовательности операций, на которой проиллюстрирован пример процедуры управления топливным элементом 80 однообъективного зеркального цифрового фотоаппарата в третьем режиме использования.
Как показано на Фиг. 7, сначала схема 50 управления системой определяет, находится ли выключатель 72 электропитания основного корпуса 100 электронного фотоаппарата во включенном состоянии (операция S401). Если определено, что выключатель 72 электропитания включен (результатом операции S401 является “ДА”), то схема 50 управления системой начинает управление топливным элементом 80 для приведения в действие однообъективного зеркального цифрового фотоаппарата (операция S402). Если же выключатель 72 электропитания находится в состоянии “выключен” (результатом операции S401 является “НЕТ”), то схема 50 управления системой повторяет операцию определения до тех пор, пока выключатель 72 электропитания не будет включен.
В состоянии, когда выключатель 72 электропитания выключен, электроэнергию в однообъективный зеркальный цифровой фотоаппарат не подают, поэтому операцию определения не выполняют. Когда состояние выключателя 72 электропитания изменяется из состояния “выключен” в состояние “включен”, то происходит подача электроэнергии в схему 50 управления системой, которая определяет состояние выключателя электропитания. Тем не менее, в зависимости от способа управления источником электропитания, устанавливают режим экономии энергии, например состояние приостановки работы (изолированное (sleeve) состояние). В этом случае состояние выключателя 72 электропитания определяют как состояние “выключен”. В этом режиме экономии энергии операция определения (операция S401) может выполняться через заранее заданный промежуток времени. В этом режиме экономии энергии переход в состояние “включен” происходит при выполнении заданной операции, например, в ответ на команду “произвести фотосъемку”. В этот момент времени состояние выключателя 72 электропитания может быть определено как состояние “включен”.
Затем после того как однообъективный зеркальный цифровой фотоаппарат приведен в действие, схема 50 управления системой управляет схемой 18 генератора тактовых импульсов таким образом, что измеряет промежуток времени с того момента времени, когда последний раз были приведены в действие различные переключатели пульта 70 управления и т.п., до текущего момента времени, определяя таким образом, достигнута ли заранее заданная продолжительность нахождения однообъективного зеркального цифрового фотоаппарата в нерабочем состоянии (которое ниже именуют нерабочим состоянием фотоаппарата) (операция S403).
Если при операции S403 определено, что заранее заданная продолжительность нахождения фотоаппарата в нерабочем состоянии не достигнута (результатом операции S403 является “НЕТ”), то схема 50 управления системой периодически измеряет время, прошедшее с того момента времени, когда последний раз были приведены в действие различные переключатели пульта 70 управления и т.п., до текущего момента времени до тех пор, пока не будет определено, что фотоаппарат находится в нерабочем состоянии в течение более длительного времени, чем заранее заданное время. Однообъективный зеркальный цифровой фотоаппарат из этого варианта осуществления изобретения имеет функцию автоматического отключения питания, которая прекращает подачу электропитания в основной корпус 100 электронного фотоаппарата тогда, когда фотоаппарат находится в нерабочем состоянии в течение более длительного времени, чем заранее заданное время.
Если же при операции S403 определено, что достигнута заранее заданная продолжительность нахождения фотоаппарата в нерабочем состоянии (результатом операции S403 является “ДА”), то схема 50 управления системой выводит сигнал “начать продувку” в схему 90 управления системой топливного элемента. Схема 90 управления системой топливного элемента приводит в действие продувочный вентиль 83 для выполнения продувки и производит выпуск избыточной влаги и загрязнений, имеющихся в батарее 81 топливных элементов, наружу из основного корпуса 100 электронного фотоаппарата через выпускное отверстие 96. Во время продувки для того чтобы сохранить давление водорода в батарее 81 топливных элементов, равным заранее заданному значению, всегда производят выпуск водорода из сплава 410, абсорбирующего водород, в топливном баке 400 и подают его в топливный элемент 80 через соединители 93 и 412 (операция S404). После продувки схема 50 управления системой прекращает управление топливным элементом 80 и прекращает подачу электропитания в основной корпус 100 электронного фотоаппарата.
Если однообъективный зеркальный цифровой фотоаппарат имеет режим экономии энергии, то по истечении заранее заданного времени он может перейти в состояние режима экономии энергии. В этом случае продувку производят в режиме экономии энергии. Определение того, следует ли схеме 50 управления системой производить вывод сигнала “начать продувку” в схему 90 управления системой топливного элемента в том случае, когда результатом операции S403 является “ДА”, может быть выполнено на основании следующего факта. Как описано выше применительно к операциям S101 и S102, показанным на Фиг. 3, схема 89 определения электрического напряжения ячейки измеряет электрическое напряжение ячейки батареи 81 топливных элементов, и в соответствии с этим результатом измерения схема 90 управления системой топливного элемента уведомляет схему управления системой о том, необходима ли продувка или нет.
Как описано выше, согласно этому варианту осуществления однообъективного зеркального цифрового фотоаппарата продувку перед автоматическим отключением питания производят только в том случае, если произошло уменьшение количества топливного газа для топливного электрода в топливном элементе 80 вследствие того, что однообъективный зеркальный цифровой фотоаппарат оставался неиспользуемым в течение длительного времени. Следовательно, имеется возможность заполнить топливный электрод топливным газом. Имеется возможность улучшить повышение выходного напряжения топливного элемента 80 в том случае, когда после этого приводят в действие основной корпус 100 электронного фотоаппарата.
Четвертый режим использования
В четвертом режиме использования однообъективный зеркальный цифровой фотоаппарат вновь приводят в действие, при этом, произошло уменьшение количества топливного газа для топливного электрода в топливном элементе 80 вследствие того, что однообъективный зеркальный цифровой фотоаппарат оставался неиспользуемым в течение длительного времени, и топливный элемент 80 не приводился в действие, и этот фотоаппарат находится в состоянии автоматического отключения питания.
На Фиг. 8 изображена схема последовательности операций, на которой проиллюстрирован пример процедуры управления топливным элементом 80 однообъективного зеркального цифрового фотоаппарата в четвертом режиме использования.
Как показано на Фиг. 8, сначала схема 50 управления системой определяет, находится ли выключатель 72 электропитания во включенном состоянии (операция S501). Если определено, что выключатель 72 электропитания включен (результатом операции S501 является “ДА”), то схема 50 управления системой начинает управление топливным элементом 80 для приведения в действие однообъективного зеркального цифрового фотоаппарата (операция S502). Если не определено, что выключатель 72 электропитания находится в состоянии “выключен” (результатом операции S501 является “НЕТ”), то схема 50 управления системой повторяет операцию определения до тех пор, пока выключатель 72 электропитания не будет включен. В состоянии когда выключатель 72 электропитания выключен, электроэнергию в однообъективный зеркальный цифровой фотоаппарат не подают, поэтому операцию определения не выполняют. Когда состояние выключателя 72 электропитания изменяется из состояния “выключен” в состояние “включен”, то происходит подача электроэнергии в схему 50 управления системой, которая определяет состояние выключателя электропитания.
Затем после того как однообъективный зеркальный цифровой фотоаппарат приведен в действие, схема 50 управления системой управляет схемой 18 генератора тактовых импульсов таким образом, что измеряет промежуток времени с того момента времени, когда последний раз были приведены в действие различные переключатели пульта 70 управления и т.п., до текущего момента времени, определяя таким образом, достигнута ли заранее заданная продолжительность нахождения однообъективного зеркального цифрового фотоаппарата в нерабочем состоянии (операция S503).
Если при операции S503 определено, что заранее заданная продолжительность нахождения фотоаппарата в нерабочем состоянии не достигнута (результатом операции S503 является “НЕТ”), то схема 50 управления системой периодически измеряет время, прошедшее с того момента времени, когда последний раз были приведены в действие различные переключатели пульта 70 управления и т.п., до текущего момента времени до тех пор, пока не будет определено, что фотоаппарат находится в нерабочем состоянии в течение более длительного времени, чем заранее заданное время.
Если же при операции S503 определено, что достигнута заранее заданная продолжительность нахождения фотоаппарата в нерабочем состоянии (результатом операции S503 является “ДА”), то схема 50 управления системой прекращает подачу основного электропитания для приведения в действие основного корпуса 100 электронного фотоаппарата (операция S504). В этом случае, даже если прекращена подача основного электропитания для приведения в действие основного корпуса 100 электронного фотоаппарата, подача электропитания в схему 50 управления системой продолжается, например, из блока 116 источника электропитания. Затем схема 50 управления системой определяет, приведены ли в действие различные переключатели управления на пульте 70 управления и т.п. (завершено ли нерабочее состояние фотоаппарата) (операция S505).
Если определено, что фотоаппарат продолжает находиться в нерабочем состоянии (результатом операции S505 является “НЕТ”), то операцию определения повторяют до тех пор, пока различные переключатели управления на пульте 70 управления и т.п. не будут снова приведены в действие. Если же при операции S505 определено, что обнаружен факт приведения в действие различных переключателей управления на пульте 70 управления и т.п. (результатом операции S505 является “ДА”), то схема 50 управления системой управляет схемой 98 управления источником электропитания таким образом, что прекращает управление топливным элементом 80, и управляет блоком 97 переключения источника электропитания таким образом, чтобы он изменил источник электропитания основного корпуса 100 электронного фотоаппарата с топливного элемента 80 на блок 116 источника электропитания и начал подачу питания в основной корпус 100 электронного фотоаппарата (операция S506).
Затем схема 50 управления системой выводит сигнал “начать продувку” в схему 90 управления системой топливного элемента. Схема 90 управления системой топливного элемента приводит в действие продувочный вентиль 83 для выполнения продувки и производит выпуск избыточной влаги и загрязнений, имеющихся в батарее 81 топливных элементов, наружу из основного корпуса 100 электронного фотоаппарата через выпускное отверстие 96. Во время продувки для того чтобы сохранить давление водорода в батарее 81 топливных элементов, равным заранее заданному значению, всегда производят выпуск водорода из сплава 410, абсорбирующего водород, в топливном баке 400 и подают его в топливный элемент 80 через соединители 93 и 412 (операция S507). После продувки схема 50 управления системой управляет блоком 97 переключения источника электропитания таким образом, чтобы он изменил источник электропитания основного корпуса 100 электронного фотоаппарата с блока 116 источника электропитания на топливный элемент 80 (операция S508).
В последовательности операций, начиная с операции S506 и заканчивая операцией S507, определение того, следует ли схеме 50 управления системой производить вывод сигнала “начать продувку” в схему 90 управления системой топливного элемента, может быть выполнено на основании следующего факта. Как описано выше применительно к операциям S101 и S102, показанным на Фиг. 3, схема 89 определения электрического напряжения ячейки измеряет электрическое напряжение ячейки батареи 81 топливных элементов, и в соответствии этим результатом измерения схема 90 управления системой топливного элемента уведомляет схему управления системой о том, необходима ли продувка или нет.
Как описано выше, согласно этому варианту осуществления однообъективного зеркального цифрового фотоаппарата продувка топливного элемента 80 может быть выполнена тогда, когда однообъективный зеркальный цифровой фотоаппарат снова приводят в действие в состоянии, когда произошло уменьшение количества топливного газа для топливного электрода в топливном элементе 80 вследствие того, что однообъективный зеркальный цифровой фотоаппарат оставался неиспользуемым в течение длительного времени и топливный элемент 80 не приводился в действие, и в состоянии автоматического отключения питания. Так как топливный электрод топливного элемента 80 заполнен топливным газом, то имеется возможность улучшить повышение выходного напряжения топливного элемента 80 при повторном приведении в действие основного корпуса электронного фотоаппарата. Поскольку во время продувки вместо топливного элемента 80 используют блок 116 источника электропитания, то работа основного корпуса электронного фотоаппарата может быть продолжена без какого-либо влияния на его функционирование даже в том случае, если во время продувки происходит снижение выходного напряжения топливного элемента 80.
Пятый режим использования
В пятом режиме использования продувку выполняют тогда, когда пользователь однообъективного зеркального цифрового фотоаппарата включает переключатель 78 управления продувкой.
На Фиг. 9 изображена схема последовательности операций, на которой проиллюстрирован пример процедуры управления топливным элементом 80 однообъективного зеркального цифрового фотоаппарата в пятом режиме использования.
Как показано на Фиг. 9, сначала схема 50 управления системой определяет, включен ли выключатель 72 электропитания (операция S601). Если определено, что выключатель 72 электропитания включен (результатом операции S601 является “ДА”), то схема 50 управления системой начинает управление топливным элементом 80 для приведения в действие однообъективного зеркального цифрового фотоаппарата (операция S602). Если же определено, что выключатель 72 электропитания находится в состоянии “выключен” (результатом операции S601 является “НЕТ”), то схема 50 управления системой повторяет операцию определения до тех пор, пока выключатель 72 электропитания не будет включен. Когда выключатель 72 электропитания находится в состоянии “выключен”, подачу электроэнергии в однообъективный зеркальный цифровой фотоаппарат не производят, поэтому операцию определения не выполняют. Когда происходит изменение выключателя 72 электропитания из состояния “выключен” в состояние “включен”, то производят подачу электроэнергии в схему 50 управления системой, которая определяет состояние выключателя электропитания.
После того, как при операции S602 однообъективный зеркальный цифровой фотоаппарат приведен в действие, схема 50 управления системой управляет схемой 18 генератора тактовых импульсов таким образом, что измеряет промежуток времени с того момента времени, когда однообъективный зеркальный цифровой фотоаппарат был приведен в действие, до текущего момента времени, определяя, тем самым, истек ли заранее заданный промежуток времени (операция S603). Если при операции S603 определено, что заранее заданный промежуток времени с того момента времени, когда однообъективный зеркальный цифровой фотоаппарат был приведен в действие, до текущего момента времени не истек (результатом операции S603 является “НЕТ”), то схема 50 управления системой периодически измеряет время, прошедшее с того момента времени, когда однообъективный зеркальный цифровой фотоаппарат был приведен в действие, до текущего момента времени до тех пор, пока этот промежуток времени не превысит заранее заданный промежуток времени.
Если же при операции S603 определено, что заранее заданный промежуток времени с того момента времени, когда однообъективный зеркальный цифровой фотоаппарат был приведен в действие, до текущего момента времени истек (результатом операции S603 является “ДА”), то схема 50 управления системой управляет блоком 55 предупреждения о необходимости продувки таким образом, что этот блок подает пользователю однообъективного зеркального цифрового фотоаппарата предупреждающий сигнал и вынуждает пользователя включить переключатель 78 управления продувкой.
Затем схема 50 управления системой определяет, включен ли пользователем переключатель 78 управления продувкой (операция S605). Если определено, что переключатель 78 управления продувкой не включен (результатом операции S605 является “НЕТ”), то схема 50 управления системой выдает в блок 55 предупреждения о необходимости продувки команду о том, чтобы он непрерывно подавал предупреждающий сигнал, и периодически определяет, включен ли переключатель 78 управления продувкой.
Если же при операции S605 определено, что переключатель 78 управления продувкой включен пользователем в ответ на предупреждающий сигнал из блока 55 предупреждения о необходимости продувки (результатом операции S605 является “ДА”), то схема 50 управления системой управляет блоком 97 переключения источника электропитания таким образом, чтобы он изменил источник электропитания основного корпуса 100 электронного фотоаппарата с топливного элемента 80 на блок 116 источника электропитания (операция S606).
Затем схема 50 управления системой выводит сигнал “начать продувку” в схему 90 управления системой топливного элемента. Схема 90 управления системой топливного элемента приводит в действие продувочный вентиль 83 для выполнения продувки и производит выпуск избыточной влаги и загрязнений, имеющихся в батарее 81 топливных элементов, наружу из основного корпуса 100 электронного фотоаппарата через выпускное отверстие 96. Во время продувки для того чтобы сохранить давление водорода в батарее 81 топливных элементов, равным заранее заданному значению, всегда производят выпуск водорода из сплава 410, абсорбирующего водород, в топливном баке 400 и подают его в топливный элемент 80 через соединители 93 и 412 (операция S607).
После продувки схема 50 управления системой управляет блоком 97 переключения источника электропитания таким образом, чтобы он изменил источник электропитания основного корпуса 100 электронного фотоаппарата с блока 116 источника электропитания на топливный элемент 80 (операция S608).
Затем схема 50 управления системой управляет схемой 18 генератора тактовых импульсов таким образом, что обеспечивает измерение промежутка время с момента завершения продувки до текущего момента времени и определение того, достиг ли этот промежуток времени заранее заданного промежутка времени (операция S609).
Если при операции S609 определено, что заранее заданный промежуток времени с момента завершения продувки до текущего момента времени не истек (результатом операции S609 является “НЕТ”), то схема 50 управления системой периодически измеряет промежуток времени, прошедший с момента завершения продувки до текущего момента времени, до тех пор, пока он не будет превышать заранее заданный промежуток времени. Если же при операции S609 определено, что заранее заданный промежуток времени с момента завершения продувки до текущего момента времени истек (результатом операции S609 является “ДА”), то в последовательности операций возвращаются к выполнению операции S604.
При подаче предупреждающего сигнала при выполнении операции S604 факт того, следует ли подавать предупреждающий сигнал, может быть определен следующим образом. Схема 89 определения электрического напряжения ячейки измеряет электрическое напряжение ячейки батареи 81 топливных элементов, и в соответствии с результатом измерения схема 90 управления системой топливного элемента уведомляет схему управления системой о необходимости продувки. То есть когда определено, что отсутствует необходимость в продувке, то можно не подавать предупреждающий сигнал.
Как описано выше, согласно этому варианту осуществления однообъективного зеркального цифрового фотоаппарата продувку производят тогда, когда пользователь однообъективного зеркального цифрового фотоаппарата включает переключатель 78 управления продувкой. Следовательно, имеется возможность непрерывного использования однообъективного зеркального цифрового фотоаппарат, не вызывающего беспокойства относительно падения напряжения во время продувки или воздействия, которое оказывает продувка (в зависимости от положения руки или лица пользователя существует вероятность того, что на пользователя будет оказано воздействие, например, вследствие неожиданного выпуска из выпускного отверстия 96 во время продувки).
Момент времени, когда необходима продувка, определяют исходя из времени непрерывной работы однообъективного зеркального цифрового фотоаппарата. Следовательно, имеется возможность уведомления пользователя однообъективного зеркального цифрового фотоаппарата о том моменте времени, когда нажат переключатель 78 управления продувкой. Так как во время продувки вместо топливного элемента 80 используется блок источника электропитания, то может быть предотвращена нехватка электрической мощности топливного элемента однообъективного зеркального цифрового фотоаппарата, вызываемая падением напряжения во время продувки, и работа основного корпуса электронного фотоаппарата может быть продолжена без какого-либо влияния на его функционирование.
Другой вариант функционирования в пятом режиме использования
Ниже приведено описание примера иной последовательности операций в пятом режиме использования, чем последовательность операций, показанная на Фиг. 9.
На Фиг. 10 изображена схема последовательности операций, на которой проиллюстрирован другой пример процедуры управления топливным элементом 80 однообъективного зеркального цифрового фотоаппарата в пятом режиме использования. Операции S701 и S702 и операции S704 к S707, показанные на Фиг. 10, являются аналогичными операциям S601 и S602 и операциям S604 к S607, показанным на Фиг. 9, и их описание здесь опущено.
После того, как при операции S702 однообъективный зеркальный цифровой фотоаппарат приведен в действие, схема 90 управления системой топливного элемента выдает в схему 89 определения электрического напряжения ячейки команду измерить электрическое напряжение ячейки батареи 81 топливных элементов, чтобы, тем самым, определить, является ли электрическое напряжение ячейки более низким, чем заранее заданное значение (то есть необходима ли продувка) (операция S703).
Если определено, что электрическое напряжение ячейки является более высоким чем заранее заданное значение (результатом операции S703 является “НЕТ”), то схема 89 определения электрического напряжения ячейки вновь измеряет электрическое напряжение ячейки батареи 81 топливных элементов, и операцию S703 повторяют до тех пор, пока электрическое напряжение ячейки не станет более низким чем заранее заданное значение. Если же определено, что электрическое напряжение ячейки является более низким чем заранее заданное значение (результатом операции S703 является “ДА”), то схема 90 управления системой топливного элемента уведомляет схему 50 управления системой о необходимости продувки. Схема 50 управления системой управляет блоком 55 предупреждения о необходимости продувки таким образом, что этот блок подает пользователю предупреждающий сигнал, вынуждая пользователя включить переключатель 78 управления продувкой (операция S704).
После того как продувка, выполняемая при операции S707, завершена, схема 50 управления системой управляет блоком 97 переключения источника электропитания таким образом, чтобы он изменил источник электропитания основного корпуса 100 электронного фотоаппарата с блока 116 источника электропитания на топливный элемент 80 (операция S708), после чего в последовательности операций возвращаются к выполнению операции S703.
Как описано выше, согласно этому варианту осуществления однообъективного зеркального цифрового фотоаппарата продувку производят тогда, когда пользователь однообъективного зеркального цифрового фотоаппарата включает переключатель 78 управления продувкой, и однообъективный зеркальный цифровой фотоаппарат может использоваться непрерывно, не вызывая беспокойства относительно падения напряжения во время продувки или воздействия, которое оказывает продувка.
Кроме того, пользователь однообъективного зеркального цифрового фотоаппарата может быть уведомлен о моменте времени, когда нажат переключатель управления продувкой, путем определения по выходному напряжению топливного элемента 80 того момента времени, когда продувка становится необходимой, и подачи предупреждающего сигнала тогда, когда продувка становится необходимой. Кроме того, так как во время продувки вместо топливного элемента 80 используется блок 116 источника электропитания, то может быть предотвращена нехватка электрической мощности топливного элемента однообъективного зеркального цифрового фотоаппарата, вызываемая падением напряжения во время продувки, и работа основного корпуса электронного фотоаппарата, приводимого в действие посредством топливного элемента 80, может быть продолжена без какого-либо влияния на его функционирование.
В описанных выше вариантах осуществления изобретения топливный элемент 80 установлен в основном корпусе 100 электронного фотоаппарата, а топливный бак 400 установлен в основном корпусе 100 электронного фотоаппарата таким образом, что является съемным. Этот пример является примером предпочтительных вариантов осуществления настоящего изобретения, но настоящее изобретение не ограничено им. Например, топливный элемент 80 вместе с топливным баком 400 может быть установлен снаружи основного корпуса 100 электронного фотоаппарата и соединен с основным корпусом 100 электронного фотоаппарата посредством соединителей 93 и 412. В этом случае предусмотрено наличие линий электропитания от источника электропитания, предназначенных для подачи электрического напряжения от источника электропитания, и предусмотрено наличие линий передачи сигналов, предназначенных для передачи сигналов между схемой 50 управления системой и схемой 90 управления системой топливного элемента.
Как описано выше, согласно вариантам осуществления однообъективного зеркального цифрового фотоаппарата продувку производят в соответствии с состоянием фотоаппарата. Следовательно, имеется возможность выполнения продувки топливного элемента 80 в тот момент времени, когда она не влияет на функционирование фотоаппарата, и работа топливного элемента 80 может быть продолжена. Согласно вариантам осуществления однообъективного зеркального цифрового фотоаппарата, так как продувку производят в тот момент времени последовательности операций работы фотоаппарата, когда потребляемая мощность мала, то может быть предотвращена нехватка электрической мощности топливного элемента однообъективного зеркального цифрового фотоаппарата или аналогичные ситуации, вызываемые падением напряжения во время продувки.
Кроме того, согласно вариантам осуществления однообъективного зеркального цифрового фотоаппарата имеется возможность улучшения повышения выходного напряжения даже в том состоянии, когда в топливном элементе 80 произошло уменьшение количества топливного газа для топливного электрода вследствие того, что однообъективный зеркальный цифровой фотоаппарат оставался неиспользуемым в течение длительного времени, и топливный элемент 80, не приводился в действие, так как продувку производят тогда, когда выключатель 72 электропитания однообъективного зеркального цифрового фотоаппарата включен, а затем топливный электрод топливного элемента 80 заполняют топливным газом.
Выше было приведено подробное описание вариантов осуществления настоящего изобретения со ссылкой на сопроводительные чертежи. Конкретные конструкции не ограничены этими вариантами осуществления изобретения, но возможны и другие конструкции и т.п., не выходящие за пределы сущности настоящего изобретения.
Согласно вариантам осуществления настоящего изобретения в качестве примера электронного устройства из настоящего изобретения использован однообъективный зеркальный цифровой фотоаппарат. Электронное устройство из настоящего изобретения не ограничено только лишь однообъективным зеркальным цифровым фотоаппаратом, но также может быть использовано другое компактное электронное устройство, например компактный фотоаппарат, персональное информационное устройство (PDA), мобильный телефон и персональный компьютер блокнотного типа.
Ниже приведено описание портативного электронного устройства, в котором применено настоящее изобретение, с использованием в качестве примера телефонного аппарата сотовой связи.
На чертежах Фиг. 13A и Фиг. 13Б изображены блок-схемы, на которых показана внутренняя структура телефонного аппарата сотовой связи согласно варианту осуществления настоящего изобретения. Для удобства описания топливный элемент 80 и топливный бак 400 обозначены теми же самыми номерами позиций, как и соответствующие компоненты на чертежах Фиг. 1A и Фиг. 1Б.
Как показанный на чертежах Фиг. 13A и Фиг. 13Б, телефонный аппарат сотовой связи согласно варианту осуществления настоящего изобретения состоит из основного корпуса 500 телефонного аппарата сотовой связи, топливного бака 400 (источника подачи водорода), блока 600 источника электропитания и блока 700 топливных элементов. Топливный бак 400 и блок 600 источника электропитания установлены на основном корпусе 500 телефонного аппарата сотовой связи таким образом, что являются съемными.
Схема 510 управления системой телефонного аппарата сотовой связи содержит центральный процессор (ЦП), внутреннее оперативное запоминающее устройство (внутреннее ОЗУ), постоянное запоминающее устройство (ПЗУ) и т.п. (каждое из них на чертежах не показано). ЦП осуществляет управление всеми устройствами в основном корпусе 500 телефонного аппарата сотовой связи в соответствии с различными управляющими программами, хранящимися в ПЗУ, с использованием заранее заданной области памяти внутреннего ОЗУ в качестве рабочей области.
Запоминающее устройство 512 представляет собой энергозависимое оперативное запоминающее устройство, магнитный/оптический носитель записи и соответствующее ему считывающее устройство, или энергонезависимое запоминающее устройство. Например, в запоминающем устройстве хранят программы для системы и для обеспечения функционирования основного корпуса 500 телефонного аппарата сотовой связи, в том числе операционную систему (ОС) и различные программы управления, и различные данные, такие как, например, движущиеся изображения и звуковые данные.
Драйвер 520 дисплея осуществляет преобразование сигнала изображения, введенного из схемы 510 управления системой телефонного аппарата сотовой связи, в выходной сигнал изображения, который выводят на экран основного дисплея 522 или вспомогательного дисплея 524 для визуального воспроизведения изображения.
Пульт 530 управления состоит из различных кнопок, сенсорных панелей и т.п.
Громкоговоритель 532 осуществляет вывод звуков и речевых сигналов, соответствующих выходным звуковым данным, введенным из схемы 510 управления системой телефонного аппарата сотовой связи.
Микрофон 534 осуществляет преобразование введенных извне звуков и речевых сигналов в аналоговый звуковой сигнал и выводит этот сигнал в схему 510 управления системой телефонного аппарата сотовой связи.
Выключатель 536 электропитания может по выбору устанавливать каждый из режимов “подача электроэнергии включена”/”подача электроэнергии отключена” для основного корпуса 500 телефонного аппарата сотовой связи.
Схема 538 определения мощности электропитания определяет мощность электропитания основного корпуса 500 телефонного аппарата сотовой связи.
Блок 540 предупреждения о нехватке топлива предупреждает пользователя о том факте, что на сплавы 410, абсорбирующие водород, необходимо незамедлительно подать водород, в том случае, когда количество водорода, остающегося в сплавах 410, абсорбирующих водород, в топливном баке 400 становится ниже заранее заданного его количества, необходимого для приведения в действие телефонного аппарата сотовой связи, или о том факте, что к блоку 700 топливных элементов необходимо присоединить топливный бак 400, содержащий сплавы 410, абсорбирующие водород, в которых абсорбировано достаточное количество водорода для приведения в действие телефонного аппарат сотовой связи.
Блок 542 переключения источника электропитания переключает источник электропитания основного корпуса 500 телефонного аппарата сотовой связи с блока 700 топливных элементов на блок 600 источника электропитания, или с блока 600 источника электропитания на блок 700 топливных элементов под управлением схемы 510 управления системой телефонного аппарата сотовой связи.
Схема 544 управления источником электропитания состоит из схемы обнаружения ячейки, преобразователя постоянного тока в постоянный ток, схемы переключателя, предназначенной для переключения на тот блок, который должен снабжаться электроэнергией. Схема управления источником электропитания обнаруживает тип ячейки и оставшуюся емкость ячейки, и управляет преобразователем постоянного тока в постоянный ток в соответствии с результатами обнаружения или с командой, поступившей из схемы 510 управления системой телефонного аппарата сотовой связи, обеспечивая, тем самым, подачу необходимого электрического напряжения в каждый компонент в течение требуемого промежутка времени.
Соединители 546 и 604 соединяют основной корпус 500 телефонного аппарата сотовой связи с блоком 600 источника электропитания.
Соединители 548 и 706 соединяют основной корпус 500 телефонного аппарата сотовой связи с блоком 700 топливных элементов.
Изображение, введенное из фотографического объектива 554 и сфокусированное на элементе 552 для захвата изображений, преобразовывают в сигнал изображения, который выводят в схему 510 управления системой телефонного аппарата сотовой связи в соответствии с командой, поступившей из схемы 510 управления системой телефонного аппарата сотовой связи.
Антенна 562 связи обеспечивает передачу и прием передаваемого сигнала и принимаемого сигнала, которые подвергают процедуре радиочастотной обработки, выполняемой блоком 564 беспроводной передачи.
Переключатель 566 смены режима “передача/прием” соединяют со стороной, производящей прием, или со стороной, производящей передачу, посредством схемы 510 управления системой телефонного аппарата сотовой связи.
Номером позиции 568 обозначен блок приема, номером позиции 570 обозначен блок обработки принятых данных, номером позиции 572 обозначен блок передачи, а номером позиции 574 обозначен блок обработки передаваемых данных.
В режиме приема переключатель 566 смены режима, управляемый схемой 510 управления системой телефонного аппарата сотовой связи, сначала соединен со стороной блока 568 приема. Сигнал, принятый антенной 562 связи, подвергают процедуре радиочастотной обработки в блоке 564 беспроводной передачи, после чего выполняют его демодуляцию в блоке 568 приема, а затем выполняют его декодирование в блоке 570 обработки принятых данных.
Если этим сигналом являются звуковые данные, то их выводят из громкоговорителя 532, а если этим сигналом являются текстовые данные или данные об изображении, то их отображают на основном дисплее 522 или на вспомогательном дисплее 524 посредством драйвера 520 дисплея.
В режиме передачи переключатель 566 смены режима, управляемый схемой 510 управления системой телефонного аппарата сотовой связи, соединен со стороной блока 572 передачи. Данные, введенные с пульта 530 управления, из микрофона 534 или из элемента 552 для захвата изображений вводят в блок 574 обработки передаваемых данных, выполняют их кодирование в блоке 574 обработки передаваемых данных, выполняют их модуляцию в блоке 572 передачи, подвергают процедуре радиочастотной обработки в блоке 564 беспроводной передачи, а затем производят их передачу из антенны 562 связи.
Ниже приведено описание блока 600 источника электропитания. Блок 600 источника электропитания состоит из источника 602 электропитания и соединителя 604. Источник 602 электропитания состоит из батареи первичных источников тока, которыми являются, например, щелочная батарея и литиевая батарея, батареи вторичных источников тока, которыми являются, например, никель-кадмиевая (NiCd) аккумуляторная батарея, никель-металл-гидридная (NiMH) аккумуляторная батарея и литиевая аккумуляторная батарея, адаптер, включаемый в сеть переменного тока. Соединитель 604 соединяет блок 600 источника электропитания с основным корпусом 500 телефонного аппарата сотовой связи.
Ниже приведено описание блока 700 топливных элементов. Блок 700 топливных элементов состоит из блока 80 топливных элементов, блока 702 определения оставшегося количества топлива, блока 704 обнаружения состояния “топливный бак присоединен” и состояния “топливный бак отсоединен”, соединителей 706 и 708, впускного отверстия 710 для газов и выпускного отверстия 712 для газов. В телефонном аппарате сотовой связи согласно варианту осуществления настоящего изобретения блок 700 топливных элементов установлен на основном корпусе 500 телефонного аппарата сотовой связи таким образом, что является съемным, а топливный бак 400 установлен на блоке 700 топливных элементов таким образом, что также является съемным.
Блок 702 определения оставшегося количества топлива определяет оставшееся количество топлива в топливном баке 400, соединенном с блоком 700 топливных элементов через соединители 708 и 412, то есть определяет оставшееся количество водорода в сплавах 410, абсорбирующих водород.
Блок 704 обнаружения состояния “топливный бак присоединен” и состояния “топливный бак отсоединен” обнаруживает, установлен ли топливный бак 400 на соединителе 708.
Соединитель 706 соединяет основной корпус 500 телефонного аппарата сотовой связи с блоком 700 топливных элементов, а соединитель 708 соединяет блок 700 топливных элементов с топливным баком 400. Впускное отверстие 710 для газов используется для подачи воздуха на кислородный электрод (не показан) топливного элемента 80. Выпускное отверстие 712 для газов используется для выпуска водорода, загрязнений и воздуха, использованного топливным элементом 80, во время продувки топливного элемента 80 наружу из основного корпуса 500 телефонного аппарата сотовой связи.
Ниже приведено описание процедуры управления продувкой телефонного аппарата сотовой связи, показанного на чертежах Фиг. 13A и Фиг. 13Б.
На Фиг. 14 изображена схема последовательности операций, на которой проиллюстрирована процедура управления продувкой в телефонном аппарате сотовой связи, который показан на чертежах Фиг. 13A и Фиг. 13Б. Сначала, когда основной корпус 500 телефонного аппарата сотовой связи приводится в действие с использованием топливного элемента 80 в качестве блока источника электропитания, схема 90 управления системой топливного элемента дает в схему 89 определения электрического напряжения ячейки команду выполнить измерение значений электрического напряжения ячеек батареи 81 топливных элементов и определяет, является ли электрическое напряжение ячейки более низким, чем первое заранее заданное значение, при котором требуется выполнение продувки (операция S801).
Если определено, что электрическое напряжение ячейки является более высоким, чем первое заранее заданное значение (результатом операции S801 является “НЕТ”), то схема 90 управления системой топливного элемента возвращается к выполнению операции S801, давая схеме 89 определения электрического напряжения ячейки команду выполнить измерение электрического напряжения ячейки батареи 81 топливных элементов, и операцию S801 повторяют до тех пор, пока электрическое напряжения ячейки не станет более низким, чем первое заранее заданное значение.
Если же определено, что электрическое напряжение ячейки является более низким, чем первое заранее заданное значение (результатом операции S801 является “ДА”), то схема 90 управления системой топливного элемента управляет блоком 702 определения оставшегося количества топлива таким образом, чтобы он определил количество водорода, оставшегося в сплавах 410, абсорбирующих водород, и определяет, осталось ли в сплавах 410, абсорбирующих водород, достаточное количество водорода для резкого выделения водорода путем продувки (операция S802).
Если количество водорода, оставшегося в сплавах 410, абсорбирующих водород, является недостаточным для продувки (результатом операции S802 является “НЕТ”), то в последовательности операций переходят далее к выполнению операции S804. Описание операции S804 и операций, выполняемых после нее, приведено ниже со ссылкой на Фиг.15.
Если же количество водорода, оставшегося в сплавах 410, абсорбирующих водород, является достаточным для продувки (результатом операции S802 является “ДА”), то схема 90 управления системой топливного элемента передает сигнал о выдаче разрешения на продувку в схему 510 управления системой телефонного аппарата сотовой связи через соединители 548 и 706 (операция S804).
Затем схема 510 управления системой телефонного аппарата сотовой связи определяет, влияет ли выпуск загрязнений при продувке блока 700 топливных элементов на использование основного корпуса 500 телефонного аппарата сотовой связи (операция S805). Например, если посредством основного корпуса 500 телефонного аппарата сотовой связи производят фотосъемку с использованием элемента 552 для захвата изображений и выполняется продувка, то возникает вероятность сотрясения, вызванного вибрациями во время выпуска загрязнений. Если посредством основного корпуса 500 телефонного аппарата сотовой связи регистрируют внешние звуки и речевые сигналы с микрофона 534, то возникает вероятность того, что звуки во время выпуска загрязнений при продувке будут зарегистрированы микрофоном.
Если при операции S805 определено, что продувка блока 700 топливных элементов не влияет на режим работы основного корпуса 500 телефонного аппарата сотовой связи (результатом операции S805 является “ДА”), то схема 510 управления системой телефонного аппарата сотовой связи управляет блоком 538 определения мощности электропитания таким образом, что он определяет, является ли уровень мощности электропитания основного корпуса 500 телефонного аппарата сотовой связи таким, что на него не оказывает влияние временное падение напряжения при продувке, или нет (операция S806).
Если же при операции S805 определено, что продувка блока 700 топливных элементов оказывает влияние на режим работы основного корпуса 500 телефонного аппарата сотовой связи (результатом операции S805 является “НЕТ”), то схема 90 управления системой топливного элемента дает в схему 89 определения электрического напряжения ячейки команду измерить электрическое напряжение ячейки батареи 81 топливных элементов и определяет, является ли электрическое напряжение ячейки более низким, чем второе заранее заданное значение, необходимое для приведения в действие основного корпуса 500 телефонного аппарата сотовой связи (операция S807). Если электрическое напряжение ячейки батареи 81 топливных элементов является более высоким, чем второе заранее заданное значение (результатом операции S807 является “НЕТ”), то в последовательности операций возвращаются к выполнению операции S805.
Если же электрическое напряжение ячейки батареи 81 топливных элементов является более низким, чем второе заранее заданное значение, которое способно обеспечивать работу основного корпуса 500 телефонного аппарата сотовой связи (результатом операции S807 является “ДА”), то схема 510 управления системой телефонного аппарата сотовой связи управляет блоком 542 переключения электропитания таким образом, чтобы он изменил источник электропитания основного корпуса 500 телефонного аппарата сотовой связи с блока 700 топливных элементов на блок 600 источника электропитания, посредством чего обеспечивают подачу электроэнергии в каждый компонент основного корпуса 500 телефонного аппарата сотовой связи от источника 602 электропитания через соединители 546 и 604 (операция S808).
Затем схема 510 управления системой телефонного аппарата сотовой связи определяет, влияет ли выпуск загрязнений при продувке блока 700 топливных элементов на использование основного корпуса 500 телефонного аппарата сотовой связи или нет (операция S809).
Если при операции S809 определено, что выпуск загрязнений при продувке блока 700 топливных элементов не влияет на использование основного корпуса 500 телефонного аппарата сотовой связи (результатом операции S809 является “ДА”), то в последовательности операций переходят далее к выполнению операции S813.
Если же при операции S809 определено, что выпуск загрязнений при продувке блока 700 топливных элементов оказывает влияние на использование основного корпуса 500 телефонного аппарата сотовой связи (результатом операции S809 является “НЕТ”), то эту операцию определения повторяют до тех пор, пока режим работы основного корпуса 500 телефонного аппарата сотовой связи не войдет в состояние, в котором продувка может быть выполнена.
Если при операции S806 определено, что уровень мощности электропитания основного корпуса 500 телефонного аппарата сотовой связи является таким, что на него не влияет временное падение напряжения при продувке (результатом операции S806 является “ДА”), то схема 510 управления системой телефонного аппарата сотовой связи передает сигнал разрешения продувки в схему 90 управления системой топливного элемента через соединители 548 и 706 (операция S810).
После получения сигнала разрешения продувки из схемы 510 управления системой телефонного аппарата сотовой связи схема 90 управления системой топливного элемента управляет продувочным вентилем 83 таким образом, что обеспечивает выпуск избыточной воды и загрязнений, имеющихся в батарее топливных элементов, наружу из блока 700 топливных элементов через выпускное отверстие 712 для газов (операция S811).
Если же при операции S806 определено, что уровень мощности электропитания основного корпуса 500 телефонного аппарата сотовой связи является таким, что на него оказывает влияние временное падение напряжения при продувке (результатом операции S806 является “НЕТ”), то схема 510 управления системой телефонного аппарата сотовой связи управляет блоком 542 переключения электропитания таким образом, что он переключает источник электропитания основного корпуса 500 телефонного аппарата сотовой связи с блока 700 топливных элементов на блок 600 источника электропитания, обеспечивая подачу электроэнергии в каждый компонент основного корпуса 500 телефонного аппарата сотовой связи от источника 602 электропитания через соединители 546 и 604 (операция S812).
Затем схема 510 управления системой телефонного аппарата сотовой связи передает сигнал разрешения продувки в схему 90 управления системой топливного элемента через соединители 548 и 706 (операция 3813). Получив сигнал разрешения продувки, схема 90 управления системой топливного элемента приводит в действие продувочный вентиль 83 для выполнения продувки и производит выпуск избыточной воды и загрязнений, имеющихся в батарее топливных элементов, наружу из блока 700 топливных элементов через выпускное отверстие 712 для газов (операция S814).
После того, как продувка завершена, схема 90 управления системой топливного элемента передает сигнал уведомления о завершении продувки в схему 510 управления системой телефонного аппарата сотовой связи через соединители 548 и 706 (операция S815).
После получения сигнала уведомления о завершении продувки из схемы 90 управления системой топливного элемента схема 510 управления системой телефонного аппарата сотовой связи управляет блоком 542 переключения электропитания таким образом, что он переключает источник электропитания основного корпуса 500 телефонного аппарата сотовой связи с блока 600 источника электропитания на блок 700 топливных элементов (операция S816).
На Фиг.15 изображена схема последовательности операций, на которой проиллюстрирована последовательность операций, выполняемых в том случае, если при операции S802, показанной на Фиг. 14, определено, что сплавах 410, абсорбирующих водород, в топливном баке 400 отсутствует достаточное количество водорода для резкого выделения водорода путем продувки.
При операции S802, показанной на Фиг. 14, схема 90 управления системой топливного элемента управляет блоком 702 определения оставшегося количества топлива таким образом, что он определяет оставшееся количество водорода в сплавах 410, абсорбирующих водород, и определяет, имеется ли в сплавах 410, абсорбирующих водород, в топливном баке 400 такое количество водорода, которое является достаточным для резкого выделения водорода путем продувки. Если оставшееся количество водорода в сплавах 410, абсорбирующих водород, является недостаточным для выделения водорода путем продувки (результатом операции S802 является “НЕТ”), то схема 90 управления системой топливного элемента передает сигнал запроса на переключение на другой источник электропитания в схему 510 управления системой телефонного аппарата сотовой связи через соединители 548 и 706 для переключения источника электропитания основного корпуса 500 телефонного аппарата сотовой связи с блока 700 топливных элементов на блок 600 источника электропитания (операция S901).
После получения сигнала запроса на переключение на другой источник электропитания из схемы 90 управления системой топливного элемента схема 510 управления системой телефонного аппарата сотовой связи управляет блоком 542 переключения источника электропитания таким образом, что он переключает источник электропитания основного корпуса 500 телефонного аппарата сотовой связи с блока 700 топливных элементов на блок 600 источника электропитания и обеспечивает подачу электроэнергии в каждый компонент основного корпуса 500 телефонного аппарата сотовой связи от источника 602 электропитания через соединители 546 и 604 (операция S902).
Затем схема 510 управления системой телефонного аппарата сотовой связи управляет блоком 540 предупреждения о нехватке топлива таким образом, что он предупреждает пользователя телефонного аппарата сотовой связи о том факте, что в сплавах 410, абсорбирующих водород, топливного бака 400 отсутствует достаточное количество водорода для приведения в действие телефонного аппарата сотовой связи (операция S903).
Как описано выше, согласно варианту осуществления телефонного аппарата сотовой связи из настоящего изобретения, когда выходное напряжение блока 700 топливных элементов понижается и становится необходимым выполнить продувку, то в схему 510 управления системой телефонного аппарата сотовой связи передают сигнал о выдаче разрешения на продувку. Когда продувка завершена, то передают сигнал уведомления о завершении продувки. Если количество водорода, оставшееся в сплавах 410, абсорбирующих водород, является меньшим, чем то количество водорода, которое необходимо для продувки, то передают сигнал запроса на переключение на другой источник электропитания. Таким образом, схема 510 управления системой телефонного аппарата сотовой связи может быстро понять режим работы блока 700 топливных элементов.
После получения сигнала запроса на разрешение продувки из блока 700 топливных элементов схема 510 управления системой телефонного аппарата сотовой связи передает сигнал разрешения продувки в схему 90 управления системой топливного элемента в соответствии с режимом работы основного корпуса 500 телефонного аппарата сотовой связи. Соответственно, телефонный аппарат сотовой связи может использоваться непрерывно, не вызывая беспокойства относительно воздействий, которые оказывает продувка (существует вероятность того, что на пользователя оказывает воздействие, например, выпуск газов из выпускного отверстия 712 для газов при продувке).
Затем, если основной корпус 500 телефонного аппарата сотовой связи не может выдерживать временное падение напряжения при продувке, источник электропитания поставки основного корпуса 500 телефонного аппарата сотовой связи переключают с блока 700 топливных элементов на блок 600 источника электропитания. Следовательно, имеется возможность предотвратить нехватку энергии аккумуляторной батареи основного корпуса 500 телефонного аппарата сотовой связи, вызываемое падением напряжения во время продувки, и продолжать приведение его в действие посредством блока 700 топливных элементов, не оказывая влияния на функционирование телефонного аппарата сотовой связи.
Каждое средство, показанное на чертежах Фиг. 1A, Фиг. 1Б и Фиг. 2, являющееся составной частью однообъективного зеркального цифрового фотоаппарата из описанных выше вариантов осуществления изобретения, и каждая операция, показанная на чертеже Фиг. 3 и на чертежах Фиг. 5, Фиг. 6, Фиг. 7, Фиг. 8, Фиг. 9 и Фиг. 10, на которых проиллюстрирован способ управления для однообъективного зеркального цифрового фотоаппарата, могут быть реализованы путем выполнения программы, хранящейся в ОЗУ или в ПЗУ компьютера. Настоящее изобретение охватывает собой эту программу и считываемый посредством компьютера носитель записи, на котором хранится эта программа.
В частности, программу предоставляют в компьютер в виде носителя записи, которым является, например, постоянное запоминающее устройство на компакт-диске (CD-ROM) или через различные среды передачи. В дополнение к постоянному запоминающему устройству на компакт-диске (CD-ROM), носителем записи, предназначенным для записи программы, может являться, в том числе гибкий диск, накопитель на жестких дисках, магнитная лента, магнитооптический диск, плата энергонезависимого запоминающего устройства и т.п. Средами передачи для программы могут являться средства связи (проводные линии связи, которыми являются, например, волоконно-оптические линии связи, беспроводные линии связи и т.п.) в компьютерной сети (которой является, например, локальная сеть (ЛС), глобальная сеть (ГС), сеть Интернет, сети беспроводной связи и т.п.) для доставки информации в виде программы с использованием несущих частот.
Настоящее изобретение также включает в себя программы других типов. А именно функции вариантов осуществления однообъективного зеркального цифрового фотоаппарата реализуют путем выполнения программы, поданной в компьютер, функции вариантов осуществления однообъективного зеркального цифрового фотоаппарата реализуют путем выполнения программы во взаимодействии с операционной системой (операционная система (ОС)), работающей в компьютере или с другими прикладными программами, или функции вариантов осуществления однообъективного зеркального цифрового фотоаппарата реализуют путем создания функциональной платы расширения или функционального блока расширения компьютера, которые выполняют все или часть процедур предоставленной программы.
Эта заявка на изобретение притязает на приоритет заявки на патент Японии 2005-140840, поданной 13 мая 2005 г., которая, тем самым, включена сюда путем ссылки.
Формула изобретения
1. Электронное устройство, в котором используют, по меньшей мере, один источник электропитания, блок топливного элемента, предназначенный для вывода электроэнергии, полученной посредством химической реакции между топливным газом и газом окислителя, устройство продувки, предназначенное для продувки упомянутого блока топливного элемента, и блок управления продувкой, предназначенный для выдачи команды на выполнение продувки в упомянутое устройство продувки, при этом электронное устройство содержит: блок обнаружения, предназначенный для обнаружения потребления мощности, режима работы или регулируемого режима работы электронного устройства; и блок выдачи разрешения на продувку, предназначенный для принятия решения о том, разрешено ли упомянутому блоку управления продувкой выдать команду на выполнение продувки, которое принимают на основании выходного сигнала из упомянутого блока обнаружения, и для вывода результата этого решения в упомянутый блок управления продувкой.
2. Электронное устройство по п.1, дополнительно содержащее: измерительный блок, предназначенный для измерения выходного электрического напряжения упомянутого блока топливного элемента, при этом упомянутый блок выдачи разрешения на продувку принимает решение о том, разрешено ли упомянутому блоку управления продувкой выдать команду на выполнение продувки, с учетом результата измерений, выполненных упомянутым измерительным блоком.
3. Электронное устройство по п.1, в котором упомянутый блок обнаружения осуществляет обнаружение, по меньшей мере, следующего: является ли потребляемая мощность электронного устройства равной или меньшей, чем заранее заданное значение.
4. Электронное устройство по п.1, в котором упомянутый блок обнаружения осуществляет обнаружение, по меньшей мере, того момента времени, когда включен источник электропитания электронного устройства.
5. Электронное устройство по п.1, в котором: блок хранения запасов топлива упомянутого топливного элемента, предназначенный для хранения, по меньшей мере, упомянутого топливного газа, установлен на электронном устройстве таким образом, что является съемным; и упомянутый блок обнаружения осуществляет обнаружение, по меньшей мере, того момента времени, когда упомянутый блок хранения запасов топлива установлен на электронном устройстве.
6. Электронное устройство по п.1, в котором упомянутый блок обнаружения осуществляет обнаружение, по меньшей мере, момента времени автоматического отключения электропитания, производимого тогда, когда пользователь не совершает никаких манипуляций с этим устройством в течение заранее заданного промежутка времени.
7. Электронное устройство по п.1, в котором упомянутый блок обнаружения осуществляет обнаружение, по меньшей мере, того момента времени, когда произведен возврат в первоначальное состояние из состояния автоматического отключения питания.
8. Электронное устройство по п.1, дополнительно содержащее командный блок, предназначенный для предоставления пользователю возможности выдачи команды на выполнение продувки, при этом упомянутый блок обнаружения осуществляет обнаружение, по меньшей мере, факта выдачи упомянутым командным блоком команды на выполнение продувки.
9. Электронное устройство по п.8, дополнительно содержащее дисплей, предназначенный для визуального отображения предупреждающего сигнала, побуждающего пользователя выдать команду из упомянутого блока команды, в соответствии с выходным сигналом из упомянутого блока обнаружения.
10. Электронное устройство по п.1, дополнительно содержащее блок переключения источника электропитания, предназначенный для смены источника электропитания таким образом, чтобы, по меньшей мере, в течение того времени, когда упомянутое устройство продувки производит продувку, подачу электроэнергии обеспечивал иной источник электропитания, чем упомянутый топливный элемент.
11. Способ управления электронным устройством, в котором используют, по меньшей мере, один источник электропитания, блок топливного элемента, предназначенный для вывода электроэнергии, полученной посредством химической реакции между топливным газом и газом окислителя, устройство продувки, предназначенное для продувки упомянутого блока топливного элемента, и блок управления продувкой, предназначенный для выдачи команды на выполнение продувки в упомянутое устройство продувки, при этом способ управления содержит следующие операции: осуществляют обнаружение потребления мощности, режима работы или регулируемого режима работы электронного устройства; на основании результата обнаружения, полученного при упомянутой операции обнаружения, принимают решение о том, разрешено ли упомянутому блоку управления продувкой выдать команду на выполнение продувки; и осуществляют вывод результата этого решения, полученного при упомянутой операции принятия решения, в упомянутый блок управления продувкой.
12. Считываемый посредством компьютера носитель записи, содержащий записанную на нем компьютерную программу, которая при исполнении ее компьютером приводит к осуществлению упомянутым компьютером способа управления по п.11.
13. Узел топливного элемента, содержащий: батарею топливных элементов, предназначенную для вывода электроэнергии, полученной посредством химической реакции между топливным газом и газом-окислителем; устройство продувки, предназначенное для продувки упомянутой батареи топливных элементов; и блок управления продувкой, предназначенный для выдачи команды на выполнение продувки в упомянутое устройство продувки в соответствии с разрешающим сигналом из электронного устройства, которое должно быть приведено в действие.
14. Узел топливного элемента по п.13, в котором упомянутый блок управления продувкой выдает в упомянутое электронное устройство запрос на разрешение выполнения продувки.
15. Узел топливного элемента по п.14, в котором запрос на разрешение выполнения продувки подают тогда, когда выходное напряжение упомянутого блока выработки электроэнергии становится более низким, чем заранее заданное значение.
РИСУНКИ
|
|