|
|
(21), (22) Заявка: 2006124550/28, 07.12.2004
(24) Дата начала отсчета срока действия патента:
07.12.2004
(30) Конвенционный приоритет:
08.12.2003 DK PA 2003 01803
(43) Дата публикации заявки: 20.01.2008
(46) Опубликовано: 10.10.2009
(56) Список документов, цитированных в отчете о поиске:
US 3609991 А, 05.10.1971. US 5427174 А, 27.06.1995. GB 1201297 A, 05.08.1970. US 2003/192674 A1, 16.10.2003. SU 970515 A, 30.10.1982. SU 1129673 A, 15.12.1984.
(85) Дата перевода заявки PCT на национальную фазу:
10.07.2006
(86) Заявка PCT:
DK 2004/000849 20041207
(87) Публикация PCT:
WO 2005/055319 20050616
Адрес для переписки:
129090, Москва, ул. Б.Спасская, 25, стр.3, ООО “Юридическая фирма Городисский и Партнеры”, пат.пов. С.А. Дорофееву, рег. 146
|
(72) Автор(ы):
МЭДСЕН Генри (DK), ОЛЬСЕН Хенрик (DK)
(73) Патентообладатель(и):
НОЙЗ ЛИМИТ АпС (DK)
|
(54) СИСТЕМА ОХЛАЖДЕНИЯ С ПУЗЫРЬКОВЫМ НАСОСОМ
(57) Реферат:
Изобретение относится к закрытой системе охлаждения без движущихся механических частей с низким уровнем шума одного или более тепловыделяющих элементов. Система охлаждения содержит первую принимающую тепло часть, которая выполнена с возможностью приема тепла от, по меньшей мере, одного тепловыделяющего элемента, охлаждающую текучую среду для поглощения тепла нагреванием и испарением, пузырьковый насос для образования потока текучей среды в системе, причем пузырьковый насос расположен ниже по потоку первой принимающей тепло части и перемещает охлаждающую текучую среду к радиатору, излучающему тепло от охлаждающей текучей среды в жидкой форме в окружающее пространство, и конденсатор для конденсации испарившейся охлаждающей текучей среды и излучения тепла конденсации. Изобретение позволяет повысить эффективность охлаждения тепловыделяющих элементов. 3 н. и 13 з.п. ф-лы, 11 ил.
Область техники
Настоящее изобретение относится к закрытой системе для охлаждения одного или более тепловыделяющих элементов, содержащей принимающую тепло часть, выполненную с возможностью приема тепла от тепловыделяющего элемента, охлаждающую текучую среду для отвода тепла, радиатор для излучения тепла в окружающее пространство и конденсатор для конденсации испарившейся охлаждающей текучей среды, в которой тепло, выделяемое тепловыделяющим элементом, используют для создания циркуляции охлаждающей текучей среды.
Уровень техники
Многие системы с тепловыделяющим элементом присоединяли к системе охлаждения, чтобы избежать чрезмерного нагревания, приводящего к поломке тепловыделяющего элемента. Такими системами могут быть автомобильные двигатели, холодильные устройства, электронные и электрические компоненты и т.д. Охлаждающий блок, предназначенный, в частности, для охлаждения электронных полупроводниковых компонентов, описан в заявке на патент США 2003/0188858 A1, согласно которой охлаждающий блок содержит принимающую тепло часть, которая принимает тепло от тепловыделяющего элемента, охлаждающую жидкость, переносящую тепло, и излучатель тепла, излучающий тепло в окружающее пространство. Циркулирующий поток охлаждающей жидкости образуется уменьшенной плотностью, вызванной силой подъема пузырьков пара, образуемых теплом, принимаемым принимающей тепло частью. Охлаждающая жидкость согласно заявке на патент США 2003/0188858 A1 содержит смесь фтора, имеющую точку кипения 56°С, которая, как полагают, является подходящей максимальной температурой для электронных компонентов.
Краткое описание изобретения
Имеется необходимость в системе охлаждения с улучшенной эффективностью для охлаждения тепловыделяющих элементов.
Вышеизложенные и другие цели достигнуты посредством создания системы охлаждения для охлаждения, по меньшей мере, одного тепловыделяющего элемента, содержащей первую принимающую тепло часть, которая выполнена с возможностью приема тепла от, по меньшей мере, одного тепловыделяющего элемента, охлаждающую текучую среду для поглощения тепла нагреванием и испарением, пузырьковый насос для образования потока текучей среды в системе, причем пузырьковый насос расположен ниже по потоку первой принимающей тепло части и перемещает охлаждающую текучую среду к радиатору для излучения тепла от охлаждающей текучей среды в жидкой форме в окружающее пространство, и конденсатор для конденсации испарившейся охлажденной текучей среды и излучения тепла конденсации.
Важным преимуществом настоящего изобретения является то, что система охлаждения не содержит подвижных механических частей типа насосов с подвижными частями. Это уменьшает стоимость и повышает надежность системы.
Дополнительным преимуществом настоящего изобретения является то, что система охлаждения является по существу бесшумной.
Еще одним дополнительным преимуществом настоящего изобретения является то, что система охлаждения способна отводить большие количества образующегося тепла на единицу площади блока, например более 15 Вт/см2, например более 20 Вт/см2, например более 30 Вт/см2, например более 40 Вт/см2, например более 50 Вт/см2, например приблизительно 75 Вт/см2 и т.д., вызывая повышение температуры только до 40°C.
Предпочтительно пузырьковый насос имеет выпускное отверстие выше уровня жидкости в системе, которое по существу предотвращает отлив текучей среды в системе.
В пузырьковом насосе пузырьки, образуемые при нагревании охлаждающей текучей среды в жидкой форме, в принимающей тепло части объединяются с большими пузырьками, перемещающими жидкость над пузырьками вверх в пузырьковом насосе так, что образуется поток текучей среды за счет движущей силы пузырьков.
Считается, что расположение выпускного отверстия выше уровня жидкости в системе снижает сопротивление потока жидкости, испытываемого пузырьками в пузырьковом насосе. Таким образом, условие расположения пузырькового насоса с выпускным отверстием выше уровня жидкости в системе охлаждения обеспечивает увеличенную циркуляцию охлажденной текучей среды, приводя к улучшенной охлаждающей способности системы охлаждения.
Охлаждающая текучая среда может содержать одну текучую среду или две или более текучих сред.
В предпочтительном варианте осуществления изобретения охлаждающая текучая среда содержит две текучие среды, то есть первую текучую среду с низкой температурой точки кипения, которая кипит в пределах рабочих температур, по меньшей мере, одного тепловыделяющего элемента, и вторую текучую среду с более высокой точкой кипения, которая не достигает своей точки кипения в пределах этих температур. Пузырьки, образованные кипением первой текучей среды, перемещают вторую текучую среду в пузырьковом насосе, таким образом создавая циркуляцию охлаждающей текучей среды в системе. Вторая текучая среда, находящаяся главным образом в жидкой форме и имеющая большую теплоемкость, поглощает и переносит большое количество тепла от принимающей тепло части к радиатору, таким образом увеличивая охлаждающую способность системы.
Охлаждающаяся текучая среда может содержать более двух текучих сред. Охлаждающие текучие среды могут или не могут быть растворимыми друг в друге.
В жидкой форме вторая текучая среда поддерживает хороший поверхностный контакт с внутренними поверхностями принимающей тепло части и радиатора соответственно.
Таким образом, в пузырьковом насосе первую текучую среду с самой низкой точкой кипения используют для нагнетания второй текучей среды с более высокой точкой кипения для циркуляции в системе охлаждения для переноса тепла от принимающей тепло части к радиатору.
Таким образом, использование пузырькового насоса и охлаждающей текучей среды с, по меньшей мере, двумя текучими средами с различными точками кипения приводит к улучшенной эффективности системы охлаждения. Текучую среду с самой низкой точкой кипения выбирают так, что она закипает в пределах рабочей температуры тепловыделяющего элемента. Текучую среду с более высокой точкой кипения выбирают так, что она остается по существу в своей жидкой форме и не достигает своей точки кипения в пределах намеченных рабочих температур тепловыделяющих элементов. В пузырьковом насосе пузырьки, первоначально образуемые в принимающей тепло части, перемещают жидкость с более высокой точкой кипения, таким образом создавая поток жидкости через принимающую тепло часть. Поток жидкости увеличивает отвод тепла от принимающей тепло части благодаря высокой теплоемкости текучей среды с высокой точкой кипения.
Дополнительно, поток жидкости удаляет пузырьки, образуемые в принимающей тепло части, в то время как они являются все еще маленькими, таким образом избегая того, чтобы пузырьки изолировали принимающую тепло часть от жидкой части охлаждающей текучей среды, что может понизить теплопередачу от тепловыделяющего элемента к охлаждающей текучей среде.
Таким образом, получают управляемое и усовершенствованное охлаждение по сравнению с подобной системой охлаждения с охлаждающей текучей средой с одной текучей средой. Образующийся в результате охлаждающий результат получают с помощью комбинации поглощения тепла выпариванием текучей среды с самой низкой точкой кипения, которая испаряется полностью или частично, и нагреванием и удалением, главным образом без выпаривания, одной или более текучих сред с более высокой точкой кипения. Текучая среда (текучие среды) с более высокой точкой (точками) кипения обычно испаряется до ограниченного объема, однако поток текучей среды удаляет тепло из принимающей тепло части.
Поскольку текучая среда с самой высокой точкой кипения обычно испаряется только до ограниченного объема, то при намеченных рабочих условиях избегают сухое кипение в системе.
Конденсатор и радиатор можно выполнить в виде единого блока, так что конденсат и охлаждающая смесь текучей среды смешиваются непрерывно, поскольку испарившаяся текучая среда конденсируется. Если конденсатор и радиатор образуют из отдельных блоков, конденсированная текучая среда смешивается с другой текучей средой (текучими средами) после конденсации. Таким образом, первоначальный показатель концентрации по существу восстанавливается независимо от конструкции конденсатора и радиатора.
Радиатор и/или конденсатор можно охлаждать, используя естественную конвекцию, принудительную конвекцию или, в качестве альтернативы, с помощью активной системы охлаждения типа охладителя компрессора. Например, для принудительной конвекции системы охлаждения также можно использовать вентилятор блока электропитания.
Согласно предпочтительному варианту осуществления изобретения охлаждающая текучая среда содержит первую текучую среду с низкой точкой кипения и вторую текучую среду с высокой точкой кипения.
Предпочтительно первая текучая среда может содержать этанол, метанол, ацетон, эфир, пропан и т.д. или другие текучие среды, также имеющие подходящие термические и физические параметры.
В предпочтительном в настоящее время варианте осуществления первая текучая среда является этанолом, а охлаждающая текучая среда содержит от 4% до 96% объема по объему этанола, например от 15% до 45%, от 30% до 40%, предпочтительно приблизительно 37%.
Первая текучая среда может быть любой жидкостью, которая легко испаряется и которая способна смешиваться с водой или поглощаться ею. Такими другими вариантами являются аммиак, соединения фтора 3M® FC-72 и 3M® FC 82 и другие.
Предпочтительно вторая текучая среда является водой. Вода имеет преимущества, заключающиеся в том, что она является дешевой и легко доступной, и возможная утечка не будет приводить к загрязнению.
Согласно предпочтительному варианту осуществления к системе охлаждения прикладывают определенное давление. Таким образом, температуру точки кипения первой текучей среды можно регулировать простым способом. В результате этого для охлаждения до заданной максимальной температуры можно использовать широкий диапазон различных охлаждающих текучих сред. Следует понимать, что определенное давление, прикладываемое к системе, является давлением системы, когда система не работает, то есть когда по существу все части системы имеют одинаковую температуру, например комнатную температуру. Это определенное давление можно предпочтительно регулировать при изготовлении системы охлаждения. Когда система охлаждения находится в действии, охлаждающая текучая среда будет нагреваться, и обычно давление в системе изменяется.
Согласно предпочтительному варианту осуществления давление системы охлаждения регулируют таким образом, что точка кипения первой охлаждающей текучей среды находится в пределах заданного диапазона рабочих температур системы охлаждения. Давление в системе предпочтительно по существу равно давлению насыщения охлаждающей текучей среды при фактической температуре.
Предпочтительно систему охлаждения откачивают перед введением охлаждающей текучей среды в систему охлаждения, чтобы избежать присутствия воздуха или каких-либо других нежелательных газов в системе охлаждения. Воздух или нежелательные газы могут реагировать с выбранными охлаждающими текучими средами, и присутствие нежелательных газов может снизить эффективность системы, занимая объем в системе охлаждения. После откачки охлаждающую текучую среду вводят в систему охлаждения и систему герметично уплотняют.
Согласно предпочтительному варианту осуществления настоящего изобретения внутренний объем в системе охлаждения по существу заполнен охлаждающей текучей средой в комбинированной жидкой и газообразной форме, то есть содержание неконденсирующихся газов типа N2, O2, CO2, Н2 и т.д. или других загрязняющих веществ сведены к минимуму, например содержание менее 10% по объему внутреннего объема, например менее 5%, менее 3% или менее 1% внутреннего объема.
Эффективность системы охлаждения, как полагают, является тем выше, чем ниже содержание неконденсирующихся газов, поскольку неконденсирующиеся газы не способствуют теплопередаче от принимающей тепло части (частей) к конденсатору и/или радиатору.
Термин “неконденсирующиеся газы” обозначает газы, которые не являются конденсируемыми в пределах рабочих температур и рабочего давления системы охлаждения.
Для предотвращения образования неконденсирующихся газов после заполнения охлаждающей текучей среды охлаждающая текучая среда может содержать ингибитор коррозии.
Следует отметить, что определенное давление может быть равно атмосферному давлению, больше атмосферного давления, а также ниже атмосферного давления, в зависимости от выбранной охлаждающей текучей среды и заданной максимальной рабочей температуры тепловыделяющих элементов.
Гибкость регулирования давления выгодна, поскольку иногда трудно найти охлаждающую текучую среду, имеющую желаемую точку кипения. В некоторых случаях такая охлаждающая текучая среда может существовать, но может иметь другие недостатки, такие как высокая стоимость, токсичность и т.д.
Пузырьковый насос может содержать по существу трубчатую часть.
Предпочтительно трубчатая часть проходит по существу линейно в своем продольном направлении.
В одном варианте осуществления изобретения выпускное отверстие пузырькового насоса расположено в радиаторе таким образом, что выпускное отверстие пузырькового насоса при работе системы охлаждения находится выше уровня жидкости в радиаторе. Как уже было упомянуто, это увеличивает эффективность пузырькового насоса, поскольку нет обратного потока текучей среды назад в пузырьковый насос. Дополнительно, это расположение выпускного отверстия понижает сопротивление потока жидкости, испытываемого пузырьками в пузырьковом насосе. Таким образом, циркулирующий поток в системе увеличивается, обеспечивая улучшенную теплопередачу и, таким образом, улучшенное охлаждение.
Выпускное отверстие пузырькового насоса можно выполнить так, чтобы облегчить отлив текучей среды из пузырькового насоса, например, у выпускного отверстия можно закруглить кромки.
Имеющая форму трубы часть пузырькового насоса предпочтительно имеет по существу круглое или овальное поперечное сечение. Эффективность пузырькового насоса, то есть количество жидкости, транспортируемой через пузырьковый насос, в виде функции времени определяется, например, внутренним диаметром по существу имеющей форму трубы части пузырькового насоса и свойствами текучей среды или текучих сред, подлежащих нагнетанию, такими как количество и размер пузырьков пара, вязкость текучей среды (текучих сред) и т.д.
В предпочтительном варианте осуществления настоящего изобретения для отведения приблизительно до 250 Вт тепловой мощности пузырьковый насос может иметь внутренний диаметр в диапазоне от 3 до 20 мм, например от 6 до 15 мм, от 8 до 12 мм, например равный приблизительно 10 мм.
Внутренний диаметр пузырькового насоса должен быть достаточно большим, чтобы обеспечивать подходящую пропускную способность. Предпочтительно пузырьки пара в пузырьковом насосе достигают размера с поперечным сечением, по существу равным внутреннему диаметру пузырькового насоса, чтобы обеспечивать подходящее нагнетание жидкости через пузырьковый насос.
Длину пузырькового насоса можно регулировать для получения желаемой пропускной способности. Предпочтительно длина является большей, чем внутренний диаметр пузырькового насоса. Предпочтительно длина пузырькового насоса находится в диапазоне от 0,5 до 20 см, например от 1 до 15 см, от 2 до 10 см, от 3 до 8 см или приблизительно 5 см.
Как правило, постоянными устройствами с тепловыделяющим элементом, подлежащими охлаждению, управляют в ориентации, которая остается по существу неизменной. В портативном компьютере или других портативных электронных блоках ориентация системы охлаждения обычно изменяется, когда портативный блок перемещают, хотя обычно блоком управляют в определенных ориентациях.
Систему охлаждения можно использовать для охлаждения более чем одного тепловыделяющего элемента. Например, принимающая тепло часть может иметь достаточный размер для приема тепла от более чем одного тепловыделяющего элемента, и/или система охлаждения может содержать более одной принимающей тепло части. В этом случае каждая из принимающих тепло частей может принимать тепло от одного или более тепловыделяющих элементов. То, что вдоль принимающей тепло части системы охлаждения можно располагать более одного тепловыделяющего элемента, может обеспечить преимущество относительно экономии пространства и/или относительно расширенной циркуляции охлаждающей текучей среды.
Принимающая тепло часть может содержать теплообменную поверхность, которая выполнена с возможностью термического контакта с тепловыделяющим элементом. Таким образом, система охлаждения выполнена с возможностью приема тепла от тепловыделяющего элемента в термическом контакте с теплообменной поверхностью. Теплообменную поверхность обычно образуют в соответствии с формой тепловыделяющего элемента (тепловыделяющих элементов), подлежащего охлаждению. Предпочтительно теплообменную поверхность принимающего тепло элемента (элементов) системы охлаждения выполняют из теплопроводного материала, такого как алюминий, медь, серебро, золото, или сплавов, содержащих один или более таких материалов.
Предпочтительно тепловыделяющий элемент можно объединять с принимающей тепло частью, чтобы он находился в прямом контакте с охлаждающей текучей средой системы охлаждения. Таким образом, оптимизируют теплообмен между подлежащим охлаждению тепловыделяющим элементом и принимающей тепло частью. Объединение подлежащего охлаждению тепловыделяющего элемента и принимающей тепло части системы охлаждения можно предпочтительно выполнять при изготовлении системы охлаждения так, чтобы приспосабливать систему охлаждения к подлежащему охлаждению тепловыделяющему элементу и его возможным электрическим соединениям с другими элементами.
Принимающая тепло часть системы охлаждения может содержать множество отделенных камер для жидкости. Принимающую тепло часть можно, например, выполнять в виде закрытого, штампованного профиля, образующего отдельную камеру, или разделять на множество камер, и концы профиля можно соединять с другими частями системы охлаждения посредством коллекторов. В одном варианте осуществления штампованный профиль может функционировать полностью или частично в виде системы труб и/или пузырькового насоса. В этом варианте осуществления одна или более принимающие тепло части могут дополнительно образовывать объединенную часть штампованного профиля.
Систему охлаждения предпочтительно выполняют из диффузионно плотного материала. Под выражением “диффузионно плотный материал” понимают материал, который не вызывает большую диффузию между системой охлаждения и окружающим пространством в течение предназначенного срока службы системы, чем можно допустить для работы системы, как намечено, в течение всего предназначенного срока службы. Если систему охлаждения используется в компьютерах, то предназначенный срок службы обычно будет составлять порядка 4-5 лет, а в конкретных случаях менее 2 лет или более 10 лет. Если различные части системы охлаждения выполнены из различных материалов, то все материалы, а также их соединения должны быть диффузионно плотными. Подходящими материалами могут быть медь, серебро, алюминий, железо или сплавы, содержащие один или более из таких материалов. Кроме того, одну или более частей системы охлаждения можно выполнять из пластмассового материала при условии, что он выполнен диффузионно плотным согласно вышеизложенному определению выражения. Это может обеспечивать металлический слой, образующий часть пластмассового материала, причем этот металлический слой может быть, например, осажден на пластмассовый материал.
Система охлаждения может дополнительно содержать окно из материала, который имеет большую проницаемость для нежелательных газов, чем материал (материалы) остальных частей системы охлаждения. Например, окно может быть проницаемым по отношению к водороду и выполнено, например из никеля или его сплава, например железоникелевого сплава, или палладия или его сплава, например сплава серебра с палладием. Таким образом, нежелательные газы отводятся в атмосферу благодаря диффузии через окно. Окно можно располагать вблизи соединительной части для введения охлаждающей текучей среды в систему охлаждения. Затем может происходить диффузия нежелательных газов в течение периода времени после заполнения системы охлаждения, и в конце периода окно можно удалять вместе с соединительной частью при окончательном закрывании системы охлаждения.
Кроме того, изобретение относится к электронному устройству, имеющему один или более элементов, подлежащих охлаждению при работе электронного устройства, и содержащему систему охлаждения согласно изобретению.
Изобретение также относится к использованию закрытой системы охлаждения для охлаждения электронных компонентов. Такими компонентами могут быть, например, микрокристаллы, центральные процессоры, полупроводниковые приборы и т.д. в компьютерах или других электронных устройствах. В частности, в области охлаждения электронных компонентов система охлаждения согласно изобретению является выгодной, поскольку она является блоком низкого шума, не имеет никаких механически подвижных элементов и запускается автоматически теплом, которое выделяют электронные компоненты.
Следует отметить, что выражение “охлаждающая текучая среда” означает текучую среду, которая используется для охлаждения и которая состоит либо из одной текучей среды, либо из смеси двух или более текучих сред.
На протяжении всего представленного описания одна текучая среда обозначает текучую среду с чистотой более 96%-ного объема по объему.
Кроме того, следует отметить, что система охлаждения может содержать более одного конденсатора и/или более одного радиатора. В таких случаях конденсаторы и радиаторы соответственно можно выполнять последовательно или параллельно или в их комбинации.
Далее изобретение будет описано более подробно со ссылкой на прилагаемые чертежи, на которых:
фиг.1 – схематичный вид системы охлаждения согласно предпочтительному варианту осуществления изобретения;
фиг.2 – схематичный вид второго варианта осуществления изобретения;
фиг.3 и 4 – вид третьего и четвертого варианта осуществления изобретения;
фиг.5 и 6 – схематичный вид вариантов осуществления системы охлаждения со множеством компонентов, собранных параллельно;
фиг.7 и 8 – схематичный вид различных вариантов осуществления выпускного отверстия пузырькового насоса в системе охлаждения согласно изобретению;
фиг.9 – схематичный вид варианта осуществления настоящего изобретения с двумя принимающими тепло частями, собранными параллельно, и одним пузырьковым насосом;
фиг.10a-10d – схематичные виды различных вариантов осуществления принимающей тепло части системы охлаждения, и
фиг.11 – график результатов испытаний для варианта осуществления настоящего изобретения.
Одинаковые ссылочные позиции обозначают одни и те же элементы в различных вариантах осуществления чертежей, и элементы, которые описаны со ссылкой на один чертеж, не будут повторно описаны со ссылкой на другие чертежи.
На фиг.1 показана система 100 охлаждения с циркулирующей охлаждающей текучей средой 4. Система 100 охлаждения является самоциркулирующей, поскольку циркулирующий поток охлаждающей текучей среды 4 образуется посредством пузырькового насоса 1, создающего силы подъема пузырьков испарившейся охлаждающей текучей среды 3, образованных теплом, принятым первой принимающей тепло частью 6. Охлаждающая текучая среда является смесью двух или более текучих сред, имеющих различные точки кипения. Первая текучая среда имеет самую низкую точку кипения. Первую текучую среду выбирают с точкой кипения, подходящей для охлаждения тепловыделяющих элементов. Система охлаждения является закрытой системой с определенным давлением, заставляющим первую текучую среду с низкой точкой кипения кипеть при заданной температуре. Горизонтальные пунктирные линии показывают охлаждающую текучую среду 4 в жидком состоянии, в то время как круги или овалы 3 показывают пузырьки, то есть охлаждающую текучую среду в газообразном состоянии внутри жидкой охлаждающей текучей среды 4.
Система охлаждения принимает энергию Q1 тепла, подаваемую в первую принимающую тепло часть 6. Таким образом, первая текучая среда нагревается до своей точки кипения, и часть ее испаряется. В пузырьковом насосе 1 испарившаяся охлаждающая текучая среда поднимается в форме пузырьков. Между пузырьками будет находиться нагретая жидкая охлаждающая текучая среда, которая переносится вверх через пузырьковый насос посредством поднимающихся пузырьков, создающих циркуляцию охлаждающей текучей среды.
В пузырьковом насосе пузырьки, образуемые при нагревании охлаждающей текучей среды в жидкой форме в принимающей тепло части, объединяются в большие пузырьки, которые по существу заполняют все поперечное сечение пузырькового насоса, таким образом подталкивая жидкость над пузырьками вверх в пузырьковом насосе. В этом варианте осуществления пузырьки и жидкость перемещаются в пузырьковом насосе по существу с одинаковой скоростью.
Текучая среда покидает пузырьковый насос 1 в выпускном отверстии 5, содержащем испарившуюся (то есть газообразную) охлаждающую текучую среду и нагретую жидкую охлаждающую текучую среду. Испарившаяся охлаждающая текучая среда течет в конденсатор 10, который выполнен с возможностью отвода тепла Qиспарения в окружающую среду, посредством чего испарившаяся охлаждающая текучая среда конденсируется в конденсированную текучую среду 8. Конденсированную жидкость можно дополнительно охлаждать. Нагретая жидкая охлаждающая текучая среда течет к радиатору 9, где она охлаждается и выделяет тепловую энергию Qтекучей среды в окружающее пространство. Таким образом, тепло Q2, выделяемое в окружающее пространство совместно от конденсатора и радиатора, равняется Q2=Qиспарения+Qтекучей среды.
В состоянии равновесия системы охлаждения тепло Q1, которое принимает система, равно теплу Q2, которое радиатор и конденсатор совместно выделяют в окружающее пространство.
Радиатор 9 и конденсатор 10 также соединены друг с другом ниже по потоку после излучения тепла так, что после излучения тепла объединяют конденсированную текучую среду 8 и охлажденную охлаждающую текучую среду 4.
Следует отметить, что выпускное отверстие 5 пузырькового насоса расположено выше уровня жидкости в системе при работе, как показано на фиг.1. Это увеличивает циркуляцию охлаждающей текучей среды в системе. Кроме того, следует отметить, что пузырьковый насос является частью системы охлаждения, которая находится между первой принимающей тепло частью 6 и выпускным отверстием 5.
Радиатор 9 и конденсатор 10 можно охлаждать посредством естественной конвекции, принудительной конвекции, например вентилятором, или в качестве альтернативы посредством активной системы охлаждения, такой как охладитель компрессора.
Первую принимающую тепло часть 6 можно также сконструировать различными подходящими способами, причем первая принимающая тепло часть 6 имеет контактную поверхность для переноса тепла от тепловыделяющего элемента, а контактная поверхность предназначена для соответствия тепловыделяющему элементу. Если тепловыделяющий элемент имеет плоскую поверхность, то принимающую тепло часть обычно также конструируют с плоской поверхностью, чтобы соответствовать тепловыделяющему элементу. Кроме того, внутреннюю поверхность принимающей тепло части образуют соответствующим образом, чтобы обеспечивать хороший термоконтакт с охлаждающей текучей средой, например, посредством пластин, прутков или подобных деталей. Первую принимающую тепло часть 6 можно также сконструировать так, чтобы тепловыделяющий компонент располагался непосредственно в контакте с охлаждающей текучей средой (не показано).
После объединения конденсированной охлаждающей текучей среды и охлажденной охлаждающей текучей среды от конденсатора 10 и радиатора 9 объединенная охлаждающая текучая среда направляется обратно к первой принимающей тепло части 6 через систему 11 труб, так что охлаждающая текучая среда непрерывно циркулирует в закрытой системе охлаждения. Стрелки вдоль системы труб указывают направление потока охлаждающей текучей среды в системе при работе.
Внешняя часть конденсатора 10 и радиатора 9 имеет ребра 15 для увеличения теплообмена с окружающим пространством. Кроме того, внутреннюю часть конденсатора 10 и/или радиатора 9, а также внутреннюю часть первой принимающей тепло части 6 можно обеспечивать ребрами, пластинами или подобными деталями для увеличения теплообмена.
Как показано на фиг.1, первая принимающая тепло часть 6 расположена в вертикальной секции трубы; однако ее можно также располагать в горизонтальной части системы труб. Поскольку пузырьковый насос имеет выпускное отверстие 5, расположенное выше уровня жидкости в системе, циркуляция приводится в направлении стрелок на фиг.1 даже с первой принимающей тепло частью 6, расположенной в горизонтальной части системы труб.
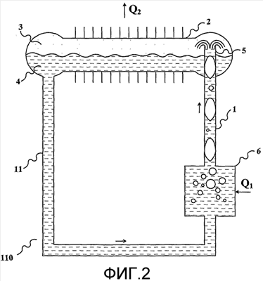
На фиг.2 показана альтернативная система 110 охлаждения согласно изобретению. Эта система 110 охлаждения также содержит первую принимающую тепло часть 6, пузырьковый насос 1, имеющий выпускное отверстие 5, и систему 11 труб. Система 110 охлаждения также содержит охлаждающую текучую среду, часть которой при работе может быть газообразной (испарившейся) 3 и часть может быть в жидком состоянии 4. На фиг.2 радиатор и конденсатор системы охлаждения объединены в один блок 2 так, что конденсат и охлаждающая текучая среда непрерывно смешиваются, когда газ 3 конденсирует. Тепловая энергия от конденсации пара и охлаждения жидкости вносят вклад в тепловую энергию Q2, которая выделяется в окружающее пространство.
На фиг.3 и 4 показаны системы 120 и 130 охлаждения соответственно с двумя принимающими тепло частями 6 и 7. На фиг.3 первая принимающая тепло часть 6 расположена в вертикальной части системы труб. На обеих фиг.3 и 4 охлаждающая текучая среда циркулирует в направлении стрелок. Принимающие тепло части 6, 7 можно помещать в произвольную часть системы труб. Следует отметить, что пузырьковый насос с фиг.3 и 4 является частью системы труб между первой принимающей тепло частью 6 и выпускным отверстием трубы 5.
На фиг.3 и 4 размер пузырьков испарившейся охлаждающей текучей среды обозначен большим в направлении циркуляции от второй принимающей тепло части 7 к первой принимающей тепло части 6 и к выпускному отверстию 5 пузырькового насоса, в то время как нет никаких пузырьков выше по потоку второй принимающей тепло части 7. Это иллюстрирует то, что охлаждающая текучая среда выше по потоку второй принимающей тепло части 7 по существу находится в жидком состоянии, в то время как часть охлаждающей текучей среды испаряется при прохождении через вторую принимающую тепло часть 7, и еще часть охлаждающей текучей среды испаряется при прохождении через первую принимающую тепло часть 6.
Вторая принимающая тепло часть 7 принимает тепло Q1b от тепловыделяющего элемента, в то время как первая принимающая тепло часть 6 принимает тепло Q1a от тепловыделяющего элемента, который может быть тем же элементом, который выделяет тепло для второй принимающей тепло части 7, или который может быть другим тепловыделяющим элементом. Система охлаждения может содержать более двух принимающих тепло частей, расположенных вдоль горизонтальных и/или вертикальных частей системы труб.
На фиг.5 и 6 схематично показаны системы 140 и 150 охлаждения соответственно с множеством компонентов, расположенных параллельно. На фиг.5 система охлаждения содержит принимающую тепло часть 6, которая принимает тепло Q1. Пузырьковый насос 1 разделен на две трубы 1a и 1b, каждая из которых осуществляет выпуск в выполненные за одно целое радиатор и конденсатор 2. На фиг.6 система 150 охлаждения содержит два параллельных пузырьковых насоса 1a и 1b и две принимающие тепло части 6, 7 выше по потоку первого пузырькового насоса 1a, принимающие тепло Q1a, Q1b соответственно. Две принимающие тепло части 12, 13, которые принимают тепло Q1c, Q1d соответственно, расположены последовательно выше по потоку второго пузырькового насоса 1b и параллельно пузырьковому насосу 1a и принимающим тепло частям 6 и 7. В равновесии тепло
Q1=Q1a+Q1b+Q1c+Q1d, принятое системой охлаждения, равно теплу Q2, выделяемому совместно радиатором и конденсатором.
При расположении множества принимающих тепло частей на таком же пути движения потока в системе, то есть выше по потоку относительно такого же пузырькового насоса, распределение тепла, которое вносит вклад в нагревание и испарение соответственно, будет различаться от элемента к элементу. В отличие от обычных систем охлаждения с принудительным жидким потоком, в котором тепловыделяющие элементы, расположенные последовательно вдоль системы охлаждения, работают при увеличивающихся температурах в направлении потока, принимающие тепло части, расположенные последовательно в системе охлаждения согласно настоящему изобретению, работают при максимальной температуре, которая равна температуре точки кипения текучей среды с самой низкой точкой кипения. Таким образом, система охлаждения согласно настоящему изобретению не имеет эффекта накапливания температуры обычных систем охлаждения.
Дополнительно, принимающая тепло часть, расположенная дальше всего по потоку относительно пузырькового насоса на пути потока в системе, может охлаждаться до более низкой температуры, чем принимающая тепло часть (принимающие тепло части), расположенные ниже по потоку, а именно до температуры ниже точки кипения текучей среды с самой низкой температурой точки кипения. Кроме того, следует отметить, что скорость циркулирующего потока в системе охлаждения обычно увеличивается при помощи множества принимающих тепло частей.
На фиг.7 и 8 схематично показаны альтернативные конструкции выпускного отверстия 5 пузырькового насоса 1 в системе охлаждения при работе. На фиг.7 выпускное отверстие 5 пузырькового насоса 1 является горизонтальным и находится выше уровня жидкости в выполненном за одно целое радиаторе и конденсаторе 2. На фиг.8 выпускное отверстие 5 является вертикальным и все еще находится выше уровня жидкости в выполненном за одно целое радиаторе и конденсаторе 2. Однако, хотя направление выпускного отверстия 5 пузырькового насоса 1 можно выполнять произвольно, выпускное отверстие 5 предпочтительно располагают выше уровня жидкости в выполненном за одно целое радиаторе и конденсаторе 2. Кроме того, выпускное отверстие 5 пузырькового насоса 1 может иметь закругленные кромки под произвольным желаемым углом.
На фиг.9 схематично показана часть варианта осуществления настоящего изобретения с двумя принимающими тепло частями 6a и 6b, выполненными параллельно, питающими один пузырьковый насос.
На фиг.10a-10d схематично показаны различные варианты осуществления впускного отверстия и выпускного отверстия принимающей тепло части системы охлаждения. Верх на чертежах соответствует верху в системе в ее действующем положении. На фиг.10a-10d показаны принимающие тепло части 6 или 7, каждая из которых соединена с впускной трубой 11a и выпускной трубой 11b. На всех чертежах 10a-10d охлаждающая текучая среда во время работы системы охлаждения течет через принимающую тепло часть 6, 7 в направлении стрелок.
Согласно фиг.10a впускная труба 11a и выпускная труба 11b проходят горизонтально. Впускная труба 11а соединена с левой стороной принимающей тепло части 7, а выпускная труба 11b соединена с правой стороной принимающей тепло части 7. Впускная труба 11a расположена ниже выпускной трубы 11b. Согласно фиг.10b впускная труба 11a также проходит горизонтально и расположена слева от принимающей тепло части 6. Выпускная труба 11b проходит вертикально и соединена с вершиной принимающей тепло части. На фиг.10c впускная труба 11a проходит вертикально и соединена с основанием принимающей тепло части 7, в то время как выпускная труба 11b проходит горизонтально и соединена с правой верхней стороной принимающей тепло части. Наконец, как впускная труба 11a, так и выпускная труба 11b согласно фиг.10d проходит горизонтально и соединена с левой стороной принимающей тепло части 6, если смотреть в плоскости чертежа. Согласно фиг.10d выпускная труба 11b расположена выше впускной трубы 11a. Следует отметить, что фиг.10a-10d иллюстрируют примеры вариантов осуществления расположения и ориентации впускной и выпускной труб к принимающей тепло части системы охлаждения. Хотя впускная и выпускная трубы в иллюстрируемых примерах являются либо вертикальными, либо горизонтальными, они также могут быть наклонными. Предпочтительно, но не строго необходимо, система функционирует так, чтобы выпускное отверстие от принимающей тепло части системы охлаждения при ее работе располагалось на том же уровне или выше, чем впускное отверстие, в соответствии с чем пузырьки испарившейся охлаждающей текучей среды перемещаются естественным образом по направлению к выпускному отверстию. Кроме того, различные варианты осуществления впускных и выпускных труб к/от принимающей тепло части системы охлаждения можно произвольно комбинировать по желанию, когда система охлаждения содержит более одной принимающей тепло части.
На фиг.11 показаны результаты тестирования, полученные для варианта осуществления с фиг.2. Тепловыделяющий элемент, генерирующий тепловую мощность от 10 до 170 Вт на принимающей тепло поверхности 1,50 см2, охлаждался системой охлаждения согласно настоящему изобретению. Измерения соответствующих значений температуры и выработанной тепловой мощности изображены в виде точек А данных. Видно, что система охлаждения способна охлаждать тепловыделяющий элемент до температур ниже тепловой расчетной мощности устройства Intel, соответствующей 73°C, с результатом от 10 до 170 Вт. Как показано на графике, тепловая мощность 110 Вт была отведена с поверхности 1,50 см2, которая соответствует концентрации тепла 75 Вт/см2 при температуре 67°C. Было использовано принудительное охлаждение низкого шума. Шум, производимый от системы охлаждения, был менее 30 дБ (A).
Следует отметить, что произвольные признаки различных вариантов осуществления, показанных на различных чертежах, можно комбинировать по желанию.
Кроме того, следует отметить, что трубы системы охлаждения можно выполнять из жестких труб или труб, которые являются гибкими либо из-за их конструкции, либо из-за их материала. Кроме того, трубы системы охлаждения и трубы в конденсаторе/радиаторе можно выполнять из подходящего произвольного профиля, например круглого, овального, прямоугольного, квадратного или их комбинации, и внутренний объем профиля может составлять отдельную камеру или его можно разделять на множество камер. Аналогично ориентация труб системы охлаждения может быть наклонной, несмотря на то, что все трубы на чертежах показаны либо вертикальными, либо горизонтальными.
Даже при том, что принимающий тепло элемент на чертежах показан четырехугольным, любую принимающую тепло часть, видимую во всех направлениях, можно выполнять в различных формах, таких как круг, овал, прямоугольник, квадрат или их комбинации. Однако предпочтительно принимающая тепло часть имеет контактную поверхность, которая приспособлена к форме тепловыделяющего элемента; обычно контактная поверхность бывает плоской. Следует отметить, что контактная поверхность принимающей тепло части является частью теплообменной поверхности принимающей тепло части, которая находится в контакте с тепловыделяющим элементом (тепловыделяющими элементами).
Внутреннюю часть принимающего тепло элемента можно обеспечивать ребрами, прутками и т.д., чтобы увеличивать площадь контакта между охлаждающей текучей средой и принимающим тепло элементом. Эти увеличивающие площадь элементы могут быть, например, паяными элементами, или их можно изготавливать, например, спеканием, литьем, штамповкой, экструзией или срезанием стружки.
Систему дополнительно можно обеспечивать невозвратным клапаном (не показан) в системе труб так, чтобы поток в системе охлаждения мог устанавливаться только в одном направлении. Такой невозвратный клапан будет соответственно размещен выше по потоку (первой) принимающей тепло части системы охлаждения.
Систему охлаждения согласно изобретению можно благоприятно использовать там, где желательно охлаждение низкого шума, например в портативных или стационарных компьютерах, электронике, диапроекторах, мультимедийных проекторах, системах кондиционирования воздуха и т.д.
Формула изобретения
1. Система охлаждения для охлаждения, по меньшей мере, одного тепловыделяющего элемента, содержащая первую принимающую тепло часть, которая выполнена с возможностью приема тепла от, по меньшей мере, одного тепловыделяющего элемента, и охлаждающую текучую среду для поглощения тепла нагреванием и испарением, отличающаяся тем, что она герметично уплотнена и дополнительно содержит пузырьковый насос с трубчатой частью для образования потока текучей среды в системе за счет движущей силы пузырьков, перемещающих жидкую охлаждающую текучую среду по существу с такой же скоростью, как у пузырьков в трубчатой части, причем пузырьковый насос имеет выпускное отверстие, которое при работе системы охлаждения расположено выше уровня жидкости системы, при этом трубчатая часть расположена ниже по потоку первой принимающей тепло части, и перемещающих охлаждающую текучую среду к радиатору для излучения тепла от охлаждающей текучей среды в жидкой форме в окружающее пространство, и конденсатор для конденсации испарившейся охлаждающей текучей среды и излучения тепла конденсации.
2. Система по п.1, отличающаяся тем, что она дополнительно содержит вторую принимающую тепло часть для размещения тепловыделяющего элемента.
3. Система по п.1, отличающаяся тем, что она дополнительно содержит множество пузырьковых насосов.
4. Система по п.3, отличающаяся тем, что, по меньшей мере, некоторые из пузырьковых насосов соединены последовательно.
5. Система по п.3 или 4, отличающаяся тем, что, по меньшей мере, некоторые из пузырьковых насосов соединены параллельно.
6. Система по п.1, отличающаяся тем, что охлаждающая текучая среда содержит, по меньшей мере, две текучие среды с различными точками кипения.
7. Система по п.6, отличающаяся тем, что первую текучую среду в охлаждающей текучей среде выбирают из группы, состоящей из этанола, метанола, ацетона, эфира и пропана.
8. Система по п.6, отличающаяся тем, что вторая текучая среда в охлаждающей текучей среде является водой.
9. Система по п.1, отличающаяся тем, что охлаждающую текучую среду выбирают из группы, состоящей из этанола, метанола, ацетона, эфира, пропана, аммиака и воды.
10. Система по п.1, отличающаяся тем, что давление в ней регулируется до заданной величины.
11. Система по п.10, отличающаяся тем, что давление регулируется так, что самая низкая температура кипения текучих сред по существу равна заданной рабочей температуре, по меньшей мере, одного тепловыделяющего элемента.
12. Система по п.10 или 11, отличающаяся тем, что давление в ней ниже атмосферного давления.
13. Система по п.1, отличающаяся тем, что тепловыделяющий элемент объединен в принимающей тепло части и находится в прямом контакте с охлаждающей текучей средой в системе охлаждения.
14. Система по п.1, отличающаяся тем, что принимающая тепло часть содержит множество отдельных камер для жидкости.
15. Электронное устройство, имеющее один или более элементов, подлежащих охлаждению при работе электронного устройства, и содержащее систему охлаждения по п.1.
16. Применение системы охлаждения по п.1 для охлаждения электронных компонентов.
РИСУНКИ
|
|