|
|
(21), (22) Заявка: 2008121489/28, 27.05.2008
(24) Дата начала отсчета срока действия патента:
27.05.2008
(46) Опубликовано: 10.10.2009
(56) Список документов, цитированных в отчете о поиске:
RU 2289857 C1, 20.12.2006. RU 2000611 С1, 07.09.1993. WO 2007032950 А1, 22.03.2007. US 5136919 А, 11.08.1992. US 5949014 A, 07.09.1999.
Адрес для переписки:
156543, Костромская обл., Костромской р-н, с. Минское, ул. Куколевского, 18, Государственное научное учреждение Костромской НИИ сельского хозяйства ГНУ КНИИСХ
|
(72) Автор(ы):
Тышкевич Евгений Валентинович (RU)
(73) Патентообладатель(и):
Государственное научное учреждение Костромской научно-исследовательский институт сельского хозяйства (RU)
|
(54) АКТИВНЫЙ ЭЛЕКТРОМАГНИТНЫЙ ЗВУКОСНИМАТЕЛЬ
(57) Реферат:
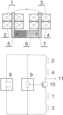
Изобретение относится к области электроники и может быть использовано в конструкции электромузыкальных инструментов, преобразующих механическую энергию колебания струн в электрические сигналы, например электрогитарах, электроскрипках, электророялях и т.д. Техническим результатом изобретения является повышение достоверности передачи полезного звукового сигнала в широком диапазоне частот, повышение помехозащищенности и стабильности рабочих характеристик. Активный электромагнитный звукосниматель состоит из двух плоских полюсных сердечников 5 и 7, прикрепленных перпендикулярно к разноименным полюсам постоянного магнита 6, на которые установлены первая 1, вторая 2, третья 3 и четвертая 4 сигнальные катушки, источника питания 8, цепи смещения 9 и транзистора 10. Катушки 1 и 2 установлены на сердечнике 5, катушки 3 и 4 – на сердечнике 7. 1 ил.
Изобретение относится к области электроники и может быть использовано в конструкции электромузыкальных инструментов, преобразующих механическую энергию колебания струн в электрические сигналы, например электрогитарах, электроскрипках, электророялях и т.д.
Известны электромагнитные звукосниматели, устанавливаемые на электрогитарах, в конструкции которых используется одна катушка, один или несколько магнитов, создающих магнитное поле вблизи струн, которые в процессе механических колебаний образуют переменную составляющую магнитного потока, индуцирующую в неподвижной катушке ЭДС звуковой частоты (Л.Муравьева, Звукосниматели, “Звукорежиссер”, 2003 г., 2).
Недостатками данных устройств являются слабый сигнал на выводах адаптеров и высокая чувствительность к различного рода внешним наводкам, например, от питающей сети, флуоресцентных ламп и других источников излучения.
Наиболее близким аналогом предлагаемого изобретения (прототипом) является электромагнитный звукосниматель для электрогитары и других струнных музыкальных инструментов, включающий два плоских полюсных наконечника (сердечника), прикрепленных к разноименным полюсам постоянного магнита и отстоящих друг от друга на расстоянии 3 4 мм, на которые намотаны изолированным проводом катушки индуктивности (сигнальные катушки), соединенные последовательно и подключенные на вход активного усилителя (RU 2289857 С1, 2006.12.20).
Основным недостатком данной конструкции является невозможность изменения параметров магнитной системы, на которую установлены индуктивные датчики, поскольку величина и конфигурация магнитного потока определяется конструкцией устройства, типом постоянного магнита, а также неизменными геометрическими размерами.
Другим недостатком является незначительная высота магнитного потока, замыкающегося в воздушном промежутке между плоскими полюсными наконечниками, отстоящими друг от друга на расстоянии 3 4 мм, в зоне расположения струн. Данное обстоятельство вызывает периодические потери потокосцепления между электромагнитным датчиком и струной во время интенсивных ее колебаний, что приводит к большим нелинейным искажениям.
Известное устройство имеет низкую скорость нарастания выходного напряжения, а также значительные динамические и частотные искажения.
Технической задачей изобретения является создание активного электромагнитного звукоснимателя, обладающего высокой достоверностью передачи полезного звукового сигнала в широком диапазоне частот, высокой помехозащищенностью и стабильностью рабочих характеристик.
Эта техническая задача достигается тем, что в активный электромагнитный звукосниматель, содержащий источник питания, два плоских полюсных сердечника, прикрепленных перпендикулярно к разноименным полюсам постоянного магнита, на которые установлены сигнальные катушки по две на каждый полюсной сердечник, введены транзистор и цепь смещения, образуя при этом новую конструкцию, обеспечивающую высокую достоверность передачи полезного сигнала в широком диапазоне частот, причем сигнальные катушки включены в эмиттерную и коллекторную цепи транзистора соответственно.
Конструкция активного электромагнитного звукоснимателя и схема подключения сигнальных катушек к электронному транзисторному усилителю представлены на чертеже.
Активный электромагнитный звукосниматель содержит источник питания 8, два плоских полюсных сердечника 5 и 7, прикрепленных перпендикулярно к разноименным полюсам постоянного магнита 6, на которые установлены первая 1 и вторая 2 сигнальные катушки на первом полюсном сердечнике 5, третья 3 и четвертая 4 сигнальные катушки на втором полюсном сердечнике 7, цепь смещения 9, первым входом соединенная с плюсовым выводом источника питания 8 и первым выводом второй сигнальной катушки 2, вторым входом подключенная к минусовому выводу источника питания 8 и второму выводу третьей сигнальной катушки 3, и транзистор 10, базой соединенный с выходом цепи смещения 9, коллектором подключенный ко второму выводу четвертой сигнальной катушки 4, эмиттером соединенный с первым выводом первой сигнальной катушки 1, причем второй вывод второй сигнальной катушки 2 подключен к первому выводу четвертой сигнальной катушки 4, а второй вывод первой сигнальной катушки 1 соединен с первым выводом третьей сигнальной катушки 3, при этом электрический полезный сигнал снимается с коллектора транзистора 10.
Описание работы устройства.
Активный электромагнитный звукосниматель состоит из двух плоских полюсных сердечников 5 и 7, прикрепленных перпендикулярно к разноименным полюсам постоянного магнита 6, на которые установлены первая 1, вторая 2, третья 3 и четвертая 4 сигнальные катушки, источника питания 8, цепи смещения 9 и транзистора 10. Катушки 1 и 2 установлены на сердечнике 5, катушки 3 и 4 – на сердечнике 7.
Вторые выводы сигнальных катушек 1 и 2 соединены с первыми выводами катушек 3 и 4, образуя последовательные цепи. Плюсовой вывод источника питания 8 подключен к первому входу цепи смещения 9 и первому выводу второй катушки 2. Минусовой вывод источника питания 9 соединен со вторым входом цепи смещения 9 и вторым выводом третьей катушки 3. Выход цепи смещения 9 соединен с базой транзистора 10. Коллектор транзистора 10 подключен ко второму выводу четвертой сигнальной катушки 4, а эмиттер соединен с первым выводом первой сигнальной катушки 1. Приведенная схема соединения катушек позволяет эффективно подавлять внешние наводки от питающей сети, флуоресцентных ламп и других источников излучения. Электрический полезный сигнал снимается с вывода 11, подключенного к коллектору транзистора 10.
Толщина полюсных сердечников 5 и 7 составляет 1,2 3 мм, высота постоянного магнита 6 – 3 5 мм, расстояние между полюсами – 3 15 мм.
Сигнальные катушки 1, 2, 3, 4 намотаны медным изолированным проводом диаметром 0,042 0,15 мм.
Адаптер располагается в непосредственной близости от струн (на чертеже не показано) музыкального инструмента, выполненных из ферромагнитного материала. Магнитный поток (на чертеже средняя линия магнитного потока показана стрелкой), образованный в воздушном промежутке между сердечниками 5 и 7, является результатом сложения двух составляющих: потока постоянного магнита 4 и потока, создаваемого током подмагничивания, проходящим от источника питания 6 через открытый транзистор 10 и последовательно включенные катушки 1, 2, 3, 4. Величина тока подмагничивания в катушках 1, 2, 3, 4 изменяется с помощью цепи смещения 9, управляющей базовым током транзистора 10, при этом меняется суммарный магнитный поток в зоне расположения струн, а также его конфигурация в воздушном пространстве. Транзисторный усилитель устройства выполнен по схеме с общей базой, поэтому ток подмагничивания в катушках 2 и 4, расположенных в коллекторной цепи, практически мало отличается от тока катушек 1 и 3 эмиттерной цепи. Помимо задатчика тока подмагничивания транзистор 10 выполняет функции электронного усилителя полезного сигнала. При колебаниях струны, находящейся в магнитном поле адаптера, в катушках 1, 2, 3, 4 возникает переменное напряжение звуковой частоты, которое усиливается транзистором 10, выделяя полезный сигнал в коллекторной цепи на выводе 11.
Предлагаемая конструкция позволяет увеличить равномерность магнитного потока в воздушном промежутке между сердечниками 5 и 7 за счет оптимального выбора тока подмагничивания в катушках 1, 2, 3, 4.
Благодаря отрицательной обратной связи между ЭДС катушек и током подмагничивания, возникающей в результате модуляции магнитного потока полезным сигналом, приведенная схема позволяет существенно снизить нелинейные искажения напряжения звуковой частоты на выходе устройства, а также выровнять амплитудно-частотную характеристику.
Изменение величины тока подмагничивания позволяет менять «чистоту» и окраску звука электромагнитного звукоснимателя.
Приведенная схема имеет низкий уровень шумов и эффективно подавляет внешние наводки.
Активный электромагнитный звукосниматель обладает высокой достоверностью передачи полезного сигнала в широком диапазоне частот, высокой стабильностью рабочих характеристик, имеет широкий диапазон использования и высокую надежность.
Формула изобретения
Активный электромагнитный звукосниматель, содержащий источник питания, два плоских полюсных сердечника, прикрепленных перпендикулярно к разноименным полюсам постоянного магнита, на которые установлены первая и вторая сигнальные катушки на первом полюсном сердечнике, третья и четвертая сигнальные катушки на втором полюсном сердечнике, отличающийся тем, что в него введены цепь смещения, первым входом соединенная с плюсовым выводом источника питания и первым выводом второй сигнальной катушки, вторым входом подключенная к минусовому выводу источника питания и второму выводу третьей сигнальной катушки, и транзистор, базой соединенный с выходом цепи смещения, коллектором подключенный ко второму выводу четвертой сигнальной катушки, эмиттером соединенный с первым выводом первой сигнальной катушки, причем второй вывод второй сигнальной катушки подключен к первому выводу четвертой сигнальной катушки, а второй вывод первой сигнальной катушки соединен с первым выводом третьей сигнальной катушки, при этом электрический полезный сигнал снимается с коллектора транзистора.
РИСУНКИ
|
|