|
(21), (22) Заявка: 2008102018/09, 24.01.2008
(24) Дата начала отсчета срока действия патента:
24.01.2008
(46) Опубликовано: 10.10.2009
(56) Список документов, цитированных в отчете о поиске:
RU 2237921 С2, 10.10.2004. RU 2306603 C1, 20.09.2007. US 7190254 В2, 13.03.2007. US 2006/0190462 A1, 24.08.2006. JP 2004030334 A, 29.01.2004. RU 55168 U1, 27.07.2006.
Адрес для переписки:
119607, Москва, ул. Удальцова, 85, ФГУП “Научно-исследовательский институт “Восход”, руководителю патентной группы А.Н. Романову
|
(72) Автор(ы):
Юхневич Леонид Александрович (RU), Романов Анатолий Николаевич (RU), Старовойтов Дмитрий Петрович (RU)
(73) Патентообладатель(и):
Федеральное государственное унитарное предприятие “Научно-исследовательский институт “Восход” (RU)
|
(54) АВТОМАТИЗИРОВАННАЯ СИСТЕМА ПОДГОТОВКИ ИДЕНТИФИКАЦИОННЫХ ДАННЫХ ГРАЖДАН ДЛЯ ИЗГОТОВЛЕНИЯ ПАСПОРТНО-ВИЗОВЫХ ДОКУМЕНТОВ НОВОГО ПОКОЛЕНИЯ
(57) Реферат:
Изобретение относится к области вычислительной техники, а именно к автоматизированной системе подготовки идентификационных данных граждан для изготовления паспортно-визовых документов нового поколения. Техническим результатом является повышение надежности и быстродействия работы системы путем формирования идентификационных данных граждан для изготовления паспортно-визовых документов нового поколения в реальном масштабе времени. Для достижения технического результата система содержит модуль выбора выполняемых задач, модуль селекции опорного адреса анкет-черновиков граждан в базе данных сервера, модуль селекции опорного адреса сформированных анкет граждан в базе данных сервера и модуль формирования текущих адресов анкет-черновиков граждан в базе данных сервера. А также модуль формирования текущих адресов сформированных анкет граждан в базе данных сервера, модуль интеграции сигналов записи и считывания записей базы данных сервера, модуль выбора типа анкеты граждан для редактирования, модуль селекции сигналов управления формированием анкет граждан и модуль редактирования анкет граждан. 16 ил.
Изобретение относится к области вычислительной техники, в частности, к автоматизированной системе подготовки идентификационных данных граждан для изготовления паспортно-визовых документов нового поколения.
Как известно, европейские страны переходят на электронные паспортные системы. К 2013 году на всей территория Европы должна быть развернута единая система электронной идентификации личности на базе биометрических методов. Российская Федерация также начинает внедрение новых электронных паспортно-визовых документов с 2007 года.
Основной международной тенденцией в области разработки паспортно-визовых документов нового поколения является создание так называемых зон доверия, в рамках которых граждане стран участников могут пользоваться правом безвизового перемещения.
В настоящее время в программе безвизового обмена участвуют следующие страны: Андорра, Австрия, Австралия, Бельгия, Бруней, Великобритания (для граждан с неограниченным правом постоянного проживания на территории Англии, Шотландии, Уэльса, Северной Ирландии, Нормандских островов и острова Мэн), Дания, Германия, Исландия, Ирландия, Испания, Италия, Лихтенштейн, Люксембург, Монако, Нидерланды, Новая Зеландия, Норвегия, Португалия, Сан-Марино, Сингапур, Словения, Финляндия, Франция, Швейцария, Швеция и Япония.
Опыт Германии показывает, что простое перенесение технологий оформления классических паспортно-визовых документов на оформление паспортно-визовых документов нового поколения (использование, например, оцифрованных фотографий вместо цифровых, сканирование образца подписи заявителя и т.д.) приводит к отбраковке при выходном контроле до 50% уже изготовленных документов. Принимая во внимание данный аспект, необходимо изначально ориентироваться на технологии, позволяющие снизить процент брака при изготовлении паспортно-визовых документов нового поколения.
Отдельное направление в рамках создания паспортно-визовых документов представляет собой гармонизация международных стандартов. Особенно актуально сотрудничество в области взаимного признания стандартов и процедур оформления цифровой подписи, защищающей содержимое чипа от подделки.
Причинами, вызывающими необходимость введения паспортно-визовых документов нового поколения, являются:
– рост незаконной миграции и активизация криминального бизнеса, связанного с незаконным оформлением миграционных документов;
– увеличение потока граждан через границу РФ и, как следствие, необходимость повышения эффективности пограничного контроля;
– необходимость интеграции государственных информационных ресурсов, используемых в сфере пограничного и миграционного контроля, а также в области борьбы с криминальными и террористическими проявлениями;
– предотвращение возможности подделки паспортно-визовых документов, которая сегодня носит массовый характер;
– необходимость консолидации усилий в области информационного обмена в процессе межгосударственного сотрудничества правоохранительных органов в сфере борьбы с незаконной миграцией, криминальными и террористическими проявлениями;
– необходимость снижения коррупционности процесса оформления паспортно-визовых документов.
Задача перехода на паспортно-визовые документы нового поколения взаимоувязана с созданием автоматизированной системы сбора, хранения и обработки информации о проследовавших через государственную границу лицах, транспортных средствах и грузах (ФМАС “Погранконтроль”) и информационной системы контроля миграционной ситуации в России (ФМИС “Миграция”), включающей создание центрального банка данных по учету иностранных граждан и лиц без гражданства, а также с реализацией концепции «Системы персонального учета населения», одобренной Правительством РФ.
Введение паспортно-визовых документов нового поколения в Российской Федерации ориентировано, прежде всего, на решение социальных задач, а именно обеспечение возможности упрощения процедуры при пересечении границы других стран гражданами РФ, а также решение задач по обеспечению национальной безопасности страны и предотвращению въезда на территорию России лиц, связанных с международным терроризмом и незаконной миграцией.
В рамках новой системы, пересекая границу, путешественник должен положить свой электронный паспорт на считывающее устройство, которое проверит, соответствуют ли указанные на первой странице данные и фото тем данным и фото, которые содержатся в памяти чипа.
В этой связи с особой остротой встает задача создания автоматизированной системы подготовки идентификационных данных граждан для изготовления паспортно-визовых документов, которая обеспечила бы надежность и эффективность создания паспортно-визовых документов нового поколения.
Известны системы, которые могли бы быть использованы для решения поставленной задачи (1, 2).
Первая из известных систем содержит блоки приема и хранения данных, соединенные с блоками управления и обработки данных, блоки поиска и селекции, подключенные к блокам хранения данных и отображения, синхронизирующие входы которых соединены с выходами блока управления (1).
Существенный недостаток данной системы состоит в невозможности решения задачи обновления данных, хранимых в памяти системы одновременно с решением задачи выдачи содержания документальных данных граждан в реальном масштабе времени.
Известна и другая система, содержащая блоки обработки данных, информационные входы которых соединены с блоками приема данных и управления, а выходы подключены к первой группе блоков памяти, центральный процессор, входы которого соединены с выходами блоков памяти первой группы и блоков обработки данных, а выходы соединены с входами блоков памяти второй группы и блоков отображения данных (2).
Последнее из перечисленных выше технических решений наиболее близко к описываемому.
Недостаток этого технического решения заключается в невысокой надежности идентификации данных граждан, обусловленной тем, что выполнение процедуры контроля личности реализуется путем визуального просмотра паспортных данных, а это неизбежно приводит к тому, что при предъявлении высококлассно подделанных документов возможна ложная идентификация личности, и, как следствие, прохождение потенциальных террористов через пограничный пункт.
Цель изобретения – повышение надежности и быстродействия системы путем формирования идентификационных данных граждан для изготовления паспортно-визовых документов нового поколения в реальном масштабе времени.
Поставленная цель достигается тем, что в систему, содержащую модуль выбора выполняемых задач, информационный и тактирующий входы которого являются первыми информационным и тактирующими входами системы, при этом информационный вход модуля выбора выполняемых задач предназначен для приема кода выбираемых для решения задач, а тактирующий вход модуля выбора выполняемых задач предназначен для приема синхронизирующих сигналов занесения кодов выбираемых для решения задач в модуль выбора выполняемых задач, модуль интеграции сигналов записи и считывания записей базы данных сервера, адресный выход которого является адресным выходом системы, предназначенным для выдачи адресов записи и считывания анкетных данных граждан на адресный вход сервера базы данных, первый синхронизирующий выход модуля интеграции сигналов записи и считывания записей базы данных сервера является первым синхронизирующим выходом системы, предназначенным для выдачи сигналов управления на вход первого канала прерывания сервера базы данных, а второй синхронизирующий выход модуля интеграции сигналов записи и считывания записей базы данных сервера является вторым синхронизирующим выходом системы, предназначенным для выдачи сигналов управления на вход второго канала прерывания сервера базы данных, модуль выбора типа анкеты граждан для редактирования, информационный вход которого является вторым информационным входом системы, предназначенным для приема кода выбранного типа анкеты для редактирования оператором, модуль селекции сигналов управления формированием анкет граждан, информационный вход которого является третьим информационным входом системы, предназначенным для приема кодов режима работы системы, синхронизирующий вход модуля селекции сигналов управления формированием анкет граждан является первым синхронизирующим входом системы, предназначенным для приема сигналов занесения кодов режимов работы системы в модуль селекции сигналов управления формированием анкет граждан, счетный вход модуля селекции сигналов управления формированием анкет граждан является счетным входом системы, предназначенным для приема сигналов формирования кода режима работы системы, а вычитающий вход модуля селекции сигналов управления формированием анкет граждан является вычитающим входом системы, предназначенным для приема сигналов формирования кода режима работы системы, и модуль редактирования анкет граждан, первый информационный вход которого соединен с информационным выходом модуля выбора типа анкеты граждан для редактирования, а первый синхронизирующий вход модуля редактирования анкет граждан подключен к синхронизирующему выходу модуля выбора типа анкеты граждан для редактирования, второй информационный вход модуля редактирования анкет граждан является четвертым информационным входом системы, предназначенным для приема данных анкеты со сканирующего устройства, третий информационный вход модуля редактирования анкет граждан является пятым информационным входом системы, предназначенным для приема данных фотокамеры, а четвертый информационный вход модуля редактирования анкет граждан является шестым информационным входом системы, предназначенным для приема данных черновых анкет из базы данных сервера, при этом второй синхронизирующий вход модуля редактирования анкет граждан является вторым синхронизирующим входом системы, предназначенным для приема синхронизирующих сигналов со сканирующего устройства, третий синхронизирующий вход модуля редактирования анкет граждан является третьим синхронизирующим входом системы, предназначенным для приема синхронизирующих сигналов с фотокамеры, а информационный выход модуля редактирования анкет граждан является информационным выходом системы, предназначенным для выдачи анкетных данных граждан на информационный вход сервера базы данных, введены модуль селекции опорного адреса анкет-черновиков граждан в базе данных сервера, вход которого соединен с первым синхронизирующим выходом модуля выбора выполняемых задач, модуль формирования текущих адресов анкет-черновиков граждан в базе данных сервера, информационный вход которого подключен к информационному выходу модуля селекции опорного адреса анкет-черновиков граждан в базе данных сервера, первый синхронизирующий вход модуля формирования текущих адресов анкет-черновиков граждан в базе данных сервера соединен с первым синхронизирующим выходом модуля селекции опорного адреса анкет-черновиков граждан в базе данных сервера, второй синхронизирующий вход модуля формирования текущих адресов анкет-черновиков граждан в базе данных сервера подключен ко второму синхронизирующему выходу модуля селекции опорного адреса анкет-черновиков граждан в базе данных сервера, а тактирующий вход модуля формирования текущих адресов анкет-черновиков граждан в базе данных сервера соединен со вторым синхронизирующим выходом модуля выбора выполняемых задач, при этом информационный выход модуля формирования текущих адресов анкет-черновиков граждан в базе данных сервера подключен к первому информационному входу модуля интеграции сигналов записи и считывания записей базы данных сервера, первый синхронизирующий выход модуля формирования текущих адресов анкет-черновиков граждан в базе данных сервера соединен с первым синхронизирующим входом модуля интеграции сигналов записи и считывания записей базы данных сервера, а второй синхронизирующий выход модуля формирования текущих адресов анкет-черновиков граждан в базе данных сервера подключен ко второму синхронизирующему входу модуля интеграции сигналов записи и считывания записей базы данных сервера, модуль селекции опорного адреса сформированных анкет граждан в базе данных сервера, вход которого соединен с третьим синхронизирующим выходом модуля выбора выполняемых задач, модуль формирования текущих адресов сформированных анкет граждан в базе данных сервера, информационный вход которого подключен к информационному выходу модуля селекции опорного адреса анкет-черновиков граждан в базе данных сервера, первый синхронизирующий вход модуля формирования текущих адресов сформированных анкет граждан в базе данных сервера соединен с первым синхронизирующим выходом модуля селекции опорного адреса сформированных анкет граждан в базе данных сервера, второй синхронизирующий вход модуля формирования текущих адресов сформированных анкет граждан в базе данных сервера подключен ко второму синхронизирующему выходу модуля селекции опорного адреса сформированных анкет граждан в базе данных сервера, а тактирующий вход модуля формирования текущих адресов сформированных анкет граждан в базе данных сервера соединен с четвертым синхронизирующим выходом модуля выбора выполняемых задач, при этом информационный выход модуля формирования текущих адресов сформированных анкет граждан в базе данных сервера подключен ко второму информационному входу модуля интеграции сигналов записи и считывания записей базы данных сервера, первый синхронизирующий выход модуля формирования текущих адресов сформированных анкет граждан в базе данных сервера соединен с третьим синхронизирующим входом модуля интеграции сигналов записи и считывания записей базы данных сервера, а второй синхронизирующий выход модуля формирования текущих адресов сформированных анкет граждан в базе данных сервера подключен к четвертому синхронизирующему входу модуля интеграции сигналов записи и считывания записей базы данных сервера, при этом первый синхронизирующий выход модуля селекции сигналов управления формированием анкет граждан соединен с синхронизирующим входом модуля выбора типа анкеты граждан для редактирования, второй синхронизирующий выход модуля селекции сигналов управления формированием анкет граждан подключен ко второму тактирующему входу модуля выбора выполняемых задач, третий синхронизирующий выход модуля селекции сигналов управления формированием анкет граждан является третьим синхронизирующим выходом системы, предназначенным для выдачи сигналов управления на вход третьего канала прерывания сервера базы данных, а управляющие выходы группы выходов модуля селекции сигналов управления формированием анкет граждан соединены с соответствующими управляющими входами группы входов модуля редактирования анкет граждан.
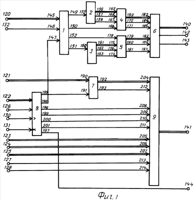
Сущность изобретения поясняется чертежами, где на фиг.1 представлена структурная схема системы, на фиг.2 – структурная схема модуля выбора выполняемых задач, на фиг.3 – структурная схема модуля селекции опорного адреса анкет-черновиков граждан в базе данных сервера, на фиг.4 – структурная схема модуля селекции опорного адреса сформированных анкет граждан в базе данных сервера, на фиг.5 – структурная схема модуля формирования текущих адресов анкет-черновиков граждан в базе данных сервера, на фиг.6 – структурная схема модуля формирования текущих адресов сформированных анкет граждан в базе данных сервера, на фиг.7 – структурная схема модуля интеграции сигналов записи и считывания записей базы данных сервера, на фиг.8 – структурная схема модуля выбора типа анкеты граждан для редактирования, на фиг.9 – структурная схема модуля селекции сигналов управления формированием анкет граждан, на фиг.10 – структурная схема модуля редактирования анкет граждан, на фиг.11 приведен пример открытого окна на мониторе оператора «Редактирование анкеты», на фиг.12 приведен пример отсканированной анкеты граждан, на фиг.13 – пример окна с подписью гражданина, на фиг.14 – пример окна с отображением фотографии гражданина, на фиг.15 – пример отображения окна формирования пин-кода, на фиг.16 – пример отображения окна при формировании электронно-цифровой подписи оператора.
Система (фиг.1) содержит модуль 1 выбора выполняемых задач, модуль 2 селекции опорного адреса анкет-черновиков граждан в базе данных сервера, модуль 3 селекции опорного адреса сформированных анкет граждан в базе данных сервера, модуль 4 формирования текущих адресов анкет-черновиков граждан в базе данных сервера, модуль 5 формирования текущих адресов сформированных анкет граждан в базе данных сервера, модуль 6 интеграции сигналов записи и считывания записей базы данных сервера, модуль 7 выбора типа анкеты граждан для редактирования, модуль 8 селекции сигналов управления формированием анкет граждан, модуль 9 редактирования анкет граждан.
На фиг.1 также показаны первый 120, второй 121, третий 122, четвертый 123, пятый 124, шестой 125 информационные входы системы, первый 126, второй 127 и третий 128 синхронизирующие входы, счетный 130 и вычитающий 131 входы, тактирующий 132 вход, а также адресный 140, информационный 141, первый 142 и второй 143 синхронизирующие и сигнальный 144 выходы системы.
Модуль 1 (фиг.2) выбора выполняемых задач содержит регистр 15, дешифратор 16, элементы 17-20 И, триггер 21, элемент 22 ИЛИ, элемент 23 задержки. На чертеже показаны информационный 145, тактирующие 146, 147 входы, а также первый 149, второй 150, третий 151 и четвертый 152 синхронизирующие выходы. Кроме того, на чертеже показан установочный вход 153 триггера 21, предназначенный для установки триггера 21 в исходное состояние.
Модуль 2 (фиг.3) селекции опорного адреса анкет-черновиков граждан в базе данных сервера содержит блок 25 памяти, выполненный в виде постоянного запоминающего устройства, регистр 26, триггер 27, элементы 28-29 И, элемент 30 ИЛИ, элементы 31-33 задержки. На чертеже показаны синхронизирующий 155 вход модуля, а также информационный 156, первый 157 и второй 158 синхронизирующие выходы. Кроме того, на чертеже показан установочный вход 159 триггера 27, предназначенный для установки триггера 27 в исходное состояние.
Модуль 3 (фиг.4) селекции опорного адреса сформированных анкет граждан в базе данных сервера содержит блок 35 памяти, выполненный в виде постоянного запоминающего устройства, регистр 36, триггер 37, элементы 38-39 И, элемент 40 ИЛИ, элементы 41-43 задержки. На чертеже показаны синхронизирующий 160 вход модуля, а также информационный 161, первый 162 и второй 163 синхронизирующие выходы. Кроме того, на чертеже показан установочный вход 164 триггера 37, предназначенный для установки триггера 37 в исходное состояние.
Модуль 4 (фиг.5) формирования текущих адресов анкет-черновиков граждан в базе данных сервера содержит сумматор 45, реверсивный счетчик 46, компаратор 47, триггер 48, элементы 49-53 ИЛИ, элементы 54 И группы, элементы 55-59 задержки. На чертеже показаны информационный 165, первый 166, второй 167 синхронизирующие входы и тактирующий вход 168, а также информационный 169, первый 170 и второй 171 синхронизирующие выходы. Кроме того, на чертеже показан информационный вход 60 компаратора 47, предназначенный для приема кодов, соответствующих задаваемому пороговому уровню, например нулевому потенциалу.
Модуль 5 (фиг.6) формирования текущих адресов сформированных анкет граждан в базе данных сервера содержит сумматор 65, реверсивный счетчик 66, компаратор 67, триггер 68, элементы 69-73 ИЛИ, элементы 74 И группы, элементы 75-79 задержки. На чертеже показаны информационный 175, первый 176, второй 177 синхронизирующие входы и тактирующий 178, а также информационный 179, первый 180 и второй 181 синхронизирующие выходы. Кроме того, на чертеже показан информационный вход 80 компаратора 67, предназначенный для приема кодов, соответствующих задаваемому пороговому уровню, например, нулевому потенциалу.
Модуль 6 (фиг.7) интеграции сигналов записи и считывания записей базы данных сервера содержит элементы 85 ИЛИ группы, элементы 86, 87 ИЛИ. На чертеже показаны первый 182 и второй 183 информационные входы, первый 184, второй 185, третий 186 и четвертый 187 синхронизирующие входы.
Модуль 7 (фиг.8) выбора типа анкеты граждан для редактирования содержит регистр 90, дешифратор 91, блок памяти 92, выполненный в виде ПЗУ, элементы 93-95 И, элементы 96, 97 задержки. На чертеже показаны информационный 190 и синхронизирующий 191 входы, а также информационный 192 и синхронизирующий 193 выходы.
Модуль 8 (фиг.9) селекции сигналов управления формированием анкет граждан содержит реверсивный счетчик 100, дешифратор 101, элементы 102-104 И, элемент 105 ИЛИ, элемент 106 задержки. На чертеже показаны информационный 122, синхронизирующий 126, счетный 130 и вычитающий 131 входы, а также первый 195, второй 196 и третий 197 синхронизирующие и первый 198, второй 199, третий 200 и четвертый 201 управляющие выходы.
Модуль 9 (фиг.10) редактирования анкет граждан содержит регистр 110, первую 111, вторую 112, третью 113 и четвертую 114 группы элементов И, группу 115 элементов ИЛИ и элемент 116 ИЛИ. На чертеже показаны первый 204, второй 205, третий 206 и четвертый 207 информационные входы, первый 208, второй 209, третий 210 и четвертый 211 управляющие входы, первый 212, второй 213 и третий 214 синхронизирующие входы модуля, а также информационный выход 141.
Система автоматизирует деятельность, связанную с вводом (регистрацией) в базе данных информации, необходимой для оформления и изготовления заграничных паспортов нового поколения. К этой информации относят:
– данные из анкеты-заявления;
– биометрические данные заявителя: фотографию, подпись. Оператор системы выполняет следующие функции:
– автоматизированный ввод данных с анкеты-заявления путем оптического распознавания анкеты или ручной ввод данных с анкеты-заявления;
– ввод подписи заявителя;
– получение фотоизображения заявителя в соответствии с международными рекомендациями ИКАО;
– сохранение введенных данных;
– редактирование ранее введенных данных;
– формирование ЭЦП для введенных данных личным ключом.
Система работает следующим образом.
При подготовке идентификационных данных для создания паспортно-визовых документов нового поколения используются два последовательных режима работы системы:
режим формирования черновика анкеты с идентификационными данными гражданина;
режим формирования заверенного содержания анкеты с идентификационными данными гражданина.
С этой целью перед началом работы оператор системы с клавиатуры своего рабочего места (на чертеже не показано) вводит код режима формирования черновика анкеты с идентификационными данными гражданина, который с входа 120 системы через вход 145 модуля 1 поступает на информационный вход регистра 15.
Кроме того, в системе предусмотрено использование нескольких типов форм анкет, к числу которых относятся:
– взрослая анкета – анкета для взрослого человека с указанием трудовой деятельности;
– детская анкета – анкета для ребенка с указанием данных о законном представителе;
– анкета старого типа – анкета с указанием списка детей.
Учитывая это обстоятельство, оператор должен также указать тип используемой формы анкеты.
Для этого оператор выбирает тип используемой формы анкеты, и код анкеты выбранного типа анкеты с АРМа оператора поступает на вход 121 системы, а далее через вход 190 модуля 7 поступает на информационный вход регистра 90.
После этого оператор нажатием на клавишу «Создать анкету» формирует синхронизирующий сигнал, который поступает на вход 130 системы и далее поступает на счетный вход реверсивного счетчика 100 модуля 8, находивщегося до этого в исходном состоянии. В итоге, реверсивный счетчик 100 зафиксирует первую единицу, свидетельствующую о том, что работа системы начинается с выполнения первого этапа – выдача на монитор автоматизированного рабочего места формы анкеты выбранного типа.
Показания реверсивного счетчика 100 поступают на вход дешифратора 101, который расшифровывает код поступившей операции, в данном случае этот код равен единице, и на выходе 220 формирует высокий потенциал, поступающий как на вход элемента 102 И, открывая его по одному входу, так и через выход 198 модуля 8 на вход 208 модуля 9, где открывает по одному входу элементы 111 И группы, подключая, тем самым, выход элементов 111 И группы через элементы 115 ИЛИ группы к информационным входам 230 регистра 110.
Одновременно с этим импульс с входа 130 модуля 8 проходит элемент 105 ИЛИ, задерживается элементом 106 на время срабатывания реверсивного счетчика 100 и поступает на входы элементов 102-104 И. К этому моменту времени в открытом состоянии будет только элемент 102 И, поскольку на его другой вход подан высокий разрешающий потенциал с выхода 220 дешифратора 101.
Импульс с выхода элемента 106 задержки проходит элемент 102 И на выход 195 модуля 8 и далее поступает на синхронизирующий вход 191 модуля 7, занося в регистр 90 код выбранного типа анкеты с входа 190 модуля 7, который с выхода регистра 90 поступает на вход дешифратора 91.
Дешифратор 91 расшифровывает кодовую комбинацию и открывает один из элементов 93-95 И. Для определенности положим, что высокий потенциал поступил на один вход элемента 93 И.
Параллельно с этим синхронизирующий импульс с входа 191 модуля 7 задерживается элементом 96 на время занесения кода выбранного типа анкеты в регистр 90 и срабатывания дешифратора 91 и далее опрашивает состояния элементов 93-95 И.
Учитывая то обстоятельство, что открытым по одному входу будет только элемент 93 И, то пройдя этот элемент И, синхроимпульс поступает на вход считывания фиксированной ячейки памяти постоянного запоминающего устройства 92, где хранится выбранная форма анкетных данных.
Выбранная форма анкеты считывается через выход 192 модуля 7 на вход 204 модуля 9 и далее поступает через элементы 115 ИЛИ группы на информационный вход регистра 110 модуля 9.
Одновременно с этим синхронизирующий импульс с выхода элемента 96 задержки задерживается элементом 97 на время считывания выбранной формы анкеты и с выхода 193 модуля 7 поступает на синхронизирующий вход 212 модуля 9, где проходит элемент 116 ИЛИ и поступает на синхронизирующий вход 233 регистра 110, обеспечивая занесение выбранного типа анкеты в регистр 110 модуля 9.
С информационного выхода 141 регистра 110 модуля 9 выбранная форма анкеты выдается на монитор автоматизированного рабочего места оператора (не показано), где откроется окно «Редактирование анкеты», показанное на фиг.11.
В зависимости от типа открытой на редактирование анкеты будут различаться элементы группы «Анкета» в левой части окна. Для всех типов анкет будут присутствовать элементы «Основные сведения» и «Дополнительные сведения».
Окно редактирования анкеты состоит из четырех областей:
– в верхней части расположены функциональные кнопки;
– в левой части окна расположены элементы, отвечающие за отображение различных частей анкеты;
– в правой части окна расположены подокна, содержащие данные анкеты;
– в нижней части окна расположены две навигационные кнопки «Предыдущая анкета» и «Следующая анкета» для перехода между анкетами, находящимися в отфильтрованном списке анкет;
– также в нижней части окна расположена информация о том, какая по счету анкета открыта в текущий момент и сколько всего анкет находится в отфильтрованном списке.
На поля, переносимые на страницу паспорта, существуют ограничение длины:
– поле «Фамилия» ограничено на ввод 34 символами, «Фамилия (лат.)» ограничено на ввод 36 символами;
– сумма длины полей «Имя» и «Отчество» ограничена 40 символами – это ограничение проверяется при вводе данных в любое из этих полей, если сумма символов превышает указанную длину, то дальнейший ввод становится невозможным. Поле «Имя (лат.)» ограничено на ввод 42 символами;
– сумма длины полей «Регион рождения» и латинский эквивалент поля «Страна» ограничена 39 символами – это ограничение проверяется впри вводе региона рождения или при смене страны, если сумма символов превышает указанную длину, то будет выведено соответствующее предупреждение.
Если указанные ограничения полей соблюдаются, то вне зависимости от отображения этих полей в элементе «Страница паспорта» (вылезание за пределы) при печати паспорта все поля будут корректно распечатаны.
Следующий этап работы системы – сканирование анкеты и заполнение анкеты конкретными идентификационными данными гражданина.
При реализации этого этапа гражданину предлагается расписаться на бланке анкеты и положить бланк анкеты на сканер, после чего оператор на клавиатуре пульта управления нажимает кнопку «Сканировать анкету». При нажатии кнопки формируется синхронизирующий импульс, вновь поступающий на вход 130 системы и далее на счетный вход реверсивного счетчика 100, фиксирующего вторую единицу.
Показания реверсивного счетчика 100 поступают на вход дешифратора 101, который расшифровывает код сформированной операции, в данном случае этот код равен двум единицам, и на выходе 221 формирует высокий потенциал, поступающий через выход 199 модуля 8 на вход 209 модуля 9, где открывает по одному входу элементы 112 И группы, подключая, тем самым, выход элементов 112 И группы через элементы 115 ИЛИ группы к информационным входам 230 регистра 110.
Затем оператор нажимает кнопку управления сканером (не показана) и сканер сканирует содержание анкеты с двух сторон. Коды считанных данных с выхода сканера поступают на вход 123 системы и далее через вход 205 модуля 9 проходят через элементы 112 И группы, элементы 115 ИЛИ группы на информационный вход 230 регистра 110.
Параллельно с этим синхронизирующий импульс со сканера поступает на синхронизирующий вход 213 системы, проходит элемент 116 ИЛИ и поступает на синхронизирующий вход регистра 110, занося в него считанные сканером данные с анкеты, которые отобразятся на экране монитора автоматизированного рабочего места оператора в окнах «Основные сведения», «Дополнительные сведения», «Трудовая деятельность» и «Сведения о детях», как это показано на фиг.12, а подпись гражданина отобразится так, как это показано на фиг.13.
Следующий этап работы системы связан с получением фотографии гражданина, для чего оператор предлагает заявителю пройти в кабину (на чертеже не показана) и занять место перед объективом камеры, после чего нажимает кнопку «Фотографировать».
При нажатии графической кнопки «Фотографировать» формируется очередной синхронизирующий импульс, вновь поступающий на вход 130 системы и далее на счетный вход реверсивного счетчика 100, фиксирующего третью единицу.
Показания реверсивного счетчика 100 поступают на вход дешифратора 101, который расшифровывает код сформированной операции, в данном случае, этот код равен трем единицам, и на выходе 222 формирует высокий потенциал, поступающий через выход 200 модуля 8 на вход 210 модуля 9, где открывает по одному входу элементы 113 И группы, подключая, тем самым, выход элементов 113 И группы к информационным входам 231 регистра 110.
Цифровая фотография гражданина с выхода цифровой камеры поступает на информационный вход 125 системы и затем через вход 207 модуля 9 проходит элементы 114 И группы и поступает на информационный вход 232 регистра 110.
Одновременно с этим синхронизирующий импульс с выхода камеры поступает на синхронизирующий вход 128 системы, откуда проходит через вход 214 и элемент 116 ИЛИ на синхронизирующий вход 233 регистра 110, занося в него цифровую фотографию, которая отображается на экране монитора автоматизированного рабочего места оператора в окне для фотографирования заявителя, как это показано на фиг.14.
В незаполненных полях появляются два изображения – черно-белое фото для размещения на первой странице паспорта и цветное фото для помещения в микрочип.
Затем нажатием кнопки «Сохранить изменения» оператор переводит систему в четвертый режим работы, который предназначен для сохранения идентификационных данных из анкеты в списке черновиков.
При нажатии кнопки «Сохранить изменения» формируется очередной импульс синхронизации, поступающий на вход 130 системы и далее поступает на счетный вход реверсивного счетчика 100 модуля 8, занося в него четвертую единицу.
Показания реверсивного счетчика 100 поступают на вход дешифратора 101, который расшифровывает код поступившей операции, в данном случае, этот код равен четырем единицам, и на выходе 223 формирует высокий потенциал, поступающий на вход элемента 103 И, открывая его по одному входу.
Одновременно с этим импульс с входа 130 модуля 8 проходит элемент 105 ИЛИ, задерживается элементом 106 на время срабатывания реверсивного счетчика 100 и поступает на входы элементов 102-104 И.
К этому моменту времени в открытом состоянии будет только элемент 103 И, поскольку на его другой вход подан высокий разрешающий потенциал с выхода 223 дешифратора 101.
Импульс с выхода элемента 106 задержки проходит элемент 103 И на выход 196 модуля 8 и далее поступает на синхронизирующий вход 147 модуля 1, занося в регистр 15 код установленного режима формирования черновика анкеты с идентификационными данными гражданина с входа 145 модуля 1, который с выхода регистра 15 поступает на вход дешифратора 16.
Дешифратор 16 расшифровывает код установленного режима формирования черновика анкеты с идентификационными данными гражданина и формирует высокий потенциал на выходе 240, который поступает на одни входы элементов 17 и 18 И и открывает их по одному входу. По другим входам элементы 17 и 18 И управляются потенциалами с единичного и нулевого выходов триггера 21.
Учитывая то обстоятельство, что триггер 21 находится в исходном состоянии, при котором на его прямом выходе установлен низкий потенциал, а на инверсном выходе установлен высокий потенциал, то высоким потенциалом с инверсного выхода триггера 21 элемент 17 И будет открыт по второму входу, а элемент 18 И низким потенциалом с прямого выхода триггера 21 будет закрыт.
В результате этого синхронизирующий импульс с входа 147 проходит через элемент 22 ИЛИ, задерживается элементом 23 на время срабатывания регистра 15 и дешифратора 16 и поступает на третьи входы элементов 17-20 И. Однако открытым по двум входам будет только элемент 17 И, через который синхронизирующий импульс проходит на выход 149 модуля 1 и через вход 155 модуля 2 поступает на одни входы элементов 28 и 29 И, состоянием которых управляет триггер 27.
Открытым по одному входу будет только элемент 29 И, так как на один из его входов подается высокий потенциал с инверсного выхода триггера 27, находящегося в исходном состоянии.
В результате этого синхронизирующий импульс с входа 155 проходит элемент 29 И и поступает на вход фиксированной ячейки памяти ПЗУ 25, где хранится опорный адрес базы данных сервера, отведенной для хранения идентификационных данных граждан из анкет в списке черновиков.
Тот же синхронизирующий импульс с выхода элемента 29 И задерживается элементом 31 на время считывания кода из ПЗУ 25 и, во-первых, поступает на синхронизирующий вход регистра 26, занося в него опорный адрес записи идентификационных данных граждан из анкет в списке черновиков.
Во-вторых, этот же импульс поступает на единичный вход триггера 27 и устанавливает его в единичное состояние, при котором элемент 29 И будет закрыт, а элемент 28 И – открыт. Тем самым будет подготовлена цепь прохождения следующего синхронизирующего импульса с входа 155 через элемент 28 И.
И, наконец, в-третьих, импульс с выхода элемента задержки 31 проходит элемент 30 ИЛИ, вновь задерживается элементом 32 на время занесения кода адреса в регистр 26 и с выхода 157 модуля 2 поступает на вход 166 модуля 4.
Код адреса записи идентификационных данных граждан из анкет в списке черновиков с выхода 156 модуля 2 выдается на вход 165 модуля 4 и далее на один вход сумматора 45, к другому входу которого подключен выход счетчика 46, соединенный также с одним входом компаратора 47, на другой вход которого постоянно подан «нулевой код».
Синхронизирующий импульс с входа 166, во-первых, сразу же через элемент 49 ИЛИ поступает на синхронизирующий вход сумматора 45, который суммирует код опорного адреса с входа 165 с нулевым кодом счетчика 46, находящегося к этому моменту времени в исходном состоянии, и выдает оставшийся без изменения код адреса записи на вход элементов 54 И группы.
Во-вторых, этот же импульс проходит элемент 51 ИЛИ и поступает на прямой вход триггера 48, устанавливая последний в единичное состояние, при котором высоким потенциалом с прямого выхода открываются элементы 54 И группы по другому входу, подключая тем самым выход сумматора 45 к выходу 169.
В результате этого опорный адрес записи с выхода 169 модуля 4 через вход 182 модуля 6 проходит элементы 85 ИЛИ группы, выдается на адресный 140 выход системы.
В-третьих, синхронизирующий импульс с выхода элемента 32 модуля 2 задерживается элементом 33 на время формирования итогового кода на адресном 140 выходе системы и поступает через выход 158 модуля 2 на вход 167 модуля 4 и через выход 170 модуля 4 на вход 184 модуля 6, проходит элемент 86 ИЛИ и выдается на выход 142 системы в качестве сигнала управления записью.
Этот сигнал поступает на вход первого канала прерывания сервера базы данных, по которому сервер переходит на подпрограмму записи содержимого модуля 9 с выхода 141 системы в базу данных по адресу, сформированному на выходе 140 системы.
Кроме того, импульс с входа 167 модуля 4 поступает на счетный вход счетчика 46, фиксируя первую запись, а также после задержки элементом 59 на время записи данных в базу данных системы, данный импульс проходит элемент 52 ИЛИ, устанавливая триггер 48 в исходное состояние. Возвращаясь в исходное состояние, триггер 48 закрывает элементы 54 И группы по одному входу и, тем самым, отключает выход сумматора 45 от адресного 140 выхода системы.
При необходимости закончить редактирование анкеты оператор должен перевести анкету в состояние «Сформирована» и заверить данные анкеты посредством личной ЭЦП.
С этой целью оператор, во-первых, устанавливает режим формирования заверенного содержания анкеты с идентификационными данными гражданина, для чего с входа 120 системы через вход 145 на вход регистра 15 поступает код второго режима. После этого оператор нажимает кнопку «Сформировать анкету», при нажатии которой синхронизирующий импульс поступает на вход 130 системы и далее поступает на счетный вход реверсивного счетчика 100 модуля 8, занося в него пятую единицу.
Показания реверсивного счетчика 100 поступают на вход дешифратора 101, который расшифровывает код поступившей операции, в данном случае, этот код равен пяти единицам, и на выходе 224 формирует высокий потенциал, поступающий на вход элемента 104 И, открывая его по одному входу.
Одновременно с этим импульс с входа 130 модуля 8 проходит элемент 105 ИЛИ, задерживается элементом 106 на время срабатывания реверсивного счетчика 100 и поступает на входы элементов 102-104 И. К этому моменту времени в открытом состоянии будет только элемент 104 И, поскольку на его другой вход подан высокий разрешающий потенциал с выхода 224 дешифратора 101.
Импульс с выхода элемента 106 задержки проходит элемент 104 И на выход 197 модуля 8 и далее выдается на выход системы, откуда поступает на вход третьего канала прерывания сервера базы данных. С поступлением этого сигнала сервер переходит на программу формирования пин-кода и на экране монитора появляется окно для ввода пин-кода, показанное на фиг.15.
При верно введенном пин-коде открывается окно формирования ЭЦП, показанное на фиг.16.
В верхней части окна формирования ЭЦП показывается, какой по счету шаг выполняется в данный момент.
В случае ошибочного ввода пин-кода будет выведено сообщение об ошибке. Следует отметить, что в случае трех неправильных попыток ввода пин-кода карточка будет заблокирована.
В случае правильного ввода на вход 132 системы поступает тактирующий импульс, который через вход 147 модуля 1 заносит в регистр 15 код установленного режима формирования черновика анкеты с идентификационными данными гражданина с входа 145 модуля 1, который с выхода регистра 15 поступает на вход дешифратора 16.
Дешифратор 16 расшифровывает код режима формирования заверенного содержания анкеты с идентификационными данными гражданина и формирует высокий потенциал теперь уже на выходе 241, который поступает на одни входы элементов 19 и 20 И и открывает их по одному входу. По другим входам элементы 19 и 20 И управляются потенциалами с единичного и нулевого выходов триггера 21 соответственно.
Учитывая то обстоятельство, что триггер 21 по-прежнему находится в исходном состоянии, при котором на его прямом выходе установлен низкий потенциал, а на инверсном выходе установлен высокий потенциал, то высоким потенциалом с инверсного выхода триггера 21 элемент 19 И будет открыт по второму входу, а элемент 20 И низким потенциалом с прямого выхода триггера 21 будет закрыт.
В результате этого синхронизирующий импульс с входа 147 проходит через элемент 22 ИЛИ, задерживается элементом 23 на время срабатывания регистра 15 и дешифратора 16 и поступает на третьи входы элементов 19-20 И. Однако открытым по двум входам будет только элемент 19 И, через который синхронизирующий импульс проходит на выход 152 модуля 1 и через вход 160 модуля 3 поступает на одни входы элементов 38 и 39 И, состоянием которых управляет триггер 27.
Открытым по одному входу будет только элемент 39 И, так как на один из его входов подается высокий потенциал с инверсного выхода триггера 27, находящегося в исходном состоянии.
В результате этого синхронизирующий импульс с входа 160 проходит элемент 39 И, и поступает на вход фиксированной ячейки памяти ПЗУ 35, где хранится опорный адрес базы данных сервера, отведенной для хранения идентификационных данных граждан из сформированных анкет, заверенных электронно-цифровой подписью оператора.
Тот же синхронизирующий импульс с выхода элемента 39 И задерживается элементом 41 на время считывания кода из ПЗУ 35 и, во-первых, поступает на синхронизирующий вход регистра 36, занося в него опорный адрес записи идентификационных данных граждан сформированных анкет в базе данных сервера.
Во-вторых, этот же импульс поступает на единичный вход триггера 37 и устанавливает его в единичное состояние, при котором элемент 39 И будет закрыт, а элемент 38 И – открыт.
Тем самым будет подготовлена цепь прохождения следующего синхронизирующего импульса с входа 160 через элемент 39 И.
И, наконец, в-третьих, импульс с выхода элемента задержки 41 проходит элемент 40 ИЛИ, вновь задерживается элементом 42 на время занесения кода адреса в регистр 36 и с выхода 162 модуля 3 поступает на вход 176 модуля 5.
Код адреса записи идентификационных данных граждан заверенной анкеты с выхода 161 модуля 3 выдается на вход 175 модуля 5 и далее на один вход сумматора 65, к другому входу которого подключен выход счетчика 66, соединенный также с одним входом компаратора 67, на другой вход которого постоянно подан «нулевой код».
Синхронизирующий импульс с входа 166, во-первых, сразу же через элемент 69 ИЛИ поступает на синхронизирующий вход сумматора 65, который суммирует код опорного адреса с входа 175 с нулевым кодом счетчика 66, находящегося к этому моменту времени в исходном состоянии, и выдает оставшийся без изменения код адреса записи на вход элементов 74 И группы.
Во-вторых, этот же импульс проходит элемент 71 ИЛИ и поступает на прямой вход триггера 68, устанавливая последний в единичное состояние, при котором высоким потенциалом с прямого выхода открываются элементы 74 И группы по другому входу, подключая тем самым выход сумматора 65 к выходу 179.
В результате этого опорный адрес записи с выхода 179 модуля 5 через вход 183 модуля 6 проходит элементы 85 ИЛИ группы, выдается на адресный 140 выход системы.
В-третьих, синхронизирующий импульс с выхода элемента 42 модуля 3 задерживается элементом 43 на время формирования итогового кода на адресном 140 выходе системы и через выход 163 модуля 3, вход 177 модуля 5 и выход 180 модуля 5 поступает на вход 186 модуля 6, проходит элемент 86 ИЛИ и выдается на выход 142 системы в качестве сигнала управления записью.
Этот сигнал поступает на вход первого канала прерывания сервера базы данных, по которому сервер переходит на подпрограмму записи содержимого модуля 9 с выхода 141 системы в базу данных по адресу, сформированному на выходе 140 системы.
Кроме того, импульс с входа 177 модуля 5 поступает на счетный вход счетчика 66, фиксируя первую запись, а также после задержки элементом 79 на время записи данных в базу данных системы данный импульс проходит элемент 72 ИЛИ, устанавливая триггер 68 в исходное состояние. Возвращаясь в исходное состояние, триггер 68 закрывает элементы 74 И группы по одному входу и, тем самым, отключает выход сумматора 65 от адресного 140 выхода системы.
Таким образом, в базе данных системы формируются два раздельных массива анкет. Один из них представляет собой набор черновых анкет, с которыми оператор может продолжать работу, согласовывая их содержание с гражданами в случаях отсутствия у последних каких-либо необходимых идентификационных данных, а второй массив представляет собой набор заверенных анкет идентификационных данных, который должен быть отправлен для контроля и проверки в компетентные органы.
С этой целью оператор нажимает кнопку «Выдача заверенных анкет» на клавиатуре своего автоматизированного рабочего места и на вход 132 системы поступает синхронизирующий сигнал, который через вход 146 модуля 1 поступает на прямой вход триггера 21 модуля 1 и устанавливает его в единичное состояние, при котором высоким потенциалом с прямого входа будут открыты элементы 19 и 20 И. Однако открытым по второму входу будет только элемент 20 И, поскольку на его второй вход подан высокий разрешающий потенциал с выхода 241 дешифратора 16, так как в регистре 15 установлен код второго режима работы системы.
Синхронизирующий импульс с входа 146 проходит также элемент 22 ИЛИ, задерживается элементом 23 на время срабатывания триггера 21 и далее проходит через элемент 20 И на выход 151 модуля 1, откуда поступает на вход 178 модуля 5.
С входа 178 модуля 5 синхронизирующий импульс, во-первых, через элемент 71 ИЛИ поступает на единичный вход триггера 68, устанавливая его в единичное состояние, при котором высоким потенциалом с прямого выхода открываются элементы 74 И группы по другому входу, подключая тем самым выход сумматора 65 к выходу 179.
В результате этого адрес последней записи, сохраненной в сумматоре 65, с выхода 179 модуля 5 поступает на вход 183 модуля 6 и далее через элементы 85 ИЛИ группы выдается на адресный 140 выход системы.
Во-вторых, синхронизирующий импульс с входа 178 задерживается элементом 78 на время срабатывания триггера 68 и через элемент 73 ИЛИ выдается на выход 181 модуля 5, откуда проходит на вход 187 модуля 6, проходит элемент 87 ИЛИ и выдается на выход 143 в качестве сигнала управления считыванием анкетных данных граждан. С выхода 143 системы сигнал поступает на вход второго канала прерывания сервера базы данных.
По этому сигналу сервер переходит на подпрограмму считывания содержимого ячейки базы данных по указанному на выходе 143 адресу и выдачи данных первой анкеты.
Кроме того, синхронизирующий импульс с выхода элемента 73 ИЛИ задерживается элементом 77 на время считывания данных из базы данных сервера и, во-первых, через элемент 70 ИЛИ поступает на установочный вход сумматора 65, сбрасывая его в исходное состояние.
Во-вторых, этот импульс поступает на вычитающий вход реверсивного счетчика 66, уменьшая его показания на единицу.
В-третьих, данный импульс задерживается элементом 75 на время срабатывания реверсивного счетчика 66 и поступает на синхронизирующий вход компаратора 67.
Компаратор 67 сравнивает показания реверсивного счетчика 66 с нулевым кодом, подаваемым на его другой вход, и пока показания счетчика 66 больше нулевого кода, то на выходе А компаратора 67 формируется сигнал, который, во-первых, через элемент 69 ИЛИ поступает на синхронизирующий вход сумматора 65, который по этому сигналу суммирует код опорного адреса с входа 175 с уменьшенными на единицу показаниями реверсивного счетчика 66 и выдает итоговый адрес на адресный 140 выход системы.
Во-вторых, этот же импульс задерживается элементом 76 задержки на время срабатывания сумматора 65, проходит элемент 73 ИЛИ и с выхода 181 модуля 5 проходит на вход 187 модуля 6, где проходит элемент 87 ИЛИ и выдается на выход 143 в качестве очередного сигнала управления считыванием данных.
По этому сигналу сервер вновь переходит на подпрограмму считывания содержимого ячейки базы данных сервера по указанному на выходе 140 адресу и выдачи очередной записи анкетных данных граждан на средства отображения и печати (не показаны).
Кроме того, синхронизирующий импульс с выхода элемента 73 ИЛИ вновь задерживается элементом 77 на время считывания данных из базы данных и, во-первых, вновь через элемент 70 ИЛИ поступает на установочный вход сумматора 65, сбрасывая его в исходное состояние.
Во-вторых, он вновь поступает на вычитающий вход реверсивного счетчика 66, уменьшая его показания на единицу.
В-третьих, он задерживается элементом 75 на время срабатывания реверсивного счетчика 66 и поступает на синхронизирующий вход компаратора 67.
Компаратор 67 вновь сравнивает показания реверсивного счетчика 66 с нулевым кодом, подаваемым на его другой вход, и пока показания счетчика 66 больше нулевого кода, то на выходе А компаратора 67 формируется сигнал, который, во-первых, через элемент 69 ИЛИ поступает на синхронизирующий вход сумматора 65, который по этому сигналу суммирует код опорного адреса с входа 175 с уменьшенными на единицу показаниями реверсивного счетчика 66 и выдает итоговый адрес на адресный 140 выход терминала.
Описанный процесс считывания анкетных данных граждан из базы данных сервера продолжается до тех пор, пока компаратор 67 не зафиксирует факт равенства нулю показаний реверсивного счетчика 66, свидетельствующего о том, что данные всех анкет с идентификационными данными граждан выданы на средства отображения и печати.
Этот факт будет подтвержден выдачей импульса на выход В компаратора 67, который поступает на установочные входы реверсивного счетчика 66, сумматора 65 и триггера 68.
Аналогичным образом система работает и при выдаче для документирования черновиков анкетных данных граждан.
Таким образом, введение новых модулей и новых конструктивных связей позволило существенно повысить надежность и быстродействие работы системы путем формирования идентификационных данных граждан для изготовления паспортно-визовых документов нового поколения в реальном масштабе времени.
Источники информации
1. Патент США 5136708, М. кл. G06F 15/16, 1992.
2. Патент США 5129083, М. кл. G06F 12/00, 15/40, 1992 (прототип).
Формула изобретения
Автоматизированная система подготовки идентификационных данных граждан для изготовления паспортно-визовых документов нового поколения, содержащая модуль выбора выполняемых задач, информационный и тактирующий входы которого являются первыми информационным и тактирующими входами системы, при этом информационный вход модуля выбора выполняемых задач предназначен для приема кода выбираемых для решения задач, а тактирующий вход модуля выбора выполняемых задач предназначен для приема синхронизирующих сигналов занесения кодов выбираемых для решения задач в модуль выбора выполняемых задач, модуль интеграции сигналов записи и считывания записей базы данных сервера, адресный выход которого является адресным выходом системы, предназначенным для выдачи адресов записи и считывания анкетных данных граждан на адресный вход сервера базы данных, первый синхронизирующий выход модуля интеграции сигналов записи и считывания записей базы данных сервера является первым синхронизирующим выходом системы, предназначенным для выдачи сигналов управления на вход первого канала прерывания сервера базы данных, а второй синхронизирующий выход модуля интеграции сигналов записи и считывания записей базы данных сервера является вторым синхронизирующим выходом системы, предназначенным для выдачи сигналов управления на вход второго канала прерывания сервера базы данных, модуль выбора типа анкеты граждан для редактирования, информационный вход которого является вторым информационным входом системы, предназначенным для приема кода выбранного типа анкеты для редактирования оператором, модуль селекции сигналов управления формированием анкет граждан, информационный вход которого является третьим информационным входом системы, предназначенным для приема кодов режима работы системы, синхронизирующий вход модуля селекции сигналов управления формированием анкет граждан является первым синхронизирующим входом системы, предназначенным для приема сигналов занесения кодов режимов работы системы в модуль селекции сигналов управления формированием анкет граждан, счетный вход модуля селекции сигналов управления формированием анкет граждан является счетным входом системы, предназначенным для приема сигналов формирования кода режима работы системы, а вычитающий вход модуля селекции сигналов управления формированием анкет граждан является вычитающим входом системы, предназначенным для приема сигналов формирования кода режима работы системы, и модуль редактирования анкет граждан первый информационный вход которого соединен с информационным выходом модуля выбора типа анкеты граждан для редактирования, а первый синхронизирующий вход модуля редактирования анкет граждан подключен к синхронизирующему выходу модуля выбора типа анкеты граждан для редактирования, второй информационный вход модуля редактирования анкет граждан является четвертым информационным входом системы, предназначенным для приема данных анкеты со сканирующего устройства, третий информационный вход модуля редактирования анкет граждан является пятым информационным входом системы, предназначенным для приема данных анкеты фотокамеры, а четвертый информационный вход модуля редактирования анкет граждан является шестым информационным входом системы, предназначенным для приема данных черновых анкет из базы данных сервера, при этом второй синхронизирующий вход модуля редактирования анкет граждан является вторым синхронизирующим входом системы, предназначенным для приема синхронизирующих сигналов со сканирующего устройства, третий синхронизирующий вход модуля редактирования анкет граждан является третьим синхронизирующим входом системы, предназначенным для приема синхронизирующих сигналов с фотокамеры, а информационный выход модуля редактирования анкет граждан является информационным выходом системы, предназначенным для выдачи анкетных данных граждан на информационный вход сервера базы данных, отличающаяся тем, что система содержит модуль селекции опорного адреса анкет-черновиков граждан в базе данных сервера, вход которого соединен с первым синхронизирующим выходом модуля выбора выполняемых задач, модуль формирования текущих адресов анкет-черновиков граждан в базе данных сервера, информационный вход которого подключен к информационному выходу модуля селекции опорного адреса анкет-черновиков граждан в базе данных сервера, первый синхронизирующий вход модуля формирования текущих адресов анкет-черновиков граждан в базе данных сервера соединен с первым синхронизирующим выходом модуля селекции опорного адреса анкет-черновиков граждан в базе данных сервера, второй синхронизирующий вход модуля формирования текущих адресов анкет-черновиков граждан в базе данных сервера подключен ко второму синхронизирующему выходу модуля селекции опорного адреса анкет-черновиков граждан в базе данных сервера, а тактирующий вход модуля формирования текущих адресов анкет-черновиков граждан в базе данных сервера соединен со вторым синхронизирующим выходом модуля выбора выполняемых задач, при этом информационный выход модуля формирования текущих адресов анкет-черновиков граждан в базе данных сервера подключен к первому информационному входу модуля интеграции сигналов записи и считывания записей базы данных сервера, первый синхронизирующий выход модуля формирования текущих адресов анкет-черновиков граждан в базе данных сервера соединен с первым синхронизирующим входом модуля интеграции сигналов записи и считывания записей базы данных сервера, а второй синхронизирующий выход модуля формирования текущих адресов анкет-черновиков граждан в базе данных сервера подключен ко второму синхронизирующему входу модуля интеграции сигналов записи и считывания записей базы данных сервера, модуль селекции опорного адреса сформированных анкет граждан в базе данных сервера, вход которого соединен с третьим синхронизирующим выходом модуля выбора выполняемых задач, модуль формирования текущих адресов сформированных анкет граждан в базе данных сервера, информационный вход которого подключен к информационному выходу модуля селекции опорного адреса анкет-черновиков граждан в базе данных сервера, первый синхронизирующий вход модуля формирования текущих адресов сформированных анкет граждан в базе данных сервера соединен с первым синхронизирующим выходом модуля селекции опорного адреса сформированных анкет граждан в базе данных сервера, второй синхронизирующий вход модуля формирования текущих адресов сформированных анкет граждан в базе данных сервера подключен ко второму синхронизирующему выходу модуля селекции опорного адреса сформированных анкет граждан в базе данных сервера, а тактирующий вход модуля формирования текущих адресов сформированных анкет граждан в базе данных сервера соединен с четвертым синхронизирующим выходом модуля выбора выполняемых задач, при этом информационный выход модуля формирования текущих адресов сформированных анкет граждан в базе данных сервера подключен ко второму информационному входу модуля интеграции сигналов записи и считывания записей базы данных сервера, первый синхронизирующий выход модуля формирования текущих адресов сформированных анкет граждан в базе данных сервера соединен с третьим синхронизирующим входом модуля интеграции сигналов записи и считывания записей базы данных сервера, а второй синхронизирующий выход модуля формирования текущих адресов сформированных анкет граждан в базе данных сервера подключен к четвертому синхронизирующему входу модуля интеграции сигналов записи и считывания записей базы данных сервера, при этом первый синхронизирующий выход модуля селекции сигналов управления формированием анкет граждан соединен с синхронизирующим входом модуля выбора типа анкеты граждан для редактирования, второй синхронизирующий выход модуля селекции сигналов управления формированием анкет граждан подключен ко второму тактирующему входу модуля выбора выполняемых задач, третий синхронизирующий выход модуля селекции сигналов управления формированием анкет граждан является третьим синхронизирующим выходом системы, предназначенным для выдачи сигналов управления на вход третьего канала прерывания сервера базы данных, а управляющие выходы группы выходов модуля селекции сигналов управления формированием анкет граждан соединены с соответствующими управляющими входами группы входов модуля редактирования анкет граждан.
РИСУНКИ
|