Патент на изобретение №2367932

Published by on




РОССИЙСКАЯ ФЕДЕРАЦИЯ



ФЕДЕРАЛЬНАЯ СЛУЖБА
ПО ИНТЕЛЛЕКТУАЛЬНОЙ СОБСТВЕННОСТИ,
ПАТЕНТАМ И ТОВАРНЫМ ЗНАКАМ
(19) RU (11) 2367932 (13) C2
(51) МПК

G01N15/02 (2006.01)

(12) ОПИСАНИЕ ИЗОБРЕТЕНИЯ К ПАТЕНТУ

Статус: по данным на 18.08.2010 – может прекратить свое действие

(21), (22) Заявка: 2007128501/28, 24.07.2007

(24) Дата начала отсчета срока действия патента:

24.07.2007

(43) Дата публикации заявки: 27.01.2009

(46) Опубликовано: 20.09.2009

(56) Список документов, цитированных в отчете о
поиске:
SU 1376002 A1, 23.02.1988. RU 2023254 C1, 15.11.1994. SU 972334 A1, 03.04.1997. WO 9712222 A2, 03.04.1997. SU 1800318 A1, 07.03.1993.

Адрес для переписки:

456770, Челябинская обл., г. Снежинск, ул. Васильева, 13, ФГУП “РФЯЦ-ВНИИТФ имени академика Е.И. Забабахина”, отдел интеллектуальной собственности, Г.В. Бакалову

(72) Автор(ы):

Гвоздик Михаил Юрьевич (RU),
Ульянов Сергей Михайлович (RU)

(73) Патентообладатель(и):

Российская Федерация, от имени которой выступает государственный заказчик – ФЕДЕРАЛЬНОЕ АГЕНТСТВО ПО АТОМНОЙ ЭНЕРГИИ (RU),
Федеральное государственное унитарное предприятие “РОССИЙСКИЙ ФЕДЕРАЛЬНЫЙ ЯДЕРНЫЙ ЦЕНТР – ВСЕРОССИЙСКИЙ НАУЧНО-ИССЛЕДОВАТЕЛЬСКИЙ ИНСТИТУТ ТЕХНИЧЕСКОЙ ФИЗИКИ ИМЕНИ АКАДЕМИКА Е.И. ЗАБАБАХИНА” (RU)

(54) ИМПАКТОР РАДИОМЕТРИЧЕСКИЙ

(57) Реферат:

Изобретение относится к устройствам и может быть использовано для отбора взвешенных частиц из воздуха и разделения их по фракциям известных размеров. Импактор радиометрический содержит корпус с измерительной камерой, включающей чувствительный элемент с накопительным экраном, установленный на входе перпендикулярно анализируемому потоку, дополнительно содержит не менее чем одну измерительную камеру, включающую чувствительный элемент с накопительным экраном и установленную плоскостью чувствительного элемента к выходной части предыдущей измерительной камеры, при этом чувствительные элементы выполнены в виде детекторов излучений, расположенных с усилителями сигналов на монтажных пластинах, и выходную измерительную камеру, снабженную фильтром и упругой мембраной из газонепроницаемого материала с перфорацией в центральной части, перекрываемой фильтром, установленным на ней и контактирующим с выходным детектором при отсутствии анализируемого потока. Техническим результатом изобретения является измерение спектра радиоактивных аэрозолей непосредственно на месте пробоотбора, без извлечения накопительных экранов и определения спектра частиц по активности фракций с определением их массы. 3 ил.

Изобретение относится к устройствам отбора взвешенных частиц (аэрозоля) из воздуха и разделения их по фракциям известных размеров и может быть применено для анализа высокодисперсных аэрозолей и предназначено для измерения спектра радиоактивных аэрозолей в опасных труднодоступных объектах.

Известно техническое решение по заявке Японии 54-27157 от 08.12.1972 г., МКИ G01N 15/02, под названием «Устройство для измерения концентрации аэрозольных частиц в газовом потоке».

Недостатком известного устройства является невозможность получения данных о спектре аэрозольных частиц ввиду того, что это устройство является однокаскадным, использует внешний источник излучений для определения массы осадка, что создает мешающий фон излучения, а детектор, из-за расположения на значительном расстоянии от накопительной пластины не обладает высокой чувствительностью при регистрации излучений с малой длиной пробега частиц.

Известно также устройство, описанное в авторском свидетельстве СССР 1376002 от 22.09.1986 г., МКИ G01N 15/02 под названием «Устройство для измерения массы и счетной концентрации частиц в потоке жидкости или газа», содержащее корпус с измерительной камерой, включающей чувствительный элемент с накопительным экраном, установленный на входе перпендикулярно анализируемому потоку, и выходной детектор с усилителем сигналов.

Недостатком известного технического решения является его ограниченные эксплуатационные возможности, обусловленные невозможностью измерения спектрального распределения частиц аэрозольного потока, селективного измерения радиоактивных аэрозолей на фоне других частиц и измерения размеров мелких частиц, т.к. эхо-сигнал от их удара о детектор недостаточен для регистрации, что не обеспечивает высокой точности измерений. Кроме того, в зоне соударения частиц с детектором возникает «прилипание» некоторых частиц, искажающих сигнал от удара новых частиц, также снижающих точность измерений.

Задачей заявляемого изобретения является создание импактора, имеющего расширенные эксплуатационные возможности и обеспечивающего повышение точности, оперативности и дистанционность измерений спектра радиоактивных аэрозолей. Это достигается тем, что импактор радиометрический, содержащий корпус с измерительной камерой, включающей чувствительный элемент с накопительным экраном, установленный на входе перпендикулярно анализируемому потоку, дополнительно содержащий не менее чем одну измерительную камеру, включающую чувствительный элемент с накопительным экраном и установленную плоскостью чувствительного элемента к выходной части предыдущей измерительной камеры, при этом чувствительные элементы выполнены в виде детекторов излучений, расположенных с усилителями сигналов на монтажных пластинах, и выходную измерительную камеру, снабженную фильтром и упругой мембраной из газонепроницаемого материала с перфорацией в центральной части, перекрываемой фильтром, установленным на ней и контактирующим с выходным детектором при отсутствии анализируемого потока.

Технический результат заключается в том, что удалось обеспечить измерение спектра радиоактивных аэрозолей непосредственно на месте пробоотбора путем непосредственного осаждения фракций частиц на регистрирующую поверхность детекторов излучений с необходимым удалением детекторов друг от друга для уменьшения перекрестного влияния активности накопленных осадков на соседние детекторы, а также за счет перевода импактора из режима пробоотбора в режим измерения с определением массы аэрозольных фракций, определением спектра частиц по активности осадков (фракций) и обеспечить таким образом возможность дистанционного цикла пробоотбор – измерение без извлечения импактора из зоны измерений после каждого цикла измерений.

В результате проведенного заявителем анализа уровня техники, включающего поиск по патентным и научно-техническим источникам информации и выявление источников, содержащих сведения об аналогах заявленного изобретения, не обнаружен аналог, характеризующийся признаками, идентичными всем существенным признакам заявленного изобретения, а определение из перечня выявленных аналогов прототипа, как наиболее близкого по совокупности признаков аналога, позволил выявить совокупность существенных по отношению к усматриваемому заявителем техническому результату отличительных признаков в заявленном объекте, изложенных в формуле изобретения.

Следовательно, заявленное изобретение соответствует требованию «новизна» по действующему законодательству.

Для проверки соответствия заявленного изобретения условию изобретательского уровня заявитель провел дополнительный поиск известных решений с целью выявления признаков, совпадающих с отличительными от прототипа признаками заявленного изобретения, результаты которого показывают, что заявленное изобретение не следует для специалиста явным образом из известного технического уровня техники.

Следовательно, заявленное изобретение соответствует требованию «изобретательский уровень».

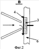
На фиг.1 представлен общий вид предлагаемого устройства, на фиг.2 – вид В, на фиг.3 – выходная измерительная камера.

Устройство (фиг.1) содержит корпус 1 с измерительными камерами 2 с чувствительным элементом 3, выполненным в виде детектора излучений с накопительным экраном 4 (фиг.1 и 2). Чувствительный элемент 3 (детектор излучения) и усилитель сигналов 5 расположены на монтажной пластине 6 (фиг.2), которая установлена с возможностью извлечения из измерительной камеры для замены регистрирующих элементов на ней. Выходная измерительная камера снабжена упругой мембраной 7 с перфорацией в центральной части и фильтром 8 (фиг.3), установленным на упругую мембрану 7 с перекрыванием перфорации. Фильтр 8 при отсутствии анализируемого потока контактирует с чувствительным элементом 9 (далее выходной детектор) выходной измерительной камеры (фиг.3).

Работает устройство следующим образом. В определенный момент времени включается воздухозабор (не показан), который направляет поток анализируемого воздуха (на чертеже обозначен стрелками) через импактор. При этом аэрозольные частицы в соответствии с их аэродинамическими размерами осаждаются в измерительных камерах на тонких накопительных экранах 4, расположенных на поверхности чувствительных элементов 3 (детекторов излучений), так что в режиме измерений длина пробега частиц от радиоактивного вещества до чувствительного элемента 3 (детектора излучений) минимальна. В выходной измерительной камере в режиме пробоотбора мембрана 7 с фильтром 8 из-за действия на нее аэродинамического потока прогибается в сторону движения воздушного потока и отодвигает аэрозольный фильтр 8 от поверхности выходного детектора 9. Поток свободно обтекает выходной детектор 9 выходной измерительной камеры и проходит через фильтр 8 в зоне перфорации центральной части мембраны 7. Аэрозольные частицы остаются на фильтре 8, а очищенный поток отводится из корпуса 1. После выключения воздухозабора мембрана 7 возвращает фильтр 8 в первоначальное положение, обеспечивая контакт фильтра 8 с выходным детектором 9. После этого производится последовательное измерение активности осадков в измерительных камерах импактора с помощью чувствительных элементов 3 (детекторов излучений) и выходного детектора 9 в соответствующих измерительных камерах. Величина концентрации радиоактивных аэрозолей определяется как отношение полной суммарной активности во всех измерительных камерах к объему прокачанного воздуха. Спектр аэрозолей определяется в соответствии с известными из калибровки значениями диаметров отсекания для измерительных камер разделения и измеренными значениями активности в измерительных камерах. После одного цикла измерений импактор готов к следующему измерению, если масса осевших в измерительных камерах частиц меньше допустимого предела. При этом в каждом следующем измерении необходимо учитывать накопленную активность.

На предприятии изготовлен опытный образец радиометрического импактора и проведены его лабораторные испытания. В опытном образце габаритные размеры импактора составляют 200×300×70 мм, в качестве чувствительных элементов 3 (детекторов излучений) и выходного детектора 9 использованы полупроводниковые спектрометрические -детекторы марки ПДПА-1К5. Корпус импактора выполнен из латуни. Перфорированная упругая мембрана 7 выполнена из резины, фильтр 8 марки АФА-РСПЗ.

Испытания показали, что импактор радиометрический позволяет проводить измерения спектра радиоактивных аэрозолей дистанционно с большого расстояния.

Предлагаемое техническое решение может применяться при контроле техпроцессов, где возможно образование радиоактивных аэрозолей, при этом появляется возможность произвести несколько измерений без замены устройства, обеспечить безопасность проведения измерений в экологически опасной зоне.

Таким образом, вышеизложенные сведения свидетельствуют о выполнении при использовании изобретения следующей совокупности условий:

импактор радиометрический предназначен для диагностики радиоактивной аэрозольной среды, осуществляемой дистанционно непосредственно на месте пробоотбора без извлечения накопительных экранов, определения спектра частиц по активности фракций с определением их массы для заявленного изобретения в том виде, как оно охарактеризовано в формуле изобретения;

подтверждена возможность его осуществления с помощью вышеописанных конструктивных решений и способов применения;

импактор радиометрический, воплощенный в заявленном изобретении, при его осуществлении способен обеспечить достижение усматриваемого заявителем достигаемого технического результата.

Следовательно, заявленное изобретение соответствует условию «промышленная применимость».

Формула изобретения

Импактор радиометрический, содержащий корпус с измерительной камерой, включающей чувствительный элемент с накопительным экраном, установленный на входе перпендикулярно анализируемому потоку, дополнительно содержащий не менее чем одну измерительную камеру, включающую чувствительный элемент с накопительным экраном и установленную плоскостью чувствительного элемента к выходной части предыдущей измерительной камеры, при этом чувствительные элементы выполнены в виде детекторов излучений, расположенных с усилителями сигналов на монтажных пластинах, и выходную измерительную камеру, снабженную фильтром и упругой мембраной из газонепроницаемого материала с перфорацией в центральной части, перекрываемой фильтром, установленным на ней и контактирующим с выходным детектором при отсутствии анализируемого потока.

РИСУНКИ


TK4A – Поправки к публикациям сведений об изобретениях в бюллетенях “Изобретения (заявки и патенты)” и “Изобретения. Полезные модели”

Напечатано: (73) Российская Федерация, от имени которой выступает государственный заказчик ФЕДЕРАЛЬНОЕ АГЕНСТВО ПО АТОМНОЙ ЭНЕРГИИ (RU), Федеральное государственное унитарное предприятие «РОССИЙСКИЙ ФЕДЕРАЛЬНЫЙ ЯДЕРНЫЙ ЦЕНТР – ВСЕРОССИЙСКИЙ НАУЧНО-ИССЛЕДОВАТЕЛЬСКИЙ ИНСТИТУТ ТЕХНИЧЕСКОЙ ФИЗИКИ ИМЕНИ АКАДЕМИКА Е.И.ЗАБАБАХИНА» (RU)

Следует читать: (73) Российская Федерация, от имени которой выступает государственный заказчик Государственная корпорация по атомной энергии «Росатом» (Госкорпорация «Росатом») (RU), Федеральное государственное унитарное предприятие «РОССИЙСКИЙ ФЕДЕРАЛЬНЫЙ ЯДЕРНЫЙ ЦЕНТР – ВСЕРОССИЙСКИЙ НАУЧНО-ИССЛЕДОВАТЕЛЬСКИЙ ИНСТИТУТ ТЕХНИЧЕСКОЙ ФИЗИКИ ИМЕНИ АКАДЕМИКА Е.И.ЗАБАБАХИНА» (ФГУП «РФЯЦ-ВНИИТФ им. академика Е.И.Забабахина») (RU)

Номер и год публикации бюллетеня: 26-2009

Код раздела: FG4A

Извещение опубликовано: 10.10.2009 БИ: 28/2009


Categories: BD_2367000-2367999