|
|
(21), (22) Заявка: 2008110114/28, 19.03.2008
(24) Дата начала отсчета срока действия патента:
19.03.2008
(46) Опубликовано: 20.09.2009
(56) Список документов, цитированных в отчете о поиске:
Spitzer M., Gartig F. R.van Eldik «Compact, transportable, and multipurpose high-pressure unit for UV-VIS spectroscopic measurements at pressures up to 200 MPa». Rev. Sci. Instrum. 59, 1988, 9, 2092-2093. RU 2196317 C1, 10.01.2003. SU 1721326 A1, 23.03.1992. SU 1070468 A1, 30.01.1984. EP 0432332 A1, 10.06.1991.
Адрес для переписки:
142290, Московская обл., г. Пущино, ул. Институтская, 4, ООО “СКАЛ”, А.А. Сенину
|
(72) Автор(ы):
Потехин Сергей Александрович (RU), Сенин Александр Андреевич (RU), Абдурахманов Николай Нажмудинович (RU), Межбурд Евгений Вольфович (RU), Джавадов Леонид Николаевич (RU)
(73) Патентообладатель(и):
ООО “СКАЛ” (RU)
|
(54) УСТРОЙСТВО ЗАПОЛНЕНИЯ ИССЛЕДУЕМОЙ ЖИДКОСТЬЮ ИЗМЕРИТЕЛЬНЫХ КАМЕР ДЛЯ ПРИБОРОВ И УСТАНОВОК ВЫСОКОГО ДАВЛЕНИЯ
(57) Реферат:
Изобретение относится к области биотехнологии и научному приборостроению, а именно к приборам и установкам для исследования жидкостей при высоком давлении и, в частности, к устройствам, обеспечивающим удобное заполнение исследуемой жидкостью измерительных камер приборов и установок высокого давления. Предложено устройство, содержащее корпус, обтюратор, герметизирующие прокладки и прижимную гайку, при этом корпус связан с одной или несколькими измерительными камерами одним или несколькими жесткими каналами заполнения, одна часть которых соединена со своей измерительной камерой, а другая часть жестких каналов этой же камеры расположена в корпусе, при этом одна часть жестких каналов каждой из камер соединена с другой частью жестких каналов каждой из камер с помощью эластичных разделительных элементов, предпочтительно в виде трубок, расположенных в сосуде высокого давления, заполненного средой, передающей давление, и соединенного с источником давления, причем изменение внутреннего объема каждого разделительного элемента под действием давления среды, передающей давление, не больше изменения его внутреннего объема, определяемого обратимой деформацией стенок этого разделительного элемента или их прочностью в случае упругого материала стенок, при этом суммарное изменение внутреннего объема разделительных элементов для каждой измерительной камеры составляет величину не меньше изменения объема жидкости за счет ее сжатия давлением среды в общем суммарном объеме этой измерительной камеры, ее жестких каналов заполнения и ее разделительных элементов. Технический результат – упрощение устройства, обеспечение удобства эксплуатации. 4 з.п. ф-лы, 3 ил.
Изобретение относится к приборостроению для биологии, биотехнологии и биофизики, а именно к приборам и установкам для исследования жидкостей при высоком давлении, и, в частности, к устройствам, обеспечивающим удобное заполнения исследуемой жидкостью измерительных камер приборов и установок высокого давления.
Известно, что высокое давление способно существенно изменять свойства многих биологических объектов, что важно как при изучении фундаментальных вопросов молекулярной биологии и биофизики, так и в прикладном плане для нужд биотехнологии.
Практический интерес представляют измерения различных физико-химических параметров биологических жидкостей в зависимости от давления, например таких, как парциальная теплоемкость полимеров и биополимеров в разбавленных растворах, температура и теплота (энтальпия) конформационных переходов полимеров и биополимеров в растворе; оптические и спектральные характеристики жидких растворов биополимеров при различных конформационных состояниях, дилатометрические свойства исследуемых жидкостей и др.
Исследование биологических жидкостей при высоких давлениях позволяет определять характер их структурных изменений под действием высокого давления, изучать принципы самоорганизации и поддержания структуры макромолекул живых организмов, обитающих на больших глубинах, при давлениях до 1000 атм, разрабатывать технологии использования высоких давлений при ренатурации рекомбинантных белков (ферментов), получаемых в неактивной форме в виде “тел включения”, разрабатывать технологии приготовления пищевых продуктов длительного хранения с использованием высокого давления и др.
Для решения широкого спектра вышеуказанных задач необходимы измерительные приборы и установки высокого давления, позволяющие исследовать жидкости при высоких и сверхвысоких давлениях, такие как изотермические и сканирующие калориметры, спектрометры и спектрофотометры, денситометры, дилатометры и т.д.
Эти приборы и установки должны быть удобны в эксплуатации, не требовать длительных подготовительных операций перед измерениями, в частности, они должны иметь удобное устройство заполнения измерительных камер исследуемой жидкостью, позволяющее легко вводить ее в зону измерения и подавать в нее высокое давление, а также обеспечивать удобную промывку камер перед их заполнением исследуемой жидкостью.
Известно устройство заполнения измерительных камер, установленное в приборе дифференциального термического анализа (ДТА) жидкостей (N.Hiramatsu, Т.Inoue «Device for high-pressure differentilal thermal analysis for liquid samples», Rev. Sci. Instrum. 59 (1988), No.4, 671-672). Данный прибор имеет измерительный узел, размещенный в оболочке высокого давления, состоящий из двух измерительных камер в виде корпусов шприцов с установленной внутри них дифференциальной термопарой, а устройство заполнения представляет поршни этих шприцов, перемещающиеся под действием давления передающей среды.
Данное устройство неудобно при эксплуатации, так как для заполнения исследуемой жидкостью измерительных камер необходимо извлекать измерительный узел из оболочки высокого давления, вынимать поршни из измерительных камер, затем заполнять камеры исследуемой жидкостью, после чего вставлять поршни в измерительные камеры, а потом закреплять измерительный узел в сосуде высокого давления. Кроме того, подача давления посредством перемещающегося поршня не исключает взаимное проникновение исследуемой жидкости и жидкой среды, передающей давление, через микрозазоры между поршнем и стенкой шприца, что в большинстве случаев недопустимо.
На таком же принципе разработана конструкция устройства заполнения измерительной камеры (ИК-кюветы) высокого давления для инфракрасного Фурье-спектрометра (S.Sawamura, H.Kamaya «A high-pressure cylindricalinternal reflection cell for infrared spectroscopy», Rev. Sci. Instrum. 61, 1990, No.6, 1756-1757). Данная конструкция устройства заполнения измерительной камеры (кюветы) исследуемой жидкостью неудобна тем, что для ее заполнения необходимо отсоединять магистраль высокого давления, откачивать жидкую среду, передающую давление, и извлекать стеклянный поршень. Кроме того, в данном случае подача давления посредством перемещающегося поршня не исключает взаимного проникновения исследуемой жидкости и жидкой среды, передающей давление, через микрозазоры между поршнем и стенкой шприца, что в большинстве случаев недопустимо.
Такими же недостатками обладает аналогичная конструкция устройства заполнения измерительной камеры высокого давления для оптического исследования жидкости (К.Наrа, I.Morishima «High-pressure cell and its inner capsule for optical studies of liquids», Rev. Sci. Instrum. 59, 1988, No.11, 2397-2398). В известной конструкции кварцевая капсула с поршнем, заполненная исследуемой жидкостью, вставляется в камеру высокого давления, соединенную с магистралью, подающей в камеру жидкую среду, передающую давление. Данная конструкция устройства заполнения измерительной камеры исследуемой жидкостью неудобна тем, что для ее заполнения необходимо отсоединять магистраль высокого давления, откачивать жидкую среду, передающую давление, извлекать кварцевую кювету, вынимать из нее поршень. Кроме того, в данном случае подача давления посредством перемещающегося поршня не исключает взаимного проникновения исследуемой жидкости и жидкой среды, передающей давление, через микрозазоры между поршнем и стенкой кварцевой кюветы, что в большинстве случаев недопустимо. Еще одни недостатком является то, что в комплекте прибора необходимо иметь специальные сменные кварцевые кюветы с притертым поршнем.
Известно устройство заполнения измерительных камер высокого давления, представляющее поршень, вставляемый в измерительную камеру, и винт, закрывающий камеру. Данное устройство заполнения измерительных камер установлено в дифференциальном изотермическом калориметре высокого давления (A.Ousegui, S.Zhu, H.S.Ramaswamy and A.Le Bail “Modelling of a high pressure calorimetr. Application to the measurement of a model food (tylose)”. Journal of Thermal Analyses and Calorimetry. Vol.86, 2006, 1, 243-248).
Этот известный дифференциальный калориметр высокого давления содержит две измерительные калориметрические камеры (ячейки). Каждая из них представляет собой сосуд высокого давления в виде полого цилиндрического стакана с внутренним диаметр 10 мм и внешним диаметр 20 мм, основание которого герметично соединено жестким капилляром высокого давления с устройством подачи давления. При этом отверстие стакана, закрываемое двумя поршнями и винтом, предназначенное для размещения в камерах образцов, предварительно заключаемых в мягкую пластиковую оболочку, является устройством заполнения. Причем жидкая среда, передающая давление, поступает в каждую измерительную камеру и передает давление на образец через мягкую полимерную оболочку.
Недостатки данного устройства заполнения в известном калориметре следующие. Многие мягкие полимеры (например, фторопласт), из которых изготавливаются полимерные оболочки образцов, имеют в рабочем диапазоне температур исследования биологических объектов от -20 до +120°С фазовые переходы, которые могут исказить измеряемый тепловой эффект в образце в исследуемом диапазоне температур. Кроме того, каждый раз для размещения образцов в измерительных камерах необходимо освобождать камеру от жидкой среды, передающей давление на образцы, что неудобно при эксплуатации прибора, а также влияет на воспроизводимость его показаний при многократных измерениях. Данное устройство заполнения в известном калориметре неудобно для исследования жидких образцов, так как полимерную оболочку с жидким образцом сложно герметизировать.
Кроме того, может быть плохая воспроизводимость результатов измерения из-за переменного термического сопротивления между полимерной оболочкой, заполненной образцом, и стенками измерительной камеры, как в процессе измерения, так и при перезаправке калориметра исследуемым образцом. Недостатком также является то, что для проведения измерений на приборе необходимы специально изготовленные мягкие полимерные оболочки для исследуемых образов.
Известен высокотемпературный дифференциальный сканирующий калориметр для работы при высоких давлениях (R.Sandrock «High-pressure high-temperature differential scanning calorimetr», Rev. Sci. Instrum. 53, 1982, No.7, 1079-1081), в котором образец, в основном твердый, помещается в стальную капсулу с алюминиевой мембраной, зажатой между цилиндрическим корпусом капсулы и ее крышкой. Капсула устанавливается в измерительную камеру, расположенную в блоке высокого давления, соединенного с магистралью, по которой в блок подается жидкая среда, передающая давление. Давление на образец передается через алюминиевую мембрану.
Недостатком этого устройства является сложность перезаправки устройства. Для размещения исследуемой жидкости в измерительной камере известного устройства необходимо залить исследуемую жидкость в капсулу, разобрать узел подачи давления, поместить в измерительную камеру капсулу, подать в камеру жидкую среду под давлением. В данной конструкции также может быть плохая воспроизводимость результатов измерения из-за переменного термического сопротивления между капсулой, заполненной жидкой средой, и стенками измерительной камеры, как в процессе измерения, так и при перезаправке калориметра исследуемым образцом. Недостатком также является то, что для проведения измерений на приборе необходимы специальные металлические капсулы с гибкой мембраной, достаточно сложные в изготовлении.
Известна капсульная оптическая ячейка высокого давления для фотохимических исследований и спектрометрических измерений в видимом и УФ-диапазонах при давлении до 200 МПа (2000 атм) (S.Wieland, R.Van Eldik «Apparaturs for filling the pillbox high-pressure optical cell under unaerobic condition», Rev. Sci. Instrum. 60, 1989, .5, 955-956), которая выполнена в виде двух цилиндрических частей, входящих плотно одна в другую. Ячейка заполняется исследуемой жидкостью через отверстие в боковой стенке и закрывается поворотом одного из цилиндров на 180°. После чего ячейка помещается в измерительную камеру, заполняемую средой, передающей давление. При подаче давления цилиндрические части ячейки входят одна в другую, передавая давление на исследуемую жидкость.
Недостатком подобных устройств является то, что для исследования жидких образцов необходимы специальные капсулы, достаточно сложные в изготовлении. При этом они могут не обеспечивать полной изолированности исследуемых образцов от жидкой среды, передающей давление.
Наиболее близкой к предлагаемому решению является конструкция устройства заполнения измерительной камеры высокого давления для оптических измерений (М.Spitzer, F.Gartig, R.van Eldik «Compact, transportable, and multipurpose high-pressure unit for UV-VIS spectroscopic measurements at pressures up to 200 MPa», Rev. Sci. Instrum. 59, 1988, 9, 2092-2093).
В известной конструкции устройством заполнения является обтюратор, входящий в отверстие корпуса измерительной камеры и уплотняемый прижимной гайкой и прокладкой. При этом диаметр входного отверстия в корпусе измерительной камеры равен или близок к внутреннему диаметру измерительной камеры. Для измерения оптических характеристик в измерительную камеру высокого давления помещают модифицированную кювету pillbox с образцом. На кювету воздействует давление жидкой среды, заполняющей измерительную камеру высокого давления, и внутренний объем разделительного тефлонового элемента, выполненного в виде цилиндра с дном. При этом разделительный элемент помещен в корпус, соединенный магистралью высокого давления с измерительной камерой высокого давления. На внешнюю часть разделительного элемента воздействует другая жидкая среда, передающая давление от насоса высокого давления.
Недостатком этого устройства является то, что для исследования жидкостей необходима специальная кювета, вставляемая в измерительную камеру высокого давления через устройство заполнения, что усложняет конструкцию прибора. Кроме того, поскольку диаметр отверстия в измерительной камере высокого давления, в которую вставляется обтюратор, велик, то усилие выдавливания обтюратора и усилие на стенки измерительной камеры при подаче давления будут значительными, что также усложняет конструкцию устройства заполнения и измерительной камеры (требуются повышенные прочностные характеристики деталей устройства заполнения и измерительной камеры).
Задачей предлагаемого изобретения является создание устройства заполнения измерительных камер приборов и установок высокого давления исследуемой жидкостью.
Технические результаты, которые могут быть получены при использовании предлагаемого изобретения, – это обеспечение удобства эксплуатации приборов и установок высокого давления без удаления жидкой среды, передающей давление, из измерительных камер при их заполнении исследуемой жидкостью, упрощение приборов или установок высокого давления за счет исключения специальных капсул, кювет и мягких оболочек, заполняемых исследуемой жидкостью, размещаемых в измерительных камерах и передающих давление среды на исследуемую жидкость, упрощение приборов или установок высокого давления за счет объединения каналов заполнения измерительных камер с разделительными элементами, передающими давление жидкой среды на исследуемую жидкость в предлагаемом устройстве заполнения, а также применения деталей устройства заполнения со сниженными прочностными характеристиками в диапазоне высоких давлений.
Кроме того, может быть обеспечено упрощение приборов или установок высокого давления за счет применением тонкостенных измерительных камер при высоком давлении, расположенных внутри конструктивного элемента предлагаемого устройства заполнения.
Для решения поставленной задачи предлагается устройство заполнения измерительных камер для приборов и установок высокого давления исследуемой жидкостью, содержащее корпус, обтюратор, герметизирующие прокладки и прижимную гайку, в котором корпус связан с одной или несколькими измерительными камерами одним или несколькими жесткими каналами заполнения, одна часть которых соединена со своей измерительной камерой, а другая часть жестких каналов этой камеры расположена в корпусе узла заполнения, при этом одна часть жестких каналов каждой из камер соединена со второй частью жестких каналов каждой из камер с помощью разделительных элементов, предпочтительно в виде трубок, расположенных в сосуде высокого давления, заполненного средой, передающей давление, и соединенного с источником давления, причем разделительные элементы, соединяющие жесткие каналы каждой измерительной камеры с жесткими каналами корпуса узла заполнения, выполнены из эластичного материала, передающего давление среды на исследуемую жидкость, расположенную в каждой измерительной камере, причем изменение внутреннего объема каждого разделительного элемента под действием давления среды, заполняющей сосуд высокого давления, не больше изменения объема этого разделительного элемента, определяемого обратимой деформацией его эластичных стенок или их прочностью в случае упругого материала стенок, при этом суммарное изменение внутреннего объема всех разделительных элементов под действием давления среды для каждой измерительной камеры составляет величину не меньше изменения объема жидкости за счет ее сжатия давлением среды в суммарном объеме этой измерительной камеры, ее жестких каналов заполнения и ее разделительных элементов.
Для снижения усилия на обтюратор жесткие каналы заполнения в предложенном устройстве выполнены в виде капиллярных отверстий.
Измерительные камеры могут быть установлены внутри или вне сосуда высокого давления.
Измерительные камеры в сосуде высокого давления находятся при том же давлении, что и разделительные элементы.
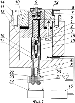
На фиг.1 представлено устройство заполнения исследуемой жидкостью измерительных камер для приборов и установок высокого давления с двумя измерительными камерами, каждая из которых имеет один канал заполнения.
На фиг.2 представлено устройство заполнения исследуемой жидкостью измерительных камер для приборов и установок высокого давления с одной измерительной камерой, имеющей два канала заполнения.
На фиг.3 представлено устройство заполнения исследуемой жидкостью измерительных камер для приборов и установок высокого давления с двумя измерительными камерами, установленными внутри сосуда высокого давления.
Устройство заполнения исследуемой жидкостью измерительных камер для приборов и установок высокого давления, представленное на фиг.1, содержит корпус 1 с жесткими верхними частями 2 и 3 каналов заполнения 4 и 5. Каналы заполнения 4 и 5 герметизированы прокладкой 6, запрессованной в обтюратор 7, который прижимается к корпусу 1 гайкой 8 через уплотнение 9. Корпус 1 закреплен на фланце 10 через уплотнение 11 с помощью винтов 12. Фланец 10 прикреплен к сосуду высокого давления 13 с помощью болтов 14. Сосуд высокого давления 13 соединен с источником высокого давления 15. В сосуде высокого давления 13 проходят нижние жесткие части 16 и 17 каналов заполнения 4 и 5.
Верхние жесткие части 2 и 3 каналов заполнения соединены с нижними жесткими частями 16 и 17 каналов заполнения посредством разделительных элементов, например, в виде эластичных трубок 18 и 19. Нижние жесткие части 16 и 17 каналов заполнения 4 и 5 соединены с толстостенными измерительными камерами высокого давления 20 и 21, рядом с которыми или на которых располагаются измерительные датчики 22 и 23, соединенные с измерителем 24 прибора или установки для исследования жидкостей при высоком давлении.
Устройство заполнения измерительных камер исследуемой жидкостью для приборов и установок высокого давления, представленное на фиг.2, содержит корпус 1 с жесткими верхними частями 2 и 3 каналов заполнения 4 и 5. Каналы заполнения 4 и 5 герметизированы прокладкой 6, запрессованной в обтюратор 7, который прижимается к корпусу 1 гайкой 8 через уплотнение 9. Корпус 1 закреплен на фланце 10 через уплотнение 11 с помощью винтов 12. Фланец 10 прикреплен к сосуду высокого давления 13 с помощью болтов 14. Сосуд высокого давления 13 соединен с источником высокого давления 15. В сосуде высокого давления 13 проходят нижние жесткие части 16 и 17 каналов заполнения 4 и 5. Верхние жесткие части 2 и 3 каналов заполнения соединены с нижними жесткими частями 16 и 17 каналов заполнения посредством разделительных элементов, например, в виде эластичных трубок 18 и 19. Нижние жесткие части 16 и 17 каналов заполнения 4 и 5 соединены с толстостенной измерительной камерой высокого давления 20, рядом с которой или на которой располагается измерительный датчик 21, соединенный с измерителем 22 прибора или установки для исследования жидкостей при высоком давлении.
Устройство заполнения исследуемой жидкостью измерительных камер для приборов и установок высокого давления, представленное на фиг.3, содержит корпус 1 с жесткими верхними частями 2 и 3 каналов заполнения 4 и 5. Каналы заполнения 4 и 5 герметизированы прокладкой 6, запрессованной в обтюратор 7, который прижимается к корпусу 1 гайкой 8 через уплотнение 9. Корпус 1 закреплен на фланце 10 через уплотнение 11 с помощью винтов 12. Фланец 10 прикреплен к сосуду высокого давления 13 с помощью болтов 14. Сосуд высокого давления 13 соединен с источником высокого давления 15. В сосуде высокого давления 13 установлены нижние жесткие части 16 и 17 каналов заполнения 4 и 5. Верхние жесткие части 2 и 3 каналов заполнения соединены с нижними жесткими частями 16 и 17 каналов заполнения посредством разделительных элементов, например, в виде эластичных трубок 18 и 19. Нижние жесткие части 16 и 17 каналов заполнения 4 и 5, соединенные с тонкостенными измерительными камерами 20 и 21, также установленными в сосуде высокого давления 13 с помощью кронштейна 22. Рядом с измерительными камерами или на них располагаются измерительные датчики 23 и 24, соединенные с измерителем 25 прибора или установки для исследования жидкостей при высоком давлении. Электрические провода датчиков выведены из сосуда высокого давления через конусное герметизирующее уплотнение 26.
Максимальное усилие, воздействующее на обтюратор, например, при давлении Р=6000 атм, составляет величину F=2PS=212 кг, при S= D2/4=1,8×10-2см2 (D=0,15 см). При D=0,1 см, F=94,2 кг, где D – внутренний диаметр каждого канала заполнения.
Предлагаемое устройство заполнения исследуемой жидкостью измерительных камер для приборов и установок высокого давления работает следующим образом.
Шприцом с длинной иглой через заправочные каналы 4 и 5 измерительные камеры 20 и 21 (или камера 20) заполняются исследуемыми жидкостями. Заполнение камер производится с обеспечением минимального остаточного объема газовой фазы в заправочных каналах 4 и 5 за счет равномерного извлечения иглы шприца из заправочных каналов при заполнении их жидкостью. При этом полностью заполняются исследуемой жидкостью объемы камер 20 и 21, объемы эластичных трубок 18 и 19, а также объемы жестких частей заправочных каналов 4 и 5. После чего входные отверстия заправочных каналов 4 и 5 зажимаются прокладкой 6 обтюратора 7, который уплотняется прижимной гайкой 8 и прокладкой 9, герметизирующей обтюратор 7.
Затем источником высокого давления 15 подается давление в сосуд 13. При этом за счет передающей среды (газа или жидкости), заполняющей сосуд высокого давления 13, и коммуникаций, соединяющих его с источником высокого давления 15, давление воздействует на эластичные трубки 18 и 19. Под его действием эластичные трубки 18 и 19 сжимаются и передают давление на исследуемые жидкости, заполняющие жесткие части заправочных каналов 4 и 5, эластичные трубки 18 и 19 и измерительные камеры 20 и 21. Датчики и измеритель регистрируют полезный сигнал при изменении параметров исследуемых жидкостей при изменении давления в рабочем диапазоне давлений прибора или установки.
При расположении измерительных камер 18 и 19 внутри сосуда высокого давления 13 (фиг.3) камеры изготавливаются тонкостенными, так как давление внутри измерительных камер и снаружи них одинаковое.
Устройство заполнения, связанное с измерительной камерой двумя или большим числом каналов заполнения, позволяет промывать измерительную камеру протоком жидкого моющего средства (растворителя) перед заполнением камеры исследуемой жидкостью.
Минимально возможный объем демпфирующей части эластичного разделительного элемента, в частности трубки, который обеспечивает равенство давлений внутри и снаружи измерительных камер, можно оценить на основании, например, следующих соотношений.
Суммарный объем заправленной анализируемой жидкости Vсум определяется следующим выражением:
Vсум=Vкам+mVкан1+n(Vкан2+Vэласт),
где Vкам – внутренний объем одной измерительной камеры;
Vкан1 – внутренний объем каждого жесткого канала данной измерительной камеры, не имеющего эластичного разделительного элемента;
Vкан2 – суммарный внутренний объем двух частей каждого жесткого канала данной измерительной камеры, имеющего эластичный разделительный элемент;
Vэласт – начальный внутренний объем каждого эластичного разделительного элемента данной измерительной камеры, соединяющего две части жесткого канала;
m – количество жестких каналов данной измерительной камеры без эластичных элементов;
n – количество жестких каналов данной измерительной камеры, состоящих из двух частей, и количество эластичных разделительных элементов, соединяющих эти части.
Поскольку коэффициент объемного сжатия материала, из которого изготовляются камеры и подводящие жесткие части каналов, много меньше коэффициента объемного сжатия заполняемой жидкости (водный раствор), можно полагать, что объем жесткой части конструкции (Vкам+mVкан1+nVкан2) не зависит от давления. В отличие от объема жесткой части объем каждой эластичной трубки в зависимости от приложенного давления способен меняться от Vэласт до критического значения Vкрит, при котором эластичная трубка начнет подвергаться необратимой деформации или разрушится.
Очевидно, что при повышении давления до величины Р суммарный объем заправленной анализируемой жидкости Vсум уменьшится на величину VсумР, где – коэффициент объемного сжатия исследуемой жидкости. Такое уменьшение объема жидкости может быть скомпенсировано только уменьшением суммарного объема nV(P) эластичных разделительных элементов (трубок) каждой измерительной камеры на величину n V(P)=n(Vэласт-V(Р))= VсумР.
При некотором давлении Ркрит величина инкремента объема V(P) каждого разделительного элемента достигнет максимума компенсационных возможностей его эластичных стенок: Vэласт-Vкрит= Vкрит= VсумРкрит/n, где Vкрит – предел допустимого изменения объема каждого эластичного элемента, определяемый обратимой деформацией его стенок или его прочностью в случае упругого материала стенок.
Дальнейшее повышение давления приведет к перепаду давлений внутри и снаружи калориметрической камеры и, возможно, к разрушению эластичного элемента при V(Р)> Vкрит. Учитывая, например, что максимальное относительное изменение объема воды в рабочем диапазоне давлений от 1 до 6000 атм не превышает 20%, соответственно максимальное изменение суммарного объема эластичных разделительных элементов измерительной камеры при изменении давления от 1атм до 6000 атм должно составлять не менее 20% от суммарного объема воды в жестких каналах, в разделительных элементах и в измерительной камере. При этом V(Р)макс должно быть не меньше, чем 0,2Vсум/n (например, при n=1, V(Р)макс не меньше 0,2Vсум; при n=2, V(Р)макс не меньше 0,1Vсум). Для других исследуемых жидкостей V(Р)макс> Vсум/n в случае наличия газовой фазы в исследуемой жидкости, и V(Р)макс = Vсум/n в случае ее отсутствия, где = Рмакс – максимальное относительное изменение объема исследуемой жидкости в максимальном диапазоне задаваемых давлений (от 1 атм до 6000 атм).
При этом Vэласт>Vкрит+Vсум/n=Vкрит/(1- )+ (Vкан2+mVкан1/n+Vкам/n)/(1- ) в случае наличия в жидкости газовой фазы или Vэласт=Vкрит+ Vсум/n=Vкрит/(1- )+ (Vкан2+mVкан1/n+Vкам/n)/(1- ) в случае ее отсутствия.
При этом V(Р)макс должно быть меньше, чем Vкрит.
Таким образом, для исключения разрушения эластичного элемента при воздействии на него высокого давления внешней среды необходимо, чтобы изменение внутреннего объема каждого эластичного элемента V(Р), заполненного исследуемой жидкостью, находилось в пределах допустимого изменения его объема Vкрит, определяемого обратимой деформацией его стенок или его прочностью в случае упругого материала стенок. При этом величина n V(Р) должна быть равна или больше (в случае наличия в жидкости газовой фазы) изменения объема жидкости за счет ее сжатия давлением среды в общем (суммарном) объеме измерительной камеры, жестких каналов устройства заполнения и эластичных элементов каждой камеры, то есть равна или больше, чем величина VсумР.
До настоящего времени простые устройства заполнения измерительных камер исследуемой жидкостью для приборов и установок высокого давления, обеспечивающие как удобство заполнения измерительных камер исследуемыми жидкостями, так и подачу в них высокого давления без прямого контакта исследуемых жидкостей со средой, передающей давление, не были известны.
По мнению авторов, из известного уровня техники не следует, что замена части жестких заправочных каналов устройства заполнения на разделительные элементы в виде эластичных элементов, например трубок обеспечит как удобство заполнения измерительных камер исследуемыми жидкостями, так и подачу в них высокого давления без контакта исследуемой жидкости со средой, передающей давление. Это утверждение обосновывается вышеприведенными соотношениями.
Кроме того, из известного уровня техники не следует, что предлагаемая конструкция устройства заполнения позволяет обеспечивать высокое давление в тонкостенных малоинерционных измерительных камерах.
В предложенном устройстве обеспечивается удобное и оперативное заполнение исследуемой жидкостью измерительных камер, а также обеспечивается подача в них высокого давления посредством воздействия давления среды на каналы заполнения измерительных камер.
Кроме того, в предлагаемой конструкции исключается контакт исследуемой жидкости с жидкой средой, передающей давление, а также обеспечивается сравнительно малое усилие на обтюратор устройства заполнения за счет малой площади контакта исследуемой жидкости под высоким давлением с поверхностью обтюратора (от 92,4 кг до 212 кг при внутреннем диаметре каналов заполнения от 1 мм до 1,5 мм и давлении до 6000 атм).
Технические результаты, которые получены при использовании предлагаемого изобретения, – это обеспечение удобства эксплуатации приборов и установок высокого давления без удаления жидкой среды, передающей давление, из измерительных камер при их заполнении исследуемой жидкостью, упрощение приборов или установок высокого давления за счет замены специальных капсул, кювет и мягких оболочек, заполняемых исследуемой жидкостью, размещаемых в измерительных камерах и передающих давление среды на исследуемую жидкостью, прямым заполнением измерительных камер исследуемой жидкостью, упрощение приборов или установок высокого давления за счет объединения каналов заполнения измерительных камер с разделительными элементами, передающими давление жидкой среды на исследуемую жидкость в предлагаемом устройстве заполнения, а также применения деталей устройства заполнения со сниженными прочностными характеристиками в диапазоне высоких давлений.
Кроме того, обеспечено упрощение приборов или установок высокого давления за счет применения тонкостенных измерительных камер при высоком давлении, расположенных внутри конструктивного элемента предлагаемого устройства заполнения.
Совокупность технических результатов, обеспечиваемых предложенным устройством заполнения, не следует явным образом из известного уровня техники.
Предложенное устройство заполнения измерительных камер исследуемыми жидкостями может быть использовано во всем многообразии приборов и установок для исследования жидкостей при высоких давлениях.
Формула изобретения
1. Устройство заполнения исследуемой жидкостью измерительных камер для приборов или установок высокого давления, содержащее корпус, обтюратор, герметизирующие прокладки и прижимную гайку, отличающееся тем, что корпус связан с одной или несколькими измерительными камерами одним или несколькими жесткими каналами заполнения, одна часть которых соединена со своей измерительной камерой, а другая часть жестких каналов этой же камеры расположена в корпусе, при этом одна часть жестких каналов каждой из камер соединена с другой частью жестких каналов каждой из камер с помощью эластичных разделительных элементов, предпочтительно, в виде трубок, расположенных в сосуде высокого давления, заполненного средой, передающей давление, и соединенного с источником давления, причем изменение внутреннего объема каждого разделительного элемента под действием давления среды, передающей давление, не больше изменения его внутреннего объема, определяемого обратимой деформацией стенок этого разделительного элемента или их прочностью в случае упругого материала стенок, при этом суммарное изменение внутреннего объема разделительных элементов под действием давления среды для каждой измерительной камеры составляет величину не меньше изменения объема жидкости за счет ее сжатия давлением среды в общем суммарном объеме этой измерительной камеры, ее жестких каналов заполнения и ее разделительных элементов.
2. Устройство по п.1, отличающееся тем, что жесткие каналы заполнения исследуемой жидкостью измерительных камер представляют собой капиллярные отверстия.
3. Устройство по п.1, отличающееся тем, что измерительные камеры установлены вне сосуда высокого давления.
4. Устройство по п.1, отличающееся тем, что измерительные камеры установлены внутри сосуда высокого давления.
5. Устройство по п.4, отличающееся тем, что измерительные камеры расположены в сосуде высокого давления при том же давлении, что и разделительные элементы.
РИСУНКИ
|
|