|
|
(21), (22) Заявка: 2008104338/28, 11.02.2008
(24) Дата начала отсчета срока действия патента:
11.02.2008
(46) Опубликовано: 10.09.2009
(56) Список документов, цитированных в отчете о поиске:
US 6561672 В2, 13.05.2003. JP 2001330686 А, 30.11.2001. US 6295251 В1, 25.09.2001. KR 20040060661 A, 06.07.2004.
Адрес для переписки:
140093, Московская обл., г. Дзержинский, а/я 48, А.И. Максимову
|
(72) Автор(ы):
Максимов Александр Иванович (RU)
(73) Патентообладатель(и):
Максимов Александр Иванович (RU)
|
(54) ЦИФЕРБЛАТ НАСТЕННЫХ ИЛИ НАПОЛЬНЫХ СТРЕЛОЧНЫХ ЧАСОВ, МЕТКА ЦИФЕРБЛАТА НАСТЕННЫХ ИЛИ НАПОЛЬНЫХ СТРЕЛОЧНЫХ ЧАСОВ
(57) Реферат:
Изобретения относятся к области часовой промышленности и направлены на расширение арсенала технических средств. Этот результат обеспечивается за счет того, что основание циферблата образовано по форме футляра для, по меньшей мере, одного оптического прибора для человека – очков, а тело метки циферблата образовано по форме оптического прибора для человека – очков. 2 н.п. ф-лы, 2 ил.
Изобретения относятся к устройствам составных частей настенных или напольных стрелочных часов (механического или электронного типов), в частности, к циферблату настенных или напольных стрелочных часов, метке циферблата настенных или напольных стрелочных часов, основанию циферблата настенных или напольных стрелочных часов и могут быть использованы, например, в часовой промышленности при изготовлении составных частей стрелочных часов – циферблата и его элементов (составных частей) – метки и основания.
Известен циферблат настенных или напольных стрелочных часов, содержащий основание циферблата в виде его тела с геометрическим центром, по меньшей мере, одну метку циферблата в виде его тела, закрепленную и размещенную на теле основания циферблата относительно геометрического центра с возможностью определения суточного времени при визуальном обозревании положения стрелок часов относительно тела метки циферблата или тел меток циферблата (US 6295251 В1). Указанное техническое решение, как наиболее близкое, как по совокупности существенных признаков, так и по достигаемому техническому результату, включая назначение, выбирается в качестве наиболее близкого аналога (прототипа) для заявляемого объекта «Циферблат настенных или напольных стрелочных часов».
Известна метка циферблата настенных или напольных стрелочных часов, содержащая тело метки (US 6295251 В1), которая не может быть признан наиболее близким аналогом (прототипом) для заявляемого объекта группы «Метка циферблата настенных или напольных стрелочных часов». В результате проведенного научно-технического и патентного поиска не удалось обнаружить технические решения – наиболее близкие аналоги, как по совокупности существенных признаков, так и по достигаемому техническому результату, включая назначение. Указанное обстоятельство найдет свое отражение как при составлении редакции и структуры описания, так и при составлении редакции формулы изобретения.
Известно основание циферблата настенных или напольных стрелочных часов, содержащее тело основания циферблата с геометрическим центром, обеспечивающее закрепление и размещение тела метки циферблата или тел меток циферблата на теле основания циферблата относительно геометрического центра с возможностью определения суточного времени при визуальном обозревании положения стрелок часов относительно тела метки циферблата или тел меток циферблата (US 6295251 В1). Указанное техническое решение, как наиболее близкое, как по совокупности существенных признаков, так и по достигаемому техническому результату, включая назначение, выбирается в качестве наиболее близкого аналога (прототипа) для заявляемого объекта группы «Основание циферблата настенных или напольных стрелочных часов».
Недостаток известных технических решений заключается в том, что циферблат настенных или напольных стрелочных часов (далее также – циферблат) в целом, а также метка циферблата и основание циферблата имеют ограниченные функциональные возможности, т.к. не обеспечивают: тело метки – функцию оптического прибора для человека – очков; тело основания циферблата – функцию футляра для, по меньшей мере, одного оптического прибора для человека – очков.
Приведенные доводы свидетельствуют об отсутствии конструктивного единства в известном техническом решении между устройствами – циферблатом в целом и его составными частями.
Заявитель полагает, что именно иное выполнение основания и метки циферблата обеспечит конструктивное единство между составными частями циферблата, расширит функциональные возможности циферблата в целом, основания и метки, обеспечит получение качественно иных потребительских свойств и расширит арсенал технических средств.
Одним из путей создания новых высокоэффективных устройств является путь, связанный с использованием имеющегося технологического оборудования, оснастки, сырья, материалов, имеющихся профессиональных навыков работников смежных отраслей промышленности, производящих товарную продукцию.
Задача, на решение которой направлены заявляемые технические решения группы, состоит в расширении арсенала технических средств определенного назначения, в частности создание новых эффективных объектов: циферблата настенных или напольных стрелочных часов, метки циферблата настенных или напольных стрелочных часов и основания циферблата настенных или напольных стрелочных часов, которые лишены указанных недостатков, имеют расширенные функциональные возможности и проявляют новые потребительские свойства.
Технический результат, который может быть при этом получен, заключается в реализации этого назначения, т.е. решение поставленной задачи по расширению арсенала технических средств определенного назначения путем создания нового циферблата настенных или напольных стрелочных часов, метки циферблата настенных или напольных стрелочных часов и основания циферблата настенных или напольных стрелочных часов с расширенными функциональными возможностями.
Сущность заявляемого устройства заключается в том, что в циферблате настенных или напольных стрелочных часов, содержащем основание циферблата в виде его тела с геометрическим центром, по меньшей мере, одну метку циферблата в виде его тела, закрепленную и размещенную на теле основания циферблата относительно геометрического центра с возможностью определения суточного времени при визуальном обозревании положения стрелок часов относительно тела метки циферблата или тел меток циферблата, согласно изобретению, тело основания циферблата образовано по форме футляра для, по меньшей мере, одного оптического прибора для человека – очков, а тело метки циферблата образовано по форме оптического прибора для человека – очков.
Сущность заявляемого устройства заключается в том, что согласно метке циферблата настенных или напольных стрелочных часов, она содержит тело метки, образованное по форме оптического прибора для человека – очков.
Сущность заявляемого устройства заключается в том, что в основании циферблата настенных или напольных стрелочных часов, содержащем тело основания циферблата с геометрическим центром, обеспечивающее закрепление и размещение тела метки циферблата или тел меток циферблата на теле основания циферблата относительно геометрического центра с возможностью определения суточного времени при визуальном обозревании положения стрелок часов относительно тела метки циферблата или тел меток циферблата, согласно изобретению, тело основания циферблата образовано по форме футляра для, по меньшей мере, одного оптического прибора для человека – очков.
Из источников информации заявителем не установлена известность влияния заявленных отличительных признаков на получение необходимого технического результата. Именно заявляемая совокупность существенных признаков каждого объекта группы обеспечивают достижение поставленной задачи, получение нового технического результата, связанного с достижением цели – расширение арсенала технических средств путем создания новых объектов с расширенными функциональными возможностями.
Сопоставительный анализ заявляемого циферблата настенных или напольных стрелочных часов с прототипом показывает, что заявляемое устройство имеет общие признаки с прототипом:
основание циферблата в виде его тела с геометрическим центром;
по меньшей мере, одну метку циферблата в виде его тела, закрепленную и размещенную на теле основания циферблата относительно геометрического центра с возможностью определения суточного времени при визуальном обозревании положения стрелок часов относительно тела метки циферблата или тел меток циферблата.
Заявляемый циферблат настенных или напольных стрелочных часов отличается от прототипа новыми признаками:
тело основания циферблата образовано по форме футляра для, по меньшей мере, одного оптического прибора для человека – очков;
тело метки циферблата образовано по форме оптического прибора для человека – очков.
Сопоставительный анализ заявляемого основания циферблата настенных или напольных стрелочных часов с прототипом показывает, что заявляемое устройство имеет общие признаки с прототипом:
тело основания циферблата с геометрическим центром, обеспечивающее закрепление и размещение тела метки циферблата или тел меток циферблата на теле основания циферблата относительно геометрического центра с возможностью определения суточного времени при визуальном обозревании положения стрелок часов относительно тела метки циферблата или тел меток циферблата.
Заявляемое основание циферблата настенных или напольных стрелочных часов отличается от прототипа новыми признаками:
тело основания циферблата образовано по форме футляра для, по меньшей мере, одного оптического прибора для человека – очков.
Касательно особенностей выполнения метки циферблата настенных или напольных стрелочных часов, то они указаны выше по тексту.
Из приведенного перечня признаков заявляемых устройств и достижения поставленной задачи наглядно видно, что заявленные технические решения группы представляют собой новую совокупность признаков, как сочетание известных и новых признаков, обеспечивающих получение нового технического результата, не известного на дату подачи заявки. Технический результат, который может быть получен при осуществлении изобретения, заключается в достижении цели по расширению арсенала технических средств для циферблата настенных или напольных стрелочных часов, метки циферблата настенных или напольных стрелочных часов, основания циферблата настенных или напольных стрелочных часов, с качественно новыми свойствами и обеспечением расширения функциональных возможностей заявленных объектов группы.
Сущность заявленных устройств характеризуется с использованием признаков, выраженных общими понятиями, в частности, каждый существенный признак объектов группы представлен на уровне функционального обобщения. Действительно, при указанном выполнении циферблата и его составных частей – основания и метки, обеспечивается реализация основной функции циферблата, достижение поставленной задачи, и при этом циферблат и его части – метка и основание, проявляют новые потребительские свойства, дополнительно к основным, и направлены на обеспечение расширения арсенала технических средств для циферблата и на расширение его функциональных возможностей. Выполнение метки циферблата характеризуется наличием существенных признаков, необходимых и достаточных для обеспечения выполнения меткой циферблата функции метки, а также функции оптического прибора для человека – очков, что позволяет расширить арсенал технических средств для метки циферблата и его функциональные возможности.
Выполнение (образование) основания циферблата характеризуется наличием существенных признаков, необходимых и достаточных для обеспечения выполнения основанием функции основания циферблата, а также функции футляра для, по меньшей мере, одного оптического прибора для человека – очков, что позволяет расширить арсенал технических средств для основания циферблата и его функциональные возможности.
В качестве материалов для изготовления циферблата и его частей – основания и метки, могут быть использованы материалы, удовлетворяющие условию – обеспечение изготовления циферблата и его частей, в частности, такими материалами, например, могут быть: металл, древесина, керамика, пластик, стекло (касаемо изготовления оптических элементов – светопрозрачное или затемненное стекло с оптическими или не оптическими свойствами), композиционные материалы, кожа, бумага (целлюлоза), а также их сочетания.
Заявляемые технические решения группы промышленно применимы, т.к. могут быть использованы в промышленности, сельском хозяйстве, здравоохранении и других отраслях экономики или в социальной сфере, где используются циферблаты стрелочных часов и их части (элементы). Заявленные технические решения группы могут быть воспроизведены в том виде, как они охарактеризованы в любом из пунктов формулы изобретения с использованием известных и доступных материалов, технологий, технологического оборудования и имеющихся навыков работников. В случае осуществления изобретения по любому из пунктов формулы изобретения действительно возможна реализация указанного выше назначения и получение требуемого технического результата.
Заявляемые технические решения группы являются новыми, т.к. они неизвестны из уровня техники на дату подачи заявки. Не известна из уровня техники совокупность существенных признаков заявленных технических решений и их влияние на получение требуемого технического результата.
Заявляемые технические решения группы имеют изобретательский уровень, т.к. для специалиста они явным образом не следуют из уровня техники. Не выявлены решения, имеющие признаки, совпадающие с их отличительными признаками, и не обнаружена известность влияния отличительных признаков на получаемый технический результат. Заявляемые объекты проявляют новые свойства, не известные в технике. Существенные признаки заявляемых объектов группы носят технический характер и идентифицируемы. Совокупность существенных признаков заявляемых объектов группы необходима и достаточна для получения требуемого технического результата. Заявляемая совокупность признаков объектов группы обеспечивает получение неожиданного, необычного сверхсуммарного технического результата, который превосходит технический результат, получаемый от каждого существенного признака в отдельности, применительно к объектам указанного назначения. Заявляемые объекты обеспечивают изменение известного уровня техники неочевидными средствами, придают объектам новые положительные свойства, удовлетворяют долговременный спрос и повышают конкурентоспособность объектов патентования. Между существенными признаками объектов группы и достигаемым техническим результатом существует причинно-следственная связь. Совокупность существенных признаков заявляемых объектов группы обеспечивает новый необычный принцип действия объектов, который является в максимальной степени эффективным для объектов указанного назначения. Заявляемые объекты группы обеспечивают возможность использования технологического оборудования, оснастки и материалов, а также имеющихся навыков персонала смежных отраслей промышленности, в частности промышленности, связанной с изготовлением оптических приборов для человека – очков широкого спектра назначения. Указанное обстоятельство обеспечивает повышение эффективности и повышение конкурентоспособности производимых объектов. Заявляемое выполнение циферблата обеспечивает достижение дополнительного технического результата, в частности, заявляемое выполнение меток циферблата и их закрепление к телу основания циферблата обеспечивает быстрый поиск необходимых очков с требуемым значением диоптрий, т.к. они могут быть размещены на теле основания циферблата в местах, соответствующих значению суточного времени, например, метка, образованная по форме очков, содержит оптические элементы с диоптрией «+3», размещена на основании в месте, соответствующем трем (пятнадцати) часам суточного времени и так далее, по аналогии. Заявляемое выполнение циферблата обеспечивает оперативный поиск необходимых очков не только одного человека, но и нескольких человек из числа, например, членов семьи, проживающих в одном помещении, например, размещение меток по форме очков определенного члена семьи на теле основания циферблата, соответствует численному значению суточного времени. Может быть образована логическая связь: место размещения (закрепления) метки на теле основания циферблата – величина диоптрий очков, или место размещения (закрепления) метки циферблата на теле основания циферблата – принадлежность очков конкретному человеку.
Таким образом, заявленные технические решения группы связаны между собой настолько, что они образуют единый изобретательский замысел, соотносятся друг с другом как целое и часть целого, соответствуют условиям патентоспособности изобретения, обеспечивают получение нового технического результата и посему заявляются в составе одной заявки.
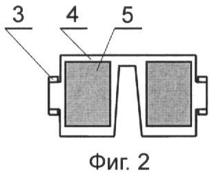
На фиг.1 показаны циферблат настенных или напольных стрелочных часов и основание циферблата настенных или напольных стрелочных часов (см. на фиг.1 без поз.3, 4, 5); на фиг.2 показана метка циферблата настенных или напольных стрелочных часов.
Циферблат настенных или напольных стрелочных часов содержит: тело метки или тела меток циферблата произвольной геометрической формы, причем тело каждой метки циферблата образовано по форме оптического прибора для человека – очков в виде, преимущественно, оправы 4 (см. фиг.1) с заушниками 3 (их может и не быть) и сквозными полостями, в которых закреплены светопрозрачные оптические элементы 5. Заушники 3 шарнирно закреплены к боковым частям оправы 4. Тело 1 (см. фиг.1) основания циферблата образовано произвольной геометрической формы с геометрическим центром (ГЦ) из древесины с размерами, например: высота – 1200 мм; ширина – 1200 мм; толщина – 20 мм. К внешней поверхности тела 1, в местах размещения меток, посредством, например, крепежных изделий 7 (шурупы, винты, болты и гайки) закреплены держатели произвольной геометрической формы, которые образованы, например, из стальных пластин 6 с пружинящими свойствами, обеспечивающими закрепление меток и их извлечение, при необходимости. Держатель может быть образован, например, кожаной накладкой 2 (см. фиг.1), которая закреплена к телу 1 клеевой композицией с формированием закладной полости для метки, между накладкой 2 и телом 1. Закреплены и размещены тела меток циферблата по форме очков (на фиг.1, условно, четыре штуки) на теле 1 основания циферблата относительно геометрического центра с возможностью определения суточного времени при визуальном обозревании положения стрелок часов относительно тел меток циферблата. Тело 1 основания циферблата образовано по форме футляра для, по меньшей мере, одного оптического прибора для человека – очков, а тело метки циферблата образовано по форме оптического прибора для человека – очков. Под очками для человека заявитель понимает оптический прибор, предназначенный для исправления таких дефектов зрения, как дальнозоркость, близорукость и астигматизм. Заявитель использует термин оптический прибор для человека – очки на уровне функционального обобщения и в связи с этим признак, касательно частных исполнений очков, не является существенным для заявляемого объема прав, т.к. не влияет на достижение технического результата.
Метка циферблата настенных или напольных стрелочных часов содержит тело метки циферблата, образованное по форме оптического прибора для человека – очков (см. фиг.2) в виде оправы 4, к которой шарнирно закреплены заушники 3 и оптические элементы 5. Данный объект группы подробно описан выше по тексту. Следует отметить, что тело метки циферблата по форме очков может быть образовано, как в виде детали, так и в виде совокупности деталей.
Основание циферблата настенных или напольных стрелочных часов содержит тело 1 основания циферблата (см. на фиг.1 без поз 3, 4, 5) с геометрическим центром (ГЦ), обеспечивающее закрепление и размещение тела метки циферблата или тел меток циферблата на теле 1 основания циферблата относительно геометрического центра с возможностью определения суточного времени при визуальном обозревании положения стрелок часов относительно тела метки циферблата или тел меток циферблата, причем тело 1 основания циферблата образовано по форме футляра для, по меньшей мере, одного оптического прибора для человека – очков. Данный объект группы подробно описан выше по тексту. Средства для закрепления меток к телу 1 основания могут быть выполнены (образованы) произвольным образом и их геометрическая форма не является существенной, т.к. признак охарактеризован на уровне функционального обобщения и при любом исполнении указанного средства будет получен один и тот же технический результат. Например, в качестве средства для закрепления меток могут быть использованы сквозные отверстия, выполненные на теле 1 основания циферблата, что позволит быстро размещать в футляре метки – очки, а также быстро их извлекать из футляра.
Таким образом, заявляемые технические решения группы обеспечивают достижение поставленной задачи и получение технического результата.
Формула изобретения
1. Циферблат настенных или напольных стрелочных часов, содержащий основание циферблата в виде его тела с геометрическим центром, по меньшей мере, одну метку циферблата в виде его тела, закрепленную и размещенную на теле основании циферблата относительно геометрического центра с возможностью определения суточного времени при визуальном обозревании положения стрелок часов относительно тела метки циферблата или тел меток циферблата, отличающийся тем, что тело основания циферблата образовано по форме футляра для, по меньшей мере, одного оптического прибора для человека – очков, а тело метки циферблата образовано по форме оптического прибора для человека – очков.
2. Метка циферблата настенных или напольных стрелочных часов, характеризующаяся тем, что содержит тело метки циферблата, образованное по форме оптического прибора для человека – очков.
РИСУНКИ
|
|