|
|
(21), (22) Заявка: 2008106512/28, 19.02.2008
(24) Дата начала отсчета срока действия патента:
19.02.2008
(46) Опубликовано: 10.09.2009
(56) Список документов, цитированных в отчете о поиске:
Испытательная техника. Справочник в 2-х т. / Под ред. В.В. Клюева, т.2. – М.: Машиностроение, 1982, с.286-289. RU 2305265 С2, 27.04.2007. RU 2234690 С2, 20.08.2004. RU 2284490 С2, 27.09.2006. RU 2171974 C2, 10.08.2001.
Адрес для переписки:
662972, Красноярский край, ЗАТО Железногорск, г. Железногорск, ул. Ленина, 52, ФГУП НПО ПМ, начальнику УИО Р.П. Туркеничу
|
(72) Автор(ы):
Орлов Александр Сергеевич (RU), Орлов Сергей Александрович (RU)
(73) Патентообладатель(и):
ФЕДЕРАЛЬНОЕ ГОСУДАРСТВЕННОЕ УНИТАРНОЕ ПРЕДПРИЯТИЕ “Научно-производственное объединение прикладной механики им. академика М.Ф. Решетнева” (RU)
|
(54) СПОСОБ ИСПЫТАНИЙ АППАРАТУРЫ КОСМИЧЕСКОГО АППАРАТА НА МЕХАНИЧЕСКИЕ ВОЗДЕЙСТВИЯ
(57) Реферат:
Изобретение относится к области испытаний и может быть использовано при отработочных и приемных испытаниях аппаратуры КА. Способ заключается в вибрационном нагружении аппаратуры на заранее заданных режимах с последующей проверкой работоспособности испытуемой аппаратуры. При этом испытания проводят в несколько этапов: сначала определяют минимальное значение собственной частоты оснастки с аппаратурой, затем формируют режим испытаний на широкополосную случайную вибрацию в дорезонансной области оснастки и нагружают аппаратуру сформированным воздействием. Затем аппаратуру размещают на сотовой панели, низшие собственные частоты которой находятся в дорезонансной области оснастки, и устанавливают сотовую панель с аппаратурой в акустическую камеру, после чего подвергают сотовую панель с аппаратурой акустическому нагружению в заданном частотном диапазоне, начиная с частоты в 2 меньше нижней собственной частоты оснастки. При этом акустическое нагружение увеличивают ступенчато от минимального значения, при котором регистрируют возникновение широкополосной случайной вибрации на сотовой панели, до уровня акустического нагружения, обеспечивающего заданный режим широкополосной случайной вибрации. Технический результат заключается в упрощении процедуры проведения испытаний. 3 ил.
В процессе разработки и изготовления аппаратура космического аппарата (КА) проходит испытания на механические воздействия. Наиболее распространенной процедурой испытаний являются вибрационные испытания на режимах, регламентируемых различной нормативной документацией. Для проведения вибрационных испытаний существует несколько общепринятых методов: испытания на фиксированных частотах, испытания методом плавного изменения частоты и испытания на широкополосную случайную вибрацию (Испытательная техника. Справочник в 2-х т. / Под ред. Клюева В.В., т.2. М.: Машиностроение, 1982, стр.286-289) – прототип.
К существенным недостаткам испытаний аппаратуры КА на вибрационные воздействия относится необходимость применять достаточно громоздкую оснастку для крепления сложной (состоящей из большого количества блоков, распределенных по поверхности КА) аппаратуры. А с учетом того что частотный диапазон воздействий на аппаратуру составляет не менее 2 кГц, то создание оснастки, не имеющей резонансов в таком частотном диапазоне, становится практически невыполнимой задачей. При этом испытания аппаратуры фактически превращаются в испытания оснастки (из-за ее большой массы и габаритов).
Задачей, на решение которой направлено заявляемое изобретение, является устранение указанных недостатков, что позволит более качественно проводить испытания аппаратуры КА. Решение этой задачи достигается тем, что испытания проводят в несколько этапов: сначала определяют минимальное значение собственной частоты оснастки с аппаратурой, затем формируют режим испытаний на широкополосную случайную вибрацию в дорезонансной области оснастки и нагружают аппаратуру сформированным воздействием, после чего аппаратуру размещают на сотовой панели, низшие собственные частоты которой находятся в дорезонансной области оснастки, и устанавливают сотовую панель с аппаратурой в акустическую камеру, после чего подвергают сотовую панель с аппаратурой акустическому нагружению в заданном частотном диапазоне, начиная с частоты в 2 меньше нижней собственной частоты оснастки, причем акустическое нагружение увеличивают ступенчато от минимального значения, при котором регистрируют возникновение широкополосной случайной вибрации на сотовой панели, до уровня акустического нагружения, обеспечивающего заданный режим широкополосной случайной вибрации.
Суть заявляемого изобретения может быть пояснена следующим образом. Большинство современных аппаратных систем КА состоит из набора более мелких блоков, которые соединены в единую систему с помощью межблочных связей. На испытания (особенно на этапе приемных испытаний) поступает достаточно протяженная система, провести испытания и подтвердить работоспособность которой необходимо в сборе. Это влечет за собой необходимость разработки тяжелой оснастки, у которой отсутствуют резонансы в задаваемом диапазоне частот, что, в свою очередь, требует более мощных вибростендов. Чаще всего создать оснастку, не имеющую резонансов в частотном диапазоне до 2 кГц (частотный диапазон, в котором требуется проводить вибрационные испытания аппаратуры КА), не удается вовсе. В результате чего процедура испытаний существенно усложняется. Как правило, первые резонансы у простой оснастки возникают уже на частотах до 400-500 Гц, а специально спроектированная оснастка имеет резонансы на частотах от 900-1000 Гц. Существуют также проблемы поддержания режимов вибрационных испытаний на частотах от 1000 Гц. В то же время для акустических испытаний наибольшие сложности заключаются в создании режимов нагружения в низкочастотных диапазонах. Поэтому предлагается вибрационные испытания по методу широкополосной случайной вибрации проводить в низкочастотной (дорезонансной для оснастки) области спектра, а акустические – в высокочастотной области. Логика таких испытаний подтверждается и физикой возникновения вибрационных нагрузок на аппаратуре. На КА источниками случайной вибрации являются акустические воздействия. Проблема заключается лишь в величине вибрационных воздействий, создаваемых акустическим полем на сотовой панели. Величина вибрационного воздействия на установленную на панель аппаратуру определяется как размерами сотовой панели, так и значениями акустических давлений. При этом для установки аппаратуры может использоваться любая технологическая панель с закладными (а их, как правило, на панелях имеется достаточное количество). Подбор необходимых геометрических размеров сотовой панели и значений акустического давления предварительно может выполняться с помощью пакетов конечно-элементного моделирования (КЭМ) типа NASTRAN, имеющих в своем составе модули акустического анализа. Расчеты позволяют определиться с необходимым амплитудно-частотным диапазоном воздействий и размерами применяемой панели. В то же время расчетная оценка даже с использованием современных КЭМ пакетов дает лишь оценку реальных уровней нагружения. В процессе испытаний на акустическое нагружение выполняют контроль вибрационного нагружения в местах крепления аппаратуры и, изменяя ступенчато величину акустического нагружения (уровни акустического давления), подбирают необходимый режим акустического нагружения, обеспечивающий в местах крепления аппаратуры необходимые значения спектральной плотности мощности виброускорений, соответствующие заданному режиму широкополосной случайной вибрации.
Пример практического исполнения
В НПО ПМ в связи с переходом на изготовление КА негерметичного исполнения возникли проблемы испытаний сложного оборудования (типа подсистем ретрансляторов), состоящего из большого числа приборов, расположенных на достаточно большой площади, и возникла необходимость изменения процедуры приемных испытаний аппаратуры. Предварительная оценка показала, что при испытаниях, например, одной из подсистем ретранслятора (РТР) масса подсистемы, состоящей из двух десятков приборов, составляет около 50 кг, а масса оснастки для проведения испытаний превышает 850 кг.
Рассмотренная методика была реализована при испытаниях подсистемы РТР, которая устанавливалась на технологической сотовой панели 1220СИ-0 размером 1400×2400 мм. Первая собственная частота панели составляет 62 Гц. Для оценки необходимых значений нагрузок была разработана конечно-элементная модель сотовой панели 1220СИ-0, состоящая из ~2000 узлов и элементов, обеспечивающая корректную оценку воздействий в диапазоне не менее 2 кГц.
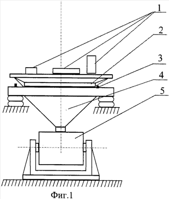
Вибрационные испытания проводились по схеме, показанной на фиг.1, где 1 – блоки РТР, 2 – оснастка для крепления блоков РТР, 3 – задающие ВИП, 4 – оснастка стенда, 5 – вибростенд. На фиг.2 показана схема испытаний сотовой панели с приборами в акустической камере, где 6 – это контрольные датчики ускорений (ABC132). Испытания проводились в реверберационной акустической камере РК660. Панель с приборами устанавливалась в центре камеры на высоте от пола ~1.5 м
На фиг.3 показаны значения спектральной плотности мощности виброускорений (СПМ), полученные по семи датчикам ускорений. Как видно из чертежа, необходимая величина СПМ в 0,2 g2/Гц обеспечена за счет проведения акустических испытаний. Испытания в диапазоне частот до 100 Гц были проведены с использованием вибростенда ВЭДС1000. Испытания в этом диапазоне не вызвали никаких проблем (первая собственная частота оснастки составляла около 400 Гц).
Из известных авторам источников информации и патентных материалов не известна совокупность признаков, сходная с совокупностью признаков заявленных объектов.
Формула изобретения
Способ испытаний аппаратуры космического аппарата на механические воздействия, заключающийся в вибрационном нагружении аппаратуры на заранее заданных режимах по методу широкополосной случайной вибрации с последующей проверкой работоспособности испытуемой аппаратуры, отличающийся тем, что испытания проводят в несколько этапов: сначала определяют минимальное значение собственной частоты оснастки с аппаратурой, затем формируют режим испытаний на широкополосную случайную вибрацию в дорезонансной области оснастки и нагружают аппаратуру сформированным воздействием, после чего аппаратуру размещают на сотовой панели, низшие собственные частоты которой находятся в дорезонансной области оснастки, и устанавливают сотовую панель с аппаратурой в акустическую камеру, после чего подвергают сотовую панель с аппаратурой акустическому нагружению в заданном частотном диапазоне, начиная с частоты в меньше нижней собственной частоты оснастки, причем акустическое нагружение увеличивают ступенчато от минимального значения, при котором регистрируют возникновение широкополосной случайной вибрации на сотовой панели, до уровня акустического нагружения, обеспечивающего заданный режим широкополосной случайной вибрации.
РИСУНКИ
|
|