|
(21), (22) Заявка: 2008129781/09, 19.12.2006
(24) Дата начала отсчета срока действия патента:
19.12.2006
(30) Конвенционный приоритет:
21.12.2005 DE 102005062655.6
(46) Опубликовано: 27.08.2009
(15) Информация о коррекции:
Версия коррекции № ( )
(48) Коррекция опубликована:
10.02.2010 Бюл. № 4
(56) Список документов, цитированных в отчете о поиске:
DE 8809629 U1, 22.09.1988. RU 2251773 C2, 10.05.2005. SU 641574 A1, 05.01.1979. DE 20007997 U1, 21.12.2000. US 4656313 A, 07.04.1997.
(85) Дата перевода заявки PCT на национальную фазу:
21.07.2008
(86) Заявка PCT:
SE 2006/050595 20061219
(87) Публикация PCT:
WO 2007/073338 20070628
Адрес для переписки:
129090, Москва, ул.Б.Спасская, 25, стр.3, ООО “Юридическая фирма Городисский и Партнеры”, пат.пов. А.В.Мицу, рег. 364
|
(72) Автор(ы):
БРЕДЕР Ян (DE)
(73) Патентообладатель(и):
РОКСТЕК АБ (SE)
|
(54) УСТРОЙСТВО ДЛЯ УПЛОТНЕНИЯ ВСТАВЛЕННЫХ КАБЕЛЕЙ, ТРУБОПРОВОДОВ ИЛИ ТРУБ
(57) Реферат:
В устройстве для уплотнения кабелей, трубопроводов или труб, вставленных в круглый кабельный ввод для стен и крыш, выполненный в виде рамки (1), предусмотрена установка выполненного в виде втулки уплотняющего корпуса (2) из упругого материала, в котором образовано четырехугольное приемное окно (7). В приемное окно (7) вставлены упругие разрезные модули (4) квадратного сечения, в которых проходят трубопроводы (3), уплотняемые зажимными элементами, воздействующими на уплотняющий корпус (2). Для увеличения окна (7) при сборке и разборке модулей (4) по меньшей мере одна граничная сторона окна (7) образует свободное пространство (9) для приема вставляемого съемного элемента (8) после установки модулей (4). Съемный элемент (8) образует часть уплотняющего корпуса (2) и выполнен в виде горизонтального сегмента части глубины уплотняющего корпуса (2). Изобретение увеличивает сборочное пространство устройства и сохраняет требуемое усилие зажима. 5 з.п. ф-лы, 12 ил.
Настоящее устройство относится к устройству для уплотнения вставленных кабелей, трубопроводов или труб в круглых кабельных вводах для стен и крыш, выполненных в виде рамки со вставленным уплотняющим корпусом, выполненным в виде втулки из упругого материала и образующим четырехугольное приемное гнездо для размещения полностью или частично упругих модулей, расположенных между кабелями, трубопроводами или трубами, при этом модули выполнены в виде разрезного элемента квадратного сечения модульной конструкции и расположены над и/или рядом друг с другом, при этом модули посредством прижимных элементов и посредством уплотняющего корпуса в плоскости рамки герметично зажимают размещенные элементы в рамке.
Известны многочисленные конструкции устройств такого типа. В DE GM 8809629 U1 показано уплотнение для кабельных вводов для круглых рамок стенных вводов, в котором уплотняющий корпус, выполненный из работающего упруго материала в виде втулки и имеющий четырехугольную приемную область для предусмотренных вставляемых разрезных элементов, выполнен с возможностью размещения кабелей и т.п., которые можно герметично зажать с помощью зажимных элементов, воздействующих на уплотняющий корпус для обеспечения непроницаемости от огня, воды и газа. Недостатком таких устройств является то, что очень трудно собрать в колонну разделительные линии отдельных модулей при сборке в имеющемся пространстве, особенно при сборке последнего ряда модулей. Кроме того, замена или разборка модулей также вызывает трудности.
Целью настоящего изобретения является усовершенствование устройства такого типа и увеличение сборочного пространства, а также сохранение требуемого усилия зажима для уплотнения, что позволяет упростить сборку.
Эта цель согласно настоящему изобретению достигается за счет того, что по меньшей мере одна граничная поверхность приемного окна для пакета модулей образована съемным элементом, который выполнен в виде сегмента уплотняющего корпуса и проходит на часть глубины уплотняющего корпуса, благодаря чему съемный элемент образует свободное пространство для сборки и может размещаться в уплотняющем корпусе для окончательной сборки посредством зажимных элементов.
Таким образом, упрощается сборка и разборка, благодаря чему появляется возможность укладывать модули в большем сборочном объеме и гарантировать необходимое уплотнение.
Преимущества такой конструкции достигаются тем, что съемный элемент уплотняющего корпуса выполнен над или под разделительными линиями модулей, расположенными друг над другом.
Для получения достаточного пространства для сборки предлагается, чтобы отделяемый съемный элемент имел 60% глубины уплотняющего корпуса.
Для облегчения сборки съемного элемента он расположен так, что в концевой области граничной поверхности приемного окна съемный элемент имеет скос в направлении установки.
Далее предлагается, что неподвижная часть уплотняющего корпуса, согласованная со съемным элементом, имеет скос в направлении установки модулей.
В одном варианте устройство выполнено так, что горизонтальная разделительная линия между уплотняющим корпусом и съемным элементом имеет градиент в направлении установки съемного элемента.
На чертежах представлен один вариант настоящего изобретения.
Фиг. 1 – схематическое представление известного устройства, имеющего рамку, уплотняющий корпус и вставленный кабель.
Фиг. 2 – модуль для установки в виде разрезного монтажного элемента.
Фиг. 3 – модуль по фиг. 2 со вставленным кабелем.
Фиг. 4 – группа модулей, сложенных для установки в приемное окно уплотняющего корпуса.
Фиг. 5 – вид в перспективе уплотняющего корпуса с установленным съемным элементом.
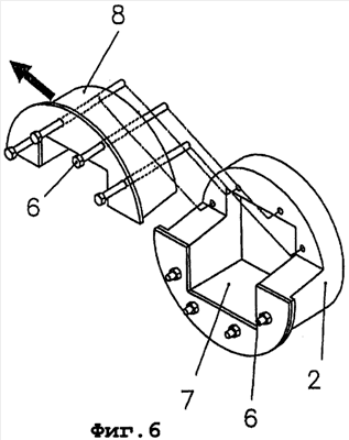
Фиг. 6 – вид, соответствующий фиг. 5, но со снятым съемным элементом.
Фиг. 7 – вид сверху уплотняющего корпуса без прижимных пластин и винтов.
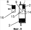
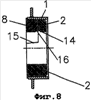
Фиг. 8 и 9 – сечение по фиг. 7 с установленным съемным элементом.
Фиг. 10 – схематическое представление фазы сборки модулей и съемного элемента.
Фиг. 11 – вид, соответствующий фиг. 10, в конце установки съемного элемента.
Фиг. 12 – собранное устройство.
В устройстве имеется рамка 1, которая фиксированно устанавливается в непоказанную стену. В эту рамку 1 вставляется соответствующий уплотняющий корпус (муфта) 2 из упругого материала, выполненный в виде втулки и имеющий центральное четырехугольное приемное окно 7, предназначенное для размещения модульно расположенных вставных модулей 4, выполненных в виде разрезных установочных элементов для прокладываемых кабелей 3.
Уплотняющий корпус 2 имеет прижимные платины 12, расположенные с обеих сторон, которые посредством винтов 6 в качестве сжимающих элементов уменьшают площадь сечения приемного окна 7 и сжимают вставленные модули 4 для достижения непроницаемости от огня, газа и воды при вставленных кабелях 3.
Модули 4 выбираются в зависимости от диаметра кабелей так, чтобы между половинами модуля 4 перед зажиманием имелся воздушный зазор 5. Если внутри прямоугольного приемного окна 7 расположено несколько слоев модулей 4, отдельные воздушные зазоры 5 с размером “х” суммируются с получением суммы 13 в несколько миллиметров и увеличивают нормальный размер “А”. Это приводит к тому, что сборка последнего ряда модулей затруднена.
Поэтому для увеличения приемного окна 7 над расположенными один над другим воздушными зазорами 5 модулей 4 предусмотрено свободное пространство 9. Для этого уплотняющий корпус 2 дополнен отсоединяемым элементом 8, выполненным в виде сегмента части глубины уплотняющего корпуса 2. Этот съемный элемент 8 крепится к уплотняющему корпусу винтами 6 при сборке.
Благодаря этому признаку можно увеличить пространство для сборки в уплотняющем корпусе 2, причем съемным элементом 8 при сборке это увеличенное пространство можно вновь закрыть. После этого можно зажимать кабельный ввод известным способом.
В этом случае разделяющая линия 10 между уплотняющим корпусом 2 и съемным элементом 8 выполнена с градиентом 15 в направлении установки.
Кроме того, граничная кромка в фиксированной части уплотняющего корпуса 2 снабжена скосом 14 для облегчения сборки модулей 4.
Дополнительно съемный элемент 4 снабжен скосом 16 в области поверхности, граничащей с приемным окном 7 для облегчения сборки.
Формула изобретения
1. Устройство для уплотнения вставленных кабелей, трубопроводов или труб в круглых кабельных вводах для стен и крыш, выполненных в виде рамок со вставленным, выполненным в виде втулки уплотняющим корпусом из упругого материала, образующим четырехугольное приемное окно для размещения полностью или частично упругих модулей, расположенных между кабелями, трубопроводами или трубами в виде разрезных установочных элементов квадратной формы, расположенных в модульном порядке над и/или рядом друг с другом, при этом модули посредством прижимных элементов и смещаемых зажимных элементов, а также посредством уплотняющего корпуса в плоскости рамки герметично зажимают в рамке размещенные элементы, отличающееся тем, что по меньшей мере одна граничная поверхность приемного окна (7) для модулей (4) образована отдельным съемным элементом (8), выполненным в виде сегмента уплотняющего корпуса (2) на части его глубины с возможностью образования съемным элементом (8) свободного пространства (9) для сборки вставляемых модулей (4) и установки в уплотняющем корпусе (2) для окончательной сборки посредством зажимных элементов (6).
2. Устройство по п.1, отличающееся тем, что съемный элемент (8) уплотняющего корпуса (2) выполнен над или под расположенными друг над другом разделяющими линиями (5) модулей (4).
3. Устройство по п.1 или 2, отличающееся тем, что отдельный съемный элемент (8) занимает приблизительно 60% глубины уплотняющего корпуса (2).
4. Устройство по п.1, отличающееся тем, что в концевом участке граничной поверхности приемного окна (7) съемный элемент (8) имеет скос (16) в направлении установки.
5. Устройство по п.1, отличающееся тем, что неподвижная часть уплотняющего корпуса (2), согласованная со съемным элементом (8), имеет скос (14) в направлении установки модулей (4).
6. Устройство по п.1, отличающееся тем, что горизонтальная разделительная линия (10) между уплотняющим корпусом (2) и съемным элементом (8) имеет градиент (15) в направлении установки съемного элемента.
РИСУНКИ
TH4A – Переиздание описания изобретения к патенту Российской Федерации
Причина переиздания: Коррекция графических материалов
Извещение опубликовано: 10.02.2010 БИ: 04/2010
|