|
|
(21), (22) Заявка: 2008123039/09, 07.06.2008
(24) Дата начала отсчета срока действия патента:
07.06.2008
(46) Опубликовано: 27.08.2009
(56) Список документов, цитированных в отчете о поиске:
US 3719852 А, 06.03.1973. SU 347849 A1, 10.08.1972. FR 2084184 A5, 17.12.1971.
Адрес для переписки:
390023, г.Рязань, ул. Циолковского, 24, Открытое акционерное общество “Научно-исследовательский институт газоразрядных приборов “Плазма” (ОАО “Плазма”)
|
(72) Автор(ы):
Гайнутдинов Камиль Савельевич (RU), Николин Сергей Васильевич (RU), Николюкин Юрий Валерьевич (RU), Самородов Владислав Георгиевич (RU)
(73) Патентообладатель(и):
Открытое акционерное общество “Научно-исследовательский институт газоразрядных приборов “Плазма” (ОАО “Плазма”) (RU)
|
(54) КОММУТИРУЮЩЕЕ УСТРОЙСТВО
(57) Реферат:
Изобретение относится к области разрядной техники и может быть использовано при создании разрядных приборов, в частности разрядников, предназначенных для коммутации высоких уровней энергии, защиты аппаратуры и линий связи от перенапряжений. Устройство содержит основные электроды (1, 2) с токовводами (3, 4). Электроды (1, 2) образуют основной разрядный промежуток (5). Основной электрод (1) и дополнительный электрод (6) образуют дополнительный разрядный промежуток (7). В электроде (1) выполнено отверстие (8), в котором с зазором расположен поджигающий электрод (9), касающийся торцом дополнительного электрода (6). Другим торцом поджигающий электрод (9) соединяется через дополнительное коммутирующее устройство (10) с электродом (1). Токоввод (11) дополнительного электрода (6) соединен с токовводом (3) основного электрода (2) со стороны токоввода (4) основного электрода (1). Технический результат – создание надежного коммутирующего устройства, устойчиво работающего в сильноточном режиме с большим протекаемым зарядом за импульс. 6 з.п. ф-лы, 3 ил.
Изобретение относится к области разрядной техники и может быть использовано при создании разрядных приборов, в частности разрядников, предназначенных для коммутации высоких уровней энергии, защиты аппаратуры и линий связи от перенапряжений.
Известен искровой разрядник, содержащий коаксиально расположенные анод и катод, образующие цилиндрический разрядный промежуток. Поджигающий электрод в виде стержня вводится продольно в разрядный промежуток ближе к катоду и изолирован керамической втулкой. (См. патент США 3.719.852, кл.313-178, опубл. 06.03.1973 г.)
К недостаткам данного разрядника следует отнести достаточно высокие требования к амплитуде и фронту запускающего импульса для получения стабильной работы разрядника.
Известен разрядник, содержащий два основных электрода и электрод поджига зубчатой формы. (См. авт. свид. СССР 347849, кл. Н01Т 3/00, опубл. БИ 24, 1972 г.)
К недостаткам данного разрядника следует отнести повышенную эрозию зубчатого электрода поджига.
Наиболее близким техническим решением к предлагаемому изобретению является коммутирующее устройство, например, разрядник, имеющий два противолежащих электрода и один пусковой электрод в виде стержня, расположенный в основном разрядном промежутке. Пусковой электрод соединен с основными электродами через сопротивления, величины которых подобраны таким образом, чтобы отношение пробивного напряжения в одном из промежутков к напряжению в другом промежутке было в пределах от 0,5 до 2,0. (См. патент Франции 2084184, кл. Н01Т 1/00, опубл. 02.01.72 г. – прототип.)
Недостатком такого разрядника являются достаточно высокие требования к амплитуде и фронту запускающего импульса. Кроме того, пусковой электрод подвержен эрозии, так как его рабочая поверхность находится в непосредственной близости к основному разрядному промежутку, что не обеспечивает надежность и устойчивость в работе такого разрядника.
Задача изобретения – создание надежного, коммутирующего устройства, например разрядника, устойчиво работающего в сильноточном режиме с большим протекаемым зарядом за импульс.
Технический результат достигается за счет введения в устройство поджигающего электрода, выбора его формы, материала, размеров и электрических характеристик, обеспечивающих надежное формирование на нем поверхностного разряда; за счет применения дополнительного коммутирующего устройства и использования в его качестве маломощного малогабаритного газонаполненного или вакуумного разрядника или варистора, имеющего стабильный порог срабатывания, не зависящий от внешних факторов; за счет помещения дополнительного коммутирующего устройства и большей части поджигающего электрода в отверстии основного электрода, что защищает их от прямого воздействия высокотемпературной плазмы во время горения дуги между основными электродами и снижает габариты устройства; за счет введения дополнительного электрода, обеспечивающего перемещение силами Лоренца разряда (дуги), образовавшегося в месте контакта поджигающего и дополнительного электродов, на торцы основных электродов, что уменьшает эрозию в зоне инициирования разряда, уменьшает влияние высокотемпературной плазмы основного разряда на надежную работу всего устройства.
Технический результат при осуществлении изобретения достигается тем, что в известном устройстве, содержащем два основных электрода, разделенных разрядным промежутком, поджигающий электрод и токовводы, в одном основном электроде выполнено отверстие, в котором с зазором расположен поджигающий электрод, с одной стороны поджигающий электрод подключен через дополнительное коммутирующее устройство к основному электроду с отверстием, а с другой контактирует с дополнительным электродом, который с основным электродом с отверстием образует дополнительный разрядный промежуток, один конец дополнительного электрода соединен с его токовводом, а другой конец расположен в области разрядного промежутка основных электродов, токоввод дополнительного электрода выполнен со стороны токоввода основного электрода с отверстием и соединен электрически с токовводом другого основного электрода, при этом форма, размеры и электрические характеристики поджигающего электрода выбраны из условия его поверхностного пробоя при напряжении, меньшем, чем напряжение пробоя дополнительного коммутирующего устройства, а напряжение пробоя между основными электродами выбрано больше, чем напряжение пробоя основного электрода с отверстием и дополнительного электрода, которое в свою очередь больше напряжения пробоя дополнительного коммутирующего устройства.
Кроме того, дополнительный электрод выполнен в виде стержня или ленты и расположен вдоль оси основного электрода с отверстием.
А также дополнительный электрод выполнен в виде изогнутых ленты или стержня, а дополнительный разрядный промежуток расширен в направлении к разрядному промежутку основных электродов.
Кроме того, дополнительный электрод выполнен в виде полого цилиндра, расположенного коаксиально основному электроду с отверстием.
А также токоввод дополнительного электрода выполнен в виде полого цилиндра, расположенного коаксиально основному электроду с отверстием.
Кроме того, в качестве дополнительного коммутирующего устройства может быть использован газовый или вакуумный разрядник или варистор.
А также в одном или в обоих основных электродах со стороны разрядного промежутка выполнены глухие отверстия.
Проведенный заявителем анализ уровня техники позволил установить, что заявителем не обнаружен аналог, характеризующийся признаками, идентичными всем существенным признакам заявленного изобретения, а определение из перечня выявленных аналогов прототипа, как наиболее близкого по совокупности признаков аналога, позволил выявить совокупность существующих по отношению к усматриваемому заявителем техническому результату отличительных признаков, изложенных в формуле изобретения. Следовательно, заявленное изобретение соответствует требованию «новизна» по действующему законодательству.
Для проверки соответствия заявленного изобретения требованию изобретательского уровня заявитель провел дополнительный поиск известных решений, результаты которого показывают, что заявленное изобретение не следует для специалиста явным образом из известного уровня техники, поскольку не выявлены решении, в которых для повышения надежности и устойчивости работы коммутирующего устройства было бы использовано дополнительное коммутирующее устройство (например, маломощный газонаполненный разрядник), имеющее стабильный порог срабатывания, не зависящее от внешних факторов, а также конструктивное выполнение коммутирующего устройства с применением дополнительного электрода, который обеспечивает перемещение разряда от зоны его инициирования к зоне основного горения, что обеспечивает уменьшение эрозии в зоне инициирования разряда.
Следовательно, заявленное изобретение соответствует требованию «изобретательский уровень» по действующему законодательству.
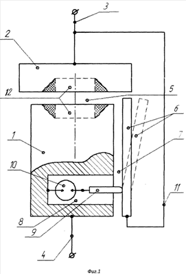
На фиг.1 и фиг.2 показаны различные конструктивные схемы коммутирующего устройства.
На фиг.3 показан макет предлагаемого устройства.
Устройство содержит основные электроды 1 и 2 с токовводами 3 и 4. Электроды 1 и 2 образуют основной разрядный промежуток 5. Основной электрод 1 и дополнительный электрод 6 образуют дополнительный разрядный промежуток 7. В электроде 1 выполнено отверстие 8, в котором с зазором расположен поджигающий электрод 9, касающийся торцом дополнительного электрода 6. Другим торцом поджигающий электрод 9 соединяется через дополнительное коммутирующее устройство 10 с электродом 1. Токоввод 11 дополнительного электрода 6 соединен с токовводом 3 основного электрода 2 со стороны токоввода 4 основного электрода 1. В одном или в обоих основных электродах 1, 2 выполнены глухие отверстия 12 со стороны разрядного промежутка 5.
Устройство работает следующим образом.
При достижении напряжения на токовводах 3 и 4 определенного значения (например, 1500 В) происходит пробой дополнительного коммутирующего устройства 10 (например, газонаполненного разрядника). При этом на поверхности поджигающего электрода 9 возникает искровой разряд. Поверхностный искровой разряд инициирует разряд в дополнительном разрядном промежутке 7 между основным электродом 1 и дополнительным электродом 6. Применение в качестве дополнительного коммутирующего устройства 10 газонаполненного разрядника, вакуумного разрядника или варистора позволяет значительно уменьшить разброс величины напряжения срабатывания прибора. Под действием сил Лоренца, образованных основным электродом 1, дополнительным электродом 6, сформированная между ними разрядная дуга выталкивается в область основного разрядного промежутка 5 к торцам электродов 1 и 2. Процесс выталкивания происходит сравнительно быстро, основное же время протекания тока осуществляется в основном разрядном промежутке 5 на торцах электродов 1 и 2. При токах до 10 кА на торцах электродов 1 и 2 за несколько десятков импульсов длительностью сотни миллисекунд происходит сильная эрозия, изменяющая их геометрические размеры, как показано на фиг.1 мелкой штриховкой. Однако это не влияет на величину напряжения пробоя и стабильность работы прибора. Таким образом, применение поджигающего электрода 9, находящегося в контакте с дополнительным электродом 6 и дополнительным коммутирующим устройством 10, позволяет силами Лоренца вытолкнуть дугу, сформированную между основным электродом 1 и дополнительным электродом 6, в область основного разрядного промежутка 5 на торцы основных электродов 1 и 2, что обеспечивает надежную и стабильную работу устройства при протекании мощных импульсов тока с зарядом до нескольких сотен кулон за импульс.
Увеличение дополнительного разрядного промежутка 7 (как показано на фиг.1 штриховой линией) за счет отклонения дополнительного электрода 6 от оси основного электрода 1 увеличивает скорость выталкивания разряда от зоны инициирования – места контакта поджигающего электрода 9 и дополнительного электрода 6, к зоне основного горения – в разрядный промежуток 5, что обеспечивает уменьшение эрозии в зоне инициирования разряда.
Глухое отверстие в одном или в обоих торцах основных электродах 1 и 2 (показано на фиг.1 штриховой линией) предотвращает возможное замыкание основного разрядного промежутка 5 из-за расплавления металла электродов 1 или 2 и из-за образования в центре их торцов под действием электромагнитных сил «сталактита» из расплава металла.
Токоввод дополнительного электрода 6 может быть выполнен в виде полого цилиндра, коаксиального основному электроду 1 (как показано на фиг.2). Это позволяет совместить его функцию как токоввода и функцию корпуса всего прибора, удержания плазмы в конкретном замкнутом объеме, что повышает безопасность прибора.
Дополнительный электрод 6 может быть выполнен в виде полого цилиндра, расположенного коаксиально основному электроду 1 (как показано на фиг.2). Это усиливает действие сил Лоренца выталкивания разряда (дуги) от поджигающего электрода 9 в область основного разрядного промежутка 5 и экранирует от сил Лоренца противоположного направления, создаваемых токами, текущими по коаксиальному токководу 11 дополнительного электрода 6 и препятствующих выталкиванию разряда (дуги).
Предлагаемый разрядник позволяет защищать, например, изолированные опоры электрических сетей электрифицированного транспорта при аварийном пробое изоляторов сети. При этом через разрядник протекает ток до 10 кА и заряд до 1000 Кл.
Были изготовлены макеты коммутирующего устройства, например разрядника, показанного на фиг.3.
Прибор содержит металлический корпус диаметром 60 мм. В корпус ввинчен стержень 3, являющийся токовводом. Корпус в области токоввода является основным электродом 2. Стенки корпуса вместе с ввинченным в него металлическим основанием являются токовводом 11 дополнительного электрода 6, который крепится к основанию винтами 13. В основании выполнены вентиляционные отверстия 14 и через изолятор 15 запрессован стержень 4 – токоввод другого основного электрода 1. Внутри основного электрода 1 расположен цилиндрический изолятор 16, в котором располагаются поджигающий электрод 9 и дополнительное коммутирующее устройство газонаполненный разрядник 10. Поджигающий электрод 9 касается дополнительного электрода 6. Для обеспечения надежного контакта поджигающего и дополнительного электродов используется пружина 17. В основном электроде 1 выполнено глухое отверстие 12.
Величина напряжения срабатывания прибора определяется напряжением срабатывания газонаполненного разрядника, который имеет стабильный порог срабатывания (например 1500 В). Воздействия внешней среды (температура, влажность, давление) в меньшей степени влияют на порог срабатывания разрядника, а размещение его в полости (отверстии) основного электрода снижает влияние воздействия высокотемпературной плазмы основного разряда и делает прибор компактным. Тем самым повышается надежность и стабильность работы прибора в целом.
При достижении на токовводах напряжения 1500 В, происходит срабатывание газонаполненного разрядника 10. На поверхности поджигающего электрода 9 возникает искровой разряд, который инициирует разряд между основным 1 и дополнительным 6 электродами. Под действием магнитного поля дуга перемещается по дополнительному разрядному промежутку 7 в область основного разрядного промежутка 5 между основными электродами 1, 2.
Испытания макетных образцов показали удовлетворительные результаты. При протекании заряда 900 Кл разрядники обеспечивали надежное срабатывание не менее 25 раз. Эрозия электродов в зоне инициирования разряда была незначительной. Интенсивная эрозия наблюдалась в зоне протекания основного разряда, но это не повлияло на надежность работы прибора.
Следовательно, заявленное изобретение соответствует требованию «промышленная применимость» по действующему законодательству.
Формула изобретения
1. Коммутирующее устройство, содержащее два основных электрода, разделенных разрядным промежутком, поджигающий электрод и токовводы, отличающееся тем, что в одном основном электроде выполнено отверстие, в котором с зазором расположен поджигающий электрод, с одной стороны поджигающий электрод подключен через дополнительное коммутирующее устройство к основному электроду с отверстием, а с другой – контактирует с дополнительным электродом, который с основным электродом с отверстием образует дополнительный разрядный промежуток, один конец дополнительного электрода соединен с его токовводом, а другой конец расположен в области разрядного промежутка основных электродов, токоввод дополнительного электрода выполнен со стороны токоввода основного электрода с отверстием и соединен электрически с токовводом другого основного электрода, при этом форма, размеры и электрические характеристики поджигающего электрода выбраны из условия его поверхностного пробоя при напряжении меньшем, чем напряжение пробоя дополнительного коммутирующего устройства, а напряжение пробоя между основными электродами выбрано больше, чем напряжение пробоя основного электрода с отверстием и дополнительного электрода, которое в свою очередь больше напряжения пробоя дополнительного коммутирующего устройства.
2. Устройство по п.1, отличающееся тем, что дополнительный электрод выполнен в виде стержня или ленты и расположен вдоль оси основного электрода с отверстием.
3. Устройство по п.1, отличающееся тем, что дополнительный электрод выполнен в виде изогнутой ленты или стержня, а дополнительный разрядный промежуток расширен в направлении к разрядному промежутку основных электродов.
4. Устройство по п.1, отличающееся тем, что дополнительный электрод выполнен в виде полого цилиндра, расположенного коаксиально основному электроду с отверстием.
5. Устройство по п.1 или 4, отличающееся тем, что токоввод дополнительного электрода выполнен в виде полого цилиндра, расположенного коаксиально основному электроду с отверстием.
6. Устройство по п.1, отличающееся тем, что в качестве дополнительного коммутирующего устройства использован газовый или вакуумный разрядник или варистор.
7. Устройство по п.1, отличающееся тем, что в одном или в обоих основных электродах со стороны разрядного промежутка выполнены глухие отверстия.
РИСУНКИ
|
|