|
|
(21), (22) Заявка: 2008104337/28, 11.02.2008
(24) Дата начала отсчета срока действия патента:
11.02.2008
(46) Опубликовано: 27.08.2009
(56) Список документов, цитированных в отчете о поиске:
US 6561672 B2, 13.05.2003. JP 2001330686 A, 30.11.2001. US 6295251 B1, 25.09.2001. KR 20040060661 A, 06.07.2004.
Адрес для переписки:
140093, Московская обл., г. Дзержинский, а/я 48, А.И. Максимову
|
(72) Автор(ы):
Максимов Александр Иванович (RU)
(73) Патентообладатель(и):
Максимов Александр Иванович (RU)
|
(54) СПОСОБ ИЗГОТОВЛЕНИЯ ЦИФЕРБЛАТА НАСТЕННЫХ ИЛИ НАПОЛЬНЫХ СТРЕЛОЧНЫХ ЧАСОВ, СПОСОБ ИЗГОТОВЛЕНИЯ МЕТКИ ЦИФЕРБЛАТА НАСТЕННЫХ ИЛИ НАПОЛЬНЫХ СТРЕЛОЧНЫХ ЧАСОВ
(57) Реферат:
Группа изобретений относится к области часовой промышленности и направлена на расширение арсенала технических средств. Этот результат обеспечивается за счет того, что при изготовлении циферблата основание образуют по форме футляра для, по меньшей мере, одного оптического прибора для человека – очков, а тело метки циферблата образуют по форме оптического прибора для человека – очков. 2 н.п. ф-лы, 2 ил.
Группа изобретений относится к технологии изготовления составных частей настенных или напольных стрелочных часов (механического или электронного типов), в частности к способу изготовления циферблата настенных или напольных стрелочных часов, способу изготовления метки циферблата настенных или напольных стрелочных часов, способу изготовления основания циферблата настенных или напольных стрелочных часов и могут быть использованы, например, в часовой промышленности при изготовлении составных частей стрелочных часов – циферблата и его элементов (составных частей) – метки и основания.
Известен способ изготовления циферблата настенных или напольных стрелочных часов, включающий изготовление, по меньшей мере, одной метки циферблата в виде его тела, основания циферблата в виде его тела с геометрическим центром, закрепление и размещение тела метки циферблата или тел меток циферблата на теле основания циферблата относительно геометрического центра с возможностью определения суточного времени при визуальном обозревании положения стрелок часов относительно тела метки циферблата или тел меток циферблата (US 6295251 B1). Указанное техническое решение как наиболее близкое, как по совокупности существенных признаков, так и по достигаемому техническому результату, включая назначение, выбирается в качестве наиболее близкого аналога (прототипа) для заявляемого объекта «Способ изготовления циферблата настенных или напольных стрелочных часов».
Известен способ изготовления метки циферблата настенных или напольных стрелочных часов, включающий изготовление тела метки (US 6295251 B1), который не может быть признан наиболее близким аналогом (прототипом). В результате проведения научно-технического и патентного поиска не удалось обнаружить технические решения – наиболее близкие аналоги как по совокупности существенных признаков, включая назначение. Указанное обстоятельство найдет свое отражение как при составлении редакции и структуры описания, так и при составлении редакции формулы изобретения.
Известен способ изготовления основания циферблата настенных или напольных стрелочных часов, включающий изготовление тела основания циферблата с геометрическим центром, обеспечивающего закрепление и размещение тела метки циферблата или тел меток циферблата на теле основании циферблата относительно геометрического центра с возможностью определения суточного времени при визуальном обозревании положения стрелок часов относительно тела метки циферблата или тел меток циферблата (US 6295251 B1). Указанное техническое решение как наиболее близкое, как по совокупности существенных признаков, так и по достигаемому техническому результату, включая назначение, выбирается в качестве наиболее близкого аналога (прототипа) для заявляемого объекта «Способ изготовления основания циферблата настенных или напольных стрелочных часов».
Недостаток известных технических решений заключается в том, что способ изготовления циферблата настенных или напольных стрелочных часов (далее также – циферблат) в целом, а также способ изготовления метки циферблата и способ изготовления основания циферблата, имеют ограниченные функциональные возможности, т.к. не обеспечивают изготовления объектов с расширенными функциональными возможностями, в частности способ изготовления метки циферблата не обеспечивает изготовления ее тела по форме оптического прибора для человека – очков, а способ изготовления основания циферблата не обеспечивает изготовление его тела по форме футляра для, по меньшей мере, одного оптического прибора для человека – очков.
Приведенные доводы свидетельствуют об отсутствии технологического единства, в известном техническом решении, между способами изготовления циферблата в целом и его составных частей, которые свидетельствуют о наличии ограниченных функциональных возможностей у циферблата в целом и у его частей – меток и основания.
Заявитель полагает, что именно иное изготовление основания и метки циферблата обеспечит технологическое единство между способами изготовления составных частей циферблата, расширит функциональные возможности циферблата в целом, основания и метки, обеспечит получение качественно иных потребительских свойств и расширит арсенал технических средств.
Одним из путей создания новых высокоэффективных технологических процессов (способов) является путь, связанный с использованием имеющегося технологического оборудования, оснастки, сырья, материалов, имеющихся профессиональных навыков работников, смежных отраслей промышленности, производящих товарную продукцию.
Задача, на решение которой направлены заявляемые технические решения, состоит в расширении арсенала технических средств определенного назначения, в частности создании новых эффективных объектов: способа изготовления циферблата настенных или напольных стрелочных часов, способа изготовления метки циферблата настенных или напольных стрелочных часов и способа изготовления основания циферблата настенных или напольных стрелочных часов, которые лишены указанных недостатков и имеют расширенные функциональные возможности.
Технический результат, который может быть при этом получен, заключается в реализации этого назначения, т.е. решении поставленной задачи по расширению арсенала технических средств определенного назначения путем создания нового способа изготовления циферблата настенных или напольных стрелочных часов, способа изготовления метки циферблата настенных или напольных стрелочных часов и способа изготовления основания циферблата настенных или напольных стрелочных часов с расширенными функциональными возможностями.
Сущность заявляемого способа заключается в том, что в способе изготовления циферблата настенных или напольных стрелочных часов, включающем изготовление, по меньшей мере, одной метки циферблата в виде его тела, основания циферблата в виде его тела с геометрическим центром, закрепление и размещение тела метки циферблата или тел меток циферблата на теле основании циферблата относительно геометрического центра с возможностью определения суточного времени при визуальном обозревании положения стрелок часов относительно тела метки циферблата или тел меток циферблата, согласно изобретению тело основания циферблата образуют по форме футляра для, по меньшей мере, одного оптического прибора для человека – очков, а тело метки циферблата образуют по форме оптического прибора для человека – очков.
Сущность заявляемого способа заключается в том, что согласно способу изготовления метки циферблата настенных или напольных стрелочных часов образуют тело метки циферблата по форме оптического прибора для человека – очков.
Сущность заявляемого способа заключается в том, что в способе изготовления основания циферблата настенных или напольных стрелочных часов, включающем изготовление тела основания циферблата с геометрическим центром, обеспечивающего закрепление и размещение тела метки циферблата или тел меток циферблата на теле основании циферблата относительно геометрического центра с возможностью определения суточного времени при визуальном обозревании положения стрелок часов относительно тела метки циферблата или тел меток циферблата, согласно изобретению тело основания циферблата образуют по форме футляра для, по меньшей мере, одного оптического прибора для человека – очков.
Из источников информации заявителем не установлена известность влияния заявленных отличительных признаков на получение необходимого технического результата. Именно заявляемая совокупность существенных признаков каждого объекта группы обеспечивают достижение поставленной задачи, получение нового технического результата, связанного с достижением цели – расширение арсенала технических средств путем создания новых объектов с расширенными функциональными возможностями.
Сопоставительный анализ заявляемого способа изготовления циферблата настенных или напольных стрелочных часов с прототипом показывает, что заявляемый способ имеет общие признаки с прототипом:
изготовление, по меньшей мере, одной метки циферблата в виде его тела;
изготовление основания циферблата в виде его тела с геометрическим центром;
закрепление и размещение тела метки циферблата или тел меток циферблата на теле основания циферблата относительно геометрического центра с возможностью определения суточного времени при визуальном обозревании положения стрелок часов относительно тела метки циферблата или тел меток циферблата.
Заявляемый способ изготовления циферблата настенных или напольных стрелочных часов отличается от прототипа новыми признаками:
тело основания циферблата образуют по форме футляра для, по меньшей мере, одного оптического прибора для человека – очков;
тело метки циферблата образуют по форме оптического прибора для человека – очков.
Сопоставительный анализ заявляемого способа изготовления основания циферблата настенных или напольных стрелочных часов с прототипом показывает, что заявляемый способ имеет общие признаки с прототипом:
изготовление тела основания циферблата с геометрическим центром, обеспечивающего закрепление и размещение тела метки циферблата или тел меток циферблата на теле основании циферблата относительно геометрического центра с возможностью определения суточного времени при визуальном обозревании положения стрелок часов относительно тела метки циферблата или тел меток циферблата.
Заявляемый способ изготовления основания циферблата настенных или напольных стрелочных часов отличается от прототипа новыми признаками: тело основания циферблата образуют по форме футляра для, по меньшей мере, одного оптического прибора для человека – очков.
Касательно особенностей способа изготовления метки циферблата настенных или напольных стрелочных часов, то она указана выше по тексту.
Из приведенного перечня признаков заявляемых способов и достижения поставленной задачи наглядно видно, что заявленные технические решения представляют собой новую совокупность признаков как сочетание известных и новых признаков, обеспечивающих получение нового технического результата, неизвестного на дату подачи заявки. Технический результат, который может быть получен при осуществлении изобретения, заключается в достижении цели по расширению арсенала технических средств для способа изготовления циферблата настенных или напольных стрелочных часов, способа изготовления метки циферблата настенных или напольных стрелочных часов, способа изготовления основания циферблата настенных или напольных стрелочных часов с качественно новыми свойствами и обеспечением расширения функциональных возможностей заявленных объектов группы.
Сущность заявленных способов характеризуется с использованием признаков, выраженных общими понятиями, в частности каждый существенный признак представлен на уровне функционального обобщения. Действительно, при указанном изготовлении циферблата и его составных частей – основания и метки (меток), обеспечивается реализация основной функции циферблата, достижение поставленной задачи и при этом циферблат и его части – метка и основание, проявляют новые потребительские свойства, дополнительно к основным, и направлены на обеспечение расширения арсенала технических средств для циферблата и на расширение его функциональных возможностей. Изготовление метки циферблата характеризуется наличием существенных признаков, необходимых и достаточных для обеспечения выполнения меткой функции метки, а также функции оптического прибора для человека – очков, что позволяет расширить арсенал технических средств для метки циферблата и его функциональные возможности.
Изготовление основания циферблата характеризуется наличием существенных признаков, необходимых и достаточных для обеспечения выполнения основанием функции основания циферблата, а также функции футляра для, по меньшей мере, одного оптического прибора для человека – очков, что позволяет расширить арсенал технических средств для основания циферблата и его функциональные возможности.
В качестве материалов для изготовления циферблата и его частей – основания и метки, могут быть использованы материалы, удовлетворяющие условию – обеспечение изготовления циферблата и его частей, в частности, такими материалами, например, могут быть металл, древесина, керамика, пластик, стекло (касаемо изготовления оптических элементов – светопрозрачное или затемненное стекло с оптическими или неоптическими свойствами), композиционные материалы, кожа, бумага (целлюлоза), а также их сочетания.
Заявляемые технические решения группы промышленно применимы, т.к. могут быть использованы в промышленности, сельском хозяйстве, здравоохранении и других отраслях экономики или в социальной сфере, где используются циферблаты стрелочных часов и их части (элементы). Заявленные технические решения могут быть воспроизведены в том виде, как они охарактеризованы в любом из пунктов формулы изобретения с использованием известных и доступных материалов, технологий, технологического оборудования и имеющихся навыков работников. В случае осуществления изобретения по любому из пунктов формулы изобретения действительно возможны реализация указанного выше назначения и получение требуемого технического результата.
Заявляемые технические решения группы являются новыми, т.к. они неизвестны из уровня техники на дату подачи заявки. Не известна из уровня техники совокупность существенных признаков заявленных технических решений и их влияние на получение требуемого технического результата.
Заявляемые технические решения группы имеют изобретательский уровень, т.к. для специалиста они явным образом не следуют из уровня техники. Не выявлены решения, имеющие признаки, совпадающие с их отличительными признаками, и не обнаружена известность влияния отличительных признаков на получаемый технический результат. Заявляемые объекты проявляют новые свойства, не известные в технике. Существенные признаки заявляемых объектов группы носят технический характер и идентифицируемы. Совокупность существенных признаков заявляемых объектов группы необходима и достаточна для получения требуемого технического результата. Заявляемая совокупность признаков объектов группы обеспечивает получение неожиданного, необычного сверхсуммарного технического результата, который превосходит технический результат, получаемый от каждого существенного признака в отдельности, применительно к объектам указанного назначения. Заявляемые объекты обеспечивают изменение известного уровня техники неочевидными средствами, придают объектам новые положительные свойства, удовлетворяют долговременный спрос и повышают конкурентоспособность объектов патентования. Между существенными признаками объектов группы и достигаемым техническим результатом существует причинно-следственная связь. Совокупность существенных признаков заявляемых объектов группы обеспечивает новый необычный принцип действия объектов, который является в максимальной степени эффективным для объектов указанного назначения. Заявляемые объекты группы обеспечивают возможность использования технологического оборудования, оснастки и материалов, а также имеющихся навыков персонала смежных отраслей промышленности, в частности промышленности, связанной с изготовлением оптических приборов для человека – очков широкого спектра назначения. Указанное обстоятельство обеспечивает повышение эффективности и конкурентоспособности производимых объектов. Заявляемое изготовление циферблата обеспечивает достижение дополнительного технического результата, в частности заявляемое изготовление меток циферблата и их закрепление к основанию циферблата обеспечивает быстрый поиск необходимых очков с требуемым значением диоптрий, т.к. они могут быть размещены на основании циферблата в местах, соответствующих значению суточного времени, например, метка, образованная по форме очков, содержит оптические элементы с диоптрией «+3», размещена на основании в месте, соответствующем трем (пятнадцати) часам суточного времени и так далее, по аналогии. Заявляемое изготовление циферблата обеспечивает оперативный поиск необходимых очков не только одного человека, но нескольких человек из числа, например, членов семьи, проживающих в одном помещении, например размещение меток по форме очков определенного члена семьи на основании циферблата соответствует численному значению суточного времени. Может быть образована логическая связь: место размещения (закрепления) метки на основании циферблата – величина диоптрий или место размещения (закрепления) метки на основании циферблата – принадлежность конкретному человеку.
Таким образом, заявленные технические решения группы связаны между собой настолько, что они образуют единый изобретательский замысел, соотносятся друг с другом как целое и часть целого, соответствуют условиям патентоспособности изобретения, обеспечивают получение нового технического результата и посему заявляются в составе одной заявки.
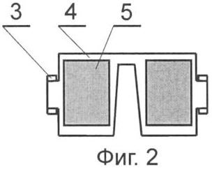
На фиг.1 показаны способ изготовления циферблата настенных или напольных стрелочных часов и способ изготовления основания циферблата настенных или напольных стрелочных часов (см. на фиг.1 без поз.3, 4, 5); на фиг.2 показан способ изготовления метки циферблата настенных или напольных стрелочных часов.
Пример осуществления способа изготовления циферблата настенных или напольных стрелочных часов
Изготовил, условно, четыре тела метки циферблата произвольной геометрической формы, причем тело каждой метки циферблата образовал по форме оптического прибора для человека – очков в виде, преимущественно, оправы 4 с заушниками 3 (их может и не быть) и сквозными полостями, в которых закрепил светопрозрачные оптические элементы 5. Заушники 3 шарнирно закрепил к боковым частям оправы 4. Тело 1 (см. фиг.1) основания циферблата изготовил произвольной геометрической формы с геометрическим центром (ГЦ) из древесины с размерами: высота 1200 мм; ширина 1200 мм; толщина 20 мм. К внешней поверхности тела 1, в местах размещения меток, посредством крепежных изделий 7 (в качестве последних использовал шурупы) закрепил держатели произвольной геометрической формы, которые образовал из стальных пластин 6 с пружинящими свойствами, обеспечивающими закрепление меток и их извлечение, при необходимости. Один из держателей образовал кожаной накладкой 2 (см. фиг.1), которую прикрепил к телу 1 клеевой композицией с формированием закладной полости, между накладкой 2 и телом 1, для метки. Закрепил и разместил тела меток циферблата по форме очков (на фиг.1 четыре штуки) на теле 1 основания циферблата относительно геометрического центра с возможностью определения суточного времени при визуальном обозревании положения стрелок часов относительно тел меток циферблата. Тело 1 основания циферблата образовал по форме футляра для, по меньшей мере, одного оптического прибора для человека-очков, а тело метки циферблата образуют по форме оптического прибора для человека – очков. Под очками для человека заявитель понимает оптический прибор, предназначенный для исправления таких дефектов зрения, как дальнозоркость, близорукость и астигматизм. Заявитель использует термин оптический прибор для человека – очки на уровне функционального обобщения и в связи с этим признак, касательно частных исполнений очков, не является существенным для заявляемого объема прав, т.к. не влияет на достижение технического результата.
Пример осуществления способа изготовления метки циферблата настенных или напольных стрелочных часов
Образовал тело метки циферблата по форме оптического прибора для человека – очков (см. фиг.2) в виде оправы 4, к которой шарнирно прикреплены заушники 3 и оптические элементы 5. Данный объект группы подробно описан выше по тексту. Следует отметить, что метка циферблата по форме очков может быть образована, как в виде детали, так и в виде совокупности деталей.
Пример осуществления способа изготовления основания циферблата настенных или напольных стрелочных часов
Изготовил тело 1 основания (см. на фиг.1 без поз 3, 4, 5) циферблата с геометрическим центром (ГЦ), обеспечивающее закрепление и размещение тела метки циферблата или тел меток циферблата на теле 1 основании циферблата относительно геометрического центра с возможностью определения суточного времени при визуальном обозревании положения стрелок часов относительно тела метки циферблата или тел меток циферблата, причем тело 1 основания циферблата образовал по форме футляра для, по меньшей мере, одного оптического прибора для человека – очков. Данный объект группы подробно описан выше по тексту.
Таким образом, заявляемая группа изобретений обеспечивает достижение поставленной задачи и получение технического результата.
Формула изобретения
1. Способ изготовления циферблата настенных или напольных стрелочных часов, включающий изготовление, по меньшей мере, одной метки циферблата в виде его тела, основания циферблата в виде его тела с геометрическим центром, закрепление и размещение тела метки циферблата или тел меток циферблата на теле основания циферблата относительно геометрического центра с возможностью определения суточного времени при визуальном обозревании положения стрелок часов относительно тела метки циферблата или тел меток циферблата, отличающийся тем, что тело основания циферблата образуют по форме футляра для, по меньшей мере, одного оптического прибора для человека – очков, а тело метки циферблата образуют по форме оптического прибора для человека – очков.
2. Способ изготовления метки циферблата настенных или напольных стрелочных часов, характеризующийся тем, что образуют тело метки циферблата по форме оптического прибора для человека – очков.
РИСУНКИ
|
|