|
|
(21), (22) Заявка: 2006142965/28, 04.12.2006
(24) Дата начала отсчета срока действия патента:
04.12.2006
(43) Дата публикации заявки: 10.06.2008
(46) Опубликовано: 27.08.2009
(56) Список документов, цитированных в отчете о поиске:
RU 62838 U1, 04.12.2006. RU 2210781 C2, 20.08.2003. RU 53183 U1, 10.05.2006.
Адрес для переписки:
420021, г.Казань, ул. Карима Тинчурина, 3А, кв.16, Р.А. Каратаеву
|
(72) Автор(ы):
Каратаев Оскар Робиндарович (RU), Перикова Елена Сергеевна (RU), Славнин Сергей Викторович (RU), Каратаев Робиндар Николаевич (RU)
(73) Патентообладатель(и):
Каратаев Оскар Робиндарович (RU)
|
(54) СПОСОБ И УСТРОЙСТВО КОНТРОЛЯ СОДЕРЖАНИЯ ОЗОНА
(57) Реферат:
Изобретение относится к способам и устройствам для очистки воды, контроля и мониторинга окружающей среды жилых помещений путем контроля содержания озона в воде плавательного бассейна и воздухе помещения. Технический результат направлен на расширение функциональных возможностей за счет повышения качества, оптимальности, надежности, экономичности и безопасности очистки воздуха помещений и дезинфекции воды плавательного бассейна. Технический результат достигается тем, что по предлагаемому способу производится измерение и контроль предельно допустимого содержания озона в воздухе вентилируемого помещения, при этом на основе полученных измеренных данных определяют количество расхода нагнетаемого чистого воздуха и количество выходящего из помещения отработанного воздуха, а также определяют интенсивность и качество очистки, оптимизируя тем самым процесс очистки. Устройство реализуется вышеуказанным способом. 2 н. и 2 з.п. ф-лы, 1 ил.
Изобретение относится к способам и устройствам для очистки воды, контроля и мониторинга окружающей среды жилых помещений путем контроля содержания озона в воде плавательного бассейна и воздухе помещения.
Известна установка для очистки воды в плавательных бассейнах, содержащая установленные на трубопроводе циркуляционный насос, песчаный фильтр, байпасную магистраль с регулировочным вентилем, озонатором и ультрафиолетовым излучателем {Устройство семейства UVAZONE. Проспект фирмы Ozonia-Triogen Ltd – [1]}.
Недостатком известного устройства является отсутствие обеззараживающих устройств на основном трубопроводе, следствием чего является низкая степень обеззараживания воды в бассейне из-за отсутствия в ней озона, так как вырабатываемый в озонаторе озон разлагается ультрафиолетовым излучением и не попадает в основной поток.
Известна также установка для очистки воды в плавательном бассейне {по патенту России RU 2210781, C02F 1/78 – [2]}, которая содержит расположенный на трубопроводе циркуляционный насос, песчаный фильтр, байпасную магистраль с озонатором и регулировочный вентиль, установленный между входом и выходом байпасной магистрали, а также УФ-облучатель, который размещен на участке трубопровода между входом и выходом байпасной магистрали.
Для сравнительного анализа с заявляемым изобретением взято устройство экологического мониторинга по патенту России RU 53183 [3], которое содержит блок управления с монитором, газовый хроматограф, динамический парафазный пробоотборник, регенератор воды, установленные в гидравлической магистрали технической воды, при этом пневматический выход динамического парафазного пробоотборника соединен с одним из выходов газового хроматографа, а электрические выходы динамического парафазного пробоотборника и регенератора воды подключены ко входам блока управления, термодесорбер, пневматический выход которого через автоматический кран-дозатор соединен с другим входом газового хроматографа, атомно-адсорбционный анализатор, систему коагулирования, связанную с емкостью-отстойником, расположенные в гидравлической магистрали сточных вод, фильтр производственной вентиляции помещения с максимальным загрязнением, фильтр промышленных выбросов в атмосферу, датчик технической воды, установленный в гидравлической магистрали технической воды между емкостью-отстойником и регенератором воды и соединенный с одним из выходов динамического парафазного пробоотборника, датчик сточных вод, установленный в гидравлической магистрали сточных вод и соединенный с системой коагулирования и атомно-адсорбционным анализатором, датчик воздуха помещения с максимальным загрязнением, пневматически связанный с одним из входов термодесорбера, датчик промышленных выбросов в атмосферу, пневматически связанный с фильтром промышленных выбросов в атмосферу и с другим входом термодесорбера, при этом электрические выходы термодесорбера, атомно-адсорбционного анализатора, системы коагулирования, фильтра производственной вентиляции помещения с максимальным загрязнением, фильтра промышленных выбросов в атмосферу и автоматического крана-дозатора подключены ко входам блока управления.
В этом устройстве реализован способ, по которому контролируют содержание вредных веществ в магистралях трубопровода и в окружающем воздухе производственного помещения, при этом помещение постоянно вентилируют.
Однако по этому способу и устройству недостаточно точно, комплексно и экономично решают задачу рационального и оптимального выбора режима вентиляции помещения.
Технический эффект, на достижение которого направлено заявляемое изобретение, заключается в расширении функциональных возможностей за счет повышения качества, оптимальности, надежности и экономичности очистки воздуха помещений.
Технический эффект достигается тем, что по предлагаемому способу производится измерение и контроль предельного допустимого содержания озона в воздухе вентилируемого помещения новым является то, что дополнительно на основе полученных измеренных данных определяют количество расхода нагнетаемого чистого воздуха и количество выходящего из помещения отработанного воздуха, а также определяют качество и интенсивность очистки, измеряя при этом количество расхода входящего и выходящего воздуха, и вводят коррекцию на колебание температуры, давления и влажности.
В устройстве для контроля содержания озона, включающем блок управления с компьютером и монитором, газовый хроматограф, динамический парофазный пробоотборник, систему озонирования воды, установленные в трубопроводе, при этом выход динамического парафазного пробоотборника через гидравлическую связь соединен с одним из выходов газового хроматографа, а электрический выход системы озонирования подключен к входу блока управления, термодесорбер, пневматический выход которого через кран-дозатор соединен с другим входом газового хроматографа, датчик содержания озона в атмосфере помещения плавательного бассейна, пневматически связанного с термодесорбером, при этом электрические выходы термодесорбера и крана-дозатора подключены к входам блока управления, новым является то, что устройство снабжено счетчиками расхода количества воздуха, установленными в системах приточной и вытяжной вентиляции, вентиляторами принудительной вентиляции, которые также установлены в системах приточной и вытяжной вентиляции, при этом счетчики расхода количества воздуха и вентиляторы подключены к блоку управления, кроме того, устройство снабжено датчиками контроля влажности, температуры и давления в помещении, подключенными к блоку управления,
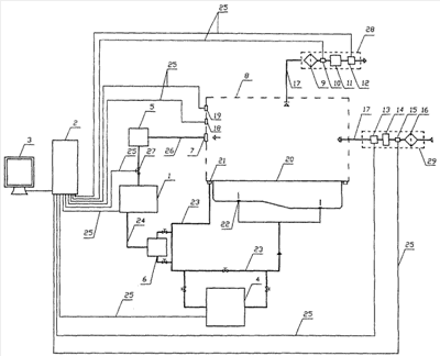
Сущность изобретения поясняется чертежом, где:
1 – газовый хроматограф, 2 – блок управления, 3 – монитор, 4 – система озонирования воды, 5 – термодесорбер, 6 – динамический парофазный пробоотборник, 7 – датчик отбора пробы воздуха, 8 – помещение, 9 – фильтр вытяжного воздуха, 10 – счетчик расхода количества воздуха вытяжной вентиляции, 11 – охладитель вытяжного воздуха, 12 – вытяжной вентилятор, 13 – приточный вентилятор, 14 – водяной калорифер, 15 – счетчик расхода количества воздуха приточной вентиляции, 16 – фильтр наружного воздуха, 17 – воздуховод, 18 – датчик контроля влажности, 19 – датчики контроля температуры и давления, 20 – чаша плавательного бассейна, 21 – система отбора проб воды из бассейна, 22 – форсунки подачи воды, 23 – трубопровод, 24 – гидравлическая связь, 25 – электрическая связь, 26 – пневматическая связь, 27 – автоматический кран-дозатор, 28 – вытяжная система вентиляции, 29 – приточная система вентиляции.
Устройство контроля содержания озона состоит из газового хроматографа 1, который соединен с блоком управления 2, содержащим компьютер, и монитором 3, при помощи электрической связи 25. С другой стороны к хроматографу 1 подключены через автоматический кран-дозатор 27 термодесорбер 5 и динамический парофазный пробоотборник 6. К термодесорберу 5 при помощи пневматических связей 26 подключен датчик отбора пробы воздуха 7, представляющий собой узел отбора пробы содержания озона О3 в атмосфере помещения. В помещении 8 установлены вытяжная система вентиляции 28 и приточная система вентиляции 29. К динамическому парофазному пробоотборнику 6 при помощи гидравлических связей 24 подключена система отбора проб воды из бассейна 21 из трубопровода 23 плавательного бассейна. На чертеже не показана система наполнения водой чаши плавательного бассейна 20. К блоку управления 2, содержащему компьютер, при помощи электрической связи 25 подключена система озонирования воды 4 плавательного бассейна. Блок управления 2 с компьютером как орган управления связан с приточной системой вентиляции 29, которая включает в себя приточный вентилятор 13, водяной калорифер 14, счетчик расхода количества воздуха приточной вентиляции 15, фильтр наружного воздуха 16, воздуховод 17, и вытяжной системой вентиляции 28, которая состоит из фильтра вытяжного воздуха 9, счетчика расхода количества воздуха вытяжной вентиляции 10, охладителя вытяжного воздуха 11, приточного вентилятора 12. Датчик влажности 18 и датчики контроля температуры и давления 19 также подключены к компьютеру 2. Датчики контроля температуры и давления 19 обозначены одной позицией.
Предложенное устройство работает следующим образом. При помощи датчика отбора пробы воздуха 7 берется проба для определения количества озона в воздухе в помещении 8 плавательного бассейна. В термодесорбере 5 происходит подготовка пробы воздуха в помещении 8 плавательного бассейна путем концентрирования примесей и их десорбции при высокой температуре. Затем через автоматический кран-дозатор 27 пробы автоматически вводятся в газовый хроматограф 1.
Для анализа воды плавательного бассейна проба отбирается через байпас, затем по гидравлической связи 24 проба попадает в динамический парофазный пробоотборник 6, который отбирает пробу озона, распределенного над жидкой фазой и вводит ее в хроматограф 1.
При помощи газового хроматографа 1 производится анализ всех проб, данные которых в виде сформированных сигналов поступают в компьютер блока управления 2, обрабатываются и выводятся на монитор 3.
Если компьютер блока управления 2 выдает сигнал о превышении предельно допустимой концентрации озона в воде, то система озонирования 4, подключенная с помощью электрической связи 25 к компьютеру 2, прекращает подачу озона.
При получении информации с компьютера 2 о превышении предельно допустимой концентрации озона в воздухе одновременно включается система вытяжной 28 и приточной 29 вентиляции, которые при помощи электрической связи 25 подключены к компьютеру 2. Микроклимат в помещении 8 плавательного бассейна контролируется с помощью датчика влажности 18 и датчиков контроля температуры и давления 19, которые с помощью электрической связи 25 связаны с главным органом блока управления 2 – компьютером.
Таким образом, мы имеем полную точную информацию о параметрах влажности и температуры в помещении плавательного бассейна, о превышении предельно допустимой концентрации озона в воздушной среде помещения и в воде плавательного бассейна, что дает нам возможность влиять на их величины.
Формула изобретения
1. Способ контроля содержания озона в воде и помещении плавательного бассейна, согласно которому производится измерение и контроль предельно допустимого содержания озона в воздухе вентилируемого помещения, а также отбор пробы воды из плавательного бассейна и ее анализ, отличающийся тем, что дополнительно определяют расход нагнетаемого чистого воздуха и выходящего из помещения отработанного воздуха, и на основании измеренных значений указанных расходов определяют качество и интенсивность очистки воздуха.
2. Способ п.1, отличающийся тем, что вводится коррекция на величину расхода в зависимости от колебания температуры, давления и влажности.
3. Устройство контроля содержания озона в воде и помещении плавательного бассейна, содержит блок управления с компьютером и монитором, газовый хроматограф, динамический парофазный пробоотборник, систему озонирования воды, установленные в трубопроводе, при этом выход динамического парафазного пробоотборника через гидравлическую связь соединен с одним из выходов газового хроматографа, а электрический выход системы озонирования подключен к входу блока управления, термодесорбер, пневматический выход которого через кран-дозатор соединен с другим входом газового хроматографа, датчик содержания озона в атмосфере помещения плавательного бассейна, пневматически связанного с термодесорбером, при этом электрические выходы термодесорбера и автоматического крана-дозатора подключены к входам блока управления, отличающееся тем, что устройство снабжено счетчиками расхода количества воздуха, установленными в системах приточной и вытяжной вентиляции, вентиляторами и фильтрами приточной и вытяжной вентиляции, которые также установлены в системах приточной и вытяжной вентиляции, при этом счетчики расхода количества воздуха и вентиляторы подключены к блоку управления.
4. Устройство по п.3, отличающееся тем, что устройство снабжено датчиками контроля влажности, температуры и давления в помещении, подключенными к блоку управления.
РИСУНКИ
|
|