|
|
(21), (22) Заявка: 2007139223/28, 22.10.2007
(24) Дата начала отсчета срока действия патента:
22.10.2007
(43) Дата публикации заявки: 27.04.2009
(46) Опубликовано: 27.08.2009
(56) Список документов, цитированных в отчете о поиске:
SU 775626 A1, 30.10.1980. RU 2200780 C1, 20.03.2003. RU 2089897 C1, 10.09.1997. SU 699341 A1, 25.11.1979. SU 613213 A1, 30.06.1978.
Адрес для переписки:
636039, Томская обл., г.Северск,ул.Курчатова,1, ,ОАО “СХК”, патентно-информационный отдел
|
(72) Автор(ы):
Козлов Максим Петрович (RU), Корсаков Владислав Александрович (RU)
(73) Патентообладатель(и):
Открытое акционерное общество “Сибирский химический комбинат” (RU)
|
(54) ДАТЧИК ПЬЕЗОЭЛЕКТРИЧЕСКОГО СИГНАЛИЗАТОРА УРОВНЯ
(57) Реферат:
Изобретение относится к измерительной технике, в частности к сигнализаторам уровня, и может быть использовано для контроля уровня жидких и сыпучих материалов, в том числе агрессивных, в химической и других отраслях промышленности. Сущность: датчик пьезоэлектрического сигнализатора уровня содержит металлический цилиндрический стакан и один или два пьезопреобразователя, выполненных в виде идентичных по размерам полых цилиндров и расположенных внутри стакана коаксиально его стенке. Пьезопреобразователи установлены в стакане посредством посадки с гарантированным натягом, причем стакан имеет внутренний диаметр, удовлетворяющий условиям обеспечения минимального удельного давления стакана на пьезопреобразователи при максимальной рабочей температуре. Посадку с гарантированным натягом осуществляют путем нагрева стакана до температуры, при которой пьезопреобразователи свободно входят в стакан, причем температура нагрева пьезопреобразователей от стакана в процессе установки не должна превышать температуру точки Кюри для пьезокерамики, из которой изготовлены пьезопреобразователи, с последующим охлаждением стакана до температуры окружающей среды. Технический результат: расширение рабочего температурного диапазона, повышение надежности крепления пьезопреобразователей в датчике, повышений чувствительности датчика и возможности контроля уровня сыпучих материалов. 1 ил.
Изобретение относится к измерительной технике, в частности к сигнализаторам уровня, и может быть использовано для контроля уровня жидких и сыпучих материалов, в том числе агрессивных, в химической и других отраслях промышленности.
Известен датчик пьезоэлектрического сигнализатора уровня жидкости [Трофимов А.И. Пьезоэлектрические преобразователи статических нагрузок. – М.: Машиностроение, 1979, с.83, 84], выполненный в виде тонкостенного стакана, ко дну которого приклеен пьезопреобразователь в виде пьезоэлектрического трансформатора. Пьезопреобразователь включен в схему автогенератора и является его частотозадающим элементом. Если жидкость не касается чувствительного элемента сигнализатора, потери пьезопреобразователя минимальны, и он обладает достаточной добротностью для колебаний автогенератора. При достижении контролируемого уровня жидкость касается дна стакана, акустические потери пьезоэлектрического трансформатора скачком увеличиваются, что приводит к резкому снижению его добротности и срыву колебаний автогенератора, сигнал с которого поступает в исполнительную схему сигнализации сигнализатора.
Недостатком данного датчика сигнализатора является то, что клеевое соединение пьезопреобразователя и стакана механически непрочно и может нарушиться даже при незначительных вибрациях и ударах. К тому же клеевое соединение является неразборным, что резко ухудшает ремонтопригодность датчика сигнализатора при выходе из строя пьезопреобразователя. Также клеевое соединение не обеспечивает высокой чувствительности, что ограничивает применение сигнализатора только для контроля жидких материалов.
Наиболее близким к заявляемому изобретению является датчик ультразвукового сигнализатора уровня агрессивных жидкостей [А.с. СССР 775626, опубл. 30.10.80], содержащий металлический стакан, внутри которого вставлены по плотной посадке цилиндрические пьезопреобразователи, один из которых подключен к генератору, другой – к блоку сигнализации. Пьезопреобразователи выполнены в виде идентичных по размерам полых цилиндров, установлены на одной оси и зафиксированы втулками из звукопоглощающего материала. Один из пьезопреобразователей возбуждается на резонансной частоте радиальной моды колебаний. Стенки стакана также колеблются по радиусу. Энергия механических колебаний по цилиндрической стенке стакана передается к другому пьезопреобразователю, который также начинает колебаться на резонансной частоте радиальной моды колебаний. Когда уровень жидкости достигает участка цилиндрической поверхности между пьезопреобразователями, увеличиваются потери ультразвуковой энергии, резко падает амплитуда колебаний приемного преобразователя и выдается сигнал с приемного преобразователя в блок сигнализации.
Плотная посадка пьезопреобразователей в стакане имеет ряд недостатков, так как относится к типу переходных посадок, допускающих как небольшой зазор, так и минимальный натяг, и поэтому не обеспечивает надежного акустического контакта пьезопреобразователей и стакана при температурных изменениях их физических размеров вследствие разных коэффициентов линейного расширения (сжатия) металла и пьезокерамики, из которой изготовлены пьезопреобразователи. В критическом случае из-за большего температурного расширения стакана акустическая связь между ним и пьезопреобразователями будет потеряна, что приведет к отказу сигнализатора. Поэтому сигнализатор уровня с датчиком, собранным с использованием плотной посадки, не пригоден для контроля уровня жидкости в широком диапазоне рабочих температур. Сигнализатор уровня, в состав которого входит датчик, собранный с применением плотной посадки, имеет низкую чувствительность, что ограничивает его применение только для контроля уровня жидкостей и не позволяет контролировать уровень сыпучих материалов.
Задачей данного изобретения является повышение надежности крепления пьезопреобразователей в датчике пьезоэлектрического сигнализатора уровня, повышение чувствительности датчика для возможности контроля уровня не только жидких, но и сыпучих материалов, расширение рабочего температурного диапазона сигнализатора уровня.
Данная задача решается тем, что в датчике пьезоэлектрического сигнализатора уровня, содержащем металлический цилиндрический стакан и один или два пьезопреобразователя, выполненных в виде идентичных по размерам полых цилиндров, пьезопреобразователи установлены внутри стакана коаксиально его стенке посредством посадки с гарантированным натягом, причем внутренний диаметр стакана удовлетворяет условию обеспечения минимального удельного давления стакана на пьезопреобразователи при максимальной рабочей температуре.
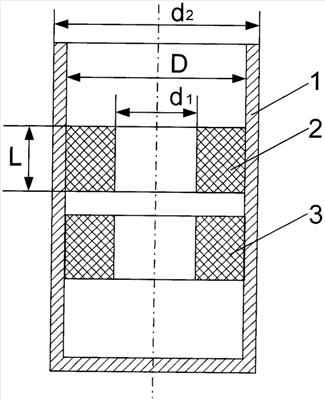
Предлагаемый датчик пьезоэлектрического сигнализатора уровня с двумя пьезопреобразователями представлен на чертеже.
Пьезоэлектрический датчик сигнализатора уровня содержит цилиндрический стакан 1 из металла, устойчивого к химическому воздействию рабочей среды, и пьезопреобразователи 2, 3, выполненные из пьезокерамики, имеющей коэффициент линейного расширения ниже, чем коэффициент линейного расширения металла, из которого изготовлен применяемый стакан. Пьезопреобразователи 2, 3 выполнены в виде идентичных по размерам полых цилиндров и расположены внутри стакана коаксиально его стенке. Один из пьезопреобразователей подключен к входу усилителя колебаний, другой – к его выходу. Усилитель и пьезопреобразователи образуют автогенератор колебаний, в котором пьезопреобразователи являются его частотозадающими элементами. Выход усилителя соединен с блоком сигнализации. Пьезопреобразователи установлены в стакан посредством посадки с гарантированным натягом.
Для обеспечения минимального удельного давления стакана на пьезопреобразователи при максимальной рабочей температуре стакан пьезоэлектрического датчика имеет внутренний диаметр, рассчитанный по формуле (I):

где d – внешний диаметр пьезопреобразователей при температуре окружающей среды;
1 – коэффициент линейного расширения (сжатия) пьезокерамики;
2 – коэффициент линейного расширения (сжатия) материала стакана;
Т1=Тmax-T0 – разность максимальной рабочей температуры и температуры окружающей среды;
min – значение минимального натяга при максимальном значении рабочей температуры.
Значение минимального натяга min определяется по формуле (2):

где Pmin – требуемое минимальное удельное давление стакана на пьезопреобразователи при максимальном значении рабочей температуры;
E1, Е2 – модули продольной упругости пьезокерамики и материала стакана;
С1, С2 – коэффициенты, значения которых определяются из решения Лямэ для цилиндров, деформируемых относительно оси.
Значение Pmin рассчитывается по формуле (3), а коэффициенты C1 и С2 определяются в соответствии с формулами (4).

где F – заданное значение осевой силы, вызывающее смещение пьезопреобразователей в стакане (возникающей, например, при вибрации, ударах, ускорениях);
k – коэффициент трения;
L – высота пьезопреобразователей (см. чертеж).
 
где d1 – внутренний диаметр пьезопреобразователей (см. фиг.1);
d2 – внешний диаметр стакана (см. фиг.1);
µ1 – значение коэффициента Пуассона для пьезокерамики;
µ2 – значение коэффициента Пуассона для материала стакана.
Пьезопреобразователи установлены в стакан путем нагрева его до температуры
Тнагр, не ниже значения, определяемого по формуле (5):

где 0 – минимальный необходимый для сборки зазор.
В процессе установки не допускают превышения температуры нагрева пьезопреобразователей от стакана выше температуры точки Кюри пьезокерамики, что можно обеспечить быстрым охлаждением стакана после установки до температуры окружающей среды.
Работает устройство следующим образом.
Стакан помещают в среду с контролируемым материалом. Пока контролируемый материал не касается участка стакана, в котором расположены пьезопреобразователи, автогенератор возбуждается на резонансной частоте, зависящей от параметров пьезопреобразователей. Ультразвуковая энергия механических колебаний передается с пьезотрансформатора, подключенного к выходу усилителя, через цилиндрическую стенку стакана на пьезопреобразователь, подключенный к входу усилителя. Так как посадка с гарантированным натягом обеспечивает более плотный контакт пьезопреобразователей со стаканом, чем плотная посадка или клеевое соединение, то ультразвуковая энергия механических колебаний передается с минимальными потерями и выполняется условие для возникновения и существования автоколебаний. Когда уровень контролируемого материала достигает участка цилиндрической поверхности стакана, в котором расположены пьезопреобразователи, возникают потери ультразвуковой энергии, уменьшается амплитуда колебаний пьезопреобразователей, нарушается условие возникновения и существования автоколебаний, происходит срыв автоколебаний, и, соответственно, выдается сигнал в блок сигнализации. Наличие плотного контакта между пьезопреобразователем и стенкой стакана позволяет улавливать минимальные потери ультразвуковой энергии, что делает возможным применение заявляемого датчика для контроля уровня как жидких, так и сыпучих сред. При увеличении рабочей температуры среды работа датчика не нарушается, так как наличие гарантированного натяга обеспечивает плотный контакт пьезопреобразователей со стенкой стакана и при максимальной рабочей температуре.
Работа датчика с одним пьезопреобразователем аналогична работе датчика с двумя пьезопреобразователями. В этом случае пьезопреобразователь выполнен в виде пьезотрансформатора. Входные электроды пьезотрансформатора подключены к выходу усилителя колебаний, выходные – к его входу.
Установка пьезопреобразователей посредством посадки с гарантированным натягом обеспечивает более плотный и прочный акустический контакт между пьезопреобразователями и стаканом, что приводит к расширению рабочего температурного диапазона сигнализатора уровня, повышению надежности крепления пьезопреобразователей в датчике, повышению чувствительности датчика и, как следствие, возможности контроля уровня сыпучих материалов. Данный датчик может использоваться и для других приборов (уровнемеров и т.п.), требующих для своей работы плотного акустического контакта между пьезопреобразователями и стаканом.
Формула изобретения
Датчик пьезоэлектрического сигнализатора уровня, содержащий металлический цилиндрический стакан и один или два пьезопреобразователя, выполненных в виде идентичных по размерам полых цилиндров, установленных внутри стакана посредством посадки с гарантированным натягом коаксиально его стенке с возможностью контакта со стаканом по внешним поверхностям, отличающийся тем, что внутренний диаметр D стакана удовлетворяет условию обеспечения минимального удельного давления стакана на пьезопреобразователи при максимальной рабочей температуре и определяется соотношением
 где d – внешний диаметр пьезопреобразователей при температуре окружающей среды;
1 – коэффициент линейного расширения (сжатия) пьезокерамики;
2 – коэффициент линейного расширения (сжатия) материала стакана;
T1=Тmax-Т0 – разность максимальной рабочей температуры и температуры окружающей среды;
min – значение минимального натяга при максимальном значении рабочей температуры.
РИСУНКИ
|
|