|
(21), (22) Заявка: 2007140802/02, 07.11.2007
(24) Дата начала отсчета срока действия патента:
07.11.2007
(46) Опубликовано: 27.08.2009
(56) Список документов, цитированных в отчете о поиске:
RU 2140310 C1, 27.10.1999. SU 1269787 A1, 15.11.1986. RU 2046614 C1, 27.10.1995. RU 2164655 C1, 27.03.2001. US 4282113 A, 04.08.1981.
Адрес для переписки:
142406, Московская обл., г. Ногинск, ул. Советской конституции, 23-А, кв.8, А.Л. Качалову
|
(72) Автор(ы):
Емельянов Валерий Нилович (RU), Вагонов Сергей Николаевич (RU), Вареных Николай Михайлович (RU), Киселев Виталий Борисович (RU)
(73) Патентообладатель(и):
Емельянов Валерий Нилович (RU), Вагонов Сергей Николаевич (RU), Вареных Николай Михайлович (RU), Киселев Виталий Борисович (RU)
|
(54) ГЕНЕРАТОР АЭРОЗОЛЯ
(57) Реферат:
Генератор включает термоизолированный корпус с функциональной пиротехнической шашкой, размещенной в корпусе, электровоспламенитель, смонтированный в диафрагме, имеющей выходные отверстия. Для повышения функциональной надежности и расширения технологических возможностей он снабжен предохранительной крышкой, патроном, закрепленным на корпусе, винтовым цоколем, несущим диафрагму, днищем с картонной прокладкой, соединенным с корпусом, и кольцевой обечайкой, выполненной из картона и установленной в винтовом цоколе, совмещенном с патроном. При этом диафрагма расположена над кольцевой обечайкой и образует с ней ресивер, предохранительная крышка навинчена через уплотнительное кольцо на выступающий торец цоколя, а пиротехническая шашка укреплена в картонном цилиндре, установленном в корпусе. Генератор может быть снабжен дополнительным воспламенителем ручного инициирования. 1 з.п. ф-лы, 1 ил.
Изобретение относится к области спасения жизни человека, а более конкретно к устройствам генерирования дыма, которые накачиваются непосредственно перед использованием с помощью зажигания веществ, выделяющих аэрозоль, необходимый для создания искусственных маскирующих дымовых завес.
Уровень данной области техники характеризуют генераторы аэрозоля, содержащие помещенную в теплоизолированном корпусе пиротехническую шашку со средством воспламенения и выходными отверстиями, описанные в изобретениях по SU 1269787, А62С 13/22, 1986; DE 2250643, 1974; GB 2020971, 1979 и 2028127, 1990; RU 2008045 и 2046614, А62С 5/04.
При горении пиротехнической композиции шашки выделяется газоаэрозольная смесь, включающая как газообразные соединения, так и высокодисперсные твердые частицы.
При сжигании пиросоставов образуются различные дымообразующие вещества, создающие маскирующие дымовые завесы (см., например, А.А.Шидловский, Основы пиротехники, Москва, Машиностроение, 1973 г., с.240).
Наиболее близким техническим решением по числу совпадающих признаков выбран генератор аэрозоля, описанный в патенте RU 2140310, А62С 3/00, 1999 г., который включает термоизолированный корпус с функциональной пиротехнической шашкой, размещенной в корпусе с возможностью взаимодействия с электровоспламенителем, смонтированным в диафрагме, имеющей выходные отверстия.
Установленная в термозащищенном корпусе пиротехническая шашка сообщается с воспламенительным устройством, инициируемым от датчиков превышения заданного порога температуры в защищаемом объеме.
В качестве термозащитной прослойки корпуса использован строительный гипс, который после застывания служит в качестве несущего элемента.
Кроме того, при нагревании гипсовой прослойки температурой горячих газообразных продуктов горения пиротехнической шашки в генерируемый аэрозоль выделяется выпариваемая вода из структуры строительного гипса, что служит дополнительным экологически чистым ингибитором горения.
Характерной особенностью известного устройства является наличие металлической обечайки, установленной аксиально пиротехнической шашке, закрепленной на термозащитной прослойке корпуса. Эта обечайка служит конвектором и выполняет функции ресивера для генерируемых при горении пиротехнической шашки газообразных продуктов.
Недостатком известного генератора аэрозоля является сложность конструкции из-за дополнительной установки соосного эжекционного цилиндра, необходимого для накопления генерируемого аэрозоля, его охлаждения посредством разбавления с инжектируемым воздухом атмосферы и выравнивания давления в газоаэрозольной смеси выбрасываемого потока.
Продолжением достоинств термозащитной прослойки из гипса являются присущие недостатки.
Во-первых, снаряжение генератора возможно только ранее приготовленной шашкой, которая с корпусом связывается посредством раствора гипса, твердеющего при продолжительной сушке, что снижает полезную нагрузку генератора и усложняет техпроцесс отдельного изготовления шашки и сборочных работ.
Во-вторых, гипсовая термозащитная прослойка занимает относительно большой объем корпуса за счет сокращения пиротехнической шашки и повышает массу генератора, что тяжело физически для переноски и при монтаже на местности сапером.
Существенным недостатком известного генератора является необходимость изолирования пиротехнической шашки от атмосферной влаги при хранении для обеспечения функциональной надежности устройства по назначению.
Кроме того, известный генератор не предназначен для индивидуального использования при инициировании вручную, что ограничивает технологические возможности и область его использования.
Задачей, на решение которой направлено настоящее изобретение, является повышение функциональной надежности и расширение технологических возможностей известного генератора аэрозоля.
Требуемый технический результат достигается тем, что в известном генераторе аэрозоля, включающем термоизолированный корпус с функциональной пиротехнической шашкой, размещенной в корпусе, электровоспламенитель, смонтированный в диафрагме, имеющей выходные отверстия, согласно изобретению он снабжен предохранительной крышкой, патроном, закрепленным на корпусе, винтовым цоколем, несущим диафрагму, днищем с картонной прокладкой, соединенным с корпусом, и кольцевой обечайкой, выполненной из картона и установленной в винтовом цоколе, совмещенном с патроном, при этом диафрагма расположена над кольцевой обечайкой и образует с ней ресивер, предохранительная крышка навинчена через уплотнительное кольцо на выступающий торец цоколя, а пиротехническая шашка укреплена в картонном цилиндре, установленном в корпусе, при этом генератор снабжен дополнительным воспламенителем ручного инициирования.
Отличительные признаки обеспечили повышение функциональной надежности и расширение технологических возможностей несущей конструкции генератора аэрозоля, используемого для постановки маскирующих дымовых завес.
Дисперсная фаза дыма в воздухе образует аэрозоль, маскирующая способность которого определяется светорассеянием, которое достигается при размерах частиц, близких к длинам волн видимого спектра света. Присутствие в воздухе дыма понижает его светопроницаемость за счет поглощения или рассеивания значительной части света частицами аэрозоля.
Монолитно соединенное с корпусом днище представляет собой несущую жесткую конструкцию, пригодную для осуществления прогрессивного мерного прессования пиротехнической шашки непосредственно в кольцевую обечайку из картона, помещенную внутри корпуса и опирающуюся на днище, чем упрощается технология серийного изготовления и сборка генератора в целом.
Картонный цилиндр, примыкающий изнутри к корпусу, дополнительно выполняет функции теплозащиты, что упрощает служебное обращение с работающим генератором.
Расположение диафрагмы над кольцевой обечайкой формирует внутри генератора ресивер, в котором происходит накопление генерируемого аэрозоля, его перемешивание и выравнивание давления для равномерного струйного распределения в атмосферу через выходные отверстия в диафрагме.
Установка кольцевой обечайки ресивера в винтовом цоколе, независимо от теплозащитной прослойки корпуса, упрощает конструкцию и технологию изготовления генератора, позволяет оптимизировать соотношение объема ресивера с проходным сечением выходных отверстий диафрагмы, обеспечив тем самым заданный газодинамический режим генерируемого аэрозоля для постановки в атмосфере плотного облака дыма.
Выполнение обечайки ресивера из картона обеспечивает теплоизоляцию цоколя и патрона корпуса, предотвращая их прогар за время работы генератора, что стабилизирует режим горения шашки и заданный объем дымообразования.
Жесткая связь винтового цоколя с диафрагмой формирует автономную сборочную единицу, которая изготавливается раздельно от пиротехнической шашки. В комплекте с воспламенительным устройством сформированная сборочная единица совмещается с винтовым патроном корпуса, формообразуя ресивер над запрессованной в корпусе шашкой. Это позволяет разделить механическое и химическое производства и упростить сборку генератора.
Выступающий над корпусом торец винтового цоколя предназначен для герметичной установки навинчиванием через уплотнительной кольцо предохранительной съемной крышки, которая изолирует объем ресивера, перекрывая воспламенитель и пиротехническую шашку.
Несущая конструкция оболочки узла запуска, сформированная сопряженными винтовыми профилями патрона и цоколя, внутри которой установлена коаксиальная картонная обечайка, предотвращает несанкционированный радиальный проскок пламени и нерегулярное горение шашки.
Оснащение генератора дополнительным воспламенителем ручного инициирования, который устанавливается после отвинчивания крышки непосредственно перед индивидуальным запуском, расширяет возможности не только автоматически в цепи от электрического импульса, но и для локальной постановки маскировочной дымовой завесы бойцом, необходимой для скрытного маневра или затрудняющей прицельный огонь противника.
Коэффициенты объемного расширения пиротехнического состава шашки и картонной теплозащитной оболочки корпуса подобраны равными, чтобы исключить образование в работе между ними зазора, предотвратив возможность проскока пламени и несанкционированное воспламенение шашки по периметру, а также исключает проникание влаги к шашке во время хранения. Это обеспечивает стабильное горение пиротехнического состава шашки и заданную газодинамику струйного истечения генерируемого аэрозоля.
Следовательно, каждый существенный признак необходим, а их совокупность в устойчивой взаимосвязи является достаточной для достижения новизны качества, неприсущей признакам в разобщенности, то есть поставленная техническая задача решается не суммой эффектов, а сверхэффектом суммы признаков.
Сущность изобретения поясняется чертежом, который имеет чисто иллюстративную цель и не ограничивает объема притязаний совокупности признаков формулы.
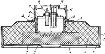
В металлическом корпусе 1, оснащенном примыкающей изнутри цилиндрической несущей оболочкой 2 из картона, размещены основной дымообразующий заряд 3 и переходный быстрогорящий заряд 4 с воспламенительной таблеткой 5, которые совокупно образуют функциональную шашку генератора аэрозоля.
Пиротехнические заряды 3, 4 шашки прессуются непосредственно в корпус 1, поэтому оболочка 2 к корпусу 1 и заряду 3 примыкает беззазорно.
Металлические корпус 1 с днищем 6 жестко связаны геометрически закаткой торцов, при этом между днищем 6 и зарядами 3, 4 помещена картонная прокладка 7.
Картонные оболочка 2 и прокладка 7 выполняют функции теплозащиты корпуса 1 и днища 6 соответственно, предотвращая их прогары за время работы генератора и несанкционированный прорыв аэрозоля.
В верхней части корпуса 1, над воспламенительной таблеткой 5, закреплен винтовой патрон 8 под сопрягаемый винтовой цоколь 9, на котором сверху смонтирована поперечная диафрагма 10 с распределенными по периферии выходными отверстиями 11.
Внутри цоколя 9 коаксиально установлена разрезная цилиндрическая обечайка 12 из картона, объем которой служит ресивером.
В диафрагме 10 установлены электровоспламенитель 13 и воспламенитель 14 с ручным инициированием (например, терочного типа).
На выступающем над корпусом 1 торцом патрона 8 навинчена предохранительная крышка 15, которая примыкает к корпусу 1 через уплотнительную прокладку 16.
Функционирует генератор следующим образом. Перед установкой генератора в цепь подобных отворачивается и снимается крышка 15 для подсоединения электровоспламенителя 13 к линии запуска.
Для индивидуального запуска генератора в гнездо диафрагмы 10 после снятия крышки 15 вкручивается отдельно хранимый воспламенитель 14, инициируемый затем бойцом вручную.
Тепловым импульсом форса пламени от инициированных вручную воспламенителя 14 или управляющим сигналом электровоспламенителя 13 воспламеняется чувствительная воспламенительная таблетка 5, тепловой энергией при горении которой воспламеняется переходный быстрогорящий заряд 4.
Далее воспламеняется и стабильно в заданном режиме горит основной дымообразующий заряд 3.
При горении пиротехнической шашки (таблетка 5 – заряды 4, 3) образуются газообразные продукты аэрозоля в виде дисперсии твердых частиц размером 0,8-0,2 мкм в воздухе, представляющих собой дым, создающий нейтральную маскирующую завесу.
Генерируемый при горении пиротехнической шашки аэрозоль в ресивере 12 перемешивается, при этом выравнивается его давление и цвет.Затем аэрозоль через выходные отверстия 11 диафрагмы 10 струйно истекает в атмосферу, где формируется маскирующее облако, в котором значительная часть света поглощается или рассеивается частицами дыма, снижая светопроницаемость.
Таким образом обеспечивается маскировка расположения своих войск и техники, а также задымление войск противника с целью затруднения его боевых действий.
Испытания опытных образцов предложенного генератора аэрозоля показали стабильную работу по созданию однородной дымовой завесы, обладающей хорошей кроющей способностью, устойчивой на воздухе.
Проведенный сопоставительный анализ предложенного генератора аэрозоля с выявленными аналогами уровня техники, из которого изобретение явным образом не следует для специалиста по пиротехнике, показал, что оно неизвестно, а с учетом возможности промышленного серийного изготовления устройств для постановки дымовой завесы можно сделать вывод о соответствии критериям патентоспособности.
Формула изобретения
1. Генератор аэрозоля, включающий термоизолированный корпус с функциональной пиротехнической шашкой, размещенной в корпусе, электровоспламенитель, смонтированный в диафрагме, имеющей выходные отверстия, отличающийся тем, что он снабжен предохранительной крышкой, патроном, закрепленным на корпусе, винтовым цоколем, несущим диафрагму, днищем с картонной прокладкой, соединенным с корпусом, и кольцевой обечайкой, выполненной из картона и установленной в винтовом цоколе, совмещенном с патроном, при этом диафрагма расположена над кольцевой обечайкой и образует с ней ресивер, предохранительная крышка навинчена через уплотнительное кольцо на выступающий торец цоколя, а пиротехническая шашка укреплена в картонном цилиндре, установленном в корпусе.
2. Генератор по п.1, отличающийся тем, что он снабжен дополнительным воспламенителем ручного инициирования.
РИСУНКИ
PC4A – Регистрация договора об уступке патента СССР или патента Российской Федерации на изобретение
Прежний патентообладатель:
Вареных Николай Михайлович, Вагонов Сергей Николаевич, Киселев Виталий Борисович, Емельянов Валерий Нилович
(73) Патентообладатель:
Федеральное государственное унитарное предприятие “Федеральный научно-производственный центр “Научно-исследовательский институт прикладной химии”
Договор № РД0057649 зарегистрирован 02.12.2009
Извещение опубликовано: 10.01.2010 БИ: 01/2010
|