|
|
(21), (22) Заявка: 2005137719/02, 05.12.2005
(24) Дата начала отсчета срока действия патента:
05.12.2005
(30) Конвенционный приоритет:
08.12.2004 DE 102004058986.0
(43) Дата публикации заявки: 20.06.2007
(46) Опубликовано: 27.08.2009
(56) Список документов, цитированных в отчете о поиске:
ЕР 1472501 A1, 03.11.2004. DE 9310821 U1, 16.09.1993. DE 10160345 A1, 12.06.2003. US 4819358 A, 11.04.1989. SU 408134 A1, 01.01.1973.
Адрес для переписки:
191186, Санкт-Петербург, а/я 230, “АРС-ПАТЕНТ”, пат.пов. В.М.Рыбакову, рег. 90
|
(72) Автор(ы):
ЦЕХ Майнрад (DE)
(73) Патентообладатель(и):
С.А.Т. СВИСС АРМЗ ТЕКНОЛОДЖИ АГ (CH)
|
(54) СПУСКОВОЕ УСТРОЙСТВО СТРЕЛКОВОГО ОРУЖИЯ
(57) Реферат:
Изобретение относится к спусковому механизму для огнестрельного стрелкового оружия, в частности ружья, со спусковым крючком (2), поворачивающимся на оси (12), спусковой тягой (4), установленной в ствольной коробке (1) и перемещающейся в продольном направлении для удержания или высвобождения предварительно взведенного бойка (6), и установленным в ствольной коробке (1), поворачивающимся на оси вращения (20) и шарнирно соединенным со спусковой тягой (4) поворотным рычагом (3), связывающим спусковую тягу (4) со спусковым крючком (2). Для изменения спускового сопротивления без существенных изменений конструкции шарнирно соединенный со спусковой тягой (4) поворотный рычаг (3) имеет выступающий вверх фиксатор (22), который при взведенном положении спускового механизма входит в нижний стопорный паз (19) на спусковом крючке (2), причем стопорный паз (19) содержит скошенную поверхность прилегания для передней стопорной кромки фиксатора (22). Изобретение позволяет легко регулировать спусковое сопротивление. 7 з.п. ф-лы, 5 ил.
Область техники
Изобретение относится к спусковому механизму для огнестрельного стрелкового оружия, в частности ружья, согласно ограничительной части пункта 1 формулы изобретения.
Уровень техники
В классических спусковых механизмах с упором спусковой рычаг снабжен упором, который при взведенном положении спускового механизма упирается в ответный упор лопасти спускового крючка. После выстрела упоры таких спусковых механизмов выходят из зацепления, и спусковые элементы разъединяются. Для повторного взведения нужна поэтому, кроме спусковой пружины, еще одна пружина, с помощью которой рычаг спускового крючка и шептало возвращаются в фиксированное исходное состояние. Однако в экстремальных ситуациях, например, при сильном загрязнении, осмолении или обледенении, может случиться, что отдельные элементы спускового механизма после выстрела не вернутся в исходное положение. Несостоявшаяся фиксация не позволяет в этом случае снова взвести затвор и произвести следующий выстрел. В указанных экстремальных ситуациях при обычных спусковых механизмах с упором возникает, кроме того, дополнительная опасность, что шептало после выстрела застрянет и не освободит боек.
Чтобы избежать таких ситуаций, элементы спускового механизма, известного из DE 9310821 U, соединяются между собой с помощью коленчатого шарнирного соединения. Для этого была предусмотрена соединительная планка, шарнирно соединенная с одной стороны с лопастью спускового крючка, а с другой стороны – с первым плечом поворотного рычага, установленного на оси вращения. Второе плечо поворотного рычага шарнирно соединено с нижним концом перемещающейся в продольном направлении спусковой тяги. Этим было образовано принудительное соединение без фиксатора спускового крючка со спусковой тягой, которое обеспечивает также возможность ручного возврата спускового устройства. Это техническое решение принято в качестве прототипа. Недостатком такого спускового устройства является то, что в нем не удается легко и просто изменить величину спускового сопротивления при спуске.
Раскрытие изобретения
Задача изобретения состоит в том, чтобы создать спусковой механизм вышеназванного типа, который позволит без существенных конструктивных изменений просто и легко регулировать спусковое сопротивление.
Эта задача решена в спусковом механизме для огнестрельного стрелкового оружия, в частности ружья, со спусковым крючком, поворачивающимся на оси, спусковой тягой, установленной в ствольной коробке и перемещающейся в продольном направлении для удержания или высвобождения предварительно взведенного бойка, и установленным в ствольной коробке, поворачивающимся на оси вращения и шарнирно соединенным со спусковой тягой поворотным рычагом, связывающим спусковую тягу со спусковым крючком. Согласно изобретению шарнирно соединенный со спусковой тягой поворотный рычаг имеет выступающий вверх фиксатор, который при взведенном положении спускового механизма входит в нижний стопорный паз на спусковом крючке, причем стопорный паз содержит скошенную поверхность прилегания для передней стопорной кромки фиксатора.
В спусковом механизме, предлагаемом в изобретении, спусковой крючок и спусковая тяга соединяются между собой не принудительно сопряженными шарнирными элементами, а посредством поворотного рычага, снабженного фиксатором, и соответствующего паза под фиксатор на спусковом крючке. Паз имеет скошенную поверхность прилегания для передней кромки фиксатора. Существенное достоинство спускового механизма состоит в том, что, изменяя условия зацепления между пазом и выступом фиксатора, можно сравнительно просто изменять спусковое сопротивление. Для этого не требуется никаких существенных конструктивных изменений или замены пружин.
В одном конструктивно простом и целесообразном конструктивном варианте спусковое сопротивление можно изменять за счет изменения угла наклона наклонной плоскости прилегания.
В другом предпочтительном варианте в спусковом крючке перед пазом для фиксатора расположена поверхность управления, на которую переходит выступ фиксатора при нажатии на спусковой крючок. С помощью этой поверхности управления можно вручную перевести спусковой механизм в исходное положение, если спусковой крючок или спусковая тяга не возвращаются автоматически в исходное положение, например, вследствие осмоления или обледенения.
Паз для фиксатора предпочтительно располагается на части стопорного элемента, соединяющейся с лопастью спускового крючка посредством разъемного соединения. Это позволяет при необходимости просто заменить стопорный элемент. Кроме того, это позволяет выполнить спусковой крючок из другого материала. Однако стопорный элемент может быть выполнен также и как неразъемная часть спускового крючка.
Краткий перечень чертежей
Другие особенности и преимущества изобретения вытекают из следующего описания одного предпочтительного примера реализации с помощью чертежей.
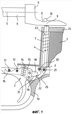
Фиг.1 – продольный разрез предлагаемого изобретением спускового механизма во взведенном исходном положении;
Фиг.2 – продольный разрез спускового механизма по фиг.1 в спущенном положении;
Фиг.3 – увеличенный вид спереди спускового крючка и разрез в плоскости А-А;
Фиг.4 – продольный разрез первого варианта спускового механизма с малым спусковым усилием и увеличенное изображение зоны зацепления между выступом и пазом фиксатора;
Фиг.5 – продольный разрез второго варианта спускового механизма с увеличенным спусковым усилием и увеличенное изображение зоны зацепления между выступом и пазом фиксатора.
Осуществление изобретения
Изображенный на фиг.1 и 2 в двух различных положениях спусковой механизм содержит установленный на оси вращения в ствольной коробке 1 спусковой крючок 2, соединяющийся посредством поворотного рычага 3 с перемещающейся в ствольной коробке спусковой тягой 4. Спусковая тяга 4 перемещается в соответствующем канале 7 в ствольной коробке перпендикулярно к оси 5 бойка 6. На заднем конце изображенного лишь частично бойка 6 находится втулка или гайка 8 бойка с выступающей назад пластиной 9, которую спусковая тяга 4 прижимает вверх, к неподвижному поперечному стержню 10. На верхней стороне пластины 9 имеется углубление 11 для неподвижного поперечного стержня 10, чтобы удерживать боек 6 во взведенном заднем положении.
Спусковой крючок 2 установлен в ствольной коробке 1 на оси вращения 12 и окружен спусковой скобой 13. Спусковая пружина 14 давит на спусковой крючок 2, переводя его в переднее исходное положение. Спусковой крючок 2 имеет лопасть 15 и расположенный напротив оси 12 выдающийся вперед выступ 16, который при изображенном на фиг.1 переднем исходном положении спускового крючка 2 прижимается к предохранительному штифту 17. Предохранительный штифт 17 ограничивает вращение спускового крючка 2 вперед. К задней стороне лопасти 15 прикреплен выдающийся назад стопорный элемент 18 с пазом 19 для фиксатора. В изображенном здесь варианте конструкции стопорный элемент 18 сменный, и может прикрепляться к лопасти 15 спускового крючка, например, штифтами. Спусковой крючок 2 изготовляется из пластмассы, а стопорный элемент 18 – металлический. Однако стопорный элемент 18 может быть выполнен также и как неразъемная часть спускового крючка 2.
Поворотный рычаг 3 может поворачиваться в ствольной коробке 1 вокруг поперечной оси 20, а его заднее плечо, выступающее назад относительно поперечной оси 20, штифтом 21 шарнирно соединяется с нижним концом спусковой тяги 4. Поворотный рычаг 3 соединен со спусковой тягой 4 таким образом, что при повороте поворотного рычага 3 вокруг поперечной оси 20 спусковая тяга перемещается вдоль своей продольной оси вверх или вниз. Переднее плечо поворотного рычага 3, выступающее вперед относительно поперечной оси 20, выполнено в виде утиного клюва с вытянутым вверх фиксатором 22 для входа в паз 19 стопорного элемента 18 спускового крючка 2. Выступ фиксатора 22 поворотного рычага 3 прилегает к нижней части стопорного элемента 18 и прижимается к ней нажимной пружиной 23, охватывающей спусковую тягу 4. Нажимная пружина 23 опирается своим верхним концом на нижнюю сторону пластины 24, соединенной со ствольной коробкой 1. Нижний конец нажимной пружины 23 соединен со спусковой тягой 4. Таким образом, благодаря нажимной пружине 23 фиксатор 22 всегда прижат к нижней стороне стопорного элемента 18. На спусковой скобе 13 предусмотрена верхняя поверхность прилегания, ограничивающая движение поворотного рычага 3 вниз.
На фиг.3 в увеличенном виде изображены вид спереди и разрез спускового крючка 2 без стопорного элемента 22. На верхней стороне спускового крючка 22 имеется гнездо 26, в которое входит нижний конец спусковой пружины 14. Спусковая пружина 14 упирается в головку регулировочного винта 27, который ввинчен в резьбовое отверстие 28 в дне гнезда 26 и может регулироваться по высоте. Благодаря этому обеспечивается тонкая регулировка нажимного усилия спусковой пружины 14. На задней стороне лопасти 15 спускового крючка расположен паз 29 с двумя отверстиями 30 для крепления изображенного на фиг.1 стопорного элемента 18. Кроме того, в спусковом крючке 2 имеется поперечное отверстие 32 для оси 12 спускового крючка.
Ниже, со ссылками на фиг.1, описывается принцип действия вышеописанного спускового механизма.
В изображенном на фиг.1 взведенном положении боек 6 с гайкой 8 бойка, преодолевая сопротивление не показанной здесь боевой пружины, отведен в заднее положение. Спусковой крючок 2 находится в переднем исходном положении, в котором спусковая тяга 4 посредством заднего стопорного элемента 18 спускового крючка 2 и поворотного рычага 3 удерживается в верхнем запертом положении. В этом запертом положении боек 6 с гайкой 8 бойка удерживается в отведенном назад запертом положении спусковой тягой 4, выступающей вверх из пластины 24, и утопленной в углубление 11 гайки 8 бойка поперечным стержнем 10. В изображенном взведенном положении фиксатор 22 поворотного рычага 3 входит в паз 19 на стопорном элементе 18 спускового крючка 2, обеспечивая ударостойкую фиксацию спускового механизма.
При нажатии на спусковой крючок 2 задний стопорный элемент 18 поворачивается вверх, как показано на фиг.2. При этом стопорный паз 19 освобождает фиксатор 22 поворотного рычага 3, так что спусковая тяга 4 может под действием боевой пружины переместиться вниз в расцепленное положение и освободить гайку 8 бойка. Фиксатор 22 поворотного рычага 3 в расцепленном положении спусковой тяги прилегает к расположенной перед стопорным пазом 19 нижней поверхности 31 управления стопорного элемента 18 и прижимается к ней под действием нажимной пружины 23.
После выстрела и повторного взведения спусковой крючок 2 возвращается в переднее исходное положение под действием спусковой пружины 14, вследствие чего фиксатор 22 поворотного рычага 3 снова движется вниз и входит в стопорный паз 19. При этом спусковая тяга 4 также снова перемещается вверх. Даже если спусковой крючок 2 или спусковая тяга 4 не вернутся автоматически в исходное положение, возможен возврат вручную. Спусковой крючок 2 можно рукой перевести в переднее исходное положение, вследствие чего и спусковая тяга 4 переместится вверх под нажимом поворотного рычага 3. При этом фиксатор 22 сначала будет скользить по нижней поверхности 31 управления, а затем войдет в стопорный паз 19.
Вышеописанный спусковой механизм позволяет сравнительно просто, не изменяя характеристик пружины, изменять спусковое усилие за счет изменения условий зацепления между стопорным пазом 19 и фиксатором 22. Как видно на увеличенных местных видах на фиг.4 и 5, стопорный паз 19 имеет скошенную поверхность 33 прилегания, к которой фиксатор 22 прилегает передней упорной кромкой 34. На фиг.4 и 5 изображены два различных варианта спускового механизма с различным спусковым усилием. Во взведенном положении в обоих исполнениях на спусковую тягу 4 действует направленное вниз нажимное усилие F1, значение которого определяется усилием натяжения не изображенной здесь боевой пружины и зацеплением между гайкой 8 бойка и поперечным стержнем 10 в углублении 11. Поворотный рычаг 3 действует на задний стопорный элемент 18 спускового крючка 2 с силой, складывающейся из перпендикулярной к плоскости 33 прилегания составляющей F10 и перпендикулярной к ней составляющей Fr. Значение составляющей F10 и ее направление определяются углом наклона поверхности 33 прилегания. В качестве угла наклона задается угол между поверхностью 33 прилегания и соединительной прямой 35 между центром 36 вращения спускового крючка и точкой контакта между упорной кромкой 34 и поверхностью 33 прилегания.
В исполнении, показанном на фиг.4, скошенная поверхность 33 прилегания наклонена к соединительной прямой 35 под углом 90°. Поэтому составляющая F10 проходит через центр 36 вращения. При заданной силе давления F1 боевой пружины, равной 90 Н, спусковое усилие FA, необходимое для преодоления спускового сопротивления, а следовательно, для срабатывания спускового крючка 2, составляет при этом исполнении 6,5 Н.
В исполнении по фиг.5 угол наклона скошенной поверхности 33 прилегания относительно соединительной прямой 35 составляет 99°. Вследствие этого составляющая F10 при этом варианте исполнения оказывается больше, чем при исполнении по фиг.4. Кроме того, составляющая F10 уже не проходит через центр 36 вращения, а создает вращающий момент с плечом L относительно центра 36 вращения, направленный навстречу направлению спуска спускового крючка 2. При этом исполнении спусковое усилие, необходимое для преодоления спускового сопротивления, а следовательно, для срабатывания спускового крючка 2, составляет при этом исполнении FA=15 Н.
Изменяя угол наклона скошенной поверхности 33 прилегания можно изменять спусковое усилие, требующее для срабатывания спускового механизма. Для этого могут предусматриваться различные легко взаимозаменяемые спусковые крючки 2 и/или стопорные элементы 18.
Формула изобретения
1. Спусковой механизм для огнестрельного стрелкового оружия, в частности ружья, со спусковым крючком (2), поворачивающимся на оси (12), спусковой тягой (4), установленной в ствольной коробке (1) и перемещающейся в продольном направлении для удержания или высвобождения предварительно взведенного бойка (6), и установленным в ствольной коробке (1), поворачивающимся на оси вращения (20) и шарнирно соединенным со спусковой тягой (4) поворотным рычагом (3), связывающим спусковую тягу (4) со спусковым крючком (2), отличающийся тем, что шарнирно соединенный со спусковой тягой (4) поворотный рычаг (3) имеет выступающий вверх фиксатор (22), который при взведенном положении спускового механизма входит в нижний стопорный паз (19) на спусковом крючке (2), причем стопорный паз (19) содержит скошенную поверхность (33) прилегания для передней стопорной кромки (34) фиксатора (22).
2. Спусковой механизм по п.1, отличающийся тем, что посредством изменения угла наклона скошенной поверхности (33) прилегания спусковое сопротивление может быть изменено.
3. Спусковой механизм по п.1 или 2, отличающийся тем, что спусковой крючок (2) имеет расположенную перед стопорным пазом (19) нижнюю поверхность (31) управления, к которой прилегает фиксатор (22) при спущенном спусковом крючке (2).
4. Спусковой механизм по п.3, отличающийся тем, что стопорный паз (19) и поверхность (31) управления расположены на заднем стопорном элементе (18) спускового крючка (2).
5. Спусковой механизм по п.4, отличающийся тем, что задний стопорный элемент (18) является сменной деталью спускового крючка (2).
6. Спусковой механизм по п.5, отличающийся тем, что задний стопорный элемент (18) расположен в пазу (29) на задней стороне лопасти (15) спускового крючка (2).
7. Спусковой механизм по любому из пп.1, 2, 4, 5 и 6, отличающийся тем, что спусковой крючок (2) имеет в резьбовом отверстии (28) регулируемый по высоте установочный винт (27), в головку которого упирается спусковая пружина (14).
8. Спусковой механизм по любому из пп.1, 2, 4, 5 и 6, отличающийся тем, что фиксатор (22) прижимается к стопорному элементу (18) спускового крючка (2) нажимной пружиной (23).
РИСУНКИ
|
|