|
|
(21), (22) Заявка: 2008108371/06, 03.03.2008
(24) Дата начала отсчета срока действия патента:
03.03.2008
(46) Опубликовано: 27.08.2009
(56) Список документов, цитированных в отчете о поиске:
RU 2300719 C1, 10.06.2007. SU 942608 A, 10.07.1982. SU 1332123 A1, 23.08.1987. SU 1218273 A1, 15.03.1986. RU 11314 U1, 16.09.1999. RU 2180424 C1, 10.03.2002.
Адрес для переписки:
152482, Ярославская обл., Любимский р-н, п/о Закобякино, д. Крутик, ул. Раздольная, 11, М.М. Маслову
|
(72) Автор(ы):
Маслов Максим Михайлович (RU)
(73) Патентообладатель(и):
Маслов Максим Михайлович (RU)
|
(54) АЭРОЖЕЛОБ УНИВЕРСАЛЬНЫЙ ДЛЯ СУШКИ СЫПУЧИХ И НЕСЫПУЧИХ МАТЕРИАЛОВ
(57) Реферат:
Изобретение относится к сельскохозяйственному машиностроению, в частности к установкам для сушки сыпучих и несыпучих материалов, например зерна, вороха семян трав, измельченной подвяленной травы. Аэрожелоб универсальный для сушки сыпучих и несыпучих материалов содержит камеру, днище из воздухораспределительных решеток и рассекателей, выгрузные клапаны, выполненные в виде металлических пластин, закрепленных на вращающейся оси, вращение которой осуществляется от электромагнита с помощью рычага, пружины, транспортер и лоток для подачи исходного материала, реверсивный разравнивающий шнек с механизмом регулирования его по высоте и датчиками уровня материала сушки. Между шнеком и воздухораспределительными решетками установлено устройство отсечки высушенного нижнего слоя, включающее жалюзийные короба, каретку с полками, механизм возвратно-поступательного движения каретки на роликах, механизм регулировки каретки по высоте. Подвижное реверсивное сводоразрушающее устройство и шнек установлены на тележечном конвейере, и все они приводятся от одного реверсивного мотор-редуктора через управляемые муфты. Сводоразрушающее устройство крепится на регулируемых подвесках, топочный блок и вентилятор служат для подачи сушильного агента по каналу в камеру, которая имеет заслонку окна для выгрузки высушенного материала в лоток со смотровым стеклом. Изобретение должно обеспечить повышение эффективности процесса выгрузки несыпучих материалов. 4 ил.
Изобретение относится к сельскохозяйственному машиностроению, в частности к установкам для сушки сыпучих и несыпучих материалов, например зерна, вороха семян трав, измельченной подвяленной травы.
Известен аэрожелоб для сушки несыпучих материалов [патент 2286521 от 24.03.2005 г.], содержащий камеру, выполненную с наклонными боковыми, задней и передней стенками, воздухораспределительные решетки, рассекатели, воздухоподводящие каналы с вентилятором и топочным блоком, выгрузное окно с заслонкой, цепочно-скребковый разравнивающий транспортер с механизмом регулирования его по высоте и датчиком уровня материала сушки для включения и отключения транспортера, устройство для отсечки высушенного нижнего слоя, включающее подвижную пальцевую решетку с приводом, устройство отрезания в виде режущего аппарата с ворошителем, которые перемещаются на роликовых тележках по направляющим от двух цепей, перемещаемых звездочками приводного вала.
Недостатками приведенного аэрожелоба являются:
1) конструкция устройства отсечки нижнего высушенного слоя исключает возможность противоточной сушки исходного сыпучего материала;
2) сложность конструкции устройства отрезания нижнего высушенного слоя увеличивает стоимость производства аэрожелоба.
Наиболее близким по технической сущности является аэрожелоб универсальный для сушки сыпучих и несыпучих материалов [патент 2300719 от 10.01.2006 г], содержащий сушильную камеру, выполненную боковыми, задней и передней стенками, днище из воздухораспределительных решеток и рассекателей, воздухоподводяший канал с топочным блоком и вентилятором, выгрузное окно с заслонкой, разравнивающий реверсивный шнек с механизмом регулировки его по высоте и датчиком контроля уровня материала сушки для включения вращения шнека по часовой и против часовой стрелки, а также отключения его, устройство для отсечки высушенного нижнего слоя, включающее жалюзийные короба, каретку с полками, механизм возвратно-поступательного движения каретки, механизм регулировки каретки по высоте в зависимости от вида материала сушки и подвижное реверсивное сводоразрушающее устройство, смонтированное над жалюзийными коробами.
Недостатком приведенного аэрожелоба является:
1) при выгрузке несыпучего вороха (например, измельченных трав) возможны сводообразования и уплотнения выгружаемого вороха в выгрузных окнах, которые могут повлечь за собой остановку процесса выгрузки.
Задачей изобретения является повышение эффективности процесса выгрузки несыпучих материалов.
Поставленная задача решается тем, что для повышения эффективности процесса выгрузки несыпучих материалов в предлагаемом аэрожелобе, содержащем сушильную камеру, выполненную боковыми, задней и передней стенками, днище из воздухораспределительных решеток и рассекателей, воздухоподводяший канал с топочным блоком и вентилятором, выгрузное окно с заслонкой, разравнивающий реверсивный шнек с механизмом регулировки его по высоте и датчиком контроля уровня материала сушки для включения вращения шнека по часовой и против часовой стрелки, а также отключения его, устройство для отсечки высушенного нижнего слоя, включающее жалюзийные короба, каретку с полками, механизм возвратно-поступательного движения каретки и механизм регулировки каретки по высоте в зависимости от вида материала сушки и подвижное реверсивное сводоразрушающее устройство, смонтированное над жалюзийными коробами, дополнительно устанавливаются выгрузные клапаны.
Новые существенные признаки:
1) выгрузные клапаны, установленные перед выгрузными окнами, выполненные в виде металлических пластин, закрепленных на вращающейся оси, вращение которой осуществляется с помощью рычага от электромагнита, обеспечивающие необходимые размеры воздушных щелей для увеличения напора воздуха во время процесса охлаждения и выгрузки, исключая сводообразования и уплотнения массы несыпучего вороха в выгрузных окнах.
Перечисленные новые существенные признаки достаточны во всех случаях, на которые распространяется испрашиваемый объем правовой охраны.
Выявленные отличительные признаки в совокупности с известными обеспечивают получение технического результата.
За счет установки выгрузных клапанов стала возможной беспрепятственная выгрузка несыпучего вороха, что позволяет производить выгрузку высушенного материала без сводообразований и уплотнений в выгрузных окнах.
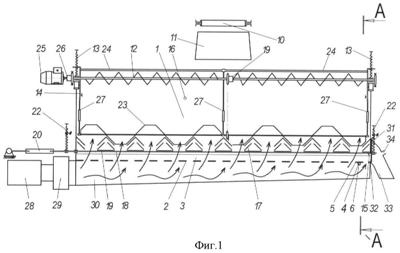
На фиг.1 приведен аэрожелоб, общий вид с положением устройства отсечки и выгрузных клапанов для сушки материала; на фиг.2 – общий вид при выгрузке и охлаждении нижнего высушенного слоя материала сушки с отсечкой от верхнего; на фиг.3 – сечение фиг.1 по А-А; на фиг.4 – общий вид выгрузных клапанов.
Аэрожелоб содержит камеру 1, днище из воздухораспределительных решеток 2 и рассекателей 3, выгрузные клапаны 4, выполненные в виде металлических пластин 5, закрепленных на вращающейся оси 6, вращение которой осуществляется от электромагнита 7 с помощью рычага 8, пружины 9, транспортер 10 и лоток 11 для подачи исходного материала, реверсивный разравнивающий шнек 12 с механизмом 13 регулирования его по высоте и датчиками 14 и 15 уровня материала сушки 16. Между шнеком 12 и воздухораспределительными решетками 2 установлено устройство отсечки высушенного нижнего слоя, включающее жалюзийные короба 17, каретку 18 с полками 19, механизм 20 возвратно-поступательного движения каретки 18 на роликах 21, механизм 22 регулировки каретки 18 по высоте. Подвижное реверсивное сводоразрушающее устройство 23 и шнек 12 установлены на тележечном конвейере 24, и все они приводятся от одного реверсивного мотор-редуктора 25 через управляемые муфты 26. Сводоразрушающее устройство крепится на регулируемых подвесках 27, топочный блок 28 и вентилятор 29 служат для подачи сушильного агента по каналу 30 в камеру 1, которая имеет заслонку 31 окна 32 для выгрузки высушенного материала в лоток 33 со смотровым стеклом 34.
Рабочий процесс сушки основан на противотоке: сыпучий или несыпучий влажный материал движется сверху из зоны влажного материала вниз в зону высохшего материала, а сушильный агент – снизу вверх, из зоны сухого материала в зону влажного материала, нагревая материал и испаряя из него влагу, полностью насыщаясь ею. Такой рабочий процесс самый экономичный.
Универсальный аэрожелоб работает следующим образом.
Для сушки определенного исходного материала необходимо установить разравнивающий шнек 12 вместе с датчиками 14 уровня материала на оптимальную высоту механизмом 13. Оптимальное положение сводоразрушающего устройства 23 регулируется изменением длины подвесок 27. Зазор между полками 19 и жалюзийными коробами 17 регулируется механизмом 22.
Механизм возвратно-поступательного движения каретки 18 переводят в положение сушки, затем включают транспортер 10, шнек 12 и сводоразрушающее устройство 23. Как только влажный материал достигнет уровня, например, датчика 14 на задней стенке, мотор-редуктор 25 переключается на обратное вращение для направления влажного материала к передней стенке. При срабатывании датчика 14 от контакта с влажным материалом у передней стенки аэрожелоба управляемая муфта 26 переводит тележечный конвейер 24 на фиксированное расстояние в поперечном направлении у сушильной камеры для поэтапной загрузки всей сушильной камеры 1 с формированием слоя у влажного материала одинаковой толщины по всей площади камеры 1. По окончании загрузки отключается мотор-редуктор 25 и транспортер 10.
С помощью топочного блока 28 и вентилятора 29 начинается подача сушильного агента по каналу 30 в камеру 1 через воздухораспределительные решетки 2. Происходит нагревание материала 16 и удаление испарившейся влаги вместе с отработанным сушильным агентом из верхнего слоя материала 16 наружу.
Как только нижний слой материала достигает кондиционной влажности, которую определяют влагомером при оперативном контроле, каретка 18 с помощью возвратно-поступательного движения от механизма 20 передвигается в положение выгрузки, полки 19 выходят из-под жалюзийных коробов 17, закрывают промежутки между коробами, производится отсечение нижнего слоя материала для охлаждения и выгрузки. Топочный блок 28 отключается, вентилятором 29 подается ненагретый окружающий воздух по каналу 30 в камеру 1. Этим воздухом, выходящим из воздухораспределительной решетки 2, осуществляется охлаждение и выгрузка нижнего высушенного слоя через окно 32, открытое заслонкой 31, в приемный лоток 33. При открытии заслонки 31 включается датчик уровня 15. В случае сводообразования или уплотнения выгружаемого материала в окне 32 датчик 15 включает электромагнит 7, который, втягивая шток, поворачивает рычаг 8, выгрузные клапаны 4, поворачиваясь на оси 6, увеличивают размеры воздушных щелей между краями пластин 5 и решеткой 2, при этом возрастающий напор воздуха удаляет материал, застрявший в окне 32. После удаления застрявшей массы из окна 32 датчик 15 отключает электромагнит 7 и пружина 9 поворачивает рычаг 8, возвращая клапаны 4 в исходное положение, а процесс охлаждения и выгрузки продолжается в обычном режиме.
В конце выгрузки заслонка 31 закрывается, полки 19 каретки 18 передвигаются в положение сушки. Материал из верхней части камеры 1 просыпается вниз до воздухораспределительной решетки 2 при включенных транспортере 10 и мотор-редукторе 25. Заполнение нижней части камеры 1 контролируют с использованием датчиков 14, которые установлены на рассекателях 3 и дополнительно через смотровые окна 34. Транспортер 10, шнек 12 и сводоразрушающее устройство 23 формируют новый ровный заданный слой материала 16 в камере 1, а потом включается топочный блок 28 для сушки.
Во время работы на исходном сыпучем материале сводоразрушающее устройство 23 не включается, а выгрузные клапаны при необходимости могут включаться автоматически.
Формула изобретения
Аэрожелоб универсальный для сушки сыпучих и несыпучих материалов, содержащий камеру, выполненную с наклонными боковыми, задней и передней стенками, днище из воздухораспределительных решеток и рассекателей, разравнивающий шнек и устройство отсечки, включающее жалюзийные короба, каретку с полками, механизм возвратно-поступательного движения каретки, воздухоподводяший канал с топочным блоком и вентилятором, выгрузное окно с заслонкой, подвижное реверсивное сводоразрушающее устройство на тележечном конвейере, отличающийся тем, что для успешной выгрузки несыпучих материалов установлены выгрузные клапаны.
РИСУНКИ
|
|