|
|
(21), (22) Заявка: 2005141123/06, 27.12.2005
(24) Дата начала отсчета срока действия патента:
27.12.2005
(30) Конвенционный приоритет:
06.01.2005 FR 05 00098
(43) Дата публикации заявки: 10.07.2007
(46) Опубликовано: 27.08.2009
(56) Список документов, цитированных в отчете о поиске:
GB 589030 A, 10.06.1947. EP 0628728 A1, 14.12.1994. WO 96/23978 A1, 08.08.1996. EP 0523935 A1, 20.01.1993. RU 40670 U1, 20.09.2004. SU 1032866 A1, 09.02.1995.
Адрес для переписки:
129010, Москва, ул. Б.Спасская, 25, стр.3, ООО “Юридическая фирма Городисский и Партнеры”, пат.пов. С.А.Дорофееву
|
(72) Автор(ы):
КАЙРЕ Ален (FR), ДАГЕНЕ Люк (FR), ГОТЬЕ Клод (FR), ПЬЕССЕРГ Кристоф (FR), ТУШО Стефан (FR)
(73) Патентообладатель(и):
СНЕКМА (FR)
|
(54) ДИФФУЗОР ДЛЯ КОЛЬЦЕВОЙ КАМЕРЫ СГОРАНИЯ, В ЧАСТНОСТИ ДЛЯ ТУРБИННОГО ДВИГАТЕЛЯ САМОЛЕТА, А ТАКЖЕ КАМЕРА СГОРАНИЯ И АВИАЦИОННЫЙ ТУРБОВИНТОВОЙ ДВИГАТЕЛЬ, СОДЕРЖАЩИЕ ТАКОЙ ДИФФУЗОР
(57) Реферат:
Диффузор для кольцевой камеры сгорания с одной зоной, в частности для авиационного турбовинтового двигателя, содержит разделительный элемент, разделяющий поток воздуха, выходящий из компрессора, на два кольцевых диффузионных потока. Разделительный элемент образован тонким листом, соединенным конструкционными рычагами с внутренней и наружной кругообразно симметричными стенками диффузора. Угол расширения каждого диффузионного потока, образованный указанным тонким листом в диффузоре, составляет приблизительно 12-13°. Топливные форсунки в камере сгорания расположены на одной линии с участком нижнего по потоку конца тонкого листа, образующего разделительный элемент, и ориентированы относительно продольной оси камеры сгорания, по существу, так же, как и указанный участок нижнего по потоку конца. Изобретение направлено на создание компактного диффузора, позволяющего оптимально разделять поток воздуха, выходящий из компрессора, на два диффузионных потока, питающих камеру сгорания с одной зоной, минимизирующую потери напора, оптимизирующую распределение расхода питающего и охлаждающего потока к камере сгорания и минимизирующую возмущения, вызванные отбором воздуха в самолете с конца камеры сгорания. 3 н. и 9 з.п. ф-лы, 4 ил.
Настоящее изобретение относится к диффузору для кольцевой камеры сгорания, в частности, для двигателя самолета, например, турбореактивного или турбовинтового, при этом диффузор содержит разделительный элемент для разделения потока воздуха, выходящего из компрессора, на два кольцевых диффузионных потока, подаваемых в камеру сгорания.
Известен диффузор такого типа для питания двухзонной камеры сгорания, т.е. камеры сгорания, имеющей два концентричных набора топливных форсунок. Разделительный элемент содержит две кругообразно симметричных поверхности вращения, которые расходятся вниз по потоку от входа в диффузор. Такая конструкция имеет очень открытую конфигурацию и предназначена для двигателей большого размера. Она не пригодна для питания камеры сгорания с одной зоной, в частности, для двигателя относительно небольшого размера.
Известен также диффузор, содержащий два коаксиальных разделительных элемента, расположенных один вокруг другого для разделения потока воздуха, выходящего из компрессора, на три коаксиальных кольцевых потока, при этом средний поток питает камеру сгорания, а потоки, проходящие радиально внутри и радиально снаружи относительно среднего потока, питают обводные контуры камеры сгорания для охлаждения ее стенок и стенок турбины, расположенных на выходе камеры сгорания. Такой известный диффузор предназначен для двигателей большого размера и не пригоден для использования на двигателях относительно небольшого размера.
Целью настоящего изобретения является создание диффузора с разделительным устройством, который является компактным и пригодным для использования в двигателе, имеющем размер меньше, чем у прототипа, и который позволяет оптимально разделять поток воздуха, выходящий из компрессора, на два диффузионных потока, питающих камеру сгорания с одной зоной, минимизирующую потери напора, оптимизирующую распределение расхода питающего и охлаждающего потока к камере сгорания и минимизирующую возмущения, вызванные любым отбором воздуха в самолете с конца камеры сгорания.
Для этого согласно настоящему изобретению создан диффузор для кольцевой камеры сгорания с одной зоной, в частности, для авиационного турбовинтового двигателя, содержащий разделительный элемент, разделяющий поток воздуха, выходящий из компрессора, на два кольцевых диффузионных потока, при этом разделительный элемент образован тонким листом, соединенным конструкционными рычагами с внутренней и наружной кругообразно симметричными стенками диффузора, причем угол расширения каждого диффузионного потока, образованный указанным тонким листом в диффузоре, составляет приблизительно 12-13°, при этом топливные форсунки в камере сгорания расположены на одной линии с участком нижнего по потоку конца тонкого листа, образующего разделительный элемент, и ориентированы относительно продольной оси камеры сгорания по существу так же, как и указанный участок нижнего по потоку конца.
Существенным преимуществом диффузора согласно настоящему изобретению является то, что он позволяет потоку воздуха, выходящему из компрессора, замедлиться в максимальной степени на коротком расстоянии, одновременно обеспечивая его устойчивость и стабильность, т.е. отсутствие разделения. Дублированные углы расширения диффузора позволяют сократить длину диффузора и уменьшить вес двигателя.
Наружный диффузионный поток питает часть системы впрыска топлива в камеру сгорания, а также питает наружный обводной контур вокруг камеры сгорания и, при желании, питает контур отбора воздуха на нужды самолета, а внутренний диффузионный поток питает часть системы впрыска топлива, а также питает обводной контур, установленный внутри относительно камеры сгорания.
Тонкий лист предпочтительно выполнен обтекаемым в продольном сечении для уменьшения вредной турбулентности и турбулентного следа ниже по потоку и для улучшения питания конца камеры сгорания.
Конструкционные рычаги, соединяющие тонкий лист, образующий разделительный элемент, с внутренней и наружной кругообразно симметричными стенками диффузора, также могут выполнять функцию спрямления потока, выходящего из компрессора.
Эти конструкционные рычаги также могут быть выполнены обтекаемыми в продольном сечении для уменьшения потерь напора в диффузоре.
На выходе компрессора и на входе диффузора могут быть установлены спрямляющие элементы, которые могут быть, при желании, выполнены в верхней по потоку части кругообразно симметричных стенок диффузора.
Предпочтительно диффузор согласно настоящему изобретению содержит нишу, расположенную между нижним по потоку концом внутренней кругообразно симметричной стенки диффузора и внутренней опорной стенкой, и/или нишу, расположенную между нижним по потоку концом наружной кругообразно симметричной внешней стенки диффузора и наружной опорной стенкой, при этом эти ниши образуют стабильные зоны рециркуляции воздуха, тем самым, делая диффузор менее чувствительным к неравномерностям потока воздуха, выходящего из компрессора.
В основном, малая длина диффузора согласно настоящему изобретению, связанная с большой диффузией, создаваемой им, позволяет в достаточной степени питать камеру сгорания с одной зоной в двигателе меньшего размера по сравнению с прототипом. Этот диффузор способен на входе выдерживать аэродинамические условия, характеризующиеся неравномерностью напора потока. Он способен ограничивать возмущения, создаваемые отбором воздуха на нужды самолета из конца камеры сгорания, и обеспечивает малые потери напора в камере сгорания и, тем самым, улучшенную эффективность и сокращение потребления топлива двигателем.
Согласно настоящему изобретению также создана камера сгорания с одной зоной, в частности, для авиационного турбовинтового двигателя, содержащая описанный выше диффузор.
Настоящее изобретение также относится к авиационному турбовентиляторному двигателю, содержащему описанный выше диффузор.
Настоящее изобретение станет более понятно, и его другие отличительные признаки, детали и преимущества будут раскрыты более подробно в нижеприведенном описании неограничивающего примера со ссылками на прилагаемые чертежи, на которых:
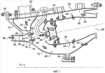
Фиг.1 – частичный схематический вид осевого сечения диффузора согласно настоящему изобретению вместе с камерой сгорания, имеющей одну зону.
Фиг.2-4 – частичные схематические виды осевого сечения различных вариантов воплощения диффузора согласно настоящему изобретению.
На чертежах левая сторона является верхней по потоку, или обращена вперед, а правая часть является нижней по потоку, или обращена назад.
Как показано на фиг.1, диффузор 10 согласно настоящему изобретению установлен на выходе компрессора (не показан) и поддерживается внутренней стенкой 12 и наружной стенкой 14, которые прикреплены фланцами 16 и 18 соответственно к внутреннему кожуху турбины и к наружному кожуху 20 турбины, содержащему, по меньшей мере, одну магистраль 22 для отбора воздуха на нужды самолета (наддува кабины, удаления льда с гондолы двигателя и т.д.), которая открыта вверх по потоку от камеры 24 сгорания, имеющей кольцевую форму и которую питает диффузор 10, и которая питает турбину высокого давления (не показана), установленную ниже по потоку от выхода 26 камеры сгорания.
На наружном кожухе 20 также установлена магистраль 28 для подачи топлива на форсунки 30, которые разнесены по периферии вокруг продольной оси А камеры 24 сгорания и двигателя.
Диффузор 10 имеет внутреннюю кругообразно симметричную стенку 32, окруженную наружной кругообразно симметричной стенкой 34, и тонкий лист 36, образующий разделительный элемент, который проходит вокруг продольной оси А двигателя между стенками 32 и 34 и который разделяет поток 38 воздуха, выходящий из компрессора, на два кольцевых потока, а именно внутренний поток 40 и наружный поток 42. Конструкционные рычаги 44 проходят радиально между тонким листом 36 и кругообразно симметричными стенками 32 и 34 для удержания тонкого листа 36 и передачи усилий на диффузор.
Топливные форсунки 30 в камере сгорания расположены на одной линии с нижним по потоку концом тонкого листа 36 и имеют такую же ориентацию, что и указанный нижний по потоку конец относительно продольной оси А двигателя.
Внутренний и наружный потоки, образованные между тонким листом 36 и внутренней и наружной кругообразно симметричными стенками 32 и 34 диффузора, имеют углы расширения, которые обеспечивают увеличение сечения потока воздуха в возрастающей степени от входа к выходу диффузора, при этом общий угол расширения диффузора 10 представляет удвоенный оптимальный угол расширения для простого диффузора без разделительного элемента, позволяя тем самым обеспечить оптимальную диффузию потока воздуха, выходящего из компрессора на укороченной осевой длине.
Радиально внутренний поток 40, выходя из диффузора 10, питает систему впрыска, образованную форсунками 30 в камере сгорания, и внутренний кольцевой канал 46, который обходит камеру 24 сгорания, при этом внутренний канал 46 образован между внутренней стенкой 12 для поддержки диффузора 10 и соответствующей кольцевой стенкой 48 камеры 24 сгорания и открывается внизу по потоку к внутреннему контуру для охлаждения турбины. Часть диффузионного потока 40, которая проходит по каналу 46, делится на поток 50, проходящий в камеру 24 сгорания через отверстия во внутренней кольцевой стенке 48, и на поток 52, направляемый во внутренний контур охлаждения турбины.
Радиально наружный поток 42 служит частично для питания системы впрыска камеры 24 сгорания и частично для питания камеры кольцевого канала 54, обходящего камеру 24 сгорания снаружи, при этом канал 54 образован между наружным кожухом 20 и наружной кольцевой стенкой 56 камеры сгорания. Воздух, текущий по каналу 54, делится на поток 58, проходящий в камеру 24 сгорания через отверстия в наружной кольцевой стенке 56, и на поток 60, подаваемый на наружный контур охлаждения турбины.
Когда активирован контур отбора воздуха на нужды самолета, отводная магистраль 22 запитывается частью 62 наружного потока 42, выходящего из диффузора.
В варианте воплощения с фиг.1 тонкий кольцевой лист 36, образующий разделительный элемент, проходит вверх по потоку по существу до верхних по потоку кромок конструкционных рычагов 44 и вниз по потоку по существу до нижних по потоку кромок конструкционных рычагов 44 и до кругообразно симметричных стенок 32 и 34 диффузора, заканчиваясь прямым наконечником 64.
Кругообразно симметричные стенки 32, 34 диффузора проходят вверх по потоку за кольцевой лист 36 и конструкционные рычаги 44 и соединяются между собой по существу радиальными перегородками 66 для спрямления (раскручивания) потока воздуха 38, выходящего из последней ступени компрессора.
В варианте воплощения с фиг.2 кругообразно симметричные стенки 32, 34 диффузора 10 находятся ниже по потоку от спрямляющих элементов (не показаны), и верхний по потоку конец листа 36 смещен вниз по потоку от верхних по потоку концов стенок 32 и 34 и от верхних по потоку кромок конструкционных рычагов 44. Кольцевой лист 36 выполнен обтекаемым для ограничения турбулентности и турбулентного следа за его нижним по потоку концом, которому придана форма относительно тонкой задней кромки 68. Задние кромки 70 конструкционных рычагов 44 расположены на небольшом расстоянии вверх по потоку от задних кромок кругообразно симметричных стенок 32 и 34 и от задней кромки 68 кольцевого листа 36 или, по существу, в той же плоскости, что и указанная задняя кромка.
Диффузор 10 согласно фиг.2 имеет первую нишу 72 на нижнем по потоку конце внутренней кругообразно симметричной стенки 32, расположенную между этой стенкой и наружной стенкой 12, поддерживающей диффузор, а также вторую нишу 73 на нижнем по потоку конце наружной кругообразно симметричной стенки 34 между этой стенкой и наружной стенкой 14, поддерживающей диффузор.
Эти ниши 72 и 73 создают зоны для стабильной рециркуляции между внутренней и наружной стенками 32 и 34 и стенками внутреннего и наружного кожуха 12 и 14 соответственно для того, чтобы улучшить нечувствительность к изменениям давления, температуры и скорости на высоте потока на входе в диффузор.
Конструкционные рычаги 44 сами могут быть выполнены обтекаемыми для ограничения потерь напора в диффузоре. Они также могут образовывать средство для спрямления потока 38 воздуха, выходящего из последней ступени компрессора.
В варианте воплощения с фиг.3 диффузор 10 по существу относится к тому же типу, что и показанный на фиг.2, но тонкий кольцевой лист 36, образующий разделительный элемент, не выполнен обтекаемым и заканчивается на нижнем по потоку конце прямым наконечником 64, в котором могут быть образованы отверстия 74, проходящие вверх по потоку и под углом, обратным углу расширения диффузора, чередуясь на каждой из двух граней тонкого листа 36.
Прямой наконечник 64 образует «мертвую» зону потока, в которой происходит рециркуляция при «дефиците» давления.
Отверстия 74 предназначены для уравнивания давления на внутренней и наружной гранях разделительного элемента 36 и на наконечнике 64, тем самым ограничивая вышеуказанные вредные эффекты наконечника и обеспечивая давление в потоке за наконечником.
Отверстия выполнены на задней периферии разделительного элемента 36 с определенным шагом по окружности. Количество и размеры этих отверстий определены так, чтобы соответствовать ограничениям, относящимся к изготовлению разделительного элемента.
В варианте воплощения с фиг.4 диффузор 10 по существу относится к тому же типу, что и показанный на фиг.3, но тонкий кольцевой лист 36, образующий разделительный элемент, заканчивается на своем нижнем по потоку конце прямым наконечником, имеющим периферийные фаски 76, так, чтобы ограничить зону рециркуляции воздуха за наконечником и способствовать разделению диффузионных потоков 40 и 42, чтобы они быстрее сцеплялись за наконечником.
Отличительные признаки разделительного элемента, образованного тонким кольцевым листом 36, предназначены для обеспечения большей жесткости при встрече с неравномерностями в потоке 38 воздуха, выходящем из компрессора, т.е. для создания потока без разделения или рециркуляции, для создания хорошего аэродинамического равновесия между двумя потоками 40 и 42, выходящими из диффузора, и для создания потоков, обходящих камеру сгорания, которые менее чувствительны к неравномерностям в потоке 38 воздуха. При этом рабочие характеристики камеры сгорания существенно улучшены. Разделительный элемент также позволяет защитить внутренний поток 40 в случае отбора воздуха на нужды самолета.
Формула изобретения
1. Диффузор для кольцевой камеры сгорания с одной зоной, в частности для авиационного турбовинтового двигателя, содержащий разделительный элемент, разделяющий поток воздуха, выходящий из компрессора, на два кольцевых диффузионных потока, при этом разделительный элемент образован тонким листом, соединенным конструкционными рычагами с внутренней и наружной кругообразно симметричными стенками диффузора, причем угол расширения каждого диффузионного потока, образованный указанным тонким листом в диффузоре, составляет приблизительно 12-13°, при этом топливные форсунки в камере сгорания расположены на одной линии с участком нижнего по потоку конца тонкого листа, образующего разделительный элемент, и ориентированы относительно продольной оси камеры сгорания, по существу, так же, как и указанный участок нижнего по потоку конца.
2. Диффузор по п.1, в котором наружный диффузионный поток питает систему впрыска топлива камеры сгорания, обводной контур для обвода камеры сгорания снаружи камеры сгорания и при желании контур отбора воздуха на нужды самолета.
3. Диффузор по п.1, в котором внутренний диффузионный поток питает систему впрыска топлива камеры сгорания и обводной контур для обвода камеры сгорания изнутри.
4. Диффузор по п.1, в котором тонкий лист имеет обтекаемую форму в продольном сечении.
5. Диффузор по п.1, в котором тонкий лист содержит наконечник на своем нижнем по потоку конце, имеющий отверстия, выполненные в нем и проходящие вверх по потоку, открываясь поочередно в каждой из граней тонкого листа для уравновешивания давления по обе стороны от разделительного элемента и у наконечника.
6. Диффузор по п.5, в котором тонкий лист содержит прямой наконечник с фасками на кромке на его нижнем по потоку конце для облегчения разделения диффузионных потоков.
7. Диффузор по п.1, в котором конструкционные рычаги образуют спрямляющие элементы для спрямления потока воздуха, выходящего из компрессора.
8. Диффузор по п.1, в котором спрямляющие элементы расположены между выходом компрессора и входом диффузора, например, между верхними по потоку выступами внутренней и наружной кругообразно симметричных стенок диффузора.
9. Диффузор по п.1, в котором конструкционные рычаги выполнены обтекаемыми для уменьшения потерь напора в диффузоре.
10. Диффузор по п.1, включающий нишу, расположенную между нижним по потоку концом внутренней кругообразно симметричной стенки диффузора и внутренней опорной стенкой, и/или нишу, расположенную между нижним по потоку концом наружной кругообразно симметричной стенки диффузора и наружной опорной стенкой, при этом ниши образуют стабильные зоны рециркуляции воздуха на выходе из диффузора.
11. Камера сгорания с одной зоной, в частности для авиационного турбовинтового двигателя, содержащая диффузор по п.1.
12. Авиационный турбовинтовой двигатель, содержащий диффузор по п.1.
РИСУНКИ
|
|