|
|
(21), (22) Заявка: 2008105850/06, 15.02.2008
(24) Дата начала отсчета срока действия патента:
15.02.2008
(46) Опубликовано: 27.08.2009
(56) Список документов, цитированных в отчете о поиске:
SU 1640493 A1, 07.04.1991. RU 2042874 C1, 27.08.1995. SU 1153171 A, 30.04.1985. SU 1333940 A, 30.08.1987. US 5520000 A, 28.05.1995.
Адрес для переписки:
196601, Санкт-Петербург, Пушкин-1, а/я 61, пат.пов. В.Е.Тепловой
|
(72) Автор(ы):
Клюнин Олег Станиславович (RU), Елкин Николай Михайлович (RU)
(73) Патентообладатель(и):
Общество с ограниченной ответственностью НПО “ПОИСК” (RU)
|
(54) УСТРОЙСТВО ДЛЯ ПРИЕМА СЖИЖЕННОГО ПРИРОДНОГО ГАЗА, ЕГО ГАЗИФИКАЦИИ И ВЫДАЧИ ГАЗООБРАЗНОГО ПРОДУКТА ПОТРЕБИТЕЛЮ
(57) Реферат:
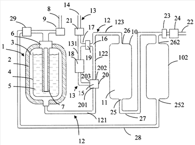
Изобретение относится к газовой промышленности. Устройство для приема сжиженного природного газа, его газификации и подачи газообразного продукта потребителю, содержащее, по меньшей мере, один газификатор 1, включающий наружный сосуд 2 высокого давления, имеющий полость 3, в которой размещен внутренний сосуд 4 без перепада давления, полость 5 которого сообщена с полостью 3 наружного сосуда 2 высокого давления и соединена со средством подвода к магистралям заправки, снабжено по меньшей мере, одним баллоном 10 высокого давления, полость 11 которого соединена со средством подвода к магистралям подачи газообразного продукта потребителю и средством отвода газообразного продукта из газификатора, включающим первый трубопровод 12, соединяющий полость 3 наружного сосуда 2 газификатора 1 и полость 11 баллона 10 высокого давления, второй трубопровод 13, имеющий участок 131, параллельно подключенный к первому трубопроводу 12 двумя соединениями 15 и 16, последовательно расположенными по ходу течения газообразного продукта от газификатора 1 к баллону 10 высокого давления, компрессор 18, установленный на указанном участке второго трубопровода 13, и переключатель 20, установленный на первом по ходу течения газообразного продукта из газификатора соединении 15 трубопроводов 12 и 13, имеющий вход 201, соединенный с первым трубопроводом 12 со стороны газификатора 1, и два выхода 202 и 203, первый из которых (202) соединен с первым трубопроводом 12 со стороны баллона 10 высокого давления, а второй (203) – со вторым трубопроводом 13, перед компрессором 18, при этом переключатель 20 выполнен с возможностью подачи газообразного продукта на первый (202) или второй (203) выход. Техническим результатом изобретения является обеспечение длительного хранения сжиженного природного газа и/или его газообразного продукта без дренажа. 13 з.п. ф-лы, 1 ил.
Изобретение относится к газовой промышленности, в частности к области газоснабжения, и преимущественно предназначено для использования в автономных системах обеспечения газовым топливом миникотельных и газовых котлов малой мощности в населенных пунктах (коттеджах, поселках и пр., которые удалены от газовых магистралей).
Традиционно, в автономных системах газоснабжения используется сжиженный природный газ – метан (СПГ), перевозка, хранение и доведение до потребителя которого осуществляются в специальных емкостях (цистернах, баллонах).
Схема газоснабжения сжиженным газом – метаном – включает в себя этапы: производство сжиженного газа, транспортировка от производителя, хранение, газификация и выдача газообразного продукта потребителю (БСЭ, 1971 г., стр.27-28).
Транспортировка СПГ от производителя, в основном, производится железнодорожным и автомобильным транспортом, специально оборудованным цистернами, а также в баллонах. Хранение сжиженного природного газа и распределение газа (доведение до потребителя) осуществляют в автономных топливных системах.
В технике известны различные устройства для приема, хранения сжиженного природного газа и распределения газообразного продукта потребителю. В частности, к устройствам, предназначенным для приема и нахождения в них СПГ, относятся и криогенные газификаторы, представляющие собой устройства, содержащие внешний сосуд высокого давления, внутренний сосуд без перепада давления, полость которого сообщена с полостью сосуда высокого давления и соединена с магистралями заправки и опорожнения. (AC SU 1640493, патенты RU 2042874, 2163699.)
При этом известно, что используемые в настоящее время устройства для приема, хранения и распределения сжиженного природного газа, в том числе известные газификаторы, как правило, не обеспечивают длительное хранение СПГ или его газообразной фазы без дренажа, что сопряжено с потерями газа и неэффективностью работы известных установок. Предпринимаются различные средства для увеличения бездренажного хранения СПГ или его газообразного продукта, как, например, в устройстве «Топливный баллон», описанном в патенте RU 2163699. В данном устройстве, с целью увеличения длительности хранения СПГ без дренажа и расхода рабочего тела, заданы определенные соотношения объемов внутреннего и внешнего сосудов, а на внешнюю поверхность внутреннего сосуда нанесена теплоизоляция. В частности, при допустимом давлении во внешнем сосуде высокого давления не более 25 МПа (что типично для газовых баллонов автомобилей, работающих на природном газе) доля объема полости внутреннего сосуда составляет величину 33% от совокупного объема полостей сосудов.
Данное соотношение определяется известными законами физики. Если некоторую емкость заполнить на 33% ее объема сжиженным природным газом, то, после испарения этого газа и его нагрева до температуры 50°С (максимальная температура эксплуатации баллонов), давление газа в емкости составит 25 МПа.
Таким образом, в данном устройстве объем внутреннего сосуда, который заполняют СПГ, должен быть значительно меньше суммарного объема полостей сосудов, что существенно ограничивает количество СПГ, хранимого в устройстве, либо приводит к неоправданно большим габаритным размерам внешнего сосуда. Кроме того, габаритные размеры внешнего сосуда в известном устройстве увеличены из-за теплоизоляции внутреннего сосуда.
Кроме того, в данном устройстве, при заправке его сжиженным природным газом, подача газа потребителю производится в сжиженном состоянии, поскольку газ хранится в сжиженном состоянии, что требует специальных устройств для его преобразования в газовую фазу.
Известно также устройство для приема сжиженного природного газа, его газификации и выдачи газообразного продукта потребителю (Криогенный газификатор) по AC SU 1640493. Устройство содержит внутренний сосуд без перепада давления, полость которого соединена с магистралями заправки и опорожнения, и наружный сосуд высокого давления (ВД), разделенные вакуумной полостью, трубопровод с установленным на нем запорным органом и клапаном, сообщающий верхнюю часть внутреннего сосуда с полостью наружного сосуда, и теплообменник, размещенный под днищем внешнего сосуда и подключенный входом через клапан к нижней части внутреннего сосуда, а выходом – к трубопроводу перед запорным органом.
При заправке устройства запорный орган и клапан закрыты. При работе устройства открывается запорный орган и клапан, при этом испарившийся в теплообменнике газ поступает в вакуумную полость и в газовую подушку внутреннего сосуда, интенсифицируя процесс испарения.
В данном устройстве меньше габариты (при одном и том же количестве заправляемого СПГ) внешнего сосуда, чем в описанном ранее устройстве.
При этом данная конструкция, в отличие от ранее описанной, не предполагает длительного хранения газа в сжиженном состоянии, и из устройства отводится газообразный продукт. Однако, в случае длительного безрасходного хранения СПГ, когда в результате теплопритоков происходит испарение и повышение давления, возникают ограничения эксплуатационных возможностей данного устройства, обусловленные предельно допустимыми уровнями давления. Средствами защиты в этом случае может служить дренаж или иное удаление части газообразного или жидкого рабочего тела, что означает его потери.
Кроме того, для эффективной газификации сжиженного природного газа в известном устройстве используется специальный теплообменник, что усложняет устройство.
В основу настоящего изобретения положена задача создать устройство для приема сжиженного природного газа, его газификации и выдачи газообразного продукта потребителю, в котором, при упрощении конструкции газификатора, обеспечивается длительное хранение сжиженного природного газа и/или его газообразного продукта без дренажа, что позволяет исключить потери сжиженного природного газа и/или его газообразного продукта при его длительном хранении и тем самым повысить эксплуатационные возможности данного устройства.
Поставленная задача решается тем, что устройство для приема сжиженного природного газа, его газификации и выдачи газообразного продукта потребителю, содержащее, по меньшей мере один газификатор, включающий наружный сосуд высокого давления, имеющий полость, в которой размещен внутренний сосуд без перепада давления, полость которого сообщена с полостью наружного сосуда высокого давления и соединена со средством подвода к магистралям заправки, согласно предлагаемому изобретению снабжено, по меньшей мере одним баллоном высокого давления, полость которого соединена со средством подвода к магистралям подачи газообразного продукта потребителю, и средством отвода газообразного продукта из газификатора, включающим первый трубопровод, соединяющий полость наружного сосуда газификатора и полость баллона высокого давления, второй трубопровод, имеющий участок, параллельно подключенный к первому трубопроводу двумя соединениями, последовательно расположенными по ходу течения газообразного продукта из газификатора, между газификатором и баллоном высокого давления, компрессор, установленный на втором трубопроводе на указанном участке, и переключатель, установленный на первом по ходу течения газообразного продукта из газификатора соединении трубопроводов, имеющий вход, соединенный с первым трубопроводом со стороны газификатора, и два выхода, первый из которых соединен с первым трубопроводом со стороны баллона высокого давления, а второй – со вторым трубопроводом, перед компрессором, при этом переключатель выполнен с возможностью подачи газообразного продукта на первый или второй выход.
Наличие, по меньшей мере, одного баллона высокого давления, соединенного с газификатором средством отвода газообразного продукта, позволяет осуществлять длительное хранение сжиженного природного газа и/или его газообразного продукта без дренажа благодаря увеличенной суммарной вместимости полостей наружного сосуда газификатора и баллона ВД, предназначенных для хранения газообразного продукта.
Кроме того, благодаря увеличенной суммарной вместимости полостей наружного сосуда газификатора и баллона ВД возможно увеличить объем внутреннего сосуда (ов) газификатора (ов) и, соответственно, объем закачиваемого в устройство СПГ.
В частности, целесообразно, чтобы объем (V2) полости внутреннего сосуда газификатора составлял 70-95% от объема (V1) полости наружного сосуда газификатора (который также включает объем полости внутреннего сосуда).
Соответственно, чем больше объем V2 полости внутреннего сосуда по отношению к объему V1 полости наружного сосуда, тем больше СПГ может быть помещено в устройство. Верхняя граница указанного предела ограничена конструктивными и технологическими (при изготовлении) критериями. Нижняя граница заданного предела ограничена неэффективностью устройства для приема сжиженного природного газа, его газификации и выдачи газообразного продукта потребителю. Авторами обнаружено, что при соотношении объемов V2/V1 меньше 0,7 использование баллона ВД в предлагаемом устройстве неэффективно, особенно при допустимом давлении, равном и большем 25 МПа.
Допустимое давление определяется конструкцией баллонов. В настоящее время применяются баллоны высокого давления, рассчитанные на давление от 40 МПа до 10 МПа (и ниже).
Изменением отношений объемов V2/V1 можно варьировать размерами баллонов высокого давления и газификатора (ов). Наличие нескольких газификаторов и баллонов высокого давления обеспечивает возможность компоновать устройство из баллонов высокого давления и газификаторов разной вместимости, выдерживая необходимое соотношение объема полости внутреннего сосуда газификатора от совокупного объема полостей сосудов газификатора и баллонов высокого давления, например, равное 33%, при допустимом давлении в газификаторах и баллонах высокого давления, равном 25 МПа (или иное упомянутое соотношение, соответствующее другому допустимому давлению).
Целесообразно, чтобы внутренний сосуд газификатора был выполнен в виде открытого сверху тонкостенного стакана.
Выполнение внутреннего сосуда тонкостенным, имеющим малую теплоемкость, позволяет уменьшить теплопередачу от внутреннего сосуда к СПГ и, тем самым, уменьшить количество СПГ, которое испарится (перейдет в газообразное состояние) при заправке газификатора сжиженным газом.
Форма стакана достаточно простая в изготовлении, что обуславливает наиболее простую конструкцию газификатора
Целесообразно, чтобы стакан был выполнен из термически неупрочняемого алюминиево-магниевого сплав (магналий).
Возможно использовать любой из известных термически неупрочняемых алюминиево-магниевых сплавов, например АМг6, АМг5, АМг4,5. Указанные сплавы хорошо работают при низких температурах, имеют малую плотность, соответственно, обеспечивают малую массу баллона.
Целесообразно, наружный сосуд газификатора и по крайней мере один баллон высокого давления выполнять в виде металлопластиковых баллонов высокого давления, с лейнером из алюминиевого сплава, преимущественно из термически неупрочняемого алюминиево-магниевого сплава.
Возможно использование любого из известных термически неупрочняемых алюминиево-магниевых сплавов, например АМг6, АМг5, АМг4,5. Указанные сплавы хорошо работают при низких температурах, имеют малую плотность (масса баллона) и характеризуются технологическими преимуществами при изготовлении лейнеров (не требуется термообработка).
Известно применение баллонов ВД из криогенных сталей, однако эти материалы хуже работают при низких температурах – сталь теряет прочностные свойства.
Целесообразно, чтобы в устройстве, содержащем, по крайней мере, два баллона высокого давления, данные баллоны были соединены последовательно по ходу течения газообразного продукта из газификатора.
Газообразный продукт поступает в первый баллон высокого давления с низкой температурой. В результате последовательного соединения баллонов ВД газообразный продукт поступает в последующие баллоны ВД с более высокой температурой, что позволяет обеспечить надежную работу устройства.
Целесообразно, чтобы, по крайней мере, баллон высокого давления, расположенный первым по ходу течения газообразного продукта из газификатора, имел две горловины, одна из которых подключена к средству отвода газообразного продукта из газификатора, а вторая – со средством подвода к магистралям подачи газообразного продукта потребителю.
Газообразный продукт поступает в первый баллон высокого давления с низкой температурой. В результате указанного последовательного соединения баллонов ВД газообразный продукт поступает в последующие баллоны ВД с более высокой температурой, что позволяет обеспечить надежную работу устройства.
Целесообразно, по крайней мере, баллон высокого давления, расположенный первым по ходу течения газообразного продукта из газификатора, выполнять в виде металлопластикового баллона с лейнером из термически неупрочняемого алюминиево-магниевого сплава, который наиболее надежно работает при низких температурах.
При этом следующие по ходу течения газообразного продукта баллоны высокого давления могут быть более дешевыми – стальными, поскольку они работают при более высоких температурах.
Целесообразно, чтобы на втором трубопроводе перед вторым соединением был установлен запорный орган. Также целесообразно, чтобы баллон высокого давления был соединен трубопроводом, снабженным запорным органом, с полостью внутреннего сосуда газификатора, а на втором трубопроводе, за участком, подключенным параллельно к первому трубопроводу, имелся выход в атмосферу, при этом перед указанным выходом установлен запорный орган, при этом запорный орган устройства и переключатель выполнены с возможностью откачки воздуха из полостей газификатора и баллона высокого давления через второй трубопровод в атмосферу.
Благодаря такому выполнению устройства обеспечивается возможность вакуумирования всех полостей устройства перед заправкой его СПГ, а также возможность интенсификации процесса испарения СПГ путем перекачки более теплого газообразного продукта из баллона ВД в полость внутреннего сосуда газификатора.
В дальнейшем предлагаемое изобретение будет более подробно раскрыто на конкретном примере его выполнения со ссылками на чертеж, на котором изображена схема устройства для приема сжиженного природного газа, его газификации и выдачи газообразного продукта потребителю.
Устройство для приема сжиженного природного газа, его газификации и выдачи газообразного продукта потребителю в предпочтительном варианте выполнения показано на чертеже. Устройство содержит газификатор 1, включающий наружный сосуд 2 высокого давления (ВД) с полостью 3. В полости 3 размещен внутренний сосуд 4 без перепада давления, полость 5 которого сообщена с полостью 3 наружного сосуда 2 ВД. Внутренний сосуд 4 выполнен в виде открытого сверху тонкостенного стакана. Простая форма внутреннего сосуда 4 (стакан) характеризуется несложной технологией изготовления, что обусловливает достаточно простую конструкцию газификатора и несложную технологию его изготовления.
Благодаря тому, что внутренний сосуд 4 выполнен тонкостенным, он обладает сравнительно малой теплоемкостью, что позволяет уменьшить теплопередачу от внутреннего сосуда к сжиженном природному газу (СПГ) и, тем самым, уменьшить интенсивность испарения СПГ (переход СПГ в газообразное состояние) при заправке газификатора СПГ. Известно, что в результате испарения газа поднимается давление в баллоне газификатора, которое может превысить давление, под которым в него подается заправляемый СПГ. Для выравнивания давления необходимо откачивать газ из баллона, что увеличивает энергозатраты на работу устройства при заправке. Уменьшение интенсивности испарения СПГ при заправке позволяет снизить энергозатраты на работу устройства.
Возможно выполнение внутреннего сосуда газификатора иной формы, например, как описано в патенте RU 2042874. Однако сосуд такой формы сложнее в изготовлении и дороже.
Наружный сосуд 2 газификатора 1 в предпочтительном варианте выполнен в виде металлопластикового баллона ВД с лейнером из термически неупрочняемого алюминиево-магниевого сплава. Также внутренний сосуд 4 газификатора 1 в предпочтительном варианте выполнен из термически неупрочняемого алюминиево-магниевого сплава.
Возможно использовать любой из известных термически неупрочняемых алюминиево-магниевых сплавов, например АМг6, АМг5, АМг4,5. Указанные сплавы хорошо работают при низких температурах, что обеспечивает надежную работу устройства. Кроме того, эти сплавы имеют малую плотность, соответственно, малую массу, что обеспечивает небольшую массу газификатора.
Возможно использование иных материалов для изготовления сосудов 2 и 4 газификатора 1, например криогенных сталей, используемых для изготовления изделий, работающих при низких температурах.
Полость 5 внутреннего сосуда 4 через горловину 6 наружного сосуда 2 и трубу 7 соединена со средством подвода к магистралям заправки, которое включает трубопровод 8 и запорный орган 9, который может быть выполнен в виде вентиля.
Устройство содержит, по крайней мере, один баллон 10 высокого давления и средство отвода газообразного продукта из газификатора 1, соединяющего полость 3 наружного сосуда 2 газификатора 1 с полостью 11 баллона 10 ВД и атмосферой. Возможно выполнение устройства, при котором отсутствует соединение полости 3 наружного сосуда 2 газификатора 1 с атмосферой. Средство отвода газообразного продукта из газификатора 1 содержит первый трубопровод 12, соединяющий полость 3 наружного сосуда 2 газификатора 1 и полость 11 баллона 10 высокого давления, и второй трубопровод 13, имеющий выход 14 в атмосферу. Второй трубопровод 13 имеет участок 131, подключенный параллельно к первому трубопроводу 12 между газификатором 1 и баллоном 10 высокого давления первым соединением 15 и вторым соединением 16 (по ходу течения газообразного продукта). Для образования второго соединения 16 второй трубопровод 13 имеет отводную трубу 17.
Указанные соединения 15 и 16 делят первый трубопровод 12 на три участка: первый участок 121 – от газификатора 1 до первого соединения 15, второй участок 122 – между первым и вторым соединением 15 и 16 соответственно и третий участок 123 – от второго соединения 16 до баллона 10 ВД.
На участке 131 второго трубопровода 13 последовательно за первым соединением 15 установлен компрессор 18. На отводной трубе 17 второго трубопровода 13, перед вторым соединением 16, установлен запорный орган 19. В качестве запорного органа может быть использован вентиль.
На первом соединении 15 трубопроводов 12 и 13 установлен переключатель 20. Переключатель 20 имеет вход 201, соединенный с участком 121 первого трубопровода 12, и два выхода 202 и 203, первый из которых (202) соединен с участком 122 первого трубопровода 12, а второй выход (203) соединен с участком 131 второго трубопровода 13, перед компрессором 18. Переключатель 20 выполнен с возможностью подачи газообразного продукта на первый или второй выход (202 или 203). На втором трубопроводе 13 за отводной трубой 17, перед выходом 14 в атмосферу, установлен запорный орган 21, например вентиль. Возможно выполнение устройства, в котором второй трубопровод 13 имеет только участок 131 с отводной трубой 19.
Полость 11 баллона 10 высокого давления соединена со средством подвода к магистралям подачи газообразного продукта потребителю, содержащим трубопровод 22, запорный орган 23 (например, вентиль) и редуктор 24.
Объем (V2) полости 5 внутреннего сосуда 4 газификатора 1 составляет 70-95% от объема (V1) полости 3 наружного сосуда 2 газификатора 1 (который также включает объем полости 5 внутреннего сосуда 4).
Соответственно, чем больше объем полости внутреннего сосуда по отношению к объему полости наружного сосуда, тем больше СПГ может быть помещено в устройство.
При этом верхняя граница указанного предела ограничена конструктивными и технологическими (при изготовлении) критериями. При отношении объемов меньше 70% нецелесообразно использовать баллоны высокого давления.
Для большинства используемых устройств объем полости внутреннего сосуда газификатора составляет от 10% до 33% от общего объема полостей наружного сосуда газификатора и баллона высокого давления.
Выбор величины указанного отношения объемов полостей зависит от допустимого давления в наружном сосуде 2 газификатора 1 и в баллоне 10 высокого давления, которое определяется конструкцией баллонов. В настоящее время преимущественно применяются баллоны ВД на давление от 40 МПа до 10 МПа (и ниже). Нижний упомянутый предел отношений объемов полостей получен из условия допустимого давления во внешнем сосуде газификатора и в баллоне ВД не меньше 10%, а верхний предел – не больше 33%.
В частности, при допустимом давлении в наружном сосуде 2 газификатора 1 и в баллоне 10 высокого давления, равном 25 МПа, объем полости внутреннего сосуда газификатора составляет 33% от суммарного объема полостей наружного сосуда газификатора и баллона высокого давления.
В предпочтительном варианте устройство содержит несколько баллонов высокого давления, например, как показано на чертеже, два баллона 10 и 102 высокого давления, соединенных последовательно между средством отвода газообразного продукта из газификатора 1 и средством подвода к магистралям подачи газообразного продукта потребителю. При этом баллон 10 высокого давления, расположенный первым по ходу течения газообразного продукта, имеет две горловины 25 и 26, одна из которых 26 (верхняя) подключена к участку 123 первого трубопровода 12, а вторая 25 трубопроводом 27 – ко второму баллону 102 высокого давления, через его верхнюю горловину 262, и к трубопроводу 22 средства подвода к магистралям подачи газообразного продукта потребителю.
В результате указанного последовательного соединения баллонов ВД во второй (по ходу течения газообразного продукта из газификатора 1) баллон 102 ВД (и последующие) газообразный продукт поступает с более высокой температурой, чем в первый, что позволяет обеспечить надежную работу устройства.
Соотношение объема V2 полости 5 внутреннего сосуда 4 газификатора 1 и объема
V1 полости 3 наружного сосуда 2 газификатора 1 задает соотношение объема V1 полости 3 наружного сосуда 2 газификатора 1 и объема Vб полости баллона (ов) высокого давления.
Например: 1. При допустимом давлении 25 МПа в соответствии с известными закономерностями отношение объема V2 полости внутреннего сосуда газификатора к суммарному объему полостей газификатора и баллонов ВД (V1 и Vб) составляет 33%. Тогда отношение объемов полостей наружного сосуда V1 газификатора и баллона (ов) высокого давления будет:
при V2/V1=70% – отношение объемов Vб/V1=1,12,
при V2/V1=95% – отношение объемов Vб/V1=1,88,
при V2/V1=33% – отношение объемов Vб/V1=0, т.е. баллоны высокого давления не требуются, так как достаточно объема V1.
2. При допустимом давлении 16 МПа в соответствии с известными закономерностями отношение объема V2 полости внутреннего сосуда газификатора к суммарному объему полостей газификатора и баллонов ВД (V1 и Vб) составляет 21%. Отношение объемов полостей наружного сосуда газификатора и баллонов ((V1 и Vб) будет:
при V2/V1=70% – отношение объемов Vб/V1=2,3,
при V2/V1=95% – отношение объемов Vб/V1=3,5,
при V2/V1=21% – отношение объемов Vб/V1=0, т.е. баллоны ВД не требуются, поскольку достаточно объема V1.
По крайней мере, один баллон ВД выполнен в виде металлопластикового баллона высокого давления с лейнером из алюминиевого сплава, предпочтительно, из термически неупрочняемого алюминиево-магниевого сплава. При реализации устройства с несколькими баллонами ВД, например, как показано на чертеже, с двумя баллонами 10 и 102, первый (по ходу течения газообразного продукта из газификатора 1) баллон 10 ВД выполняют металлопластиковым с лейнером из термически неупрочняемого алюминиево-магниевого сплава. Остальные баллоны ВД могут быть, например, стальными.
Известно, что термически неупрочняемые алюминиево-магниевые сплавы надежно работают при низких температурах, и, соответственно, использование таких сплавов, по крайней мере, в баллоне 10 высокого давления, расположенном первым по ходу течения газообразного продукта из газификатора 1, имеющего достаточно низкую температуру, положительно сказывается на надежности работы всего устройства.
В предпочтительном варианте реализации устройства, показанном на чертеже, баллон 102 ВД, расположенный последним по ходу течения газообразного продукта, имеет две горловины 252 и 262. Горловина 262 (верхняя) соединена с трубопроводом 27 от предыдущего баллона 10 высокого давления и с трубопроводом 22 средства подвода к магистралям подачи газообразного продукта потребителю. Вторая горловина 252 (нижняя) соединена трубопроводом 28 через запорный орган (например, вентиль) 29 с полостью 5 внутреннего сосуда 4 газификатора 1 и трубопроводом 8 средства подвода к магистралям заправки.
Возможна также реализация устройства с несколькими газификаторами (не показано). При этом каждый газификатор имеет свой трубопровод средства подвода к магистралям заправки. Также каждый газификатор имеет трубопровод, соединенный с участком трубопровода, перед переключателем.
Несколько газификаторов преимущественно используются, когда объем баллона ВД значительно больше объема одного газификатора.
Наличие нескольких газификаторов и баллонов высокого давления обеспечивает возможность компоновать устройство из баллонов и газификаторов разной вместимости, выдерживая соотношение объемов полостей внутренних сосудов газификаторов к суммарному объему полостей газификаторов и баллонов высокого давления в пределах 10%-33%, в зависимости от допустимого давления в газификаторах и баллонах высокого давления.
При этом можно использовать баллоны высокого давления и газификаторы разных размеров (объемов полостей) в зависимости от заданного отношения объемов полостей внутреннего и наружного сосудов газификаторов V2/V1.
Компрессор 18 выполнен с возможностью вакуумирования полости газификатора и баллона высокого давления перед заправкой устройства сжиженным природным газом.
Для интенсификации испарения СПГ устройство выполнено с возможностью перекачивания газа из баллона высокого давления в газификатор компрессором. Данное свойство устройства обеспечивается системой трубопроводов и запорных органов, в частности запорными органами 29, 19, трубопроводом 28, а также компрессором 18 и переключателем 20.
Устройство для приема сжиженного природного газа, его газификации и выдачи газообразного продукта потребителю работает следующим образом.
Перед первой заправкой устройства сжиженным природным газом (СПГ) проводят удаление воздуха из полостей 3 и 5 газификатора 1, всех баллонов 10 и 102 высокого давления и трубопроводов. Для этого закрывают запорные органы (вентили) 9, 19 и 23, открывают запорные органы (вентили) 29 и 21, переключателем 20 соединяют участок 121 первого трубопровода 12 с участком 131 второго трубопровода 13, на котором находится компрессор 18, включают компрессор 18 и производят вакуумирование устройства. Компрессор 18 откачивает воздух из полостей газификатора 1 и из баллонов 10 и 102, воздух из которых попадает в полость 3 газификатора 1 по трубопроводу 28. Компрессор 18 выбрасывает воздух в атмосферу по второму трубопроводу 13 через открытый запорный орган (вентиль) 21 и выход 14.
После откачки воздуха закрываются запорные органы (вентили) 29 и 21, и открывают запорный орган (вентиль) 19 и запорный орган (вентиль) 9, через который, по трубе 7, производят заливку СПГ (заправка) в полость 5 внутреннего сосуда (стакан) 4 газификатора 1. При этом переключатель 20 переводят в положение, при котором его вход 201 соединяется с выходом 203 – к компрессору 18. При заправке происходит нагревание и кипение СПГ в результате теплопередачи от стенок запорного органа (вентиля) 9, трубы 7 и стакана 4. Испаряющийся газ (газообразный продукт) вытекает в полость 3 наружного сосуда 2 газификатора 1, из которой он откачивается компрессором 18. При интенсивном испарении газа поднимающееся давление в баллоне может превысить давление, под которым подается СПГ. Для снижения давления требуется более интенсивно откачивать газ из баллона компрессором, что увеличивает энергозатраты на работу компрессора и, соответственно, устройства при заправке. Благодаря тому, что внутренний сосуд 4 выполнен тонкостенным, он обладает сравнительно малой теплоемкостью, что позволяет уменьшить теплопередачу от внутреннего сосуда к сжиженном природному газу (СПГ) и тем самым уменьшить количество СПГ, которое испарится (перейдет в газообразное состояние) при заправке газификатора СПГ.
Откачиваемый газообразный продукт из полости 3 наружного сосуда 2 газификатора 1, через его нижнюю горловину 61, по участку 121 первого трубопровода 12, через переключатель 20, участок 131 второго трубопровода 13, компрессор 18, запорный орган 19 и участок 123 первого трубопровода 12 и трубопровод 27 поступает в баллоны 10 и 102. После заполнения сжиженным природным газом стакана 4 газификатора закрывают запорный орган 9, выключают компрессор 18, закрывают запорный орган 19 и изменяют положение переключателя 20, соединяя вход 201 переключателя 20 с его выходом 202, то есть закрывают первое соединение 15 первого и второго трубопроводов 12 и 13. При этом отключен участок 131 второго трубопровода 13, на котором расположен компрессор 18, а соединены участки 121 и 122, 123 первого трубопровода 12, который подведен к баллонам 10 и 102.
При нагревании СПГ в результате теплопередачи от окружающей среды происходит испарение СПГ. Испаряющийся газообразный продукт из полости 3 наружного баллона 2 газификатора 1 через участки 121, 122 и 123 первого трубопровода 12 и трубопровод 27 заполняет баллоны 10 и 102. По мере заполнения баллонов 10 и 102 давление во всем устройстве поднимается. При полном испарении СПГ давление во всех баллонах 10,102 одинаковое и составляет допустимое для данных баллонов давление, например 25 МПа. Отбор газообразного продукта потребителю производится по трубопроводу 22 через запорный орган 23 при постоянном давлении (около 0,12 МПа), которое обеспечивает редуктор 24.
При последующих заправках системы сжиженным природным газом нет необходимости удалять воздух из устройства. Заправка может производиться при давлении газа в системе не более 5 МПа. Перед заправкой открывают запорный орган 19 и переключатель 20 устанавливают в положение, при котором его вход 201 соединяется с выходом 203, соответственно, соединяются участок 121 первого трубопровода 12 и участок 131 второго трубопровода 13 – к компрессору 18. Далее включают компрессор 18 и производят вакуумирование наружного баллона 2 газификатора 1, перекачивая газообразный продукт из наружного баллона 2 газификатора 1 в баллоны 10, 102. При достижении в наружном баллоне 2 газификатора 1 давления, достаточного для заправки СПГ, открывают запорный орган 9, и производится заполнение стакана 4 сжиженным природным газом. При этом продолжается откачка газообразного продукта из наружного баллона 2 газификатора 1. После заполнения стакана 4 закрывается запорный орган 9, выключается компрессор 18, закрывается запорный орган 19, и переводят переключатель 20 в положение, при котором его вход 201 соединяется с выходом 202, к участку 122 первого трубопровода 12. При этом закрыт участок 131 второго трубопровода (к компрессору 18), и открыт первый трубопровод 12, соединяющий газификатор 1 с баллонами 10 и 102 высокого давления.
В результате теплообмена с окружающей средой происходит испарение газа в стакане 4 и его нагрев. При условии, что нет расхода газа, отношение объема СПГ, который помещается в стакан 4, к общему объему устройства (объем полости 3 наружного сосуда 2, объем стакана 4 и баллонов 10 и 102) определяется допустимым давлением в устройстве (т.е. прочностью баллонов). При допустимом давлении 25 МПа (250 кгс/см2) и конечной температуре испарившегося газа 50°С объем СПГ должен составлять около 33% от общего объема устройства.
В показанном на чертеже устройстве объем полости внутреннего сосуда (стакана) 4 в соответствии с этим условием будет составлять 33% от общего объема полостей баллонов 10, 102, полости наружного сосуда 2, стакана 4.
При падении давления в устройстве ниже необходимого для подачи газа потребителю (при интенсивном потреблении газа и при низкой температуре окружающей среды) уменьшается скорость испарения СПГ, что требует осуществления интенсификации процесса испарения СПГ.
Для интенсификации процесса испарения СПГ открывают запорный орган 29, соединяющий баллон 102 ВД через трубопровод 28 с полостью 5 внутреннего сосуда 4 газификатора 1. Открывают запорный орган 19, переводят переключатель 20 в положение, соединяющее его вход 201 с выходом 203, то есть подключают компрессор 18 с полостью газификатора 1 через участок 121 первого трубопровода 12 и участок 131 второго трубопровода 13 и через участок 131 второго трубопровода 13 и участок 123 первого трубопровода 12 с полостями баллонов 10 и 102 ВД. Включают компрессор 18 и перекачивают газообразный продукт из газификатора 1 в баллоны 10 и 102 ВД. Из баллонов 10 и 102 газообразный продукт по открытому трубопроводу 28 поступает в полость газификатора 1.
При включении компрессора 18 в газификаторе 1 понижается давление, что ускоряет испарение СПГ. Газообразный продукт, исходящий из газификатора 1, проходит по трубопроводам 121 и 131, через компрессор 18, трубопровод 12, первый баллон 10 ВД, трубопровод 27, второй баллон 102 ВД и через трубопровод 28 попадает в полость 5 внутреннего сосуда 4 газификатора 1. При этом температура поступающего газообразного продукта повышается в результате отбора тепла от трубопроводов, от стенок баллонов ВД и за счет трения при перемещении по трубопроводам. Этот газообразный продукт, имеющий более высокую температуру, передает тепло СПГ, находящемуся во внутреннем сосуде 4, и происходит ускорение процесса испарения СПГ. В результате в газификаторе увеличивается количество испарившегося газообразного продукта, что повышает давление в устройстве. При достижении давления достаточной величины компрессор 18 выключают, запорные органы 29 и 19 закрываются, переключатель 20 направляет поток газообразного продукта по первому трубопроводу 12 к баллонам ВД.
Управление переключателем и запорными органами осуществляется известным образом оператором, который следит за работой устройства.
Приведенные выше примеры предпочтительного осуществления изобретения, содержащие указания на отдельные варианты выполнения, не исчерпывают возможных изменений и дополнений, очевидных специалисту в данной области техники, которые не затрагивают существа технического решения, охарактеризованного формулой изобретения.
Формула изобретения
1. Устройство для приема сжиженного природного газа, его газификации и подачи газообразного продукта потребителю, содержащее по меньшей мере один газификатор, включающий наружный сосуд высокого давления, имеющий полость, в которой размещен внутренний сосуд без перепада давления, полость которого сообщена с полостью наружного сосуда высокого давления и соединена со средством подвода к магистралям заправки, отличающееся тем, что оно снабжено, по меньшей мере, одним баллоном высокого давления, полость которого соединена со средством подвода к магистралям подачи газообразного продукта потребителю, и средством отвода газообразного продукта из газификатора, включающим первый трубопровод, соединяющий полость наружного сосуда газификатора и полость баллона высокого давления, второй трубопровод, имеющий участок, параллельно подключенный к первому трубопроводу двумя соединениями, последовательно расположенными по ходу течения газообразного продукта от газификатора к баллону высокого давления, компрессор, установленный на указанном участке второго трубопровода, и переключатель, установленный на первом, по ходу течения газообразного продукта из газификатора соединении трубопроводов, имеющий вход, соединенный с первым трубопроводом со стороны газификатора и два выхода, первый из которых соединен с первым трубопроводом со стороны баллона высокого давления, а второй – со вторым трубопроводом, перед компрессором, при этом переключатель выполнен с возможностью подачи газообразного продукта на первый или второй выход.
2. Устройство по п.1, отличающееся тем, что на втором трубопроводе, перед вторым соединением установлен запорный орган.
3. Устройство по п.1, отличающееся тем, что второй трубопровод, за участком, подключенным параллельно к первому трубопроводу, имеет выход в атмосферу, при этом перед указанным выходом установлен запорный орган.
4. Устройство по п.3, отличающееся тем, что баллон высокого давления дополнительным трубопроводом, снабженным запорным органом, соединен с полостью внутреннего сосуда газификатора, при этом запорные органы устройства и переключатель выполнены с возможностью откачки воздуха из полостей газификатора и баллона высокого давления через второй трубопровод в атмосферу.
5. Устройство по п.1, отличающееся тем, что объем внутреннего сосуда газификатора составляет 70-95% от объема полости наружного сосуда.
6. Устройство по п.1, отличающееся тем, что объем внутреннего сосуда газификатора составляет от 10 до 33% от общего объема полостей наружного сосуда газификатора и баллона высокого давления.
7. Устройство по п.1, отличающееся тем, что внутренний сосуд газификатора выполнен в виде открытого сверху тонкостенного стакана.
8. Устройство по п.7, отличающееся тем, что стакан выполнен из термически неупрочняемого алюминиево-магниевого сплава.
9. Устройство по п.1, отличающееся тем, что наружный сосуд газификатора и по крайней мере один баллон высокого давления выполнены в виде металлопластиковых баллонов высокого давления с лейнером из алюминиевого сплава.
10. Устройство по п.8 или 9, отличающееся тем, что в качестве алюминиевого сплава использован термически неупрочняемый алюминиево-магниевого сплав.
11. Устройство по п.1, отличающееся тем, что оно содержит по крайней мере два баллона высокого давления, соединенных последовательно между средством отвода газообразного продукта из газификатора и средством подвода к магистралям подачи газообразного продукта потребителю.
12. Устройство по п.11, отличающееся тем, что по крайней мере один баллон высокого давления, первый соединенный со средством отвода газообразного продукта из газификатора, имеет две горловины, одна из которых подключена к указанному средству отвода газообразного продукта из газификатора, а вторая со средством подвода к магистралям подачи газообразного продукта потребителю.
13. Устройство по п.12, отличающееся тем, что по крайней мере один баллон высокого давления, первый соединенный со средством отвода газообразного продукта из газификатора, выполнен в виде металлопластикового баллона с лейнером из термически неупрочняемый алюминиево-магниевого сплава.
14. Устройство по п.12, отличающееся тем, что полость внутреннего сосуда газификатора соединена трубопроводом, снабженным запорным органом, с баллоном высокого давления, расположенным последним по ходу течения газообразного продукта из газификатора.
РИСУНКИ
|
|