|
|
(21), (22) Заявка: 2008124878/06, 17.06.2008
(24) Дата начала отсчета срока действия патента:
17.06.2008
(46) Опубликовано: 27.08.2009
(56) Список документов, цитированных в отчете о поиске:
RU 2198341 C1 10.02.2003. RU 2148203 C1 27.04.2000. SU 1420299 A1 30.08.1988. RU 2145029 C1 27.01.2000. US 4366012 A 28.12.1982.
Адрес для переписки:
660074, г.Красноярск, ул. Киренского, 26, Политехнический институт СФУ, отдел промышленной собственности (ОПС)
|
(72) Автор(ы):
Азеев Александр Александрович (RU), Емелин Вячеслав Иванович (RU), Белобородов Виктор Николаевич (RU), Ли Александр Николаевич (RU)
(73) Патентообладатель(и):
Федеральное государственное образовательное учреждение высшего профессионального образования Сибирский федеральный университет (СФУ) (RU)
|
(54) СПОСОБ ВОССТАНОВЛЕНИЯ ТРУБОПРОВОДА
(57) Реферат:
Изобретение относится к эксплуатации трубопроводов и может быть использовано при их ремонте и коррозионной защите. Способ восстановления трубопровода заключается в образовании многослойной оболочки из тканевого полотнища путем его сворачивания в спираль в направлении, перпендикулярном длинной его стороне, вложении в воздухонепроницаемый пленочный рукав и введении оболочки в трубопровод. Концы рукава и слоев оболочки выворачивают и закрепляют по периметру на конце трубопровода и перемещают с прижатием к поверхности трубопровода избыточным давлением воздуха. При этом коаксиально к оболочке предварительно размещают дополнительные оболочки, свернутые аналогично первой, перед и после введения которых во входной конец трубопровода вводят торообразные устройства. Причем между торообразным устройством и многослойными оболочками, а также между слоями оболочек оставляют пространство, заполняемое клеем, длину которого определяют по расчетной формуле. Технический результат – сокращение длительности и улучшение качества пропитки клеем многослойной тканевой оболочки. 3 ил.
Изобретение относится к эксплуатации трубопроводов и может быть использовано при их ремонте и коррозийной защите.
Известен способ нанесения покрытия на внутреннюю поверхность трубопровода (Патент РФ на изобретение 2148203, МПК F16L 58/10, 2000), заключающийся во введении в него одно- или многослойной оболочки, образованной из тканевого или пленочного полотнища путем его сворачивания в спираль в направлении, перпендикулярном длинной его стороне, концы слоев которой выворачивают и закрепляют по периметру на конце трубопровода и перемещении ее с прижатием к поверхности трубопровода под вакуумом, создаваемым с противоположного его конца, с использованием системы из двух торов и обеспечивающей ее движение вакуумной установки.
Также известен способ восстановления трубопровода (Патент РФ на изобретение 2198341, МПК F16L 58/10, 2003), являющийся по технической сущности наиболее близким к предлагаемому техническому решению, заключающийся в образовании одно- или многослойной оболочки из тканевого полотнища путем его сворачивания в спираль в направлении, перпендикулярном длинной его стороне, введении смоченной клеем оболочки и воздухонепроницаемого пленочного рукава в трубопровод, концы слоев которых выворачивают и закрепляют по периметру на конце трубопровода и перемещении их с прижатием к поверхности трубопровода избыточным давлением воздуха, закачиваемого с использованием гидрозатвора со стороны входного конца трубопровода.
Недостатком известных способов является невозможность создания многослойных тканевых покрытий за один технологический цикл приклеивания из-за большой длительности и низкого качества пропитки клеем тканевой оболочки в ванне.
Задачей изобретения является сокращение длительности и улучшение качества пропитки клеем многослойной тканевой оболочки.
Способ восстановления трубопровода, заключающийся в образовании многослойной оболочки из тканевого полотнища путем его сворачивания в спираль в направлении, перпендикулярном длинной его стороне, вложении в воздухонепроницаемый пленочный рукав, введении оболочки в трубопровод, концы рукава и слоев оболочки выворачивают и закрепляют по периметру на конце трубопровода, и перемещении их с прижатием к поверхности трубопровода избыточным давлением воздуха, согласно изобретению, коаксиально к оболочке предварительно размещают дополнительные оболочки, свернутые аналогично первой, перед и после введения которых во входной конец трубопровода вводят торообразные устройства, причем между торообразным устройством и многослойными оболочками, а также между слоями оболочек оставляют пространство, заполняемое клеем, длину которого определяют по формуле

где lп – длина пространства, м;
lт – длина трубопровода, м;
Dт – внутренний диаметр трубопровода, м;
к – толщина слоя клея, м.
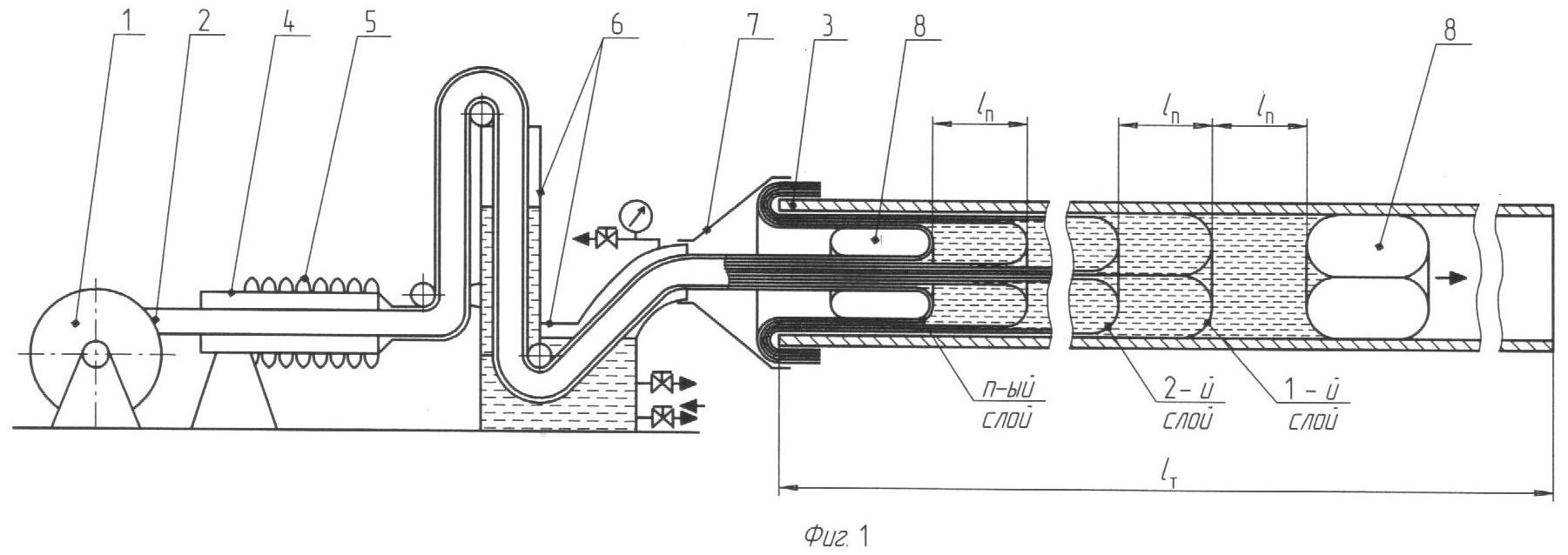
На фиг.1 показана конструктивно-технологическая схема устройства для реализации способа (вертикальный продольный разрез); на фиг.2 – торец восстановленного трубопровода; на фиг.3 – схема распределения клея до начала его впитывания тканевой оболочкой.
Устройство для реализации предлагаемого способа восстановления трубопровода (фиг.1) включает барабан 1 с намотанными на него оболочками 2. Между барабаном 1 и началом трубопровода 3 последовательно установлены полая консоль 4 для укладки (нанизывания) пленочного рукава 5 и гидрозатвор 6, соединенный с трубопроводом 3 гибким патрубком 7. Гидрозатвор 6 предназначен для создания избыточного давления воздуха на входе в трубопровод 3 и герметизации подачи в него тканевых оболочек 2 с пленочным рукавом 5, перемещаемых по трубопроводу вместе с торообразными устройствами 8.
Реализация предлагаемого способа выполняется следующим образом.
Предварительно из тканевого полотнища (технические капрон, лавсан и т.п.) вырезают одинаковые заготовки, число которых соответствует числу слоев будущего покрытия, а длина соответствует длине трубопровода. Затем эти заготовки поочередно сворачивают в спираль в направлении, перпендикулярном длинной их стороне, таким образом, чтобы образующиеся оболочки располагались коаксиально между собой (фиг.2). Далее многослойные тканевые оболочки 2 наматывают на барабан 1. После этого концы оболочек последовательно пропускают через полую консоль 4, на которую предварительно снаружи был одет и собран в гофры пленочный рукав 5. Затем пропускают тканевые оболочки 2 внутри пленочного рукава 5 и далее вместе с ним при выровненных концах оболочек и рукава протягивают через гидрозатвор 6 и гибкий патрубок 7. Далее в торец трубопровода 3 поочередно вводятся торообразные устройства 8 и оболочки 2 с рукавом 5 таким образом, чтобы между торообразным устройством 8 и многослойными оболочками 2, а также между этими оболочками оставляют пространство, длину которого определяют по формуле

где lп – длина пространства, м;
lт – длина трубопровода, м;
Dт – внутренний диаметр трубопровода, м;
к – толщина слоя клея (фиг.3), м.
Кроме того, между слоями оболочек предварительно вводятся гибкие шланги для клея (на чертеже не показаны), а концы оболочек 2 с рукавом 5 выворачивают и приклеивают к наружной поверхности конца трубопровода 3. Далее производится заполнение клеем пространства между оболочками 2 и оболочками 2 и тором 8 шлангами для клея от насоса (на чертеже не показан). Затем, в гидрозатворе 6 путем закачивания в него воздуха создается необходимое избыточное рабочее давление (0,02-0,04 МПа), под действием которого пленочный рукав 5 и тканевые оболочки 2 начнут втягиваться внутрь трубопровода 3. После того как передний фронт оболочек 2 с рукавом 5 под действием рабочего давления воздуха переместится до выходного конца трубопровода 3, их движение останавливают, а избыточное давление воздуха внутри рукава 5 сохраняют до окончания приклеивания тканевых оболочек 2 к внутренней поверхности трубопровода 3 (на 1-12 и более часов, в зависимости от температуры воздуха внутри рукава и внутренней стенки трубопровода). В качестве клея может быть использована эпоксидная смола с отвердителем и необходимыми компонентами, улучшающими качество приклеивания ткани. После окончания приклеивания тканевых оболочек 2 пленочный рукав 5 удаляют.
Предлагаемый способ для восстановления трубопровода сокращает длительность и улучшает качество пропитки клеем многослойных тканевых оболочек и обеспечивает возможность создания за один технологический цикл многослойных тканевых покрытий на внутренней поверхности трубопроводов.
Формула изобретения
Способ восстановления трубопровода, заключающийся в образовании многослойной оболочки из тканевого полотнища путем его сворачивания в спираль в направлении, перпендикулярном длинной его стороне, вложении в воздухонепроницаемый пленочный рукав, введении оболочки в трубопровод, концы рукава и слоев оболочки выворачивают и закрепляют по периметру на конце трубопровода, и перемещении их с прижатием к поверхности трубопровода избыточным давлением воздуха, отличающийся тем, что коаксиально к оболочке предварительно размещают дополнительные оболочки, свернутые аналогично первой, перед и после введения которых во входной конец трубопровода вводят горообразные устройства, причем между горообразным устройством и многослойными оболочками, а также между слоями оболочек оставляют пространство, заполняемое клеем, длину которого определяют по формуле
 где lп – длина пространства, м; lт – длина трубопровода, м; Dт – внутренний диаметр трубопровода, м;
к – толщина слоя клея, м.
РИСУНКИ
|
|