|
|
(21), (22) Заявка: 2008113005/06, 07.04.2008
(24) Дата начала отсчета срока действия патента:
07.04.2008
(46) Опубликовано: 27.08.2009
(56) Список документов, цитированных в отчете о поиске:
RU 2189515 C1, 20.09.2002. RU 2149303 C1, 20.05.2000. GB 2159249 A, 27.11.1985. US 5603352 A, 18.02.1997. DE 4316584 C1, 08.09.1994. DE 20014947 U1, 23.11.2000. DE 20011521 U1, 23.11.2000. EP 0257484 A1, 02.03.1988. WO 9412818 A1, 09.06.1994. JP 99194174 A, 02.11.01984.
Адрес для переписки:
600020, г.Владимир, ул. Лермонтова, 17/9, кв.9, А.А. Фомину
|
(72) Автор(ы):
Фомин Анатолий Анатольевич (RU)
(73) Патентообладатель(и):
ООО “ЭЛМАГ” (RU)
|
(54) ТЕРМОЗАПОРНЫЙ КЛАПАН
(57) Реферат:
Изобретение относится к арматуростроению и предназначено для автоматического перекрытия проходного сечения трубопроводов, в частности газопроводов в аварийных ситуациях, например при пожаре систем. Термозапорный клапан содержит прямоточный корпус с входным и выходным отверстиями, расположенные внутри него нагруженный пружиной запорный элемент и поперечную звездочку. Внешний обод звездочки зафиксирован в корпусе и соединен спицами со ступицей. Ступица снабжена направляющей для штока запорного элемента. В одной из спиц выполнен сквозной продольный канал. В нем со стороны обода установлен нажимной винт и размещен подвижный штифт. Штифт воздействует на шариковый стопор. Стопор расположен в канавке штока и фиксирует его в открытом положении. Между нажимным винтом и подвижным штифтом размещена плавкая вставка. В корпусе выполнена внутренняя цилиндрическая расточка. Расточка сопряжена с входным и выходным отверстиями по коническим поверхностям. Запорный элемент в поперечном сечении выполнен в виде цилиндра с одинаковыми коническими скосами по торцам, образующими с коническими поверхностями корпуса угол 12-17°. Изобретение позволяет уменьшить гидравлическое сопротивление, упростить конструкцию и сборку, а также повысить долговечность и надежность устройства. 1 з.п. ф-лы, 1 ил.
Изобретение относится к арматуростроению.
Известен термозапорный клапан, содержащий прямоточный корпус с входным и выходным отверстиями, расположенные внутри него нагруженный пружиной запорный элемент и поперечную звездочку, внешний обод которой зафиксирован в корпусе и соединен спицами со ступицей, причем ступица снабжена направляющей для штока запорного элемента, в одной из спиц выполнен сквозной продольный канал, в котором со стороны обода установлен нажимной винт и размещен подвижный штифт, воздействующий на шариковый стопор, расположенный в канавке штока и фиксирующий его в открытом положении, при этом между нажимным винтом и подвижным штифтом размещена плавкая вставка (см. патент RU 2189515, кл. F16К 17/40, 20.09.2002).
Недостатками известного клапана является сложность конструкции и плохая гидродинамика, затрудняющая проход среды через открытый клапан и способствующая более быстрому износу деталей.
Задача изобретения – устранить указанные недостатки. Техническим результатом является уменьшение гидравлического сопротивления, упрощение конструкции и сборки, а также повышение долговечности и надежности устройства.
Поставленная задача решается, а технический результат достигается тем, что термозапорный клапан содержит прямоточный корпус с входным и выходным отверстиями, расположенные внутри него нагруженный пружиной запорный элемент и поперечную звездочку, внешний обод которой зафиксирован в корпусе и соединен спицами со ступицей, снабженной направляющей для штока запорного элемента, при этом в одной из спиц выполнен сквозной продольный канал, в котором со стороны обода установлен нажимной винт и размещен подвижный штифт, воздействующий на шариковый стопор, расположенный в канавке штока и фиксирующий штифт в открытом положении, между нажимным винтом и подвижным штифтом размещена плавкая вставка, при этом в корпусе клапана выполнена внутренняя цилиндрическая расточка, сопряженная с входным и выходным отверстиями по коническим поверхностям, запорный элемент в поперечном сечении выполнен в виде цилиндра с одинаковыми коническими скосами по торцам, образующими с коническими поверхностями корпуса угол 12-17°. Сечение каждой спицы может быть выполнено ромбовидным со скругленными углами.
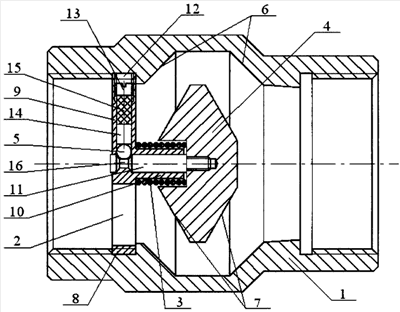
На чертеже изображен поперечный разрез термозапорного клапана.
Предлагаемый термозапорный клапан содержит корпус 1, в полости которого размещены поперечная звездочка 2 со ступицей, нагруженный пружиной 3 запорный элемент 4 и стопор 5. В корпусе выполнена внутренняя цилиндрическая расточка, сопряженная с входным и выходным отверстиями по коническим поверхностям 6. Запорный элемент 4 в поперечном сечении выполнен в виде цилиндра с одинаковыми коническими скосами 7 по торцам. При этом скосы 7 и конические поверхности 6 корпуса 1 образуют конфузорный канал на входе и ответный ему дифузорный канал на выходе. Внешний обод 8 звездочки 2 зафиксирован в корпусе 1 и соединен спицами 9 со ступицей. Ступица снабжена направляющей 10 для штока 11 запорного элемента 4. Стопор 5 удерживает запорный элемент 4 в открытом положении. В одной из спиц 9 выполнен сквозной продольный канал 12. В канале 12 со стороны обода 8 расположены нажимной винт 13 и подвижный штифт 14, между которыми находится плавкая вставка 15. В канавке 16 штока 11 расположен фиксирующий его в открытом положении шариковый стопор 5, на который воздействует штифт 14.
Термозапорный клапан работает следующим образом.
В исходном положении термозапорный клапан открыт. При этом пружина 3, расположенная между запорным элементом 4 и звездочкой 2, находится в сжатом состоянии и удерживается посредством шарикового стопора 5. В аварийной ситуации, например при повышении температуры в клапане или вокруг него, вставка 15 расплавляется. В результате, усилие нажимного винта 13 больше не передается на штифт 14, и последний больше не удерживает стопор 15 в канавке 16. При этом шток высвобождается и под действием нагружающей пружины запорный элемент 4, перемещаясь в крайнее правое положение, перекрывает проходное сечение корпуса 1, переводя клапан в закрытое положение.
Настоящее изобретение может быть использовано везде, где требуется автоматическое перекрытие проходного сечения трубопроводов, в частности газопроводов в аварийных ситуациях, например при пожарах.
Формула изобретения
1. Термозапорный клапан, содержащий прямоточный корпус с входным и выходным отверстиями, расположенные внутри него нагруженный пружиной запорный элемент и поперечная звездочка, внешний обод которой зафиксирован в корпусе и соединен спицами со ступицей, причем ступица снабжена направляющей для штока запорного элемента, в одной из спиц выполнен сквозной продольный канал, в котором со стороны обода установлен нажимной винт и размещен подвижный штифт, воздействующий на шариковый стопор, расположенный в канавке штока и фиксирующий его в открытом положении, при этом между нажимным винтом и подвижным штифтом размещена плавкая вставка, отличающийся тем, что в корпусе выполнена внутренняя цилиндрическая расточка, сопряженная с входным и выходным отверстиями по коническим поверхностям, при этом запорный элемент в поперечном сечении выполнен в виде цилиндра с одинаковыми коническими скосами по торцам, образующими с коническими поверхностями корпуса угол 12-17°.
2. Термозапорный клапан по п.1, отличающийся тем, что сечение каждой спицы выполнено ромбовидным со скругленными углами.
РИСУНКИ
|
|