|
|
(21), (22) Заявка: 2007131572/06, 21.08.2007
(24) Дата начала отсчета срока действия патента:
21.08.2007
(43) Дата публикации заявки: 27.02.2009
(46) Опубликовано: 27.08.2009
(56) Список документов, цитированных в отчете о поиске:
SU 1312250 А1, 23.05.1987. US 4124335 А, 07.11.1978. SU 1636596 А1, 23.03.1991. SU 1288352 А1, 07.02.1987. US 4124335 A, 07.11.1978. US 3137238 А, 16.06.1964.
Адрес для переписки:
142322, Московская обл., Чеховский р-н, п. Новый Быт, ул. Новая, 32-13, Г.М. Георгиевскому
|
(72) Автор(ы):
Георгиевский Мирослав Георгиевич (RU), Георгиевский Георгий Михайлович (RU), Батышев Константин Александрович (RU)
(73) Патентообладатель(и):
Георгиевский Мирослав Георгиевич (RU)
|
(54) ШЕСТЕРЕННАЯ ГИДРОМАШИНА (ВАРИАНТЫ)
(57) Реферат:
Изобретение относится к области шестеренного гидромашиностроения и может быть применено в конструкциях насосов, гидромоторов и делителей потока. Шестеренная гидромашина содержит, по меньшей мере, корпус с отверстиями высокого и низкого давления и внутренними расточками, в которых установлены ведущая и ведомая шестерни, и компенсаторы с рабочей поверхностью, контактирующей с торцами венцов шестерен, и нерабочей поверхностью с установленной в ней, по меньшей мере, одной манжетой, внутренняя полость которой гидравлически соединена с отверстием высокого давления. Половина рабочей поверхности компенсатора, обращенная к отверстию низкого давления, снабжена рядом отверстий в полость манжеты и/или, по меньшей мере, одним открытым пазом и/или фаской, имеющими выход к отверстию высокого давления и/или сообщающимися с отверстием высокого давления гидравлически через, по меньшей мере, одно отверстие во внутреннюю полость манжеты. Кромка ближайшего из ряда отверстий и/или начало открытого паза или фаски находятся от кромки отверстия низкого давления, как минимум, на расстоянии шага зацепления шестерен. Снижаются силы, действующие на пару шестерен со стороны жидкости высокого давления, и, как следствие, уменьшаются силы трения в подшипниках скольжения цапф шестерен. 2 н.п. ф-лы, 6 ил.
Изобретение относится к области шестеренного гидромашиностроения и может быть применено в конструкциях насосов, гидромоторов и делителей потока для создания противоположного знака эпюр сил, действующих на шестерни со стороны жидкости высокого давления, путем гидравлического соединения впадин зубьев шестерен, находящихся в момент вращения на стороне гидромашины, обращенной к отверстию низкого давления, с жидкостью высокого давления.
Известна конструкция шестеренного насоса согласно патенту США 4124335 А, 07.11.1978, F01C 19/08, в компенсаторе которого выполнены отверстия, соединяющие полость манжеты с рабочей поверхностью компенсатора и с впадинами между зубьями шестерен для отбора части находящейся в них рабочей жидкости под определенным давлением в манжетную полость для прижима компенсатора с этим давлением к торцам венцов шестерен, а также подачи жидкости под этим же давлением в стык подшипников скольжения для их прижима к поверхности расточки корпуса с целью снижения величины вибрации от неравномерности подачи, характерной для шестеренных насосов.
Недостатком данной конструкции является соединение полости манжеты отверстиями с рабочей поверхностью компенсатора с жидкостью, находящейся между зубьями шестерен, давление в которых не равно давлению нагнетания, т.к. отверстия гидравлически не соединены с выходом из насоса, что не позволяет обеспечить при более высоких давлениях нагнетания герметичность объема жидкости, запертой между зубьями. Таким образом, насос рассчитан для работы на низких давлениях и в гидросистемах с повышенными требованиями к неравномерности подачи и к вибрации насоса. Для снижения уровня вибрации шестерен в корпусе насоса от неравномерности подачи производится фиксация шестерен отводимой из-под манжет жидкостью в стык между подшипниками скольжения.
Задачу снижения сил от давления нагнетаемой жидкости на шестерни данная конструкция решить не может.
В качестве ближайшего аналога принята конструкция шестеренного насоса по а.с. СССР 1312250 A1, 23.05.1987, F04C 2/04, в котором пазы выполнены не на рабочей поверхности компенсатора, контактирующей с торцами венцов шестерен, а на нерабочей, в которую устанавливается манжета для увеличения объема находящейся там рабочей жидкости. Два симметричных отверстия соединяют эти пазы, расположенные на внутренней поверхности компенсатора, с рабочей поверхностью компенсатора и предназначены для дополнительного заполнения рабочей жидкостью высокого давления впадин между зубьями шестерен, проходящих в конкретный момент вращения через эти отверстия. Таким конструктивным решением авторы предполагают снизить температурный режим насоса за счет создания постоянной циркуляции рабочей жидкости из манжетной полости компенсатора в пространство между зубьями ведущей и ведомой шестерен, не до конца заполненные, по их мнению, жидкостью на входе насоса.
Недостатком данной конструкции с точки зрения заявляемого изобретения является создание кратковременного импульса высокого давления во впадине между зубьями, исчезающего сразу же после прохождения отверстия, соединенного с полостью манжеты, но ни в коем случае не создание постоянного сектора эпюр высокого давления, образующегося несколькими впадинами между зубьями вращающихся шестерен, гидравлически соединенных с полостью манжеты длинным пазом по рабочей поверхности компенсатора, в расточке корпуса или рядом отверстий. Только постоянный сектор высокого давления, созданный на стороне входного отверстия, может создать такой же постоянный эпюр, нейтрализующий силы давления нагнетаемой жидкости на шестерни с подшипниками со стороны нагнетания, т.е. выходного отверстия.
Задача предлагаемого изобретения состоит в снижении сил, действующих на пару шестерен со стороны жидкости высокого давления, и, как следствие, уменьшении сил трения в подшипниках скольжения цапф шестерен.
Таким образом, появляется запас несущей способности подшипников скольжения, который можно использовать для повышения рабочего давления, частоты вращения, крутящего момента или ресурса гидромашины в целом. Кроме того, уменьшение сил трения создает благоприятные условия для применения любых смазывающих жидкостей без опасности разрушения масляного клина в парах трения.
Поставленная задача достигается следующими вариантами технических решений.
1. Шестеренная гидромашина, содержащая, по меньшей мере, корпус с отверстиями высокого и низкого давления и внутренними расточками, в которых установлены ведущая и ведомая шестерни, и компенсаторы с рабочей поверхностью, контактирующей с торцами венцов шестерен, и нерабочей поверхностью с установленной в ней, по меньшей мере, одной манжетой, внутренняя полость которой гидравлически соединена с отверстием высокого давления, причем половина рабочей поверхности компенсатора, обращенная к отверстию низкого давления, снабжена рядом отверстий в полость манжеты и/или, по меньшей мере, одним открытым пазом и/или фаской, имеющими выход к отверстию высокого давления и/или сообщающимися с отверстием высокого давления гидравлически через, по меньшей мере, одно отверстие во внутреннюю полость манжеты, при этом кромка ближайшего из ряда отверстий и/или начало открытого паза или фаски находятся от кромки отверстия низкого давления, как минимум, на расстоянии шага зацепления шестерен.
2. Шестеренная гидромашина, содержащая, по меньшей мере, корпус с отверстиями высокого и низкого давления и внутренними расточками с установленными в них ведущей и ведомой шестернями, причем расточки корпуса в месте контакта с венцами шестерен снабжены, по меньшей мере, одним открытым пазом, начинающимся от кромки отверстия высокого давления и заканчивающимся у кромки отверстия низкого давления на расстоянии, равном, как минимум, шагу зацепления шестерен.
Описание чертежей
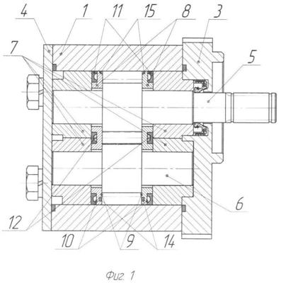
На фиг.1 изображена шестеренная гидромашина в продольном разрезе.
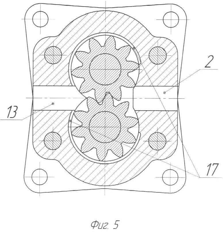
На фиг.2 изображено поперечное сечение гидромашины по рабочей поверхности компенсатора с вариантами выполнения паза и фаски, имеющими выход к отверстию высокого давления.
На фиг.3 изображено поперечное сечение гидромашины по рабочей поверхности компенсатора с вариантами выполнения паза и фаски только на половине рабочей поверхности компенсатора, обращенной к отверстию низкого давления, и соединенными отверстиями с внутренней полостью манжеты.
На фиг.4 изображено поперечное сечение гидромашины по рабочей поверхности компенсатора с вариантом симметричного расположения двух рядов отверстий во внутреннюю полость манжеты, выполненными на половине рабочей поверхности компенсатора, обращенной к отверстию низкого давления.
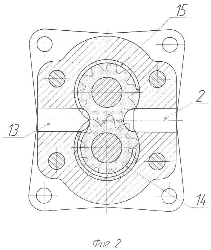
На фиг.5 изображено поперечное сечение корпуса по середине венцов шестерен с вариантом симметричного расположения двух открытых пазов, выполненных в расточке корпуса.
На фиг.6 изображен эпюр сил, напрямую нейтрализующих друг друга, без изображения эпюр по внешнему относительно корпуса насоса радиусу вокруг шестерен.
Фиг.1. Гидромашина состоит из следующих деталей: корпус (1) с отверстием низкого давления (2), крышки верхней (3), крышки нижней (4), шестерни ведущей (5), шестерни ведомой (6), подшипников скольжения (7), установленных на цапфах шестерен, и компенсаторов (8) с рабочей поверхностью (9), обращенной к венцам шестерен, и нерабочей (10) с установленными на ней манжетами (11), внутренняя полость (12) которых гидравлически соединена с отверстием высокого давления (13).
Фиг.2. На рабочей поверхности (9) компенсатора (8), обращенной к отверстию низкого давления (2), выполнены паз (14) или фаска (15), соединенные с отверстием высокого давления (13) и не доходящие до кромки отверстия низкого давления (2) на расстояние, равное, как минимум, шагу зацепления шестерен (5) и (6).
Фиг.3. На половине рабочей поверхности (9) компенсатора (8), обращенной к отверстию низкого давления (2), выполнены паз (14) или фаска (15) на расстоянии от кромки отверстия низкого давления (2), равном, как минимум, шагу зацепления шестерен (5) и (6). Паз и фаска соединены с полостью манжеты отверстиями (18).
Фиг.4. На половине рабочей поверхности (9) компенсатора (8), обращенной к отверстию низкого давления (2), выполнены ряды отверстий (16) в полость манжеты, ближайшее из них на расстоянии от кромки отверстия низкого давления (2), равном, как минимум, шагу зацепления шестерен (5) и (6).
Фиг.5. В расточках корпуса (1), в месте вращения венцов шестерен (5) и (6), выполнены два открытых паза (17), соединенных с отверстием высокого давления (13) и не доходящих до кромки отверстия низкого давления (2) на расстояние, равное, как минимум, шагу зацепления шестерен (5) и (6).
На фиг.6 изображен эпюр сил со знаком (-) на стороне гидромашины, обращенной к отверстию низкого давления, и со знаком (+) на стороне гидромашины, обращенной к отверстию высокого давления.
Шестеренная гидромашина работает следующим образом.
В режиме насоса при вращении шестерен (5) и (6) жидкость, поступающая в корпус (1) через отверстие низкого давления (2), заполняет впадины между зубьями, переносится к отверстию высокого давления (13) и выдавливается в него входящими в зацепление зубьями ведущей и ведомой шестерен.
В режиме гидромотора или делителя потока жидкость высокого давления поступает в отверстие высокого давления 13, заполняет впадины между зубьями, переносится к отверстию (или отверстиям – для делителя потока) низкого давления и выдавливается в него входящими в зацепление зубьями шестерен.
Жидкость со стороны отверстия высокого давления давит на пару шестерен и перемещает ее в сторону отверстия низкого давления. При этом происходит выбор зазоров в паре трения цапф в подшипниках скольжения и шестерни вгрызаются в расточку корпуса для обеспечения герметичности по наружному диаметру венца.
Торцевую герметичность находящейся между зубьями шестерен жидкости обеспечивают компенсаторы (8), прижимаемые к торцам венцов шестерен жидкостью, подведенной во внутреннюю полость (12) манжет (11) от отверстия высокого давления. Рабочая жидкость из отверстия высокого давления по пазам (14) или (17), или фаске (15), или ряду отверстий (16) соединяется с жидкостью во впадинах и создает в них давление, равное давлению жидкости в отверстии высокого давления.
При этом на стороне гидромашины, прилегающей к отверстию низкого давления, возникает постоянный эпюр сил, равный произведению давления жидкости на проекцию пазов, фасок или рядов отверстий, выполненных на рабочей стороне компенсатора, обращенной к отверстию низкого давления (или пазов в расточках корпуса, выполненных на соответствующей половине корпуса), на ось компенсатора. Этот эпюр на фиг.6 со знаком (-) противодействует эпюру сил со знаком (+), созданному давлением жидкости, поступающей в отверстие высокого давления, при этом часть эпюра сил со знаком (+) уничтожается, что позволяет существенно уменьшить силы давления жидкости на пару шестерен и, соответственно, на пары трения.
Таким образом, появляется возможность выбора для улучшения технических характеристик гидромашины: повышение давления нагнетания, увеличение частоты вращения, повышение ресурса или крутящего момента.
Формула изобретения
1. Шестеренная гидромашина, содержащая, по меньшей мере, корпус с отверстиями высокого и низкого давления и внутренними расточками, в которых установлены ведущая и ведомая шестерни, и компенсаторы с рабочей поверхностью, контактирующей с торцами венцов шестерен, и нерабочей поверхностью, с установленной в ней, по меньшей мере, одной манжетой, внутренняя полость которой гидравлически соединена с отверстием высокого давления, причем половина рабочей поверхности компенсатора, обращенная к отверстию низкого давления, снабжена рядом отверстий в полость манжеты и/или, по меньшей мере, одним открытым пазом и/или фаской, имеющими выход к отверстию высокого давления и/или сообщающимися с отверстием высокого давления гидравлически через, по меньшей мере, одно отверстие во внутреннюю полость манжеты, при этом кромка ближайшего из ряда отверстий и/или начало открытого паза или фаски находятся от кромки отверстия низкого давления, как минимум, на расстоянии шага зацепления шестерен.
2. Шестеренная гидромашина, содержащая, по меньшей мере, корпус с отверстиями высокого и низкого давления и внутренними расточками с установленными в них ведущей и ведомой шестернями, причем расточки корпуса в месте контакта с венцами шестерен снабжены, по меньшей мере, одним открытым пазом, начинающимся от кромки отверстия высокого давления и заканчивающимся у кромки отверстия низкого давления, как минимум, на расстоянии шага зацепления шестерен.
РИСУНКИ
|
|