|
|
(21), (22) Заявка: 2007139557/06, 24.10.2007
(24) Дата начала отсчета срока действия патента:
24.10.2007
(46) Опубликовано: 10.08.2009
(56) Список документов, цитированных в отчете о поиске:
ЕР 0690223 А2, 03.01.1996. RU 2221930 С2, 20.01.2004. DE 19619523 A1, 20.11.1997. RU 2061895 C1, 10.06.1996. RU 2029129 С1, 20.02.1995. US 5655716 A, 12.08.1997. US 5464156 A, 07.11.1995. US 6161813 A, 19.12.2000. US 0851116 А2, 01.07.1998. US 5154350 A, 13.10.1992.
Адрес для переписки:
150051, г.Ярославль, пр-кт Машиностроителей, 81, ОАО “Ярославский завод дизельной аппаратуры”, ИКЦ
|
(72) Автор(ы):
Флорианович Дмитрий Владиславович (RU), Зайцев Анатолий Павлович (RU), Виноградова Елена Павловна (RU), Тюремнов Евгений Борисович (RU), Курманов Василий Васильевич (RU)
(73) Патентообладатель(и):
Открытое акционерное общество “Ярославский завод дизельной аппаратуры” (ОАО “ЯЗДА”) (RU)
|
(54) ФОРСУНКА
(57) Реферат:
Изобретение относится к двигателестроению, в частности к аккумуляторным системам топливоподачи в цилиндры преимущественно дизельных двигателей. Изобретение позволяет увеличить быстродействие форсунки путем снижения массы штанги и управляющего поршня. Форсунка содержит корпус, закрепленный на корпусе распылитель с иглой, управляющий поршень, выполненный прецизионно с возможностью перемещения во втулке поршня, и штангу, одним торцом контактирующую с иглой, а другим – с управляющим поршнем и поджатую пружиной в сторону иглы распылителя. Штанга выполнена в виде стержня с фланцем, с одной стороны контактирующим с пружиной и с другой стороны – с иглой распылителя. Стержень штанги контактирует со сквозным направляющим отверстием корпуса форсунки. 1 ил.
Изобретение относится к области двигателестроения, а именно к аккумуляторным системам топливоподачи в цилиндры преимущественно дизельных двигателей.
Известна форсунка системы аккумуляторного типа Common Rail, содержащая корпус, распылитель с иглой, управляющий поршень, управляющую камеру. Игла взаимодействует с управляющим поршнем, который перемещается в управляющей камере. Игла имеет цапфу, входящую в направляющую втулку, в которой установлен конец управляющего поршня, обращенный к игле (см. DE 10020867 A1, F02M 61/12). Недостатком этой форсунки является необходимость изготовления с высочайшей точностью всех упомянутых деталей для обеспечения работоспособности изделия, т.к. управляющий поршень базируется в управляющей камере с зазором, исключающим утечку топлива, и в направляющей втулке для обеспечения соосности с иглой.
Наиболее близким техническим решением к заявляемому изобретению является электрогидравлическая форсунка с приспособлением для регулировки хода иглы, содержащая распылитель с иглой, управляющий поршень, который в свою очередь управляется посредством электромагнитного дозирующего клапана. Управляющий поршень действует на иглу через штангу, размещенную в глухом канале, выходящем к игле распылителя и служащем одновременно для размещения пружины распылителя (см. ЕР 0690223 А2, F02M 61/16, F02M 47/02). Эта конструкция принята за прототип заявляемой форсунки.
Недостатком технического решения прототипа является то, что у него штанга направляется по большому диаметру, определяемому диаметром пружины распылителя. Увеличение диаметра увеличивает массу штанги (ее инерционность), что в конечном итоге снижает быстродействие форсунки.
Целью предлагаемого изобретения является увеличение быстродействия форсунки путем снижения массы штанги и управляющего поршня.
Поставленная цель достигается тем, что предлагаемая форсунка, содержащая корпус, закрепленный на корпусе распылитель с иглой, управляющий поршень, который выполнен прецизионно с возможностью перемещения во втулке поршня, и штангу, одним торцом контактирующую с иглой, а другим – с управляющим поршнем и поджатую пружиной в сторону иглы распылителя, отличается тем, что штанга выполнена в виде стержня с фланцем, с одной стороны контактирующим с пружиной и с другой – с иглой распылителя, стержень штанги контактирует со сквозным направляющим отверстием корпуса форсунки.
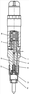
Предлагаемая форсунка показана на чертеже, где изображен ее общий вид в разрезе (ее совершенствуемая изобретением часть).
Форсунка состоит из корпуса форсунки 1 с закрепленным на нем распылителем 2 с иглой 3. Штанга 4 со стороны ее фланца 5 контактирует с иглой 3. Направляется штанга 4 в корпусе форсунки 1 по его сквозному отверстию 6. Другим торцом штанга 4 контактирует с управляющим поршнем 7, установленным прецизионно во втулке поршня 8. Между фланцем 5 штанги 4 и корпусом форсунки 1 установлена пружина распылителя 9.
Описанная форсунка работает следующим образом. При уменьшении давления над управляющим поршнем 7 относительно давления в распылителе 2 (при поступлении управляющего форсункой сигнала) поршень 7 перемещается во втулке 8 вверх вместе с иглой 3 и штангой 4, сжимая пружину 9. Происходит открытие форсунки. При выравнивании давления над управляющим поршнем 7 и в распылителе 2, из-за превышения площади управляющего поршня 7 над площадью иглы 3 и под действием пружины 9 происходит закрытие форсунки.
В предлагаемой форсунке, благодаря переходу от направления штанги по наибольшему диаметру к направлению по сквозному каналу корпуса форсунки, снижается общая масса штанги и управляющего поршня при обеспечении их достаточной поперечной жесткости. Снижение массы штанги и управляющего поршня создает условия для обеспечения более высокого быстродействия предлагаемой форсунки при аналогичном перепаде давления над поршнем и в распылителе в известной форсунке (прототипе). Предлагаемое техническое решение позволяет также увеличить соотношение длины направляющей части к диаметру штанги, что обеспечивает лучшее осевое направление штанги при возможности увеличения зазора между стержнем штанги и сквозным отверстием корпуса форсунки, являющимся направляющей для штанги.
Формула изобретения
Форсунка, содержащая корпус, закрепленный на корпусе распылитель с иглой, управляющий поршень, выполненный прецизионно с возможностью перемещения во втулке поршня, и штангу, одним торцом контактирующую с иглой, а другим – с управляющим поршнем и поджатую пружиной в сторону иглы распылителя, отличающаяся тем, что штанга выполнена в виде стержня с фланцем, с одной стороны контактирующим с пружиной и с другой стороны – с иглой распылителя, причем стержень штанги контактирует со сквозным направляющим отверстием корпуса форсунки.
РИСУНКИ
|
|