|
|
(21), (22) Заявка: 2007147319/11, 18.12.2007
(24) Дата начала отсчета срока действия патента:
18.12.2007
(46) Опубликовано: 10.08.2009
(56) Список документов, цитированных в отчете о поиске:
RU 2249738 C1, 10.04.2005. SU 842302 A, 30.06.1981. US 4878270 A, 07.11.1989.
Адрес для переписки:
424000, Республика Марий Эл, г.Йошкар-Ола, пл. Ленина, 3, ГОУ ВПО Марийский государственный технический университет, отдел интеллектуальной собственности
|
(72) Автор(ы):
Царев Евгений Михайлович (RU)
(73) Патентообладатель(и):
Государственное образовательное учреждение высшего профессионального образования Марийский государственный технический университет (RU)
|
(54) УСТРОЙСТВО ДЛЯ СОЕДИНЕНИЯ КАНАТОВ
(57) Реферат:
Изобретение относится к разгрузочно-погрузочным работам и может быть использовано для быстрого соединения канатов. Устройство для соединения канатов состоит из корпуса П-образной формы, в теле которого, относительно боковой поверхности, выполнены два сквозных отверстия. Внутри корпуса размещены соединяемые канаты. Каждый канат уложен в виде петли на резиновые прокладки и зафиксирован прижимной планкой в виде прямоугольной пластины с отверстиями, совпадающими с отверстиями корпуса. Через отверстия пластины и корпуса проходят стяжные болты с гайками. Повышаются надежность соединения канатов, ремонтопригодность устройства для соединения канатов и упрощается его конструкция. 2 ил.
Изобретение относится к погрузочно-разгрузочным работам и может быть использовано для соединения грузовых канатов.
Известен зажим для крепления концов каната, включающий две зажимные детали с продольным желобом, имеющим неровное дно для укладки каната и на концах которых, обращенных друг другу, симметрично продольной оси выполнены приливы, имеющие на одной детали форму крюков, направленных в одну сторону вдоль продольной оси, на другой детали – форму гнезд, соответствующих в них крюкам, а также фиксирующих винтов (а.с. 523214).
Известный зажим сложен в изготовлении.
Наиболее близким по технической сущности и достигаемому экономическому эффекту является устройство (а.с. SU 842302), содержащее две пластины, крепежный элемент с головкой, стягивающий эти пластины, штыри, закрепленные на одной пластине и входящие в отверстия другой, при этом канаты расположены между штырями.
Известное устройство не обеспечивает простоту изготовления и сборки, а также ремонтопригодность.
Сущность изобретения заключается в быстром и надежном соединении двух канатов значительной длины без применения сложного оборудования.
Задача, решаемая заявителем, – упрощение изготовления и эксплуатации конструкции зажима, а также повышение надежности соединения канатов.
Поставленная цель достигается тем, что корпус устройства изготавливается П-образной формы, в теле которого, относительно боковой поверхности, выполнены два сквозных отверстия, при этом внутри корпуса размещены соединяемые канаты, каждый из которых уложен в корпусе в виде петли на резиновые прокладки и зафиксирован прижимной планкой, представляющую из себя прямоугольную пластину с отверстиями, совпадающими с отверстиями корпуса, в которых установлены стяжные болты с гайками, размещенные как в сквозных отверстиях корпуса, так и в отверстиях прижимной планки.
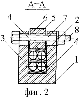
Устройство для соединения канатов поясняется чертежами, где на фиг.1 показан главный вид, на фиг.2 показано сечение устройства.
Предлагаемое изобретение состоит из корпуса 1, изготовленного в виде П-образной формы, в теле которого, относительно боковой поверхности, выполнены два сквозных отверстия 2, при этом внутри корпуса размещены соединяемые канаты 3, каждый из которых уложен в корпус 1 в виде петли на резиновые прокладки 4 и зафиксирован прижимной планкой 5, представляющую из себя прямоугольную пластину с отверстиями 6, совпадающими с отверстиями 2 корпуса 1, в которых установлены стяжные болты 7 с гайками 8, размещенные как в сквозных отверстиях корпуса 1, так и в отверстиях прижимной планки 4.
Устройство монтируется следующим образом. Вначале сборки во внутрь корпуса 1 поочередно укладывают резиновые прокладки 4 и соединяемые канаты 3, а поверх их устанавливают прижимную планку 5 с отверстиями 6. После чего стяжные болты 7 пропускают сквозь отверстия корпуса 1 и отверстия прижимной планки 5. Затем прижимную планку 5 прижимают к канатам 3, а стяжные болты 7 фиксируют посредством гаек 8. При этом происходят изгиб канатов 3 и за счет сил трения их фиксация.
При этом затрачивается минимальное время на соединение канатов, а также на ремонт соединения в случае обрыва одного из них. В случае необходимости гайки отворачивают, болты смещают относительно корпуса, канаты освобождают и производят их замену. Данное устройство может быть изготовлено в любой мастерской без применения сложного оборудования.
Формула изобретения
Устройство для соединения канатов, содержащее корпус, стяжные болты, отличающееся тем, что корпус устройства изготавливается П-образной формы, в теле которого, относительно боковой поверхности, выполнены два сквозных отверстия, при этом внутри корпуса размещены соединяемые канаты, каждый из которых уложен в корпусе в виде петли на резиновые прокладки и зафиксирован прижимной планкой, представляющей из себя прямоугольную пластину с отверстиями, совпадающими с отверстиями корпуса, в которых установлены стяжные болты с гайками, размещенные как в сквозных отверстиях корпуса, так и в отверстиях прижимной планки.
РИСУНКИ
|
|