|
|
(21), (22) Заявка: 2007121748/12, 08.11.2005
(24) Дата начала отсчета срока действия патента:
08.11.2005
(30) Конвенционный приоритет:
11.11.2004 EP 04105712.6
(43) Дата публикации заявки: 20.12.2008
(46) Опубликовано: 20.07.2009
(56) Список документов, цитированных в отчете о поиске:
US 6021912 А, 08.02.2000. ЕР 0575987 А2, 29.12.1993. US 2001/0027957 А1, 11.10.2001. ЕР 1327588 А1, 16.07.2003. RU 2112725 С1, 10.06.1998.
(85) Дата перевода заявки PCT на национальную фазу:
13.06.2007
(86) Заявка PCT:
EP 2005/055807 20051108
(87) Публикация PCT:
WO 2006/051068 20060518
Адрес для переписки:
129090, Москва, ул.Б.Спасская, 25, стр.3, ООО “Юридическая фирма Городисский и Партнеры”, пат.пов. А.В.Мицу, рег. 364
|
(72) Автор(ы):
ГАЙЛЛО Максим Пьер (FR), ВИДМЕР Себастьян Седрик (FR), ОДЕ Филипп Жерар (FR)
(73) Патентообладатель(и):
ОБРИСТ КЛОУЖЕРЗ СВИТЗЕРЛАНД ГМБХ (CH)
|
(54) САМОВЕНТИЛИРУЮЩАЯСЯ КРЫШКА
(57) Реферат:
Крышка (10) для емкости, содержащая по существу круглое основание (20), юбку (30), проходящую от его периферии, отверстие уплотнения (50) в форме кольца и, по меньшей мере, одно ребро (70), лежащее на поверхности основания (20) по существу в радиальном направлении и соприкасающееся одним концом с радиальной внутренней поверхностью отверстия уплотнения (50), для передачи любого перемещения центра основания (20) относительно юбки (30) к отверстию уплотнения (50) так, что отверстие уплотнения (50) втягивается радиально внутрь, позволяя выпускать избыток давления внутри емкости. Конец ребра (70), соприкасающийся с внутренней радиальной поверхностью отверстия уплотнения (50), тоньше в плоскости, параллельной основанию (20), чем в участке ребра (70), расположенном на расстоянии от внутренней поверхности отверстия уплотнения (50). Предусмотрены: емкость в комбинации с крышкой, а также способ для определения давления вентиляции крышки. Изобретение направлено на создание новой конструкции крышки, позволяющей выпуск газа через стопор и самовентиляцию емкости, не затрагивая герметизирующей способности отверстия уплотнения или способности изгибаться так, чтобы было достаточно для коррекции установки крышки на емкости. 3 н. и 9 з.п. ф-лы, 6 ил.
Изобретение относится к крышкам для емкостей, в которых крышка будет автоматически самовентилироваться, если давление газа внутри емкости превысит желаемый уровень.
Одна такая крышка известна из Европейской публикации 0858416 А1. Известная крышка содержит обычный корпус с основанием и опускающейся вниз юбкой, образующей наружную поверхность крышки. Внутри крышки из основания вниз выступает отверстие уплотнения. Радиально между отверстием уплотнения и юбкой из основания вниз выступает стопор. Этот стопор противодействует чрезмерному завинчиванию соответствующей винтовой резьбы, расположенной внутри корпуса и на присоединяемой емкости, и давит на обод емкости. Между стопором и отверстием уплотнения толщина основания уменьшается.
Далее выполнено ребро равномерной толщины, поперечное сечение которого имеет форму прямоугольного треугольника. Один из катетов лежит на основании, а другой катет лежит вдоль отверстия уплотнения. Гипотенуза треугольника не лежит ни на какой поверхности. Сторона ребра, лежащая на внутренней поверхности основания, выступает из отверстия уплотнения в направлении осевого центра основания. Сторона, лежащая на отверстии уплотнения, выступает не на всю высоту отверстия уплотнения, а скорее только на высоту той части отверстия уплотнения, которая выступает радиально наружу. Таким образом, часть отверстия уплотнения, не имеющая примыкающего к ней ребра, может быть более гибкой, чем та часть отверстия уплотнения, которая усиливается наличием ребра.
При увеличении давления в емкости, вызванного любой причиной, такой как ферментация, повышение температуры и т.д., крышка, как описано выше, навинченная на емкость для ее герметизации, будет «вздуваться». Это «вздутие» означает, что центр основания будет подниматься вверх от емкости.
Это увеличение давления нежелательно в силу ряда причин. Например, потребители могут не захотеть покупать продукт со вздутой крышкой или крышка может «взорваться» при открывании, что может привести к возможному ранению.
Во время использования при вздутии крышки ребро будет передавать силу вздутия от центра крышки к отверстию уплотнения. Эта сила будет втягивать отверстие уплотнение радиально во внутрь. В результате герметизация, образованная между отверстием уплотнения и емкостью, разрушается, позволяя газу выходить из емкости.
Когда газ выходит, давление в емкости понижается, вызывая, таким образом, уменьшение вздутия, а основание крышки возвращается в нормальное невздутое состояние. Это заставляет возвращаться отверстию уплотнения назад в его уплотняющее положение.
Во время вентилирования более тонкая часть основания действует как шарнир, позволяющий движение вверх части основания, включающей часть, которая имеет отверстие уплотнения, выступающего из него.
Одна проблема известных крышек заключается в том, что стопор герметизирует обод емкости, и для выхода газа из емкости не существует пути для самовентиляции емкости. Это может снизить эффект самовентилирования.
Кроме того, после отливки, когда крышка остывает, ребро может вызвать утяжки на радиальной внешней поверхности отверстия уплотнения из-за относительного размера ребра, которое не позволит отверстию уплотнения полностью герметизировать внутренний обод емкости. Это – главный недостаток для асептических продуктов, упакованных в соответствующую емкость, где крайне важно, чтобы воздух не проник вовнутрь емкости.
Более того, предотвращается достаточно длинный изгиб отверстия уплотнения вдоль его осевой длины, чтобы позволить крышке быть легко установленной на емкость после наполнения.
Поэтому цель настоящего изобретения заключается в создании крышки, не имеющей таких проблем, в частности, позволяющей выпуск газа через стопор и самовентиляцию емкости, не затрагивая герметизирующей способности отверстия уплотнения или способности изгибаться так, чтобы было достаточно для коррекции установки крышки на емкость.
В одном варианте изобретение обеспечивает крышку для емкости, содержащую по существу круглое основание, юбку, выступающую по ее периферии, отверстие уплотнения в форме кольца и по меньшей мере одно ребро, лежащее на поверхности основания, по существу в радиальном направлении и соприкасающееся с радиальной внутренней поверхностью отверстия уплотнения одним концом для передачи любого перемещения центра основания относительно юбки к отверстию уплотнения так, что отверстие уплотнения втягивается радиально внутрь, позволяя сбрасывать излишки давления внутри емкости, в котором конец ребра, соприкасающийся с радиальной внутренней поверхностью отверстия уплотнения, тоньше в плоскости, параллельной основанию, чем в участке, расположенном на расстоянии от конца ребра, соприкасающегося с радиальной внутренней поверхностью, в частности тоньше, чем другой конец ребра. Предпочтительно, чтобы конец ребра, соприкасающийся с внутренней поверхностью, был значительно тоньше, т.е. по меньшей мере имел толщину менее 80% и наиболее предпочтительно – менее 50% толщины участка, расположенного на расстоянии от отверстия уплотнения.
Поскольку конец ребра, соприкасающийся с отверстием уплотнения, относительно тонкий, то он соприкасается с радиальной внутренней поверхностью отверстия уплотнения на относительно маленьком участке. Соответственно, усадка и наличие утяжек на отверстии уплотнения сводится к минимуму. Кроме того, гибкость отверстия уплотнения не снижается из-за того, что конец ребра, соприкасающийся с ним, относительно тонок. Более того, наличие утолщенного конца ребра, противоположного концу ребра, соприкасающемуся с отверстием уплотнения, позволяет эффективно передавать любое усилие, возникающее из-за вздутия, обеспечивая вентиляцию. В соответствии с предпочтительным вариантом осуществления изобретения ребро расположено асимметрично относительно оси крышки. В частности, одно единственное ребро или множество хаотично расположенных ребер будет увеличивать вентилирование.
Кроме того, расчетом размеров или толщины ребра в зоне соприкосновения с отверстием уплотнения можно отрегулировать давление, при котором крышка начнет вентилирование. В соответствии с другим вариантом изобретения выполняется такой утонченный участок, позволяющий регулировать желаемое давление вентиляции.
Другие варианты раскрыты в зависимых пунктах формулы изобретения, приложенной здесь.
Варианты изобретения будут теперь описаны путем примера со ссылкой на следующие чертежи, на которых:
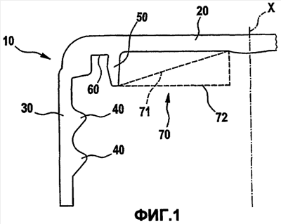
Фиг.1 представляет собой поперечный разрез крышки,
Фиг.2 представляет собой вид сверху одного варианта ребра,
Фиг.3 представляет собой другой поперечный разрез крышки,
Фиг.4 представляет собой вид сверху второго варианта ребра,
Фиг.4а представляет собой увеличенный вид части Фиг.4, и
Фиг.5 представляет собой вид сверху части основания крышки.
В последующем описании все пространственные термины, такие как «верхний», «нижний», «проходящий вниз», «радиально» и «аксиально», используются в отношении поперечных сечений, показанных на Фиг.1 и 3, и не должны быть поняты, как ограничивающие изобретение или его привязку к крышке.
На Фиг.1 показана только приблизительно половина корпуса 10 крышки в поперечном разрезе, поскольку крышка симметрична относительно оси «X», за исключением ребра 70.
На этой фигуре можно видеть основание 20. Это основание 20 по существу круглое на виде сверху (не показано). По периферии выступает юбка 30. На внутренней радиальной поверхности юбки 30 расположены участки винтовой резьбы 40. Эти участки винтовой резьбы взаимодействуют с соответствующей винтовой резьбой, расположенной на радиальной внешней поверхности горловины емкости (не показана). Однако хоть и показаны участки винтовой резьбы, понятно, что это изобретение не ограничивается только этим видом соединения, поскольку также возможны и другие средства крепления крышки к емкости. Другим средством мог бы быть, например, защелкивающийся буртик.
Также от основания 20 выступает вниз отверстие уплотнения 50. Оно проходит вокруг оси «Х», образуя полное кольцо, и обеспечивает уплотнение внутренней стороне горловины емкости (не показана) хорошо известным специалистам в данной области техники образом.
Между отверстием уплотнения 50 и юбкой 30 показана зона стопора 60. Эта стопорная зона ограничивает продвижение емкости в направлении основания 20, воздействуя на обод емкости. Ниже эта стопорная зона 60 будет описана более подробно.
В заключение два возможных эскиза поперечного сечения ребра 70 обозначены в общих чертах линиями 71 и 72. Контур, обозначенный позицией 71, является по существу треугольным в поперечном сечении. При этом контур, обозначенный позицией 72, обычно является прямоугольным. Конечно, возможны и многие другие формы.
Впрочем, у этих различных возможных форм существует несколько общих характерных особенностей. Одна такая общая особенность заключается в том, что конец ребра 70 лежит напротив радиальной внутренней поверхности отверстия уплотнения 50 и соприкасается с ней. На чертежах это соприкосновение простирается на всю осевую высоту внутренней поверхности отверстия уплотнения. Хотя это может быть и не всегда.
Другой общей особенностью является то, что, несмотря на то, что ребро 70 показано проходящим от отверстия уплотнения вдоль линии радиуса к ориентировочному центру «Х» крышки, фактически это может быть только продолжением части пути вдоль линии радиуса в направлении центра.
На Фиг.2 показан вид сверху части одного варианта крышки. Ребро 70 выступает вдоль линии радиусов между центром «Х» основания 20 и внутренней поверхностью отверстия уплотнения 50. Ребро соприкасается с внутренней поверхностью в точке, обозначенной позицией 95. Далее можно увидеть, что конец ребра 70, который соприкасается с внутренней поверхностью, относительно тоньше противоположного конца. В целях данного описания слово «конец» относится не только к самому концу, но также и к участку, непосредственно предшествующему самому концу. Общий внешний вид ребра 70 сверху по существу треугольный. Однако также возможны другие формы, например равнобедренная трапеция.
Узкий конец, соприкасающийся с поверхностью, исключает образование утяжек на внешней поверхности отверстия уплотнения. Это также позволяет отверстию уплотнения быть эластичным при надевании крышки на емкость. Кроме того, благодаря относительно более толстому другому концу силы образуемые вздутием крышки могут эффективно передаваться на отверстие уплотнения. Если конец, ближайший к осевому центру «Х» крышки, также получил относительно тонкий размер, возможен риск, что во время вздутия крышки ребро 70 будет растягивать сторону, смежную с основанием 20, и сжимать противоположную сторону так, что силы, образуемые вздутием, не будут передаваться к отверстию уплотнения, и емкость не будет вентилироваться.
На Фиг.3-5 показан второй вариант. Во втором варианте ребро 70 содержит две части. Первая часть 80 в поперечном сечении по существу треугольная. Она имеет первую поверхность, лежащую в радиальном направлении на нижней части основания 20. Несмотря на то, что на чертежах первая часть 80 показана проходящей от отверстия уплотнения вдоль линии радиуса к ориентировочному центру «Х» крышки, фактически это может быть только продолжением части пути вдоль линии радиуса в направлении центра. Поверхность 85, перпендикулярная к этой первой поверхности, выступает вниз из основания 20 крышки. Поверхность гипотенузы первой части 70 представляет собой открытую поверхность, не лежащую напротив какой-либо другой поверхности.
Поперечное сечение второй части 90 ребра 70 приблизительно прямоугольное и имеет одну поверхность, лежащую рядом с первой частью 80 вдоль поверхности 85. Поверхность, противоположная этой, лежит напротив радиальной внутренней поверхности отверстия уплотнения 50. Другая поверхность лежит напротив нижней части основания 20 крышки 10. Эта вторая часть 90 лежит в том же самом радиальном направлении, что и первая часть 80, так, что все ребро 70 лежит на прямой линии от приблизительно центра основания 20 к отверстию уплотнения 50.
На Фиг.4 ребро 70 показано сверху. Можно видеть, что первая часть 80 по существу имеет прямоугольную форму, а вторая часть 90 – треугольную. Однако вторая часть 90 может быть прямоугольной или, даже, в форме равнобедренной трапеции.
Первая часть 80 и вторая часть 90 пересекаются на стыке 85. Однако ширина двух частей на стыке 85 может быть различной, что образует между ними ступеньку.
В первом варианте вершина треугольной второй части 90 лежит напротив радиальной внутренней поверхности отверстия уплотнения 50. Однако, как описано выше, эта вершина фактически могла бы быть концом прямоугольника или равнобедренной трапеции.
Поскольку участок второй части 90, лежащий напротив отверстия уплотнения, является тонким только относительно, это не создает утяжек на противоположной стороне отверстия уплотнения и, таким образом, не препятствует отверстию уплотнения изолировать горловину емкости. Это происходит благодаря свойству свежеотлитого способа пластического литья под давлением пластика давать небольшую усадку при охлаждении и, соответственно, давать большую усадку большого пластичного тела по сравнению с меньшим телом. Поэтому, поддерживая минимальной зону контакта между отверстием уплотнения и ребром, эффект охлаждения будет уменьшать любую усадку отверстия уплотнения и, таким образом, как правило, исключать наличие утяжек на нем.
Кроме того, поскольку вторая часть 90 относительно тонкая, она также и относительно эластичная. Это означает, что отверстие уплотнения может сгибаться в зоне ребра таким образом, как если бы никакого ребра не было. Это означает, что крышка будет легко плотно прилегать к емкости, в которой отверстие уплотнения будет слегка сгибаться без каких-либо проблем.
Более того, вторая часть 90 может проходить вдоль всей осевой высоты отверстия уплотнения 50. При такой конфигурации для того, чтобы нажать отверстие уплотнения радиально внутрь, требуется меньшая сила, чем требуется при конфигурации с ребром 70, только частично выступающим вдоль осевой высоты отверстия уплотнения 50. Соответственно, чувствительность самовентилирующих характеристик увеличивается. Вместе с тем, поскольку вторая часть 90 является относительно тонкой и, как следствие, эластичной, отверстие уплотнения 50 не жесткое в этом месте.
В заключение первая часть 80 ребра 70 выполнена более прочной, чем вторая часть 90, так, что эффект вздутия эффективно передается к отверстию уплотнения, как описано выше относительно первого варианта.
На Фиг.4 можно увидеть, что толщина отверстия уплотнения обозначена как «е». Это – максимальная толщина отверстия уплотнения, измеренного радиально. Кроме того, окружная ширина стороны второй части 90 ребра 70, примыкающей к радиальной внутренней стороне отверстия уплотнения 50, обозначена как «а». И, наконец, радиальная длина второй части 90 ребра 70 обозначена как «d».
Для того чтобы гарантировать, что ребро будет позволять вентиляцию емкости, что отверстие уплотнения не стало жестче от присутствия ребра и что радиальная внешняя поверхность отверстия уплотнения не повреждена наличием утяжек, необходимо точно определить размеры ребра 70 относительно радиальной толщины отверстия уплотнения 50. Было обнаружено, что это достигается использованием следующих диапазонов:
0,4(е) а 0,3(е) и 1,5(е) d е,
где «а», «d» и «е» определены выше.
На Фиг.5 показан вид сверху части крышки 10 согласно изобретению.
Также видны первая и вторая части 80, 90 ребра 70 и отверстие уплотнения 50.
Юбка 30 выходит за пределы отверстия уплотнения 50 по его радиусу. Между 50 и 30 расположена зона 60 стопора. В этой зоне выполнено несколько лапок 100. Эти лапки выступают от основания 20 на максимальную глубину, как показано на Фиг.1 (обозначено ссылочной позицией 60).
Лапки расположены на расстоянии друг от друга по окружности крышки 10. Периодически эти лапки 100 соединены вместе для образования сплошной лапки 110. Там, где нет лапок 100, 110, находящееся основание 20 будет слегка тоньше. Эти участки обозначены позицией «120». Участки 120 обеспечивают проход для выхода газа между вершиной обода емкости и нижней поверхностью основания 20, в то время как отверстие уплотнения нажато радиально внутрь (как следствие, вздутия крышки, действующего на ребро 70).
Несмотря на то, что крышка 10 была описана с только одним ребром 70, понятно, что может быть выполнено больше ребер 70.
Формула изобретения
1. Крышка (10) для емкости, содержащая по существу круглое основание (20), юбку (30), проходящую от его периферии, отверстие уплотнения (50) в форме кольца и, по меньшей мере, одно ребро (70), лежащее на поверхности основания (20) по существу в радиальном направлении и соприкасающееся одним концом с радиальной внутренней поверхностью отверстия уплотнения (50), для передачи любого перемещения центра основания (20) относительно юбки (30) к отверстию уплотнения (50) так, что отверстие уплотнения (50) втягивается радиально внутрь, позволяя выпускать избыток давления внутри емкости, отличающаяся тем, что конец ребра (70), соприкасающийся с внутренней радиальной поверхностью отверстия уплотнения (50), тоньше в плоскости, параллельной основанию (20), чем в участке ребра (70), расположенном на расстоянии от внутренней поверхности отверстия уплотнения (50).
2. Крышка по п.1, в которой ребро (70) имеет первую часть (80) и вторую часть (90), причем вторая часть (90) заканчивается на конце (95) соприкасающимся с отверстием уплотнения (50), а первая часть (80) проходит радиально внутрь от другого конца второй части (90).
3. Крышка по п.2, в которой первая часть (80) ребра (70) по существу жестче, чем вторая часть (90).
4. Крышка по п.2, в которой вторая часть (90) ребра (70) имеет форму равнобедренного треугольника в плоскости, параллельной основанию (20) крышки (10).
5. Крышка по п.2, в которой вторая часть соприкасается со всей осевой длиной радиальной внутренней поверхности отверстия уплотнения (50).
6. Крышка по п.2, в которой вторая часть (90) ребра (70) соприкасается с радиальной внутренней поверхностью отверстия уплотнения (50) по окружности, которая находится в интервале, который больше, чем или равен 0,3, умноженное на максимальную радиальную ширину отверстия уплотнения (50), и меньше или равен 0,4, умноженное на максимальную радиальную ширину отверстия уплотнения (50).
7. Крышка по п.2, в которой радиальная длина второй части (90) ребра (70) находится в интервале, который больше, чем или равен максимальной радиальной ширине отверстия уплотнения (50) и меньше, чем или равен 1,5, умноженное на максимальную радиальную ширину отверстия уплотнения (50).
8. Крышка по п.1, дополнительно содержащая стопорную зону (60), расположенную между юбкой (30) и отверстием уплотнения (50), и в которой эта стопорная зона содержит лапки (100, 110), отделенные участками (120) уменьшенной толщины основания, обеспечивающими проход для выхода избыточного газа из емкости через крышку (10) в окружающую атмосферу.
9. Крышка по п.8, в которой некоторые из лапок (100) внутри стопорной зоны (60) соединены вместе, образуя полунепрерывный стопор (110).
10. Крышка по п.1, в которой по меньшей мере одно ребро (70) расположено асимметрично на поверхности основания (20).
11. Емкость в комбинации с крышкой (10) по любому из пп.1-10.
12. Способ для определения давления вентиляции крышки по любому из пп.1-9, в котором утончение указанного ребра (70) в участке соприкосновения с радиальной внутренней поверхностью отверстия уплотнения (50) выбирается таким образом, чтобы установить заданное давление вентилирования.
РИСУНКИ
|
|