|
|
(21), (22) Заявка: 2008105195/11, 11.02.2008
(24) Дата начала отсчета срока действия патента:
11.02.2008
(46) Опубликовано: 20.07.2009
(56) Список документов, цитированных в отчете о поиске:
RU 2149800 С1, 27.05.2000. US 3276528 A, 04.10.1966. FR 2824924 A1, 22.11.2002.
Адрес для переписки:
191036, Санкт-Петербург, С-36, ул. 6-я Советская, 25/20, кв.5, В.С. Григорчуку
|
(72) Автор(ы):
Григорчук Владимир Степанович (RU)
(73) Патентообладатель(и):
Григорчук Владимир Степанович (RU)
|
(54) ДВИЖИТЕЛЬ ВЕРТИКАЛЬНОГО ПОДЪЕМА
(57) Реферат:
Изобретение относится к области авиации и может найти применение на летательных аппаратах. Движитель вертикального подъема содержит круглый корпус, внутри которого в средней части размещен редуктор, ведомый вал которого установлен вертикально на подшипниках. На вертикальном ведомом валу закреплены на некотором расстоянии друг от друга диски, каждый из которых имеет верхнюю гладкую поверхность, а на нижней поверхности по концентрическим окружностям в четном количестве расположены глухие каналы, продольная ось каждого из которых установлена в направлении вращения под углом к плоскости, проходящей через центр вращения. Внутри верхней части цилиндрического корпуса размещено несколько инерционных движителей, одинаковых по конструкции, выполненных в форме нескольких пустотелых колец прямоугольного сечения, прикрепленных вертикально к корпусу и соосно друг другу. Продольные оси колец перпендикулярны продольной оси цилиндрического корпуса, причем нижние половины колец расширены с обеих торцевых сторон таким образом, что сечение нижних расширенных полуколец в несколько раз больше сечения верхних нерасширенных полуколец. С внутренней стороны расширенных полуколец закреплены насосы, по одному на каждое кольцо, имеющие общий вал, на котором закреплена шестерня, которая через промежуточную шестерню связана с ведущей шестерней ведущего вала редуктора. Внутренние полости колец заполнены ртутью или жидкостью с большим удельным весом. Достигается увеличение подъемной силы. 15 ил.
Изобретение относится к области машиностроения и может найти применение в качестве движителя вертикального подъема на летательных аппаратах.
Известен подъемный турбореактивный двигатель, содержащий корпус цилиндрического типа, внутри которого установлен на подшипниках вертикальный вал, на верхнем конце которого закреплен шестиступенчатый компрессор, а на нижнем конце закреплена одноступенчатая газовая турбина. В верхней части внутри корпуса закреплен спрямляющий аппарат, а в нижней части расположены: камера сгорания с форсункой подачи топлива, система воспламенения и патрубок подачи сжатого воздуха на лопасти газовой турбины системы запуска.
/ Авиация, Энциклопедия, гл. ред. Г.П.Свищев, Большая Российская энциклопедия. Центральный аэрогидродинамический институт им. проф. Н.Е.Жуковского, М., 1994, с.427 /.
Недостатками подъемного турбореактивного двигателя являются: большой расход топлива, разрушительное воздействие раскаленной газовой струи на окружающую среду, кратковременность действия, повышенная пожароопасность.
Указанные недостатки обусловлены конструкцией подъемного турбореактивного двигателя.
Известен также движитель вертикального подъема, содержащий цилиндрический корпус, внутри которого размещен редуктор, установленный на кронштейнах в средней части корпуса. Верхний и нижний ведомые валы редуктора размещены вертикально и закреплены в подшипниках корпуса. На ведомых валах закреплены верхние и нижние диски, одинаковые по конструкции, имеющие зазор с корпусом. Каждый из дисков имеет в нижней части глухие каналы круглого иди квадратного сечения, размещенные по концентрическим окружностям в четном количестве в каждой из них, продольная ось каждого из которых установлена в направлении вращения диска под углом к плоскости, проходящей через центр вращения, при этом боковые противоположные поверхности каждого из каналов равны между собой в продольном и поперечном направлениях, а плоскость дна каждого из каналов параллельна верхней гладкой поверхности диска.
/Патент РФ 2149800, кл. В64С 29/00, опубл. 27.05.2000, бюл. 15/.
Известный движитель вертикального подъема по патенту РФ 2149800, как наиболее близкий по технической сущности и достигаемому полезному результату, принят за прототип.
Недостатком известного движителя вертикального подъема принятого за прототип, является недостаточная подъемная сила.
Указанный недостаток обусловлен конструкцией движителя вертикального подъема.
Целью настоящего изобретения является повышение эксплуатационных характеристик движителя вертикального подъема.
Указанная цель согласно изобретению обеспечивается тем, что верхние диски с верхним ведомым валом заменены несколькими инерционными движителями, одинаковыми по конструкции, выполненными в форме нескольких пустотелых колец прямоугольного сечения, прикрепленных вертикально к корпусу и соосно друг другу, продольные оси которых перпендикулярны продольной оси цилиндрического корпуса, причем нижние половины колец расширены с обеих торцевых сторон таким образом, что сечение нижних расширенных полуколец в несколько раз больше сечения верхних нерасширенных полуколец, кроме того с внутренней стороны расширенных полуколец закреплены насосы, по одному на каждое кольцо, имеющие общий вал, на котором закреплена шестерня, которая через промежуточную шестерню связана с ведущей шестерней ведущего вала редуктора, причем внутренние полости колец заполнены ртутью или жидкостью с большим удельным весом.
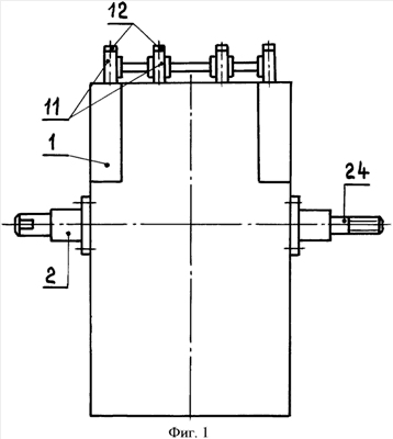
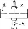
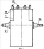
Сущность изобретения поясняется чертежами, где на фигуре 1 изображен общий вид движителя вертикального подъема, на фигуре 2 – вид на движитель вертикального подъема сверху, на фигуре 3 – вид на движитель вертикального подъема сбоку в разрезе, на фигуре 4 – общий вид диска, на фигуре 5 – вид на диск сверху, на фигуре 6 – вид на движитель вертикального подъема справа в разрезе, на фигуре 7 – вид на диск снизу, на фигуре 8 – вид на диск сбоку в разрезе, на фигуре 9 – схема создания подъемной силы на диске, на фигуре 10 – вид сбоку на кольцо инерционного движителя, на фигуре 11 – общий вид инерционного движителя, на фигуре 12 – разрез по АА фигуры 11, на фигуре 13 – устройство редуктора привода насосов и нижних дисков, на фигуре 14 – устройство насоса инерционного движителя, на фигуре 15 – схема создания подъемной силы на кольце инерционного движителя.
Движитель вертикального подъема содержит цилиндрический корпус 1, к наружной поверхности которого привернуты опоры 2 для шарнирного крепления. Внутри корпуса в его средней части установлен редуктор 5, имеющий ведомый вертикальный вал 4, нижний конец которого установлен в подшипнике 5. На вертикальном валу закреплены диски 6. Все диски одинаковы по конструкции и каждый из них имеет втулки 7, посредством которых крепится к вертикальному валу, верхнюю гладкую поверхность, а на нижней поверхности выполнены глухие каналы 8 круглого или квадратного сечения, расположенные по концентрическим окружностям в четном количестве в каждой из них. Продольная ось каждого канала установлена в направлении вращения диска под углом к плоскости, проходящей через центр вращения. Боковые противоположные поверхности каждого из каналов равны между собой в продольной и поперечной плоскостях (l=l1, l2=l3), а плоскость дна каждого из каналов параллельна верхней гладкой поверхности диска.
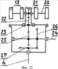
Внутри верхней части корпуса размещено несколько инерционных движителей 9, одинаковых по конструкции, выполненных в форме нескольких пустотелых колец прямоугольного сечения, прикрепленных вертикально к корпусу и соосно друг другу, продольные оси которых перпендикулярны продольной оси корпуса. Нижние половины колец 10 расширены с обеих торцевых сторон таким образом, что сечение нижних расширенных полуколец в несколько раз больше сечения верхних нерасширенных полуколец 11. Кольца имеют отверстия, закрытые пробками 12. Внутренние полости колец заполнены ртутью или жидкостью с большим удельным весом. С внутренних сторон расширенных полуколец закреплены насосы 13, по одному на каждое кольцо, внутренние полости каждого из которых соединены с внутренней полостью соответствующего расширенного полукольца. Насосы одинаковы по конструкции и каждый из них содержит корпус 14, внутри которого размещен ротор 15, центр которого смещен относительно центра корпуса, и своей наружной поверхностью ротор контактирует с внутренней поверхностью корпуса. Ротор имеет три радиальных паза 16, в которые вставлены лопасти 17, имеющие пальцы 18, входящие в профилированный паз 19, выполненный на задней стенке крышки. Роторы всех насосов закреплены на ведомом валу 20 редуктора, имеющем ведомую шестерню 21, входящую в зацепление с промежуточной шестерней 22, закрепленной на промежуточном валу 25 (О насосе см, И.И. Артоболевский, Механизмы в современной технике, т.6-7, М., Наука, Главная редакция физико-математической литературы, 1981, с.419, 5926). Ведущий вал 24 редуктора, установленный в подшипниках корпуса, свободный конец которого пропущен в отверстие корпуса движителя вертикального подъема имеет ведущую шестерню 25, входящую в зацепление с промежуточной шестерней. На ведущем валу также закреплена ведущая коническая шестерня 26, входящая в зацепление с ведомой конической шестерней 27 привода вертикального вала и дисков.
Работа движителя вертикального подъема
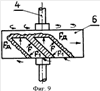
При вращении ведущего вала 24 вращается ведущая коническая шестерня 26, которая через ведомую коническую шестерню 27 приводит во вращение вертикальный вал 4 вместе о дисками 6. Во время вращения дисков 6 в направлении, указанном стрелкой на фигуре 9, воздушный поток, обтекая верхнюю гладкую поверхность дисков, создает на них разрежение, а на нижней поверхности дисков, площадь которых очень мала из-за каналов, воздушный поток из пограничного слоя поступает под динамическим напором в наклонные каналы 8, где производит давление на их боковые стенки и дно. Силы F и F1, действующие на противоположные стенки наклонных каналов, уравновешивают друг друга, а силы Fд, действующие на дно наклонных каналов 8, направлены вверх и, складываясь с силами разрежения на верхних поверхностях дисков 6, создают подъемную силу. Одновременно с ведущим валом 24 вращается ведущая шестерня 25, которая через промежуточную шестерню 22 и ведомую шестерню 21 приводит во вращение ведомый вал 20 насосов 15, которые с большой скоростью перемещают ртуть внутри колец 9, причем скорость перемещения ртути в нерасширенных полукольцах 11 в несколько раз больше скорости перемещения ртути в расширенных полукольцах 10 в связи с тем, что сечение последних в несколько раз больше сечения первых. При перемещении ртути образуются силы инерции F и F1, действующие в вертикальной плоскости, причем сила F направлена вверх, а сила F1 направлена вниз.
Силы F2 и F3, действующие в поперечной плоскости равны, направлены в противоположные стороны и уравновешивают друг друга (фиг.15). Несмотря на то что количество ртути в каждый отдельный момент в нерасширенных полукольцах 11 меньше, чем количество ртути в расширенных полукольцах 10, сила F больше силы F1 из-за большей в несколько раз скорости перемещения ртути в нерасширенных полукольцах. Сила F1 уравновешивается частью сил Fу, остальная часть сил F, складываясь с подъемной силой диcков 6, образует тягу движителя вертикального подъема. Силы F нескольких колец 9 складываются.
Примерный расчет инерционных сил движителя вертикального подъема.
Дано: Количество колец – 4
Диаметр колец – 0,5 м
Инерционная масса – ртуть
Уд. вес ртути – Y=1355 кг/м3 – 13,55 г/см3
Частота перемещения ртути n1=900 об/мин = 15 об/сек
1. Сечение нерасширенных полуколец (высота h – 1 cм, ширина l – 3 cм)
S=hl; S=1 см × 3 см = 3 см2.
2. Сечение расширенных полуколец (высота – 1 см, ширина – 9 см)
S1=hl1; S1=1 см×9 см=9 см2.
3. Длина окружности кольца.
С=2 R; С=2×3,14×0,25=1,57 м.
4. Половина длины окружности.

5. Внутренний объем нерасширенного полукольца.
; V=3 см2×78,5 см=235,5 см3
6. Внутренний объем расширенного полукольца.

V1=9 см2×78,5 см=706,5 см3
7. Масса ртути, вмещающаяся в нерасширенном полукольце.
m=VY; где V – объем нерасширенного полукольца.
m=235,5 см3×13,55 г/cм3=3191 г=3,191 кг.
8. Масса ртути, вмещающаяся в расширенном полукольце.
m1=V1Y; где V1 – объем расширенного полукольца.
m1=706,5 см3×13,55 г/cм3=9573 г=9,573 кг.
9. Угловая скорость перемещения ртути в нерасширенном полукольце.
W=2 n; где n – частота перемещения ртути в нерасширенном полукольце, которая в 3 раза больше частоты перемещения ртути в расширенном полукольце.
W=2×3,14×45 об/сек=282,6 рад/сек.
С.Э.Фриш, А.В.Тиморева Курс общей физики, т.I, Гоcиздат физико-математической литературы, М., 1961, с.39.
10. Угловая скорость перемещения ртути в расширенном полукольце.
W1=2 n1; W1=2×3,14×15 об/сек=94,2 рад/сек.
11. Линейная скорость перемещения ртути в нерасширенном полукольце.
V=WR; Там же, с.39. V=282,6 рад/сек×0,25 м=70,6 м/сек.
12. Линейная скорость перемещения ртути в расширенном полукольце.
V1=W1R; V1=92,2 рад/сек×0,25 м=23,5 м/сек.
13. Сила инерции, действующая на нерасширенное полукольцо.
 
14. Сила инерции, действующая на расширенном полукольце.
 
15. Сила тяги, создаваемая одним кольцом.
Fк=F-F1; Fк=7952,6 Н-2643,3 Н=5309,3 Н.
16. Сила тяги, создаваемая четырьмя кольцами.
Fобщ=4Fк; Fобщ=4×5309,3 Н=21237,2 Н=2123,7 кг.
17. Давление в расширенном полукольце.
;
где V1 – линейная скорость перемещения ртути в расширенном полукольце = м/сек,Y – уд. вес ртути = кг/м3, g – ускорение силы тяжести = 9,81 м/сек2; p = кг/м2. М.Д.Лемберг. Элементы гидроавтоматики, выпуск 70, Госэнергоиздат, М., Л., 1962, с.18.

18. Давление в нерасширенном полукольце (меньше в 3 раза так, скорость движения ртути в нем в 3 раза больше).
 
19. Среднее давление в кольце.
 
20. Производительность одного насоса.
Q=m+m1×n1; где m+m1 – масса ртути в одном кольце,
n1 – частота перемещения ртути в 1 секунду.
Q=3,191 кг+9,573 кг×15 об/сек=190,8 кг/сек=14,08 л/сек=844,8 л/мин.
21. Мощность насоса одного кольца.
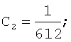
N=C2 p Q, где С2 – переводной коэффициент для выражения в кВт при Q в л/мин, р – в кгс/см2; для выражения N в л.с. 
П.П.Гринкевич. Строительные машины, изд. 3, учебник для студентов гидротехнических специальностей высших учебных заведений, М., Машиностроение, 1975, с.30.

22. Мощность четырех насосов.
Nобщ=4N; Nобщ=4×4,69 л.с.=18,76 л.с.
Движитель вертикального подъема может быть использован на летательных аппаратах, на судах с динамическим поддержанием корпуса над поверхностью воды, на транспортных средствах высокой проходимости для уменьшения давления на грунт, на автомобилях-тягачах для увеличения тяги при установке движителя вертикального подъема в горизонтальном положении.
Положительный эффект: повышение КПД, увеличение подъемной силы, более широкая область применения.
Формула изобретения
Движитель вертикального подъема, содержащий цилиндрический корпус, редуктор, установленный внутри средней части корпуса, ведомый вал которого установлен вертикально и связан с ведущим валом, нижние диски, имеющие зазор с корпусом, закреплены на ведомом валу и имеют сверху гладкую поверхность, на нижней поверхности которых выполнены глухие каналы круглого или квадратного сечения, размещенные по концентрическим окружностям в четном количестве на каждой из них, продольная ось каждого из которых установлена в направлении вращения диска под углом к плоскости, проходящей через центр вращения, при этом боковые противоположные поверхности каждого из каналов равны между собой в продольной и поперечной плоскостях, а плоскость дна каждого из каналов параллельна верхней гладкой поверхности диска, боковые втулки прикреплены к цилиндрическому корпусу для шарнирного крепления движителя вертикального подъема, отличающийся тем, что внутри верхней части цилиндрического корпуса размещено несколько инерционных движителей, одинаковых по конструкции, выполненных в форме нескольких пустотелых колец прямоугольного сечения, прикрепленных вертикально к корпусу и соосно друг другу, продольные оси которых перпендикулярны продольной оси цилиндрического корпуса, причем нижние половины колец расширены с обеих торцевых сторон таким образом, что сечение нижних расширенных полуколец в несколько раз больше сечения верхних нерасширенных полуколец, кроме того, с внутренней стороны расширенных полуколец закреплены насосы, по одному на каждое кольцо, имеющие общий вал, на котором закреплена шестерня, которая через промежуточную шестерню связана с ведущей шестерней ведущего вала редуктора, причем внутренние полости колец заполнены ртутью или жидкостью с большим удельным весом.
РИСУНКИ
|
|