|
|
(21), (22) Заявка: 2006141348/11, 21.04.2005
(24) Дата начала отсчета срока действия патента:
21.04.2005
(30) Конвенционный приоритет:
23.04.2004 US 60/564,826
(43) Дата публикации заявки: 27.05.2008
(46) Опубликовано: 20.07.2009
(56) Список документов, цитированных в отчете о поиске:
SU 1837026 A1, 30.08.1993. RU 2181678 C2, 27.04.2002. EP 0176830 A2, 09.04.1986. US 5494242 A, 27.02.1996.
(85) Дата перевода заявки PCT на национальную фазу:
23.11.2006
(86) Заявка PCT:
US 2005/013802 20050421
(87) Публикация PCT:
WO 2005/105535 20051110
Адрес для переписки:
129090, Москва, ул. Б.Спасская, 25, стр.3, ООО “Юридическая фирма Городисский и Партнеры”, пат.пов. С.А.Дорофееву, рег. 146
|
(72) Автор(ы):
ДАУЭЛЛ Джон Патрик (US), КРОУФОРД Чарльз Дэвид (US), БЬЯДЖОТТИ Маурицио (IT), ЭШТОН Майкл Ли (US), КРОТО Эдвард Арманд (US), КЕЙТАНАК Уоллес Мартинделл III (US)
(73) Патентообладатель(и):
ДЖЕНЕРАЛ ЭЛЕКТРИК КОМПАНИ (US)
|
(54) УСТРОЙСТВО СИЛОВОГО СТРЕЛОЧНОГО ПРИВОДА
(57) Реферат:
Изобретение относится к области железнодорожного транспорта и предназначено для перемещения стрелочных остряков на железнодорожной колее. Устройство содержит исполнительный механизм, приводимый в действие с помощью электродвигателя. С электродвигателем связан подвижный блок, перемещающийся по приводному винту для позиционирования стрелочных остряков. Концевой упор на приводном винте служит для ограничения перемещения подвижного блока. Пусковая рукоятка предназначена для вращения вручную приводного винта и связана с ним через ограничивающее крутящий момент сцепление. Технический результат заключается в обеспечении прочности и повышении надежности работы устройства. 2 з.п. ф-лы, 1 ил.
Область техники
Данное изобретение относится к области оборудования, используемого для перемещения стрелочных остряков на железнодорожной линии с целью направления движения железнодорожного транспортного средства по одному или другому пути.
Уровень техники
Там, где два пути железнодорожной линии объединяются в один путь, необходимо иметь переключательный механизм для выбора, какой их двух соединяющихся путей следует выравнивать с единственным путем для желаемой маршрутизации рельсовых транспортных средств. Такой переключательный механизм осуществляет это посредством перемещения пары рельсовых концов, называемых стрелочными остряками, так что два рельса единственного пути находятся на одной линии с двумя рельсами одного или другого из двух соединяющихся путей. Переключательный механизм можно приводить в действие с помощью реверсивного электродвигателя, который линейно перемещает тягу рычажной передачи или толкатель в направлении, поперечном рельсам пути, для перемещения стрелочных остряков. Вращательное движение вала электродвигателя можно преобразовывать в это линейное перемещение толкателя посредством вращения винтового элемента, по которому перемещается подвижная гайка или подобный блок. При линейном перемещении подвижной гайки или блока по винтовому элементу она перемещает толкатель для перемещения стрелочных остряков. Дополнительно к перемещению стрелочных остряков подвижная гайка часто содержит механизм для отключения электродвигателя в конечных точках своего перемещения или для реверсирования направления электродвигателя в этих концевых точках.
Дополнительно к электродвигателю может быть предусмотрено ручное или аварийное средство для перемещения стрелочных остряков в случае выхода из строя электродвигателя или отключения электропитания. Одним типом ручного механизма для осуществления аварийной операции переключения является пусковая рукоятка, установленная на узле электродвигателя. Пусковая рукоятка может приводить в действие винтовой элемент для линейного перемещения подвижной гайки по винтовому элементу.
Такой переключательный механизм должен иметь прочные компоненты, расположенные в крепкой конструкции для выдерживания тяжелых нагрузок, вызываемых рельсами, и сопровождающей вибрации, а также для работы в грязных, мокрых условиях, обычно встречающихся на железнодорожных путях. Обычно требуются значительные силы для перемещения стрелочных остряков, и переключательный механизм должен надежно создавать эти силы без выхода из строя.
Краткое описание изобретения
Данное изобретение включает в себя в качестве примера переключательный механизм, который содержит реверсивный электродвигатель, приводящий в действие нарезной винт через зубчатую передачу. Нарезной винт может быть приводом шарикового типа, в котором резьба винта имеет контур, предназначенный для размещения множества шариков внутри подвижного блока. Положение шариков ограничено внутри подвижного блока, и блок ограничен направляющей поверхностью для перемещения лишь линейно, параллельно винту. При вращении шарикового приводного винта шарики вращаются внутри подвижного блока и катятся по резьбе винта. Поскольку подвижный блок вынужден перемещаться лишь линейно, параллельно винту, то шарики перемещаются линейно вдоль винта и толкают подвижный блок вместе с ними.
Подвижный блок соединен с толкателем, который, в свою очередь, соединен со стрелочными остряками. При линейном перемещении подвижного блока по шариковому приводному винту толкатель линейно движется для перемещения стрелочных остряков. При достижении подвижным блоком одной из концевых точек своего перемещения по шариковому приводному винту он приходит в соприкосновение с электрическим концевым выключателем. Соприкосновение между подвижным блоком и электрическим концевым выключателем приводит в действие электрический концевой выключатель для выключения электродвигателя или реверсирования движения электродвигателя, или же к тому и другому. При приведении в действие электрического концевого выключателя вращение шарикового приводного винта останавливается или реверсируется, предотвращая прохождение подвижного блока за желаемые конечные точки его движения. Механический концевой упор установлен на шариковом приводном винте для физической остановки движения подвижного блока в точке, слегка за желаемой конечной точкой, в случае, если приведение в действие электрического концевого выключателя по каким-нибудь причинам не приведет к остановке или реверсированию электродвигателя. Концевой упор может быть установлен на шариковом приводном винте с помощью зажима, имеющего направление резьбы, противоположное направлению резьбы шарикового приводного винта, что исключает возможность развинчивания зажима за счет трения между подвижным блоком, концевым упором и зажимом.
Пусковая рукоятка установлена на узле электродвигателя для оптимального приведения в действие вручную устройства железнодорожного силового стрелочного привода. Пусковая рукоятка вращает вал, который приводит в движение коническое зубчатое колесо, находящееся в зацеплении с зубчатой передачей, через которую электродвигатель приводит в действие шариковый приводной винт. В случае выхода из строя электродвигателя оператор может вращать пусковую рукоятку вручную для перемещения стрелочных остряков и создания вручную пути для изменения маршрута железнодорожного транспортного средства. Поскольку электрический концевой выключатель не влияет на работу пусковой рукоятки, желательно исключить перемещение оператором вручную подвижного блока до концевого упора с достаточной для повреждения механизма силой. Поэтому в вал пусковой рукоятки включен ограничивающий крутящий момент механизм сцепления между рукояткой и коническим зубчатым колесом. Этот механизм сцепления установлен с возможностью проскальзывания при заданном уровне крутящего момента для предотвращения перемещения подвижного блока к концевому упору с силой, превышающей заданный уровень силы.
Краткое описание чертежа
Для лучшего понимания новых признаков изобретения, а также самого изобретения ниже приводится его подробное описание со ссылкой на прилагаемый чертеж, на котором изображен схематичный вид механизма управления устройством железнодорожного силового стрелочного привода согласно изобретению.
Подробное описание изобретения
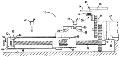
Как показано на чертеже, устройство 10 согласно настоящему изобретению включает в себя приводной винт 12, подвижный блок 14, установленный на приводной винт 12, и толкатель 16, соединенный с подвижным блоком 14, при этом все эти элементы установлены внутри корпуса Н. Множество приводных шариков 18 удерживаются внутри подвижного блока 14 и предназначены для перемещения по резьбе приводного винта 12. Отключающий рычаг 20 установлен на подвижном блоке 14, при этом в отключающем рычаге 20 образованы кулачковые прорези 26, 28. Кулачковые прорези 26, 28 находятся на одной линии с двумя электрическими концевыми выключателями 22, 24. Как показано на чертеже, правый концевой выключатель 24 находится внутри правой кулачковой прорези 28. На конце толкателя 16 образован приводной фитинг 30 для соединения со сдвигающим и блокирующим механизмом (не показан) устройства железнодорожного силового стрелочного привода и в конечном итоге со стрелочными остряками (не показаны).
Реверсивный электродвигатель 32 также установлен внутри корпуса Н и соединен с зубчатой передачей 34, которая приводит в движение приводной винт 12. Электродвигатель 32 опирается на корпус Н или кронштейн внутри корпуса, а также может дополнительно опираться на консольный опорный блок 36, с которым электродвигатель 32 соединен с помощью установочной скобы 38. Как показано на чертеже, опорный блок 36 может быть ориентирован с возможностью опоры приводного конца электродвигателя 32, или же может быть ориентирован в направлении другого конца электродвигателя 32 в зависимости от того, какой конец электродвигателя 32 опирается на корпус Н. Такая опора электродвигателя 32 на обоих концах может предотвращать возникновение за счет крутящего момента электродвигателя несоосности с зубчатой передачей 34 и вызываемой этим неправильной работы. Управляющий контур электродвигателя 32 содержит концевые выключатели 22, 24.
Подвижный блок 14 показан на фиг.1 в своем самом правом положении. Самое левое положение подвижного блока 14 показано пунктирной линией вблизи левого конца приводного винта 12. Можно видеть, что при вращении приводного винта 12 электродвигателем 32 подвижный блок 14 будет перемещаться влево, пока левый концевой выключатель 22 не войдет в левую кулачковую прорезь 26 и переместится к верхнему концу кулачковой прорези 26. При перемещении подвижного блока 14 толкатель 16 перемещается вместе с ним влево. В этой точке левый концевой выключатель 22 выключает электродвигатель 32 и останавливает подвижный блок 14 в положении, показанном пунктирной линией. Левый концевой выключатель 22 можно использовать также для реверсирования направления вращения электродвигателя 32, так что при следующем включении электродвигателя 32 он будет вращать приводной винт 12 в противоположном направлении.
На левом конце приводного винта 12 предусмотрен концевой упор 40 для физической остановки при необходимости перемещения влево подвижного блока 14 с целью предотвращения полного свинчивания подвижного блока 14 с конца приводного винта 12. Этот концевой упор 40 особенно необходим в случае приведения вручную в действие устройства 10, поскольку в этом случае левый концевой выключатель 22 не вызывает остановку перемещения влево подвижного блока 14. Концевой упор может быть диском или шайбой, удерживаемой держателем, таким как стопорная гайка 42, навинченная на конец приводного винта 12. Гайка 42 может иметь направление резьбы, противоположное направлению резьбы приводного винта 12, для предотвращения отвинчивания стопорной гайки 42 за счет трения между подвижным блоком 14 и концевым упором 40. Между подвижным блоком 14 и концевым упором 40 может быть предусмотрена шайба 44 из относительно мягкого материала с небольшим трением, такого как пластмасса, для дополнительного предотвращения ослабления стопорной гайки 42 или повреждения концевого упора 40.
Приведение в действие вручную устройства 10 возможно с помощью пусковой рукоятки 46, которая вращает вал 48 пусковой рукоятки, выборочно вращающий зубчатую передачу 34 для приведения в движение приводного винта 12. Пусковая рукоятка 46 находится снаружи корпуса Н, за счет чего она доступна для оператора, при этом вал 48 проходит через корпус Н. Пусковая рукоятка 46 может содержать храповой механизм, известный из уровня техники, или же рукоятка 46 может быть колесом или другим приводимым в действие вручную устройством. Как показано на чертеже, вал 48 вращает зубчатую передачу 34 за счет зацепления с комплектом 50 конических зубчатых колес, хотя приводное соединение между валом 48 и приводным винтом 12 можно осуществлять с помощью любого средства, известного из уровня техники.
Можно видеть, что если по какой-нибудь причине электродвигатель 32 не может вращать приводной винт 12, то приводной винт 12 можно выборочно приводить в действие вручную посредством вращения пусковой рукоятки 46. Как указывалось выше, во время управления вручную оператор может перемещать подвижный блок 14 по всему пути до концевого упора 40. В действительности, в зависимости от конструкции зубчатой передачи 34 оператор может непреднамеренно перегрузить механизм и повредить концевой упор 40 и даже приводной винт 12. Приводной винт 12 может быть предназначен, например, для максимального растягивающего напряжения около 8900 фунтов, а пусковая рукоятка может быть способна создавать значительно большее напряжение в приводном винте. Поэтому на валу 48 пусковой рукоятки предусмотрено ограничивающее крутящий момент сцепление 52 для ограничения крутящего момента, который оператор может прикладывать к зубчатой передаче 34 и, в свою очередь, к приводному винту 12 для создания, например, максимального напряжения в 7000 фунт в приводном винте. То есть, при увеличении прикладываемого к сцеплению 52 крутящего момента выше выбранного уровня сцепление 52 начинает проскальзывать, что ограничивает прикладываемый крутящий момент до уровня ниже уровня, который может вызывать повреждение остального механизма.
Хотя показанный и подробно раскрытый частный вариант выполнения изобретения полностью обеспечивает достижение указанных выше целей, следует понимать, что это раскрытие лишь иллюстрирует предпочтительные варианты осуществления изобретения.
Формула изобретения
1. Механизм управления для устройства железнодорожного силового стрелочного привода, содержащий: электродвигатель, приводной винт, выборочно приводимый в действие электродвигателем, пусковую рукоятку, выполненную с возможностью выборочного привода приводного винта, подвижный блок на приводном винте, соединенный с, по меньшей мере, одним толкателем для изменения положения, по меньшей мере, одного стрелочного остряка, по меньшей мере, один концевой выключатель, выполненный с возможностью контакта с подвижным блоком в выбранной точке его перемещения, для выполнения переключения электродвигателя, концевой упор, установленный на приводном винте, для ограничения перемещения подвижного блока за, по меньшей мере, один концевой выключатель, и ограничивающее крутящий момент сцепление, соединенное с пусковой рукояткой и выполненное с возможностью ограничения крутящего момента, прикладываемого к приводному винту пусковой рукояткой, когда подвижный блок упирается в концевой упор.
2. Механизм управления по п.1, дополнительно содержащий стопорную гайку, навинченную на приводной винт и предназначенную для удерживания концевого упора на приводном винте.
3. Механизм управления по п.2, в котором стопорная гайка нарезана в направлении, противоположном направлению нарезки приводного винта.
РИСУНКИ
|
|