|
|
(21), (22) Заявка: 2008104744/11, 07.02.2008
(24) Дата начала отсчета срока действия патента:
07.02.2008
(46) Опубликовано: 20.07.2009
(56) Список документов, цитированных в отчете о поиске:
SU 740578 А1, 15.06.1980. SU 818927 А1, 07.04.1981. RU 2233223 С1, 27.07.2004. JP 3197271 А, 28.08.1991.
Адрес для переписки:
344038, г.Ростов-на-Дону, пл. Полка народного ополчения, 2, РГУПС, НИЧ
|
(72) Автор(ы):
Балон Леонид Вениаминович (RU), Соломин Владимир Александрович (RU), Риполь-Сарагоси Леонид Францискович (RU)
(73) Патентообладатель(и):
Балон Леонид Вениаминович (RU), Соломин Владимир Александрович (RU), Риполь-Сарагоси Леонид Францискович (RU)
|
(54) ЭЛЕКТРОМАГНИТНЫЙ РЕЛЬСОВЫЙ ТОРМОЗ
(57) Реферат:
Изобретение относится к области железнодорожного транспорта. Электромагнитный тормоз содержит магнитопровод, образованный двумя Г-образными сердечниками, имеющими зазор между ярмами. На ярмах сердечников размещена катушка обмотки. Сердечники снабжены полюсными наконечниками. На полюсных наконечниках установлены камеры из немагнитного материала, например полистирола высокого давления, внутри которых одна над другой размещены «n» капсул, заполненных ферромагнитной жидкостью, «n», по меньшей мере, равно единице. Технический результат заключается в повышении плавности и эффективности торможения. 1 ил.
Изобретение относится к области железнодорожного транспорта, а более точно – к тормозным устройствам подвижного состава.
Известны электромагнитные рельсовые тормоза (ЭМРТ), содержащие магнитопроводы, каждый из которых образован двумя сердечниками, имеющими зазоры между ярмами, и катушки обмоток, охватывающие ярма сердечников, при этом сердечники снабжены полюсными накопителями (см. а.с. СССР 334108, МПК В61Н 7/08, 1969 и а.с. СССР 518404, МПК В61Н 7/08, 1975 г.).
Невозможность плавного торможения – недостаток данных ЭМРТ.
Наиболее близким по своей технической сущности к заявляемому является электромагнитный рельсовый тормоз, содержащий магнитопроводы, образованные Г-образными сердечниками, имеющими зазор между ярмами, и катушку обмотки, охватывающую ярма сердечников, при этом сердечники снабжены полюсными накопителями, прикрепленными к ним, например, при помощи болтов (см. а.с. СССР 740578, МПК В61Н 7/08, 1980 г.). Этот ЭМРТ выбран в качестве прототипа.
Невозможность реализации плавного торможения поезда – недостаток прототипа.
Технической задачей настоящего изобретения является устранение отмеченного недостатка в разработанной конструкции ЭМРТ.
Решение технической задачи достигается тем, что в электромагнитном рельсовом тормозе, содержащем магнитопроводы, образованные двумя Г-образными сердечниками, имеющими зазор между ярмами, и катушку обмотки, охватывающую ярма сердечников, при этом сердечники снабжены полюсными наконечниками, прикрепленными к ним, например, при помощи болтов, согласно изобретению на полюсных наконечниках установлены камеры из немагнитного материала, например полистирола высокого давления, внутри которых размещены одна над другой «n» капсул, заполненных ферромагнитной жидкостью, причем «n», по меньшей мере, равно единице.
Установка камер из немагнитного материала, внутри которых размещены «n» капсул, заполненных ферромагнитной жидкостью, причем «n», по меньшей мере, равно единице – эти признаки составляют новизну технического решения.
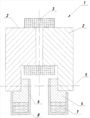
В дальнейшем изобретение поясняется примером его конкретного выполнения со ссылками на прилагаемый чертеж, на котором изображен общий вид электромагнитного рельсового тормоза (поперечное сечение).
Электромагнитный рельсовый тормоз 1 (см. чертеж) содержит магнитопроводы, образованные двумя Г-образными сердечниками 2, имеющими зазор между ярмами. Катушка 3 обмотки охватывает ярма Г-образных сердечников 2. Сердечники 2 снабжены полюсными наконечниками 4, прикрепленными к сердечникам, например, при помощи болтов 5 (обозначенных схематично штрихпунктирной линией). На полюсных наконечниках 4 установлены камеры 6 из немагнитного материала, например из полистирола высокого давления, внутри которых размещены одна над другой «n» капсул 7, заполненных ферромагнитной жидкостью 8, причем «n», по меньшей мере, равно единице. В конкретном случае, соответствующем конструкции ЭМРТ, «n» равно трем.
Рассмотрим принцип работы заявляемого электромагнитного рельсового тормоза.
Установка камер 6 с размещенными внутри них капсул 7 с ферромагнитной жидкостью 8 позволяет уменьшить воздушный зазор (расстояние) между рельсами железнодорожного полотна и ЭМРТ. При торможении поезда при помощи колодок одновременно (без опускания ЭМРТ на рельс) подключают катушку 3 обмотки ЭМРТ к источнику постоянного напряжения. При этом по катушке 3 обмотки потечет постоянный ток, который создаст магнитный поток, который, проходя через полюсные накопители 4 и камеры 6 с капсулами 7 с ферромагнитной жидкостью (ферромагнитная жидкость является хорошим проводником магнитного потока) и через небольшой воздушный зазор, будет пересекать и стальной рельс и индуктировать в нем электродвижущие силы и вихревые токи. При взаимодействии постоянного магнитного потока с вихревыми токами в рельсе будут создаваться тормозные усилия. Это тормозное усилие будет тем большим, чем выше скорость движения поезда. Созданное усилие торможения добавляется к тормозным усилиям, развиваемым при нажатии тормозных колодок на колеса. Величина созданного дополнительного тормозного усилия может регулироваться изменением величины тока в катушках обмотки ЭМРТ. В данном случае ЭМРТ работает в режиме вихревого тормоза. При снижении скорости поезда до некоторого значения ЭМРТ опускается на рельсы. Ферромагнитная жидкость 8 в капсулах 7 твердеет при прохождении через нее магнитного потока. Однако твердость ферромагнитной жидкости меньше твердости стали полюсных наконечников, поэтому после того, как протрется нижняя часть камеры 6, по рельсу будет скользить, постепенно стираясь, слой затвердевшей ферромагнитной жидкости и торможение будет более плавным, чем при нажатии на рельс непосредственно стальными полюсными наконечниками. Таким образом, достигается повышение плавности торможения высокоскоростных поездов. Камеры 6 при организации высокоскоростного движения поездов будут заменяться на конечных станциях.
По сравнению с прототипом достигнуто повышение плавности и эффективности торможения высокоскоростных поездов.
Формула изобретения
Электромагнитный рельсовый тормоз, содержащий магнитопроводы, образованные двумя Г-образными сердечниками, имеющими зазор между ярмами, и катушку обмотки, охватывающую ярма сердечников, при этом сердечники снабжены полюсными наконечниками, прикрепленными к ним, например, при помощи болтов, отличающийся тем, что на полюсных наконечниках установлены камеры из немагнитного материала, например из полистирола высокого давления, внутри которых размещены одна над другой «n» капсул, заполненных ферромагнитной жидкостью, причем «n», по меньшей мере, равно единице.
РИСУНКИ
|
|