|
|
(21), (22) Заявка: 2006121428/11, 11.05.2005
(24) Дата начала отсчета срока действия патента:
11.05.2005
(30) Конвенционный приоритет:
28.05.2004 US 10/856,652
(43) Дата публикации заявки: 27.12.2007
(46) Опубликовано: 20.07.2009
(56) Список документов, цитированных в отчете о поиске:
US 2003/0205306 А1, 06.11.2003. US 4305446 A, 15.12.1981. US 4230169 A, 28.10.1980. SU 1750981 A1, 30.07.1992.
(85) Дата перевода заявки PCT на национальную фазу:
16.06.2006
(86) Заявка PCT:
US 2005/016408 20050511
(87) Публикация PCT:
WO 2005/118315 20051215
Адрес для переписки:
129090, Москва, ул. Б.Спасская, 25, стр.3, ООО “Юридическая фирма Городисский и Партнеры”, пат.пов. С.А.Дорофееву, рег. 146
|
(72) Автор(ы):
СТЕЙНКЕ Ричард А. (US)
(73) Патентообладатель(и):
СТЕЙНКЕ Ричард А. (US)
|
(54) ЭЛАСТОМЕРНАЯ ШИНА С АРКООБРАЗНЫМИ ПЛЕЧЕВЫМИ ЗОНАМИ
(57) Реферат:
Изобретение относится к непневматическим шинам для транспортных средств. Эластомерная шина с аркообразными плечевыми зонами для установки на обод изготовлена способами центробежного литья или формования, содержит кольцевую полость, сцентрированную под протектором шины, имеет одинаковую толщину боковых стенок и участка под протектором, которые наклонены наружу и переходят в плечевые зоны, в месте пересечения которых с боковыми стенками толщина увеличена. Нижние концы боковых стенок включают в себя борта, каждый из которых отстоит на выбранное расстояние от поверхности концов боковых стенок, которые наклонены вверх от внутренней к внешней поверхности. Шина предпочтительно содержит слои, проходящие поперек шины и концы которых обернуты вокруг бортов, и брекеры, установленные по окружности шины над слоями. Шина содержит пористые прокладки, установленные между слоями и брекерами для пропускания потока эластомерного материала при формовании шины. В результате повышается безопасность колеса. 7 з.п. ф-лы, 13 ил.
Область техники
Настоящее изобретение относится к непневматическим шинам, устанавливаемым на обод в качестве компонента колеса, и, в частности, к шине, сформированной, предпочтительно, способами центробежного литья из эластомерного материала и имеющей центральную кольцевую полость, образованную для придания шине способности поддерживать расчетную нагрузку при атмосферном давлении.
Уровень техники
Настоящее изобретение представляет собой новую транспортную шину, имеющую простую конструкцию и являющуюся существенным усовершенствованием в области производства шин для легковых транспортных средств. Шина согласно настоящему изобретению при низкой пневматизации обладает такими же или лучшими беговыми характеристиками и износостойкостью, что и обычные пневматические шины, предназначенные для таких же задач, что и шина согласно настоящему изобретению. Шина согласно настоящему изобретению обладает собственной грузоподъемностью даже без воздуха, а при низком давлении воздуха обеспечивает грузоподъемность, эквивалентную грузоподъемности полностью накачанной пневматической шины такого же размера. Как с воздухом, так и без воздуха шина согласно настоящему изобретению создает грузоподъемную опору для транспортного средства, на котором она установлена, на значительном расстоянии при движении со скоростью 50 миль/час и выше, позволяя водителю доехать до сервисной станции.
Эластомерные сплошные, не содержащие полости, непневматические шины использовались очень давно, еще с 1878 года, как указано в патенте Великобритании 2367, где описана сплошная резиновая шина и обод. Даже если такие резиновые шины выполняли с внутренними полостями, как описано в патентах США  450816 и 464767, в них не учитывалось отношения между толщинами внутренней и внешней стенок шины и плечевых зон шины и между толщиной плечевых зон шины и толщиной беговой дорожки под протектором, как это делается согласно настоящему изобретению, для поддержки разных нагрузок. Внешние поверхности полостей некоторых колес согласно патенту US 464767 показаны имеющими равномерную толщину, в отличие от настоящего изобретения, где боковые стенки, плечевые зоны и участки под протектором имеют конкретные соотношения толщин, при этом участки шины над бортами предназначены для зацепления с верхними кромками обода. Хотя в патентах США  612583, 684157 и 1670466 описаны сплошные шины, имеющие полости, полости согласно этим патентам являются круглыми или близкими к круглым и в этих патентах не упоминается такое соотношение ни для одного из вариантов, где боковые стенки поддерживаются кромками обода, как это предусмотрено в настоящем изобретении. Далее, хотя в патенте США 1014318 на фиг.1 показана шина с аркообразной полостью, в которой концы боковых стенок удерживаются между крюкообразными концами обода, этот патент относится только к конфигурации обода и не описывает отношение грузоподъемности к соотношению между толщиной внутренней и внешней стенок, плечевых зон и участка, расположенного под протектором. Наконец, хотя в патентах США  394830, 5524913, 5988764, 6145937, 6186598 и 6318428 показаны полости в колесах, эти патенты относятся к креплению шины на обод или, как патент США 2779380, к бескамерной шине, патент 3329192 – к поперечинам для установки шин, а патент 6279631 – к шине низкого давления, и в этих патентах не обсуждается грузоподъемность узлов шины и колеса в привязке к внутренней полости уникальной формы. Только согласно настоящему изобретению учитывается грузоподъемность эластомерной шины с кольцевой полостью уникальной формы и с боковыми стенками, расположенными над герметизированными бортами, которые поддерживаются кромками обода для обеспечения грузоподъемности при низком давлении воздуха, подобной грузоподъемности обычной полностью накачанной пневматической шины. Шина согласно настоящему изобретению будет сохранять грузоподъемность для безопасной поддержки транспортного средства даже при атмосферном давлении на значительном расстоянии при скорости 50 миль/час и выше.
К более поздним патентам, в которых описаны непневматическая шина и комбинация шины и обода, относятся, например, патенты Великобритании  3432, 20186 и 27224, патенты Франции  338920 и 367981 и патенты США  1056976, 1178887, 3533662 и 5229047. Однако в этих патентах не раскрыта шина с кольцевой полостью, как раскрыта согласно настоящему изобретению. Далее, непневматические шины, не содержащие центральную полость, раскрыты в патентах США  4855096, 4943323, 5906836 и 6165397, выданных на имя Заявителя настоящей заявки. Кроме того, непневматическая шина согласно патентной заявке США 10/412471, поданной 9 апреля 2003 года, также не содержит уникальной аркообразной полости, т.е. такой, как описано согласно настоящему изобретению. Дополнительно, непневматические шины, содержащие внутренние полости неаркообразной формы известны из более ранних патентов Великобритании  11800 и 14997 и из более ранних патентов США  1194177 и 1670721. Эти полости предназначены для обеспечения возможности сжатия боковых стенок шины и участков бортов, чтобы шину можно было надеть на обод, и для амортизации, и такие полости создавали грузоподъемность шины, как показано в ранних патентах США  1004480 и 1004481, при этом они не были литыми шинами, в отличие от шин согласно настоящему изобретению. Ни одна из этих сплошных непневматических шин не содержит кольцевую полость уникальной формы, которая придает шине грузоподъемность, определяемую толщиной стенки, как в настоящем изобретении. Также шины, описанные в патентах США  1707014, 1940077 и 3888291, не обеспечивают грузоподъемность при снижении давления в шине до приблизительно атмосферного, как в шине по настоящему изобретению.
Непневматические шины, разумеется, хорошо известны, описаны, например, в некоторых из вышеприведенных патентах и обладают преимуществом, которое заключается в том, что они не спускаются. Однако до сих пор это преимущество не перевешивало лучшие амортизирующие и ударопоглощающие характеристики, которыми обладают пневматические шины и, кроме того, сплошные шины, независимо от материала, из которого они выполнены (резины, полиуретана и т.п.), имеют тенденцию к накоплению теплоты из-за гистерезисного изгиба при поддержке существенной нагрузки. Пневматические шины обычно имеют меньшую массу, чем сравнимые непневматические шины, и их внутренняя полость способствует рассеиванию теплоты. Шина согласно настоящему изобретению предпочтительно выполнена способами центробежного литья для получения кольцевой полости уникальной формы, которая, в зависимости от конфигурации обода, может удерживать воздух и, соответственно, как и пневматическая шина с ее открытой внутренней полостью, не испытывает приводящего к повреждениям нагрева при существенных нагрузках.
Полость уникальной формы согласно настоящему изобретению позволяет создать шину, которая равномерно передает нагрузку от протектора через плечевые зоны и боковые стенки на обод, на котором установлена шина. Нагрузка, которую выдерживает надутая до низкого давления шина, определяется шириной или толщиной шины от места соединения стенок с ободом до каждой из плечевых зон и участка под протектором, причем при необходимости поддержки большей нагрузки эту толщину можно равномерно увеличить, и, если шина не проколота, ее можно надуть до большего давления. Если из шины выйдет воздух, она все равно будет выдерживать расчетную нагрузку в течение существенного расстояния на скорости, по меньшей мере, 50 миль/час и выше. Кроме того, хотя для некоторых задач этого и не требуется, шина согласно настоящему изобретению предпочтительно содержит борта для удержания ее на ободе и для использования ее в качестве транспортной шины, которая может содержать слои боковой стенки и усилитель протектора с брекером или брекерами, которые могут быть внедрены в шину в процессе производства.
Краткое описание изобретения
Главной целью настоящего изобретения является создание эластомерной шины, сформированной способами литья, предпочтительно, центробежного литья, способной поддерживать транспортное средство при низком давлении воздуха и сохранять безопасную поддержку такой нагрузки на значительном расстоянии при скорости пятьдесят миль в час и более.
Другой целью настоящего изобретения является создание эластомерной шины, сформированной способами литья, предпочтительно, центробежного литья, содержащей кольцевую полость уникальной формы, где полость расположена по центру под протектором шины для придания конструкционной прочности, содержащей боковые стенки и участок под протектором одинаковой толщины и имеющей увеличенную толщину плечевой зоны, при этом шина поддерживает и безопасно передает нагрузку от протектора через боковые стенки на обод и поддерживает нагрузку при низком давлении воздуха в кольцевой камере, которое равно атмосферному, причем шина сохраняет безопасную поддержку расчетной нагрузки на значительном расстоянии при скорости пятьдесят миль в час и более.
Другой целью настоящего изобретения является создание эластомерной шины, имеющей центральную кольцевую полость, где боковые стенки шины имеют равномерную толщину, при этом полость сужается наружу от первой толщины до второй толщины на плечевой зоне шины, при этом кольцевая полость затем сужается внутрь на кривой, соединяющей плечевую зону с участком под протектором обратно до первой толщины, которая сохраняется поперек шины под протектором.
Еще одной целью настоящего изобретения является создание эластомерной шины с кольцевой полостью, где боковые стенки шины и участок шины под протектором имеют одинаковую равномерную толщину и где эта толщина увеличивается на кривой, соединяющей его с плечевыми зонами до второй толщины, которая равномерна на каждой плечевой зоне, и где первая и вторая толщины выбраны для ожидаемой расчетной нагрузки шины.
Еще одной целью настоящего изобретения является создание эластомерной шины, которая предпочтительно выполнена способами литья, предпочтительно, центробежного литья, в некотором диапазоне размеров, с неупругими бортами, заделанными в концы боковых стенок, зацепляющиеся с ободом для придания шине собственной прочности в ненадутом состоянии, которая определяется толщиной боковых стенок и участка под протектором, при этом толщина на плечевых зонах шины поддерживает нагрузку на шину, которая, когда ее надувают до низкого давления, повторяет или превышает характеристики пневматической транспортной шины, предназначенной для поддержания такой же нагрузки.
Еще одной целью настоящего изобретения является создание шины, в которой борта заделаны в концы боковых стенок, зацепляющиеся с ободом, и характеристики собственной грузоподъемности которой можно улучшить за счет включения слоев или брекеров, которые помещают в пресс-форму для шины и вводят в шину при ее отливке.
Еще одной целью настоящего изобретения является создание слоев и брекеров, выполненных из вискозной нити или хлопкового корда, которые удерживаются в разнесенном друг от друга положении на поверхности оправки пресс-формы полости для размещения вокруг них в процессе отливки потока, охватывающего слои, брекеры и борта в готовой шине.
Настоящее изобретение является уникальной эластомерной шиной, сформированной способами литья, предпочтительно, центробежного литья, или согласно процессам, описанным в патентах США  4855096, 4943323, 5906836 и 6165397, и по усовершенствованиям к этим процессам, пригодным для получения шины согласно настоящему изобретению. Форма для такого процесса центробежного литья может содержать комплект бортов, слоев и брекера или брекеров, которые удерживаются в форме, в которую поступает поток уретанового материала, в то время как форма вращается, формируя шину, содержащую борта, слои и брекеры. Сформированная шина имеет кольцевую полость, где боковые стенки и участок под протектором имеют одинаковую толщину, и толщина которой увеличивается на криволинейном пересечении боковых стенок с участком под протектором, или на плечевых зонах. На практике было обнаружено, что если в готовой шине боковая стенка и участок под протектором имеют толщину приблизительно 0,7 дюйма, а толщина плечевой зоны составляет приблизительно 0,8 дюйма, то такая шина выдерживает нагрузку 1200 фунтов, направленную в центр протектора. Если толщину боковой стенки и участка под протектором увеличить на 0,125 дюйма до толщины 0,825 дюйма и 0,925 дюйма соответственно, то шина сможет выдерживать нагрузку в 2000 фунтов, направленную в центр протектора, а увеличение толщины боковых стенок еще на 0,1 дюйма и увеличение толщины плечевых зон на 0,075-0,1 дюйма до полной толщины 0,925 дюйма и 1-1,025 дюйма соответственно, позволяет поддерживать нагрузку, приблизительно равную 3000 фунтам, направленную в центр протектора.
Шина согласно настоящему изобретению предпочтительно содержит пару кольцевых бортов, каждый из которых введен в конец стенки, сцепляющейся с ободом, который сужается внутрь от участка, зацепляющегося с крюковидным концом обода, образуя полку, которая сцепляется с верхней частью обода, поддерживая боковые стенки шины. Нижние концы боковых стенок сформированы для посадки на обод, образуя уплотнение, препятствующее выходу воздуха. На практике шина, изготовленная с бортами, установленная на ободе и накачанная до низкого давления от пятнадцати до двадцати фунтов на кв. дюйм, обладает беговыми характеристиками и износостойкостью такими же или лучшими, что и обычная пневматическая шина, при этом ее можно накачивать до более высокого давления, в зависимости от нагрузки. Если произойдет падение давления, шина сохранит расчетную грузоподъемность на существенном расстоянии до ста миль и более при скорости движения около пятидесяти миль в час и выше. Разумеется, шина также может содержать слои и один или более брекеров, которые повышают ее нагрузочную прочность. Такие слои и брекер или брекеры на практике позволяют уменьшить толщину боковых стенок, участка под протектором и толщину плечевых зон, не снижая грузоподъемности шины.
Другие признаки и преимущества настоящего изобретения будут очевидны специалистам в данной области техники из нижеприведенного подробного описания настоящего изобретения.
Краткое описание чертежей
Настоящее изобретение может принимать физическую форму определенных деталей или расположения деталей и ниже следует подробное описание предпочтительных вариантов осуществления изобретения со ссылкой на прилагаемые чертежи, на которых:
Фиг.1 – вид в перспективе справа сзади спортивного автомобиля, на котором установлена шина согласно настоящему изобретению;
Фиг.2 – вид в перспективе сбоку сверху задней шины
спортивного автомобиля с фиг.1;
Фиг.3А – вид в сечении шины согласно настоящему
изобретению по линии 3А-3А с фиг.2, на котором стрелкой Т1
показана толщина боковой стенки, а стрелкой Т2 показана толщина
плечевых зон шины;
Фиг.3В – вид, подобный виду с фиг.3А, на котором большая стрелка А указывает силу 1200 фунтов, приложенную к центру участка протектора шины;
Фиг.3С – вид, подобный виду с фиг.3В, на котором большая стрелка В указывает силу 2000 фунтов, приложенную к центру участка протектора шины;
Фиг.3D – вид, подобный виду с фиг.3А, на котором большая стрелка С указывает силу 3000 фунтов, приложенную к центру участка протектора шины;
Фиг.4 – вид, подобный виду с фиг.3С, на котором толщина Т1 и Т2 увеличена на 0,125 дюйма, что приводит к спрямлению кривой, образованной силой по стрелке В, направленной в центр участка протектора;
Фиг.5 – вид, подобный виду с фиг.3D, на котором толщина Т1 и Т2 увеличена на 0,225 дюйма, что приводит к спрямлению кривой, образованной силой по стрелке С, направленной в центр участка протектора;
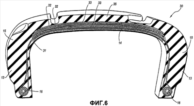
Фиг.6 – вид в сечении в увеличенном масштабе шины с фиг.1, на котором заштрихован участок, образуемый из эластомерного материала, и на котором показаны слои, брекеры и прокладки, установленные между слоями и брекерами, при этом на верхней части шины имеется протектор;
Фиг.7 – вид сверху протектора шины с фиг.6;
Фиг.8 – диаграмма сравнения толщины боковой стенки шины с нагрузкой на шину;
Фиг.9 – вид в сечении в увеличенном масштабе борта шины согласно фиг.6, установленного в монтажный ручей обода; и
Фиг.10 – вид в сечении с разнесением деталей шины с фиг.6.
Подробное описание настоящего изобретения
Автомобильная шина 10 согласно настоящему изобретению на фиг.2 показана установленной на ободе 12 заднего колеса спортивного автомобиля 11, показанного на фиг.1. Шина 10 содержит каркас или тело, предпочтительно выполненное из эластомерного материала, например уретанового материала, предпочтительно способами центробежного литья, например, подобными тем, которые описаны в патентах США  4855096, 4943323, 5906836 и 6165397, относящихся к устройству и способу. Тем не менее, следует понимать, что шину согласно настоящему изобретению можно изготавливать из других эластомерных материалов, включая натуральный или искусственный каучук, и другими устройствами и способами, отличающимися от указанных в вышеуказанных патентах и к которым относятся формование, когда уретановый или каучуковый материал заливают в форму, или пресс-формование каучукового материала, когда материал сжимают, например, в форме, придавая ему форму шины, или подобные процессы или процедуры, применяемые для формования шины или шин согласно настоящему изобретению и включенные в объем настоящего описания. Таким образом, следует понимать, что изобретение заключается в уникальной конфигурации шины, включающей в себя внутреннюю кольцевую полость и ее расположение для установки шины 10 на ободе 12, как показано на фиг.3А, включая набор толщин противолежащих подобных боковых стенок 13 шины, участка под протектором 14 и плечевых зон 15, обеспечивающих грузоподъемную прочность для поддержки расчетной нагрузки, а не в конкретном производственном процессе или материале, используемом в этом процессе. Как показано, кольцевая полость содержит боковые стенки 13 одинаковой толщины и участок под протектором 14, при этом толщина на плечевых зонах 15 немного увеличена. Борта 16 выполнены неупругими и являются непрерывными петлями, выполненными из скрученной стальной проволоки, предпочтительно внедренными в каждый конец 17 боковой стенки 13 шины, для установки бортированных концов боковой стенки 13 шины в ободе 12, как показано на фиг.9. Такая конструкция шины 10 передает нагрузки, направленные на протектор шины над участком, расположенным под протектором 14, как сжимающую нагрузку, которая проходит через плечевые зоны 15 в боковые стенки 13 и на концы 17 боковых стенок шины, которые крепят шину 10 к ободу 12. Грузоподъемность шины 10 зависит от конструкции кольцевой полости шины 10, как показано на виде спереди шины 10, показанном на фиг.3А-5, на которых боковые стенки 13 шины и участок под протектором 14 имеют одинаковую толщину, обозначенную Т1 на фиг.3А, а на плечевых зонах 15 шина имеет увеличенную толщину Т2. Как показано на фиг.4 и 5, где нагрузки, показанные стрелками В и С, больше, чем приложенная нагрузка А, показанная на фиг.3 В, причем толщина Т1 боковых стенок 13 и участка под протектором 14 и толщина Т2 на плечевых зонах 15 увеличена для принятия увеличенной нагрузки. Это увеличение толщины стабилизирует шину 10, как показано на фиг.4 и 5, за счет того, что даже при увеличенной нагрузке В и С выгиб участка под протектором 14 принимает форму, показанную на фиг.3 В для нагрузки А. Отношение толщины боковых стенок 13 и участка под протектором 14 к толщине аркообразного участка плечевых зон 15 шины показано на диаграмме на фиг.8. На практике было обнаружено, что для получения шины 10 с характером грузоподъемности, показанным на диаграмме, для грузоподъемности 1200 фунтов согласно фиг.3А боковые стенки 13 и участок под протектором 14 должны иметь толщину Т1, равную приблизительно 0,7 дюйма, а толщина плечевых зон 15 должна быть приблизительно 0,8 дюйма, плюс-минус 0,05-0,015 дюйма. Для шины согласно фиг.4 и 5 при нагрузках в 2000 и 3000 фунтов, соответственно, для достижения такой же стабильности толщину Т1 боковых стенок 13 и участка под протектором 14 и толщину Т2 плечевого участка 15 шины нужно увеличить на 0,125 дюйма для нагрузки в 2000 фунтов и на 0,225 дюйма для нагрузки 3000 фунтов.
Шина 10 такой конструкции, имеющая только борта и не имеющая слоев и брекеров, имеет грузоподъемность, достаточную для сохранения стабильности, даже если давление в шине 10 упадет. Кроме того, даже если давление воздуха в полости шины снизится до атмосферного, шина 10 сохранит грузоподъемность, позволяя транспортному средству проехать значительное расстояние с достаточной скоростью до места ремонта или замены шины 10. Шины 10 согласно настоящему изобретению испытывались при расчетной нагрузке 1200 фунтов со скоростью, доходящей до 80 миль в час с воздухом и без воздуха в кольцевой камере. На практике, шину предпочтительно накачивают до давления 15-20 фунтов на кв. дюйм, что обеспечивает грузоподъемность и беговые характеристики обычной пневматической шины, накачанной до приблизительно 35-40 фунтов на кв.дюйм. Однако, если воздух выйдет из кольцевой полости и давление в ней упадет вплоть до атмосферного, шина 10 сохранит грузоподъемность на существенном расстоянии при скорости приблизительно 50 миль в час.
До сих пор в шинах, имеющих полости, не использовалась конкретная форма полости, как в шине 10, где грузоподъемность шины непосредственно связана с толщиной Т1 боковых стенок и участка под протектором 14 и с толщиной Т2 на плечевых зонах шины, как это предусмотрено в настоящем изобретении. Нагрузки, направленные на шину, не дестабилизируют ее при надлежащей толщине. Такая дестабилизация показана изгибом участка протектора 15 шины на фиг.3С и 3D. Однако, как показано на фиг.4 и 5, при увеличении толщин Т1 и Т2, соответственно, боковых стенок, участка под протектором и плечевых зон, шина 10 остается стабильной при увеличенных нагрузках. При таких нагрузках и нужной толщине боковых стенок 13, участка под протектором 14 и плечевых зон 15 нагрузки направляются через плечевые зоны 15 по боковым стенкам 13 и передаются как сжимающие нагрузки на обод 12. Для удержания шины 10 на ободе 12, как показано на фиг.9 и фиг.3А-6, внешняя поверхность боковых стенок 13 на концах 17, зацепляющихся с ободом, изгибается внутрь для образования криволинейной полки 18, которая, как лучше всего показано на фиг.9, при установке шины 10 на ободе 12 скользит по фланцу 20 обода и прижимается к нему для образования уплотнения. На практике, для установки на ободе 12 шины 10 с боковыми стенками 13, имеющими борта 16 в концах 17, когда внедренные борта 16 придают кромкам шины, сцепляющимся с ободом минимальную упругость, необходимо внедрить борт 16 в бортовой конец 17 боковой стенки шины на расстоянии Е от конца борта, чтобы материал боковой стенки мог достаточно отгибаться для того, чтобы бортовой конец 21 шины мог надеваться через внешнюю кромку фланца 20 обода 12. На практике, расстояние Е составляет приблизительно 0,09 дюйма плюс-минус 0,0145 дюйма. Дополнительно, чтобы бортовой конец 17 шины мог войти в обод 12 и сесть на него, как показано на фиг.9, бортовой конец 21 шины предпочтительно скошен вверх под углом, приблизительно равным 8 градусам, позволяя внешней части бортового конца шины скользить поверх кромки 20а фланца 20 обода при установке шины 10.
Хотя на испытательном транспортном средстве, как было описано выше, шина 10 работала как с воздухом, так и без воздуха, для обычной работы в качестве транспортной шины предпочтительно, чтобы шина содержала, помимо бортов 16, внедренные слои и брекеры. Шина 30, как показано на фиг.6 и 10, содержит эту комбинацию слоя или слоев 31, брекера или брекеров 32, а также борта 16 и нанесенный на них протектор 35, как лучше всего видно на фиг.7. На практике, слои, брекеры и борта вводят в шину 30 при ее формовании, предпочтительно способом центробежного литья, как указано выше. В процессе формования необходимо уложить слои, брекеры и борта на оправку, которая, предпочтительно, является частью пресс-формы, и затем впрыснуть смесь жидкого уретана в пресс-форму во время ее вращения, которое равномерно распределяет уретан вокруг слоев, брекеров и бортов, внедряя их в сформованную шину. Для равномерного движения жидкого уретана вокруг и между слоями, брекерами и бортами, предпочтительно устанавливать прокладки между слоями и брекерами, которые удерживают соответствующие элементы на расстоянии друг от друга, но пропускают поток уретана сквозь прокладки и вокруг прокладок в процессе литья шины. На практике, и как показано на виде с разнесением деталей согласно фиг.10 шины с фиг.6, слой или слои 31 уложены поперек шины от борта до борта и концы слоев обернуты вокруг бортов 16 и проходят вверх по бокам 13 шины. Если используются два или более слоя, применяются прокладки 33, показанные как слой пористого хлопкового материала. На практике, в качестве прокладок использовался слой или слои ватного бинта, однако следует понимать, что в рамках настоящего изобретения можно использовать и другие виды хлопкового материала или ткани из иного материала. Аналогично, брекеры 32, предпочтительно, уложены в стопку, перекрещивающуюся под углом приблизительно 24 градуса, и каждый брекер отделен от лежащего выше или ниже брекера слоем прокладок 33, также предпочтительно выполненным из бинта. На практике было обнаружено, что слои и брекеры можно формировать как ткань из скрученного тонкого корда из хлопка или вискозной нити, которая немного абсорбирует жидкий уретан при центробежном литье, создавая прочную связь между ними. Дополнительно, следует понимать, что в рамках настоящего изобретения прокладки 33 могут быть не только секциями ткани или тканого материала. Например, в качестве слоев или секций между слоями и брекерами можно установить слои или секции прокладок, выполненные из отвердевшего уретана, который, подвергаясь действию потока горячего уретана при центробежном литье, соединяется с впрыскиваемым уретаном, становясь его частью. В процессе центробежного литья такой предварительно отвердевший уретан плавится и затекает между слоями или брекерами, обеспечивая прочную связь между ними.
Выше были описаны и показаны предпочтительные варианты осуществления эластомерной шины с аркообразными плечевыми зонами. Однако специалистам очевидно, что в вышеописанные варианты могут быть внесены изменения и модификации, на выходящие из объема настоящего изобретения. Таким образом, настоящее изобретение охватывает все такие изменения и модификации, поскольку они входят в объем прилагаемой формулы и/или ее разумных эквивалентов.
Формула изобретения
1. Эластомерная шина с аркообразной плечевой зоной, содержащая корпус шины, изготовленный посредством литья из эластомерного материала и имеющий внутреннюю кольцевую полость, где боковая стенка и область под протектором имеют одинаковую толщину, выбираемую для поддержки нагрузки шины и являющуюся приблизительно на 0,1 дюйма меньше толщины плечевых зон, разделяющих верхние края боковых стенок и края области под протектором, и пару непрерывных неупругих бортов, каждый из которых герметично соединен с нижним краем каждой боковой стенки, причем борта расположены в нижнем крае на заданном расстоянии от краев каждой боковой стенки, при этом нижний край отклонен вверх от внутреннего края боковой стенки до внешнего края боковой стенки.
2. Шина по п.1, в которой внешняя боковая стенка корпуса шины изогнута и сужается внутрь от точки своего контакта с верхним участком обода для плотного контакта с внешней стенкой обода.
3. Шина по п.1, дополнительно содержащая слои, скрепленные с шиной при ее отливании и проходящие по всему корпусу шины, причем концы слоев проходят вокруг бортов и отворачиваются сами на себя.
4. Шина по п.3, дополнительно содержащая, по меньшей мере, один брекер, размещенный по окружности шины над слоями и также скрепленный с шиной при ее отливании.
5. Шина по п.4, дополнительно содержащая прокладки, расположенные между рядами слоев и брекеров и являющиеся пористыми, чтобы пропускать сквозь себя уретан при отливании, а также разделять и связывать между собой ряды слоев и брекеров.
6. Шина по п.5, в которой брекеры и слои изготовлены из вискозных кордов, а прокладки являются слоями пористого хлопкового материала.
7. Шина по п.6, в которой пористый хлопковый материал является бинтом.
8. Шина по п.1, в которой неупругие борта представляют собой пару непрерывных крученых петель из стальной проволоки.
РИСУНКИ
|
|