|
|
(21), (22) Заявка: 2007147950/12, 17.05.2006
(24) Дата начала отсчета срока действия патента:
17.05.2006
(30) Конвенционный приоритет:
23.05.2005 KR 10-2005-0043208 12.05.2006 KR 10-2006-0042832
(46) Опубликовано: 20.07.2009
(56) Список документов, цитированных в отчете о поиске:
JP 2001072250 А, 21.03.2001. JP 2000211745 А, 02.08.2000. RU 2138024 С1, 20.09.1999. SU 1468833 А1, 30.03.1989.
(85) Дата перевода заявки PCT на национальную фазу:
24.12.2007
(86) Заявка PCT:
KR 2006/001833 20060517
(87) Публикация PCT:
WO 2006/126795 20061130
Адрес для переписки:
103735, Москва, ул. Ильинка, 5/2, ООО “Союзпатент”, пат.пов. Л.С.Кишкиной
|
(72) Автор(ы):
БАК Сынг Хоон (KR)
(73) Патентообладатель(и):
ФАЙН ТЕКНИКС КО., ЛТД (KR)
|
(54) УСТРОЙСТВО И СПОСОБ ДОЗИРОВАННОЙ ПОДАЧИ ПОРОШКА И УСТРОЙСТВО ПОДАЧИ МАТЕРИАЛА, СОДЕРЖАЩЕЕ УСТРОЙСТВО ПОДАЧИ ПОРОШКА
(57) Реферат:
Изобретение относится к устройству и способу дозированной подачи порошка и устройству подачи материала. Устройство дозированной подачи порошка содержит приводную часть, которая вырабатывает приводное усилие с использованием внешнего источника питания. Часть подачи порошка соединена с приводной частью и работает вслед за приводной частью и перемещает порошок по заранее заданному пути. Устройство содержит камеру, которая расположена у части подачи порошка и в которую поступает порошок, перемещенный частью подачи порошка. Сжимающая часть сжимает перемещенный порошок в камере. Часть дозированной подачи отделяет нужное количество порошка от сжатого порошка и выгружает отделенный порошок из камеры. Изобретение позволяет равномерно дозировать и эффективно смешивать порошок, поступающий из устройства дозированной подачи порошка, и пластмассовый материал. 3 н. и 14 з.п. ф-лы, 11 ил.
Область техники, к которой относится изобретение
Настоящее изобретение относится к устройству и способу дозированной подачи порошка и устройству подачи материала, содержащему устройство дозированной подачи порошка.
Существующий уровень техники
Пластиковые изделия нужного цвета или выполняющие специальную функцию можно изготовить с использованием в пластиковых материалах (например, полиэтилене низкой плотности, этиленвинилацетате, полипропилене, полиэтилентерефталате, поликарбонате, поливинилхлориде и так далее) добавок нужного цвета или выполняющих специальную функцию, при этом формование пластиковых материалов производится в ходе процесса экструдирования или литья под давлением.
Тем не менее, так как добавки в основном представляют собой порошок или жидкость, то технически сложно равномерно размешать их по пластовым материалам и таким образом пластиковые материалы будут иметь разную плотность распределения добавок, что приведет к пятнистым пластиковым изделиям или пластиковым изделиям с арочными пустотами. Следовательно, тяжело изготовить пластиковые изделия нужного цвета или выполняющие специальную функцию.
Для равномерного размешивания порошка по пластиковым материалам пластиковые материалы предварительно покрываются требуемым количеством порошка и порошок и пластиковые материалы совместно расплавляются или концентрированный порошок добавляется в пластиковые материалы с использованием носителя и так далее. Тем не менее, так как необходимо отдельно измерять или перемещать порошок, пластиковые изделия изготавливаются с очень низкой производительностью и измеренное количество порошка отличается от используемого количества порошка, что приводит к низкому качеству пластиковых изделий.
Для решения проблемы традиционными способами был предложен способ гравиметрической дозированной подачи с использованием микровесов или способ объемной дозированной подачи с использованием микрометрического винта. Тем не менее, так как эти два способа не могут предотвратить образования арочных пустот в порошке, образования статического электричества и попадание порошка в воздух в ходе измерения или перемещения порошка, то трудно осуществлять дозированную подачу порошка.
Краткое описание чертежей
Вышеперечисленные и другие отличительные признаки и преимущества настоящего изобретения будут более ясны после подробного описания типовых вариантов осуществления изобретения со ссылками на прилагаемые чертежи:
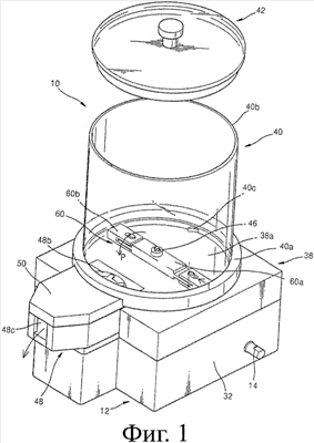
фиг.1 – вид в изометрии устройства дозированной подачи порошка, соответствующего одному варианту осуществления настоящего изобретения;
фиг.2 – вид в изометрии с пространственным разделением деталей устройства дозированной подачи порошка, которое показано на фиг.1;
фиг.3 – вид сбоку в разрезе редуктора, содержащегося в устройстве дозированной подачи порошка, которое показано на фиг.1;
фиг.4 – вид в изометрии разреза емкости для размещения порошка, которая показана на фиг.1;
фиг.5 – частичный вид в разрезе ротора, показанного на фиг.2;
фиг.6 – поперечный разрез емкости для размещения порошка, использованной в устройстве дозированной подачи порошка, которое соответствует другому варианту осуществления настоящего изобретения;
фиг.7 – поперечный разрез VII-VII передаточного диска, показанного на фиг.2;
фиг.8 и 9 – вид сверху и вид сбоку, иллюстрирующие приводной механизм устройства дозированной подачи порошка, которое соответствует одному варианту осуществления настоящего изобретения;
фиг.10 – поперечный разрез устройства подачи материала, соответствующего одному варианту осуществления настоящего изобретения;
фиг.11 – блок-схема, иллюстрирующая способ дозированной подачи порошка, который соответствует одному варианту осуществления настоящего изобретения.
Подробное описание изобретения
Техническая задача изобретения
В настоящем изобретении предложено устройство и способ дозированной подачи порошка, который не предотвращает образование арочных пустот в порошке, но использует свойство образования арочных пустот с целью исключения неравномерной дозированной подачи порошка, имеющей место из-за частичного изменения объемной плотности порошка, вызванной внешними факторами, такими как давление, влажность, статическое электричество, или другими факторами, относящимися к размещенному или перемещаемому порошку, полностью сжимает порошок, таким образом выравнивая объемную плотность перемещенного порошка, и измеряет заранее заданный объем порошка посредством точного отделения необходимого количества порошка из сжатого порошка, таким образом точно управляя количеством поставляемого порошка, и предложено устройство подачи материала, которое эффективно смешивает порошок, поступающий из устройства дозированной подачи порошка, и пластиковый материал.
Раскрытие изобретения
Согласно аспекту настоящего изобретения предложено устройство дозированной подачи порошка в нужное место, устройство содержит: приводную часть, которая вырабатывает приводное усилие с использованием внешнего источника питания; часть подачи порошка, соединенную с приводной частью, и работающую вслед за приводной частью, и перемещающую порошок по заранее заданному пути; камеру, которая расположена у части подачи порошка и в которую поступает порошок, перемещенный частью подачи порошка; сжимающую часть, которая сжимает перемещенный порошок в камере; и часть дозированной подачи, которая отделяет нужное количество порошка от сжатого порошка и выгружает отделенный порошок из камеры.
Приводная часть может содержать редуктор, содержащий несколько зубчатых колес, на которые извне передается крутящий момент, вращающий их с заранее заданным отношением скоростей, и несколько валов, прикрепленных к зубчатым колесам и вращающихся относительно их осей при вращении зубчатых колес и вытянутых в продольном направлении.
Часть подачи порошка может содержать: верхнюю плиту, которая закреплена снаружи редуктора и через которую проходит один или несколько из валов; и узел проталкивания порошка, расположенный на верхней плите и благодаря воздействию валов вращающийся по часовой стрелке или против часовой стрелки, контактируя с верхней поверхностью верхней плиты, и перемещающий порошок в камеру.
Камера может содержать узел частичной подачи, содержащий первую полость заранее заданного диаметра и глубины, которая открыта по направлению к части подачи порошка с целью получения порошка, поступающего из части подачи порошка, и через которую один из валов редуктора проходит вверх и расположен в ее центре; вторую полость заранее заданного диаметра и глубины, которая сформирована у первой полости и которая открыта к первой полости с целью получения порошка из первой полости и через которую вверх проходит другой вал редуктора, расположенный в центре полости.
Сжимающая часть может содержать: по меньшей мере, одно зубчатое колесо подачи, которое расположено внутри первой полости и которое вращается валами и которое содержит несколько зубьев зубчатого колеса, которые перемещают порошок, поступающий от части подачи порошка во вторую полость; передаточный диск, расположенный внутри второй полости, и вращаемый валами, и содержащий канавку сжатия порошка, имеющую форму дуги окружности, и получающий сжатый порошок, перемещенный зубчатым колесом подачи; и основную часть крышки, которая расположена на передаточном диске и которая частично закрывает канавку сжатия порошка и удерживает порошок в канавке сжатия порошка.
Часть дозированной подачи может содержать лопатку с передней концевой частью, которая входит в канавку сжатия порошка, отделяет часть сжатого порошка, расположенного в канавке сжатия порошка при вращении передаточного диска, и выгружает отделенный порошок из второй полости.
Устройство дополнительно может содержать измельчающий палец, закрепленный в основной части крышки, и измельчающий сжатую массу порошка при перемещении и сжатии порошка с арочными пустотами зубчатым колесом подачи, и перемещающий измельченный порошок в канавку сжатия порошка.
Передаточный диск может содержать: внутренний диск заранее заданного диаметра и вращаемый валом; внешнее кольцо с той же осью, что и внутренний диск, и внутренняя окружность которого расположена на некотором расстоянии от внешней окружности внутреннего диска, благодаря чему образуется канавка сжатия порошка; и уплотняющий элемент, вставленный в нижнюю часть канавки сжатия порошка и снизу удерживающий порошок, расположенный в канавке сжатия порошка.
В нижней части второй полости сформирован выступ, служащий для прижатия порошка, приближающегося к лопатке, к основной части крышки, что делается посредством перемещения вверх уплотняющего элемента передаточного диска.
Устройство может дополнительно содержать: емкость для размещения порошка, прикрепленную к верхней части верхней плиты и служащую для размещения порошка, поступающего извне, при этом верхняя часть служит в качестве нижней поверхности, где узел проталкивания порошка содержит: установочный узел, прикрепленный к валу симметрично относительно вала; оконечный узел, расположенный на обоих концах установочного узла и передвигающийся в продольном направлении установочного узла; и пружину, которая расположена между установочным узлом и оконечным узлом и которая упруго подпружинивает наконечники от установочного узла, при этом на внутренней окружности емкости для размещения порошка сформированы два или несколько выступов, которые при вращения узла проталкивания на некоторое время прижимают оконечный узел узла проталкивания к установочному узлу.
Устройство может дополнительно содержать: пористую плиту, расположенную параллельно верхней плите на некотором расстоянии от нее во внутренней поверхности емкости для размещения порошка и содержащую несколько сквозных отверстий, через которые поступающий извне порошок проходит вниз; дополнительный ротор, расположенный на верхней поверхности пористой плиты, и вращаемый валом, и передающий порошок до сквозных отверстий.
Согласно другому аспекту настоящего изобретения предложено устройство подачи материала, содержащее: верхнюю трубу, через которую проходит поступающий извне исходный пластиковый материал и которая содержит устройство дозированной подачи порошка, выгружающее порошок для смешивания с исходным пластиковым материалом; вращающуюся трубу, которая с возможностью вращения расположена в нижней части верхней трубы и которая содержит узел перемешивания, смешивающий исходный пластиковый материал с порошком; нижнюю трубу, расположенную под нижней частью вращающейся трубы, и поддерживающую вращающуюся трубу с возможностью вращения, и выгружающую смесь исходного пластикового материала и порошка вниз, указанная смесь проходит вниз через вращающуюся трубу в окружающее пространство; вкладыши, расположенные между верхней трубой и вращающейся трубой и между нижней трубой, и вращающейся трубой и поддерживающие вращающуюся трубу с возможностью вращения, и формирующие уплотнение между вращающейся трубой и верхней и нижней трубами; и приводной узел, обеспечивающий вращение вращающейся трубы по оси и работу узла перемешивания.
Узел перемешивания может представлять собой, по меньшей мере, одну стальную проволоку, прикрепленную к внутренней окружности вращающейся трубы.
Согласно другому аспекту настоящего изобретения предложен способ дозированной подачи порошка до нужного места, способ включает в себя: этап подготовки, в ходе которого поступает порошок и подготавливается перемещение порошка; этап перемещения порошка, на котором по заранее заданному пути порошок перемещается в камеру заранее заданного объема с помощью части подачи порошка, приводимой в действие внешним источником питания и перемещающей порошок; этап сжатия, на котором перемещенный порошок сжимается в сжимающей части камеры; этап отделения, на котором с использованием средства отделения нужное количество порошка отделяется от порошка, сжатого в камере и содержащего арочные пустоты; и этап выгрузки, на котором отделенный порошок выгружается в окружающее пространство.
Часть подачи порошка может содержать: несколько зубчатых колес, на которые извне передается крутящий момент, вращающий их с заранее заданным отношением скоростей; и ротор, вращающийся под воздействием крутящего момента зубчатых колес и перемещающий порошок, при этом на этапе перемещения порошка порошок перемещается в камеру с использованием ротора.
Сжимающая часть, осуществляющая сжатие, содержит инструмент сжатия, который сжимает порошок, и рамку сжатия, в которой размещается порошок и которая передает давление на порошок, при этом на этапе сжатия порошок, перемещенный на этапе перемещения порошка, сжимается при работе сжимающей части.
На этапе отделения средство отделения может быть использовано для отделения объема порошка от сжатого порошка благодаря вхождению лопатки на заранее заданную глубину при ее перемещении относительно порошка в сжатый порошок в камере.
В настоящем изобретении не предотвращается образование арочных пустот в порошке, но используется свойство образования арочных пустот с целью исключения неравномерной дозированной подачи, имеющей место из-за частичного изменения объемной плотности порошка, вызванной внешними факторами, такими как давление, влажность, статическое электричество, или другими факторами, относящимися к размещенному или перемещаемому порошку, полностью сжимает порошок, таким образом выравнивая объемную плотность перемещенного порошка, и измеряет заранее заданный объем порошка посредством точного отделения необходимого количества порошка из сжатого порошка, таким образом точно управляя количеством подаваемого порошка.
Варианты осуществления изобретения
Далее настоящее изобретение будет подробно описано со ссылками на прилагаемые чертежи.
Фиг.1 – это вид в изометрии устройства 10 дозированной подачи порошка, соответствующего одному варианту осуществления настоящего изобретения. Как показано на фиг.1, устройство 10 дозированной подачи порошка содержит редуктор 12, на который извне передается крутящий момент и в верхней части которого расположены три вала (30, 34 и 36, показаны на фиг.2), верхнюю плиту 38 и часть 48 дозированной подачи, которая расположена на верхней части редуктора 12, емкость 40 для размещения порошка, прикрепленная к верхней части верхней плиты 38 и предназначенная для размещения порошка, ротор 60, вращающийся внутри емкости 40 для размещения порошка и подающий порошок к части 48 дозированной подачи порошка, и уплотняющая пластина 50, уплотняющая верх части 48 дозированной подачи.
Три вала 30, 34 и 36 вращаются в редукторе 12 в одном направлении и с заранее заданным передаточным отношением. Далее будет описан редуктор 12 со ссылками на фиг.3. Фиг.3 – это вид сбоку в разрезе редуктора 12, содержащегося в устройстве дозированной подачи порошка, которое показано на фиг.1. Как показано на фиг.3, редуктор 12 содержит корпус 32, окружающий внутреннее пространство редуктора 12, червячный винт 16, горизонтально установленный внутри корпуса 32 и вращающийся благодаря моменту, передаваемому от расположенного снаружи двигателя (не показан) с помощью приводного вала 14, червячное колесо 18, входящее в зацепление с червячным винтом 16, первое зубчатое колесо 20, прикрепленное к верхней части червячного колеса 18, и первый вал 30, на который передается крутящий момент от первого зубчатого колеса 20 и который выступает вверх от верхней части корпуса 32 и проходит через верхнюю плиту 38.
Кроме того, рядом с первым зубчатым колесом 20 в редукторе 12 расположены первое промежуточное зубчатое колесо 26, второе зубчатое колесо 22, второе промежуточное зубчатое колесо 28 и третье зубчатое колесо 24. Размеры второго зубчатого колеса 22 и третьего зубчатого колеса 24 совпадают, и, следовательно, эти зубчатые колеса идентичны с точки зрения скорости и направления вращения. Передаточное отношение первого зубчатого колеса 20 и второго зубчатого колеса 22 составляет от 3:1 до 4:1.
Второй вал 34 закреплен в центре второго зубчатого колеса 22, третий вал 36 закреплен в центре третьего зубчатого колеса 24. Второй вал 34 и третий вал 36 выступают в верхнюю часть корпуса 32 и параллельны друг другу.
Первый вал 30 вращает ротор 60, второй вал 34 вращает зубчатое колесо подачи (48m, как показано на фиг.2), а третий вал 36 вращает передаточный диск (52, как показано на фиг.2).
Как показано на фиг.1, верхняя плита 38, расположенная в верхней части редуктора 12, представляет собой металлический блок с гладкой поверхностью, к которой прикреплена емкость 40 для размещения порошка. Верхняя поверхность верхней плиты 38 и нижняя часть емкости 40 для размещения порошка так соединены друг с другом, чтобы не было утечек порошка.
Опорная пластина (38а, как показано на фиг.2) заранее заданного диаметра выступает от верхнего центра верхней плиты 38. Опорная пластина 38а служит в качестве нижней поверхности емкости 40 для размещения порошка. Ротор 44 вращается над опорной пластиной 38а.
Емкость 40 для размещения порошка содержит уплотнительное кольцо 40а, плотно прикрепленное к верхней плите 38, содержит опорную пластину 38а, цилиндрическую основную часть 40b емкости, прикрепленную к уплотнительному кольцу 40а и выступающую вверх, и крышку 42, закрывающую основную часть 40b емкости и уплотняющую емкость 40. Основная часть 40b емкости и крышка 42 могут быть выполнены из прозрачного акрила.
На внутренней окружности уплотнительного кольца 40а содержится выступ 40с. Концевые части ротора 60, который вращается в направлении р, проходят выступ 40с, поверхность (40е, как показано на фиг.4) которого выполнена наклонной. Наклонная поверхность 40е перемещает в направлении t упругие наконечники 60b, являющиеся концевыми частями ротора 60. Если упругие наконечники 60b перемещаются в направлении t, то сжимается пружина (60h, как показано на фиг.5), расположенная между упругими наконечниками 60b и установочным стержнем 60а.
Таким образом, когда концевые части ротора 60 проходят выступ 40с, упругие наконечники 60b мгновенно перемещаются в направлении, противоположном направлению t, от установочного стержня 60а благодаря действию восстанавливающей силы упругости, что является причиной сотрясения. Это будет подробно описано далее, со ссылкой на фиг.5. Порошок на роторе 60 отделяется от ротора 60 благодаря сотрясению, вызванному прохождением ротором 60 выступа 40с.
В часть 48 дозированной подачи порошок поступает через первую полость 48b, которая частично содержится во внутреннем пространстве емкости 40 для размещения порошка, в части 48 дозированной подачи порошок сжимается, с использованием лопатки (56b, как показано на фиг.2) от сжатого порошка отделяется нужное количество порошка и нужное количество порошка выгружается в выпускное отверстие 48с.
Уплотняющая пластина 50 закрывает часть 48 дозированной подачи, давит на крышку диска (56, как показано на фиг.2) и одновременно уплотняет внутреннее пространство части 48 дозированной подачи с целью предотвращения попадания внешних примесей в часть 48 дозированной подачи.
Фиг.2 – это вид в изометрии с пространственным разделением деталей устройства дозированной подачи порошка, показанного на фиг.1. Как показано на фиг.2, первый, второй и третий валы 30, 34 и 35 выходят вверх из редуктора 12. Первый вал 30 проходит через верхнюю часть верхней плиты 38 и расположен в центре опорной пластины 38а.
Выемка 38b, в которой частично расположена часть 48 дозированной подачи, сформирована в части опорной пластины 38а. Выемка 38b является ступенчатой выемкой и заходит в опорную пластину 38а.
Максимальная длина ротора 60 совпадает с диаметром опорной пластины 38а. Это означает, что выемка 38b частично заходит в область вращения ротора 60, так что порошок, перемещаемый ротором 60, может поступать в часть 48 дозированной подачи под емкостью 40 для размещения порошка.
Ротор 60 соединен с первый валом 30 с помощью болта 46 и вращается над опорной пластиной 38а. Нижняя поверхность ротора 60 направлена к верхней поверхности опорной пластины 38а. Таким образом, порошок, расположенный между ротором 60 и опорной пластиной 38а, действует в качестве смазывающего вещества. Отверстие 30а с внутренней резьбой, сопрягаемое с болтом 46, выполнено в верхней концевой части первого вала 30. Следовательно, если необходимо, ротор 60 может быть просто отделен от первого вала 30. Передняя концевая часть уплотняющей пластины 50 вставляется в соответствующую прорезь 40d уплотняющей пластины.
Часть 48 дозированной подачи содержит блок 48а частичной подачи, который частично вставлен в выемку 38b, выполненную в верхней части редуктора 12, в верхней части блока 48а частичной подачи содержатся первая полость 48b и вторая полость 48g, также блок 48а частичной подачи содержит зубчатое колесо 48m подачи, закрепленное болтами в первой полости 48b, передаточный диск 52, который с возможностью вращения расположен во второй полости 48g, и крышку 56 диска, которая прикреплена к верхней части передаточного диска 52 и сверху удерживает передаточный диск 52.
Верхняя поверхность блока 48а частичной подачи гладкая и плотно прилегает к нижней поверхности уплотняющей пластины 50.
Первая полость 48b представляет собой кольцевую выемку, заранее заданного диаметра и глубины, и в центре нижней поверхности 48f содержит сквозное отверстие 48d. Сквозное отверстие 48d вертикально проходит через блок 48а частичной подачи, и через него проходит верхняя часть второго вала 34. Второй вал 34 соединен с зубчатым колесом 48m подачи, которое расположено внутри первой полости 48b, и вращает зубчатое колесо 48m подачи в некотором направлении.
Зубчатое колесо 48m подачи содержит несколько зубьев 48n зубчатого колеса, расположенных по его внешней окружности на одинаковых интервалах друг от друга. В частности, зубья 48n зубчатого колеса разделены на верхние и нижние с целью вращения зубчатого колеса 48m подачи посредством вхождения измельчающего пальца 56с в зубья 48n зубчатого колеса, как показано на фиг.9.
Зубчатое колесо 48m подачи работает как зубчатый насос, получает порошок, поступающий от ротора 60 в первую полость 48b, и перемещает порошок во вторую полость 48g, что будет описано подробно со ссылкой на фиг.8. При передаче зубчатым колесом 48m подачи порошок сжимается и образуются арочные пустоты.
Вторая полость 48g представляет собой кольцевую выемку заранее заданного диаметра, а ее глубина превышает глубину первой полости 48b. В рассматриваемом варианте осуществления изобретения внутренний диаметр второй полости 48g аналогичен внутреннему диаметру первой полости 48b, однако настоящее изобретение этим не ограничивается.
Вторая полость 48g одновременно открыта вверх, по направлению к первой полости 48b, чтобы получать порошок через первую полость 48b.
Сквозное отверстие 48е сформировано в центре нижней поверхности 48h второй полости 48g. Сквозное отверстие 48е выполнено вертикально в блоке 48а частичной подачи, и через него проходит верхняя часть третьего вала 36. Третий вал 36 вставлен в передаточный диск 52 с целью вращения передаточного диска 52. Передаточный диск 52 и зубчатое колесо 48m подачи аналогичны друг другу с точки зрения скорости и направления вращения.
Выступ 48k сформирован у сквозного отверстия 48е. Выступ 48k сформирован на нижней поверхности второй полости 48g близко в стенке и толкает уплотняющее кольцо 54, которое вращается в направлении m и которое расположено в нижней части передаточного диска 52 в направлении f (показано на фиг.9).
Передаточный диск 52 содержит внутренний диск 52d заранее заданного диаметра, содержащий отверстие 52а установки вала, в которое вставляется третий вал 36, внешнее кольцо 52е, окружающее внутренний диск и вместе с внутренним диском 52d формирующее канавку 52b сжатия порошка заранее заданной ширины, и уплотняющее кольцо 54, вставленное в канавку 52b сжатия порошка в нижней части передаточного диска 52.
Уплотняющее кольцо 54 уплотняет нижнюю часть канавки 52b сжатия порошка с целью предотвращения просачивания порошка, сжатого в канавке 52b сжатия порошка, и прижимает порошок снизу вверх к крышке 56 диска, когда выступ 48k толкает уплотняющее кольцо 54 вверх. Канавка 52b сжатия порошка наполняется порошком, подаваемым зубчатым колесом 48m подачи, и образует дугу окружности заранее заданной ширины.
Крышка 56 диска выполнена из тефлонового полимера заранее заданной толщины, и ее нижняя поверхность закрывает часть канавки 52b сжатия порошка. Крышка 56 диска содержит основную часть 56а крышки, которая вставлена во вторую полость 48g и сверху удерживает передаточный диск 52, измельчающий палец 56с, закрепленный на части основной части 56а крышки, и лопатку 56b, закрепленную на противоположной стороне основной части 56а крышки относительно измельчающего пальца 56с.
Канавка 56е, имеющая форму дуги окружности, выполнена на внешней окружности основной части 56а крышки и направлена к зубчатому колесу 48m подачи. Кривизна канавки 56е, имеющей форму дуги окружности, совпадает с кривизной внешней окружности зубчатого колеса 48m подачи, и канавка 56е открывает канавку 52b сжатия порошка сверху, как показано на фиг.8.
Измельчающий палец 56с закреплен в канавке 56е, имеющей форму дуги окружности. Измельчающий палец 56с, являющийся металлическим стержнем, расположенным между зубьями 48n зубчатого колеса, измельчает (содержащий арочные пустоты) сжатый порошок между зубьями 48n зубчатого колеса, так что измельченный порошок может легко размещаться в канавке 52b сжатия порошка.
Лопатка 56b закреплена на противоположной стороне основной части 56а крышки относительно измельчающего пальца 56с. Передняя концевая часть лопатки 56b, закрепленная в основной части 56а крышки, выступает в канавку 52b сжатия порошка. Максимальная длина лопатки 56b, которая выступает в канавку 52b сжатия порошка, может регулироваться в зависимости от ситуации и составляет примерно от 1 мм до 3 мм.
Уплотняющая пластина 50 устанавливается на верхней части блока 48а частичной подачи после установки в первую и вторую полости 48b и 48g зубчатого колеса 48m подачи, передаточного диска 52 и крышки 56 диска. Уплотняющая пластина 50 поддерживает крышку 56 диска и зубчатое колесо 48m подачи и одновременно уплотняет часть первой полости 48b и второй полости 48g. Уплотняющая пластина 50 может быть соединена с блоком 48а частичной подачи любым способом.
Фиг.3 – это вид сбоку в разрезе редуктора 12, содержащегося в устройстве 10 дозированной подачи порошка, которое показано на фиг.1.
Фиг.4 – это вид в изометрии разреза емкости 40 для размещения порошка, показанной на фиг.1. Как показано на фиг.4, емкость 40 для размещения порошка содержит уплотнительное кольцо 40а, которое плотно прикреплено к верхней плите 38, и основную часть 40b емкости, нижняя часть которой соединена с уплотнительным кольцом 40а и которая выступает вверх. На внутренней окружности уплотнительного кольца 40а выполнен выступ 40с. Количество выступов 40с может меняться в зависимости от обстоятельств.
Фиг.5 – это частичный вид в разрезе ротора 60, показанного на фиг.2. Как показано на фиг.5, ротор 60 содержит установочный стержень 60а, в котором выполнено сквозное отверстие 60d, через центр которого вниз проходит болт 46 и закрепляет установочный стержень 60а к первому валу 30, упругие наконечники 60b, которые расположены с обоих концов установочного стержня 60а, и пружину 60, размещенную между установочным стержнем 60а и упругими наконечниками 60b и давящую на упругие наконечники 60b в направлении р.
Концевая часть 60е, которая тонка и выполнена как одно целое с направляющим пальцем 60f, расположенным в верхней поверхности концевой части 60е, размещена на обоих концах установочного стержня 60а. Толщина концевой части 60е задана заранее, и указанная часть 60е вставляется в часть 60k упругих наконечников 60b. Направляющий палец 60f представляет собой выступ, поперечное сечение которого в направлении протяженной части ротора 60 является продолговатым овалом.
Концевая часть 60е размещается в упругих наконечниках 60b, и пружина 60h давит на упругие наконечники 60b в направлении р. В упругих наконечниках 60b выполнено продолговатое отверстие 60g, через которое вставляется направляющий палец 60. В продолговатом отверстии 60g размещен направляющий палец 60f, и продолговатое отверстие 60g направляет упругие наконечники 60b с целью их перемещения в продольном направлении.
Когда ротор 60 описанной выше конструкции вращается, упругие наконечники 60b проходят наклонную поверхность 40е выступа 40с и сжимаются в направлении, противоположном направлению р. Когда упругие наконечники 60b проходят через выступ 40с, благодаря действию пружины 60h упругие наконечники 60b подпружинены в направлении р, так что направляющий палец 60f сталкивается с внутренней окружностью продолговатого отверстия 60g, что является причиной сотрясения. В результате сотрясения порошок отделяется от ротора 60.
Фиг.6 – это поперечный разрез емкости для размещения порошка, примененной в устройстве дозированной подачи порошка, соответствующего другому варианту осуществления настоящего изобретения. Как показано на фиг.6, основная часть 40b емкости содержит пористую плиту 62 и дополнительный ротор 64. Пористая плита 62 представляет собой дисковый компонент, содержащий несколько сквозных отверстий 62а и горизонтально прикрепленный к верхней части ротора 60.
Дополнительный ротор 64 расположен на верхней поверхности пористой плиты 62, закреплен с помощью болта 46 и вращается вместе с ротором 60. Пористая плита 62 выдерживает вес порошка, поступающего извне, что делается для предотвращения прижатия ротора 60 весом порошка. Дополнительный ротор 64 используется для равномерного распределения порошка через сквозные отверстия 62а пористой плиты 62.
Гайка 91 закрепляет ротор 60 на первом валу 30.
Фиг.7 – это поперечный разрез VII-VII передаточного диска 52, показанного на фиг.2. Как показано на фиг.7, канавка 52b сжатия порошка, которая имеет заранее заданную толщину, расположена между внутренним диском 52d и внешним кольцом 52е. Уплотняющее кольцо 54 вставлено в нижнюю часть канавки 52b сжатия порошка с целью уплотнения нижней части канавки 52b сжатия порошка.
Фиг.8 и 9 – это вид сверху и вид сбоку, иллюстрирующие приводной механизм устройства 10 дозированной подачи порошка, соответствующего одному варианту осуществления настоящего изобретения. Как показано на фиг.8 и 9, зубчатое колесо 48m подачи установлено в первой полости 48b блока 48а частичной подачи, а передаточный диск 52 и крышка 56 диска установлены ниже и выше во второй полости 48g. Зубчатое колесо 48m подачи и передаточный диск 52 вращаются в направлении s.
Как показано пунктирной линией, часть первой полости 48b содержится в емкости 40 для размещения порошка. Таким образом, порошок вталкивается в первую полость 48b в направлении z1 ротором 60, вращающимся в направлении s.
Порошок, вталкиваемый в первую полость 48b, расположен между зубьями 48n зубчатого колеса 48m подачи, перемещается в направлении Y благодаря непрерывному вращению зубчатого колеса 48m подачи и сжимается о внутреннюю окружность первой полости 48b. Порошок, перемещаемый в направлении Y, попадает в нижнюю часть уплотняющей пластины 50, так что порошок отделен от окружающего пространства и его нельзя сдуть.
Порошок, перемещенный зубчатым колесом 48m подачи в направлении Y и сжатый уплотняющей пластиной 50, измельчается измельчающим пальцем 56с. Так как порошок, перемещенный зубчатым колесом 48m подачи, сжат между зубьями 48n зубчатого колеса и в нем имеются арочные пустоты, то после измельчения измельчающим пальцем 56с порошок может быть перемещен внутрь канавки 52b сжатия порошка (в направлении z2)
Порошок, измельченный измельчающим пальцем 56с, перемещается внутрь канавки 52b сжатия порошка передаточного диска 52, который вращается и заполняет канавку 52b сжатия порошка. Так как канавка 52b сжатия порошка и зубья 48n зубчатого колеса верхней части канавки 52b сжатия порошка пересекаются, то порошок сжимается зубьями 48n зубчатого колеса и сжимается в канавке 52b сжатия порошка.
Порошок, заполняющий канавку 52b сжатия порошка, сжимается относительно нижней поверхности основной части 56а крышки и перемещается к лопатке 56b в направлении Y2. Порошок из канавки 52b сжатия порошка сжимается нижней поверхностью основной части 56а крышки с целью выравнивания его верхней поверхности.
В частности, выступ 48k, выполненный на нижней поверхности второй полости 48g, толкает вверх уплотняющее кольцо 54 в направлении f, так что на порошок оказывается сильное давление снизу и он сжимается нижней поверхностью основной части 56а крышки.
Лопатка 56b отделяет верхнюю часть порошка, поступившего на передней концевой части лопатки 56b, так что отделенный порошок выгружается через выпускное отверстие 48с в направлении z3. Количество выгруженного порошка может быть изменено при изменении длины передней концевой части лопатки 56b, которая заходит в канавку 52b сжатия порошка, или при изменении скорости вращения передаточного диска 52.
Порошок, прошедший под лопаткой 56b, перемещается к зубчатому колесу 48m подачи и смешивается с поступающим порошком.
Фиг.10 – это поперечный разрез устройства 70 подачи материала, соответствующего одному варианту осуществления настоящего изобретения. Материал представляет собой смесь исходных пластиковых материалов и порошка.
Как показано на фиг.10, устройство 70 подачи материалов содержит верхнюю трубу 72, закрепляющую устройство 10 дозированной подачи порошка в наклонном положении, вращающуюся трубу 74, расположенную в нижней части верхней трубы 72, нижнюю трубу 76, расположенную в нижней части вращающейся трубы 74, и с возможностью вращения поддерживающую вращающуюся трубу 74, и передающую материал вниз, двигатель 84, вращающий вращающуюся трубу 74. Верхняя труба 72 является трубой заранее заданного диаметра, которая передает вниз исходный пластиковый материал, поступающий через отдельно прикрепленный бункер (не показан). Исходный пластиковый материал падает вниз вместе с дозированным порошком, выгруженным устройством 10 дозированной подачи порошка.
Вращающаяся труба 74 является трубой такого же размера, как и верхняя труба 72, и содержит перемешивающую стальную проволоку 90. Перемешивающая стальная проволока 90 представляет собой линейный компонент, который смешивает исходный пластиковый материал с порошком. Перемешивающая стальная проволока 90 прикреплена к вращающейся трубе 74 благодаря вставлению обоих концов перемешивающей стальной проволоки 90 в канавку 74а, выполненную во внутренней окружности вращающейся трубы 74, и привариванию их к вращающейся трубе 74. Способ формирования или количество перемешивающей стальной проволоки 90 могут быть изменены в зависимости от обстоятельств. Перемешивающая стальная проволока 90 может быть заменена другим перемешивающим компонентом.
Устройство 70 подачи материала дополнительно содержит звездочку 88, двигатель 84 и цепь 86, нужные для вращения по оси вращающейся трубы 74. Звездочка 88 окружает внешнюю окружность вращающейся трубы 74 и сопряжена с приводным валом двигателя 84 с использованием цепи 86. Следовательно, при работе двигателя 84 приводящее усилие двигателя 84 передается на звездочку 88 с использованием цепи 86 и вращающая труба 74 вращается по оси таким образом, что перемешивается материал.
Тефлоновые вкладыши 82 расположены между верхней трубой 72 и вращающейся трубой 74 и между вращающейся трубой 74 и нижней трубой 76. Тефлоновые вкладыши 82 выполнены из обычного тефлона и используются для вращения вращающейся трубы 74 между верхней трубой 72 и нижней трубой 76. Тефлоновые вкладыши 82 загораживают внутреннее пространство труб 72, 74 и 76 от внешней среды.
Поддерживающие стержни 78 и крепежные скобы 80 используются для поддержания интервала между верхней трубой 72 и нижней трубой 76. Крепежные скобы 80 представляют собой железные детали, прикрепленные к внешней окружности верхней трубы 72 и нижней трубы 76.
Поддерживающие стержни 78 связывают крепежные скобы 80 верхней трубы 72 и крепежные скобы 80 нижней трубы 76. Верхняя и нижняя концевые части поддерживающих стержней 78 соединены с крепежными скобами 80 верхней трубы 72 и нижней трубы 76 соответственно, что делается для надежного поддержания интервала между верхней трубой 72 и нижней трубой 76, которые находятся на заранее заданном расстоянии от вращающейся трубы 74.
Фиг.11 – это блок-схема, иллюстрирующая способ дозированной подачи порошка, который соответствует одному варианту осуществления настоящего изобретения. Как показано на фиг.11, способ дозированной подачи порошка содержит этап 100 подготовки, на котором извне принимается поступающее дозированное количество порошка и подготавливается перемещение порошка, этап 102 перемещения порошка, на котором по заранее заданному пути порошок перемещается в камеру, содержащую первую и вторую полости 48b и 48g, этап 104 сжатия, на котором перемещенный порошок сжимается внутри первой и второй полостей 48b и 48g, этап 106 отделения, на котором с использованием средства отделения нужное количество порошка отделяется от порошка, сжатого во второй полости 48g, и этап 108 выгрузки, на котором отделенный порошок выгружается из второй полости 48g.
На этапе 100 подготовки порошок поступает в емкость 40 для размещения порошка. Емкость 40 для размещения порошка расположена на верхней плите 38, и внешняя окружность уплотнительного кольца 40а плотно прикреплена к внешней окружности опорной пластины 38а.
В ходе осуществления этапа 102 перемещения порошка порошок, размещенный в емкости 40 для размещения порошка, перемещается в первую полость 48b части 48 дозированной подачи, что делается благодаря вращению ротора 60.
В ходе осуществления этапа 104 сжатия порошок, перемещенный в часть 48 дозированной подачи, сжимается в первой и второй полостях 48b и 48g. Так как основная идея настоящего изобретения заключается в перемещении полностью сжатого порошка, что делается для исключения неравномерной дозированной подачи порошка из-за различной объемной плотности, вызванной внешними факторами, такими как давление, влажность, статическое электричество, или другими факторами, относящимися к размещенному или перемещаемому порошку, с использованием свойства образования арочных пустот, дозированный, поставляемый порошок сжат и в нем имеются арочные пустоты (в первой и второй полостях 48b и 48g).
Порошок сжимается благодаря вращению зубчатого колеса 48m подачи и передаточного диска 52. Как описано со ссылкой на фиг.8, когда зубчатое колесо 48m подачи и передаточный диск 52 вращаются, используя энергию вращения второго и третьего валов 34 и 36, порошок сжимается в канавке 52b сжатия порошка с помощью зубьев 48n зубчатого колеса 48m подачи.
В ходе осуществления этапа 106 отделения нужное количество порошка отделяется от сжатого (комок) порошка, расположенного во второй полости 48g с использованием лопатки 56b. Так как передняя концевая часть лопатки 56b входит в канавку 52b сжатия порошка, лопатка 56b может отделить порошок, когда передаточный диск 52 движется в направлении Y2, что показано на фиг.8.
В ходе осуществления этапа 108 выгрузки отделенный порошок выгружается из второй полости 48g в направлении z3, показанном на фиг.9 порошок, выгруженный из части 48 дозированной подачи, перемещается к нужному месту.
Хотя настоящее изобретение показано и описано для типовых вариантов осуществления, специалистам в рассматриваемой области ясно, что можно предложить различные изменения в форме и деталях, которые тем не менее не будут выходить за границы объема и сущности изобретения, которые определены в формуле изобретения. Типовые варианты осуществления изобретения должны рассматриваться только в описательном смысле и не должны считаться ограничениями. Следовательно, объем настоящего изобретения определен не подробным описанием изобретения, а прилагаемой формулой изобретения, и все различия, не выходящие за границы объема изобретения, считаются предусмотренными настоящим изобретением.
Формула изобретения
1. Устройство дозированной подачи порошка в нужное место, содержащее следующие части: приводную часть, вырабатывающую приводное усилие с использованием внешнего источника питания; часть подачи порошка, соединенную с приводной частью и работающую вслед за приводной частью и перемещающую порошок по заранее заданному пути; камеру, которая расположена у части подачи порошка и в которую поступает порошок, перемещенный частью подачи порошка; сжимающую часть, которая сжимает перемещенный порошок в камере; и часть дозированной подачи, которая отделяет нужное количество порошка от сжатого порошка и выгружает отделенный порошок из камеры.
2. Устройство по п.1, в котором приводная часть содержит редуктор, содержащий несколько зубчатых колес, на которые извне передается крутящий момент, вращающий их с заранее заданным отношением скоростей; и несколько валов, прикрепленных к зубчатым колесам и вращающихся относительно их осей при вращении зубчатых колес и тянущихся в продольном направлении.
3. Устройство по п.2, в котором часть подачи порошка содержит: верхнюю плиту, которая закреплена снаружи редуктора и через которую проходит один или несколько из указанных валов; и узел проталкивания порошка, расположенный на верхней плите и благодаря воздействию валов, вращающийся по часовой стрелке или против часовой стрелки, контактируя с верхней поверхностью верхней плиты, и перемещающий порошок в камеру.
4. Устройство по п.2, в котором камера содержит узел частичной подачи, содержащий: первую полость заранее заданного диаметра и глубины, которая открыта по направлению к части подачи порошка для получения порошка, поступающего из части подачи порошка, и через которую один из валов редуктора проходит вверх и расположен в ее центре, и вторую полость заранее заданного диаметра и глубины, которая сформирована у первой полости и которая открыта к первой полости для получения порошка из первой полости и через которую вверх проходит другой вал редуктора, расположенный в центре указанной полости.
5. Устройство по п.4, в котором сжимающая часть содержит: по меньшей мере, одно зубчатое колесо подачи, которое расположено внутри первой полости и которое вращается валами и которое содержит несколько зубьев зубчатого колеса, которые перемещают порошок, поступающий от части подачи порошка во вторую полость; и передаточный диск, расположенный внутри второй полости и вращаемый валами и содержащий канавку сжатия порошка, имеющую форму дуги окружности, и получающий сжатый порошок, перемещенный зубчатым колесом подачи; и основную часть крышки, которая расположена на передаточном диске и частично закрывает канавку сжатия порошка и удерживает порошок в канавке сжатия порошка.
6. Устройство по п.5, в котором часть дозированной подачи содержит лопатку с передней концевой частью, которая входит в канавку сжатия порошка, служит для отделения части сжатого порошка, расположенного в канавке сжатия порошка при вращении передаточного диска, и обеспечивает выгрузку отделенного порошка из второй полости.
7. Устройство по п.5, дополнительно содержащее: измельчающий палец, закрепленный в основной части крышки и обеспечивающий измельчение сжатой массы порошка при перемещении и сжатии порошка с арочными пустотами зубчатым колесом подачи, и обеспечивающий перемещение измельченного порошка в канавку сжатия порошка.
8. Устройство по п.5, в котором передаточный диск содержит: внутренний диск заранее заданного диаметра и вращаемый валом; внешнее кольцо с той же осью, что и внутренний диск, и внутренняя окружность которого расположена на некотором расстоянии от внешней окружности внутреннего диска, благодаря чему образуется канавка сжатия порошка; и уплотняющий элемент, вставленный в нижнюю часть канавки сжатия порошка и снизу удерживающий порошок, расположенный в канавке сжатия порошка.
9. Устройство по п.8, в котором в нижней части второй полости сформирован выступ, служащий для прижатия порошка, приближающегося к лопатке, к основной части крышки, посредством перемещения вверх уплотняющего элемента передаточного диска.
10. Устройство по п.3, в котором дополнительно содержится: емкость для размещения порошка, прикрепленная к верхней части верхней плиты и служащая для размещения порошка, поступающего извне, при этом верхняя часть служит в качестве нижней поверхности, причем узел проталкивания порошка содержит: установочный узел, прикрепленный к валу симметрично относительно вала; оконечный узел, расположенный на обоих концах установочного узла и передвигающийся в продольном направлении установочного узла; и пружину, которая расположена между установочным узлом и оконечным узлом и которая упруго подпружинивает наконечники от установочного узла, при этом на внутренней окружности емкости для размещения порошка сформированы два или несколько выступов, которые при вращения узла проталкивания на некоторое время обеспечивают прижатие оконечного узла проталкивания к установочному узлу.
11. Устройство по п.3, в котором дополнительно содержится: пористая плита, расположенная параллельно верхней плите на некотором расстоянии от нее во внутренней поверхности емкости для размещения порошка и содержащая несколько сквозных отверстий, через которые поступающий извне порошок проходит вниз; и дополнительный ротор, расположенный на верхней поверхности пористой плиты и вращаемый валом и передающий порошок до сквозных отверстий.
12. Устройство подачи материала, содержащее: верхнюю трубу, через которую проходит поступающий извне исходный пластиковый материал и которая содержит устройство дозированной подачи порошка, выгружающее порошок для смешивания с исходным пластиковым материалом; вращающуюся трубу, которая с возможностью вращения расположена в нижней части верхней трубы и которая содержит узел перемешивания, смешивающий исходный пластиковый материал с порошком; нижнюю трубу, расположенную под нижней частью вращающейся трубы и поддерживающую вращающуюся трубу с возможностью вращения и выгружающую смесь исходного пластикового материала и порошка вниз, при этом смесь проходит через вращающуюся трубу в окружающее пространство; вкладыши, расположенные между верхней трубой и вращающейся трубой и между нижней трубой и вращающейся трубой и поддерживающие вращающуюся трубу с возможностью вращения и формирующие уплотнение между вращающейся трубой и верхней и нижней трубами; и приводной узел, обеспечивающий вращение вращающейся трубы по оси и работу узла перемешивания.
13. Устройство по п.12, в котором узел перемешивания представляет собой, по меньшей мере, один стальную проволоку, прикрепленную к внутренней окружности вращающейся трубы.
14. Способ дозированной подачи порошка до нужного места, включающий следующие этапы: этап подготовки, на котором поступает порошок и подготавливается перемещение порошка; этап перемещения порошка, на котором по заранее заданному пути порошок перемещается в камеру заранее заданного объема с помощью части подачи порошка, приводимой в действие внешним источником питания и перемещающей порошок; этап сжатия, на котором перемещенный порошок сжимается в камере; этап отделения, на котором с использованием средства отделения нужное количество порошка отделяется от порошка, сжатого в камере и содержащего арочные пустоты; и этап выгрузки, на котором отделенный порошок выгружается в окружающее пространство.
15. Способ по п.14, в котором часть подачи порошка содержит: несколько зубчатых колес, на которые извне передается крутящий момент, вращающий их с заранее заданным отношением скоростей; и ротор, вращающийся под воздействием крутящего момента зубчатых колес и перемещающий порошок, при этом на этапе перемещения порошка порошок перемещается в камеру с использованием ротора.
16. Способ по п.14, в котором сжимающая часть, осуществляющая сжатие, содержит инструмент сжатия, который сжимает порошок, и рамку сжатия, в которой размещается порошок и которая передает давление на порошок, при этом на этапе сжатия, порошок, перемещенный на этапе перемещения порошка, сжимается при работе сжимающей части.
17. Способ по п.14, в котором на этапе отделения, средство отделения используется для отделения объема порошка от сжатого порошка благодаря вхождению лопатки на заранее заданную глубину при ее перемещении относительно порошка в сжатый порошок в камере.
РИСУНКИ
|
|