|
|
(21), (22) Заявка: 2006125931/06, 17.07.2006
(24) Дата начала отсчета срока действия патента:
17.07.2006
(43) Дата публикации заявки: 27.01.2008
(46) Опубликовано: 10.07.2009
(56) Список документов, цитированных в отчете о поиске:
КОНОВАЛОВ В.В. и др. Газодинамические колебания – эффективное средство уменьшения выбросов твердых частиц с отработавшими газами дизелей. В сб. Труды международного форума по проблемам науки, техники и образования. – М., 2005, том 2, с.112-114. US 3982397 A, 28.09.1976. SU 1838639 A3, 30.08.1993. RU 12843 U1, 10.02.2000. DE 3818158 A1, 07.12.1989. US 3534547 A, 20.10.1970.
Адрес для переписки:
630099, г.Новосибирск, ул. Щетинкина, 33, НГАВТ
|
(72) Автор(ы):
Коновалов Валерий Владимирович (RU), Науменко Олег Федорович (RU), Юр Геннадий Сергеевич (RU)
(73) Патентообладатель(и):
Новосибирская государственная академия водного транспорта (НГАВТ) (RU)
|
(54) СПОСОБ ОЧИСТКИ ОТРАБОТАВШИХ ГАЗОВ ДВИГАТЕЛЕЙ ВНУТРЕННЕГО СГОРАНИЯ ОТ ТВЕРДЫХ ЧАСТИЦ
(57) Реферат:
Способ очистки заключается в том, что интенсифицируют сгорание твердых частиц, образующихся в камере сгорания двигателя с помощью газодинамических колебаний, возбуждаемых в потоке отработавших газов (ОГ), причем колебания возбуждают с помощью резонатора Гельмгольца, расположенного в выпускном канале двигателя. Полученные газодинамические колебания интенсифицируют процесс тепломассопереноса около твердых частиц путем их обдува, в результате чего твердые частицы сгорают быстрее. Использование способа позволит значительно уменьшить содержание твердых частиц в ОГ двигателей внутреннего сгорания. 2 ил.
Изобретение относится к машиностроению, а именно к двигателестроению, и может быть использовано для очистки отработавших газов двигателей внутреннего сгорания от твердых частиц.
Известен способ очистки отработавших газов двигателя внутреннего сгорания транспортного средства и сажеотделитель для двигателя внутреннего сгорания транспортного средства (а.с. СССР 1815354, F01N 3/02, опубл. 1993), заключающийся в дожигании потока отработавших газов путем одновременного нагрева катализатора и обработки его высоковольтным импульсным напряжением. Способ реализуется с помощью устройства, содержащего корпус с входным и выходным патрубками. В корпусе установлены не менее трех изолированных электродов, подключенных к полюсам источника высокого напряжения, и источник нагрева.
Недостатком известного способа является необходимость предварительного подогрева катализатора, высокий расход электроэнергии, повышенное сопротивление на выпуске.
Известен способ нейтрализации отработавших газов (авт. свид. СССР 1745997, F01N 3/00, опубл. 1992), при котором отработавшие газы дожигают путем вихревого смешивания с воздухом и пропускают через эластичный пористый турбулизатор с преобразованием крупномасштабной вихревой структуры потока в малые возмущения.
Способ реализуется с помощью устройства, содержащего впускной и выпускной патрубки, корпус, камеру и турбулизатор.
Недостатком этого способа являются интенсивное разбавление отработавших газов воздухом, что значительно снижает их температуру, и процесс дожигания твердых частиц замедляется.
Известен способ восстановления сажеулавливающего фильтра дизельного ДВС, в котором для выжигания сажи из фильтров предусмотрены два сочлененных резонатора Гельмгольца. В известном способе поток отработавших газов перед подачей в резонаторы разделяют на два параллельных потока и возбуждение резонансных колебаний производят в каждом из них путем подачи топливовоздушной смеси и ее воспламенения, для одного из параллельных потоков осуществляют в период прекращения подачи топлива во втором параллельном потоке. Резонансные колебания в параллельных потоках возбуждают в противофазе с равными амплитудами, продолжительность подачи топлива равна периоду собственной частоты колебаний резонаторов, а частоту резонансных колебаний потока отработавших газов при температуре выше воспламенения топлива обеспечивают меньше 0,7 частоты порядка вспышек в цилиндрах двигателя (патент СССР 1838639, F01N 3/00, опубл. 1993).
Недостатком известного способа является необходимость подачи дополнительного топлива для выжигания сажи из фильтров, а также наличие сложных устройств управления резонансной системой.
За прототип принят способ очистки отработавших газов двигателей внутреннего сгорания от твердых частиц, образующихся в камере сгорания, посредством интенсифицирующих сгорание частиц газодинамических колебаний, возбуждаемых в потоке отработавших газов (статья Коновалов В.В. и др. Газодинамические колебания эффективное средство уменьшения выбросов твердых частиц с отработавшими газами дизелей. В сб. Труды международного форума по проблемам науки, техники и образования, М., 2005, том 2, с.112-114).
Известный способ недостаточно эффективен.
Задача изобретения – повышение эффективности.
Поставленная задача достигается тем, что в способе очистки отработавших газов ДВС от твердых частиц, образующихся в камере сгорания, посредством интенсифицирующих сгорание частиц газодинамических колебаний, возбуждаемых в протоке отработавших газов, колебания возбуждают с помощью резонатора Гельмгольца, расположенного в выпускном канале двигателя.
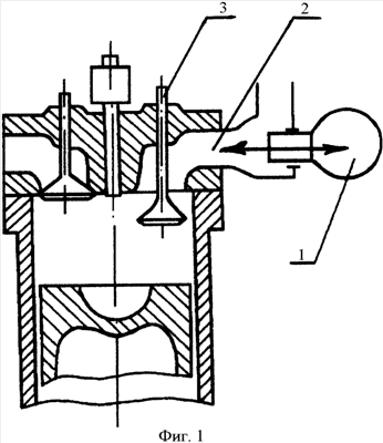
Изобретение поясняется чертежами, где на фиг.1 представлена схема устройства для сжигания твердых частиц в выпускном канале дизельного двигателя; на фиг.2 приведена нагрузочная характеристика дизеля 410,5/12 при частоте вращения коленчатого вала, равной 1500 об/мин.
Способ осуществляется следующим образом.
При открытии выпускного клапана 3 отработавшие газы поступают в выпускной канал 2 двигателя, в котором расположен резонатор Гельмгольца 1 (навстречу потоку отработавших газов), возбуждающий в потоке отработавших газов газодинамические колебания. Полученные газодинамические колебания интенсифицируют процесс тепломассопереноса около твердых частиц путем их обдува, в результате чего твердые частицы сгорают быстрее.
Пример. Предложенное устройство было изготовлено и испытано на дизеле 410,5/12, работающем по нагрузочной характеристике при частоте вращения коленчатого вала, равной 1500 об/мин. Результаты испытаний приведены на фиг.2. Здесь по вертикальной оси отложена дымность N – по шкале затемнения (шкала Hartridge), а по горизонтальной оси индикаторная мощность Pi (кВт). Кривая, обозначенная символами , показывает дымность дизеля без резонатора. Кривая, обозначенная символами , показывает дымность дизеля с резонатором Гельмгольца. Можно видеть, что применение резонатора Гельмгольца позволило существенно снизить дымность отработавших газов.
Использование заявляемого изобретения позволит значительно уменьшить дымность отработавших газов двигателей внутреннего сгорания посредством дожигания твердых частиц.
Формула изобретения
Способ очистки отработавших газов двигателей внутреннего сгорания от твердых частиц, образующихся в камере сгорания, посредством интенсифицирующих сгорание частиц газодинамических колебаний, возбуждаемых в потоке отработавших газов, отличающийся тем, что колебания возбуждают с помощью резонатора Гельмгольца, расположенного в выпускном канале двигателя.
РИСУНКИ
|
|